CN202706218U - Double purlin support mechanism for steel roof structure - Google Patents
Double purlin support mechanism for steel roof structure Download PDFInfo
- Publication number
- CN202706218U CN202706218U CN201220348811.7U CN201220348811U CN202706218U CN 202706218 U CN202706218 U CN 202706218U CN 201220348811 U CN201220348811 U CN 201220348811U CN 202706218 U CN202706218 U CN 202706218U
- Authority
- CN
- China
- Prior art keywords
- purlin support
- purlin
- double
- support mechanism
- steel roof
- Prior art date
- Legal status (The legal status is an assumption and is not a legal conclusion. Google has not performed a legal analysis and makes no representation as to the accuracy of the status listed.)
- Expired - Fee Related
Links
- 229910000831 Steel Inorganic materials 0.000 title claims abstract description 10
- 239000010959 steel Substances 0.000 title claims abstract description 10
- 230000007812 deficiency Effects 0.000 description 1
Images
Classifications
-
- Y—GENERAL TAGGING OF NEW TECHNOLOGICAL DEVELOPMENTS; GENERAL TAGGING OF CROSS-SECTIONAL TECHNOLOGIES SPANNING OVER SEVERAL SECTIONS OF THE IPC; TECHNICAL SUBJECTS COVERED BY FORMER USPC CROSS-REFERENCE ART COLLECTIONS [XRACs] AND DIGESTS
- Y02—TECHNOLOGIES OR APPLICATIONS FOR MITIGATION OR ADAPTATION AGAINST CLIMATE CHANGE
- Y02E—REDUCTION OF GREENHOUSE GAS [GHG] EMISSIONS, RELATED TO ENERGY GENERATION, TRANSMISSION OR DISTRIBUTION
- Y02E10/00—Energy generation through renewable energy sources
- Y02E10/50—Photovoltaic [PV] energy
Landscapes
- Joining Of Building Structures In Genera (AREA)
Abstract
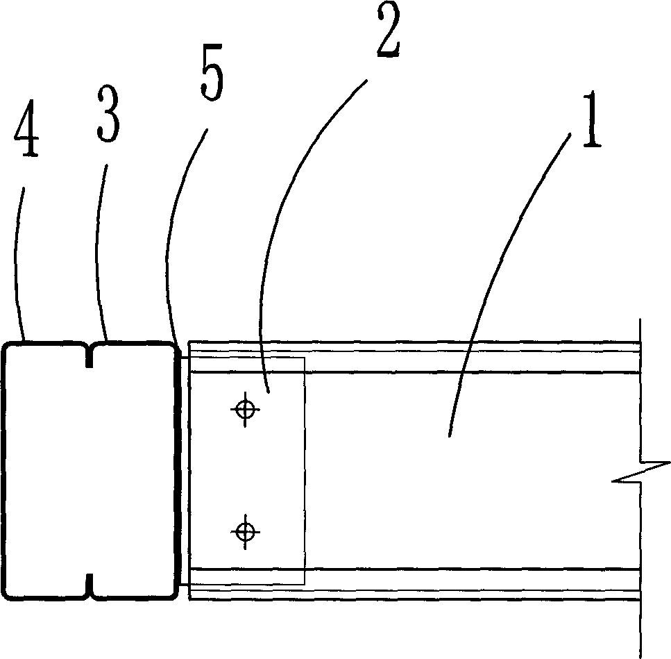
本实用新型是一种双檩托机构,特别涉及一种用于钢屋面结构的双檩托机构。包括墙梁,所述的墙梁的左端设有连接板,所述的连接板的外侧壁设有檩托,所述的檩托的外侧壁设有与之相对称分布的侧檩托,所述的檩托与连接板间设有底板。用于钢屋面结构的双檩托机构结构简单,稳固性能高。
The utility model relates to a double-purlin support mechanism, in particular to a double-purlin support mechanism for steel roof structures. Including the wall beam, the left end of the wall beam is provided with a connecting plate, the outer wall of the connecting plate is provided with a purlin support, and the outer wall of the purlin support is provided with a side purlin support symmetrically distributed thereto. A base plate is provided between the purlin support and the connecting plate. The double purlin support mechanism used for steel roof structure has simple structure and high stability performance.
Description
技术领域 technical field
本实用新型是一种双檩托机构,特别涉及一种用于钢屋面结构的双檩托机构。The utility model relates to a double-purlin support mechanism, in particular to a double-purlin support mechanism for steel roof structures.
背景技术 Background technique
现有技术中的钢屋面结构,结构复杂,稳固性能差,支撑强度低。The steel roof structure in the prior art has complex structure, poor stability and low support strength.
发明内容 Contents of the invention
本实用新型主要是解决现有技术中存在的不足,提供一种用于钢屋面结构的双檩托机构。The utility model mainly solves the deficiencies in the prior art, and provides a double purlin support mechanism for steel roof structures.
本实用新型的上述技术问题主要是通过下述技术方案得以解决的:The above-mentioned technical problems of the utility model are mainly solved by the following technical solutions:
一种用于钢屋面结构的双檩托机构,包括墙梁,所述的墙梁的左端设有连接板,所述的连接板的外侧壁设有檩托,所述的檩托的外侧壁设有与之相对称分布的侧檩托,所述的檩托与连接板间设有底板。A double purlin supporting mechanism for steel roof structures, comprising a wall beam, the left end of the wall beam is provided with a connecting plate, the outer wall of the connecting plate is provided with a purlin supporting, and the outer wall of the purlin supporting There are side purlin supports symmetrically distributed thereto, and a bottom plate is provided between the purlin supports and the connecting plate.
因此,本实用新型提供用于钢屋面结构的双檩托机构,结构简单,稳固性能高。Therefore, the utility model provides a double purlin support mechanism for steel roof structures, which has a simple structure and high stability.
附图说明 Description of drawings
图1是本实用新型的结构示意图。Fig. 1 is a structural representation of the utility model.
具体实施方式 Detailed ways
下面通过实施例,并结合附图,对本实用新型的技术方案作进一步具体的说明。The technical solutions of the present utility model will be further specifically described below through the embodiments and in conjunction with the accompanying drawings.
实施例:如图1所示,一种用于钢屋面结构的双檩托机构,包括墙梁1,所述的墙梁1的左端设有连接板2,所述的连接板2的外侧壁设有檩托3,所述的檩托3的外侧壁设有与之相对称分布的侧檩托4,所述的檩托3与连接板2间设有底板5。Embodiment: As shown in Figure 1, a double purlin support mechanism for a steel roof structure includes a wall beam 1, the left end of the wall beam 1 is provided with a connecting
Claims (1)
Priority Applications (1)
| Application Number | Priority Date | Filing Date | Title |
|---|---|---|---|
| CN201220348811.7U CN202706218U (en) | 2012-07-17 | 2012-07-17 | Double purlin support mechanism for steel roof structure |
Applications Claiming Priority (1)
| Application Number | Priority Date | Filing Date | Title |
|---|---|---|---|
| CN201220348811.7U CN202706218U (en) | 2012-07-17 | 2012-07-17 | Double purlin support mechanism for steel roof structure |
Publications (1)
| Publication Number | Publication Date |
|---|---|
| CN202706218U true CN202706218U (en) | 2013-01-30 |
Family
ID=47586536
Family Applications (1)
| Application Number | Title | Priority Date | Filing Date |
|---|---|---|---|
| CN201220348811.7U Expired - Fee Related CN202706218U (en) | 2012-07-17 | 2012-07-17 | Double purlin support mechanism for steel roof structure |
Country Status (1)
| Country | Link |
|---|---|
| CN (1) | CN202706218U (en) |
-
2012
- 2012-07-17 CN CN201220348811.7U patent/CN202706218U/en not_active Expired - Fee Related
Similar Documents
| Publication | Publication Date | Title |
|---|---|---|
| CN202706218U (en) | Double purlin support mechanism for steel roof structure | |
| CN202073186U (en) | Purline connecting mechanism for steel structure | |
| CN201952959U (en) | Cornice node mechanism for steel structure | |
| CN202447067U (en) | Support plate used for circular platform of urea synthesis tower | |
| CN202706219U (en) | Right-angle wall beam mechanism for steel roof structure | |
| CN202387455U (en) | Suspension support for urea synthesizing tower | |
| CN202157477U (en) | Gutter mechanism for steel column of steel structure | |
| CN202706214U (en) | Wall column mechanism for steel roof structure | |
| CN201981689U (en) | Extension fastening mechanism for steel structure | |
| CN202387447U (en) | Suspension support wall reinforcement mechanism for urea synthesis tower | |
| CN202544097U (en) | Strut intermediate mechanism for steel structure building | |
| CN202544102U (en) | Gutter bracing bar mechanism for steel buildings | |
| CN202544119U (en) | Vertical beam expansion supporting mechanism for steel structure building | |
| CN202447065U (en) | Fixing mechanism for round platform and steel ladder for urea synthesizer | |
| CN202611055U (en) | Chord beam purline supporting structure used for steel structure building | |
| CN202831226U (en) | Pillar spacing board connecting mechanism | |
| CN202157443U (en) | Floor mechanism with plate support | |
| CN202359751U (en) | Gutter wedge plate mechanism for steel structures | |
| CN203213307U (en) | Middle post fixing mechanism for steel structure | |
| CN202831396U (en) | Box column side extension mechanism | |
| CN203270959U (en) | Roof board supporting system for steel structure | |
| CN202706221U (en) | Tie rod mechanism for steel roof structure | |
| CN203270860U (en) | Vertical panel system used for steel structure | |
| CN202544130U (en) | Roofing horizontal support end point fixing mechanism for steel structure building | |
| CN202064445U (en) | Single-knee-brace mechanism for steel structure |
Legal Events
| Date | Code | Title | Description |
|---|---|---|---|
| C14 | Grant of patent or utility model | ||
| GR01 | Patent grant | ||
| C17 | Cessation of patent right | ||
| CF01 | Termination of patent right due to non-payment of annual fee |
Granted publication date: 20130130 Termination date: 20130717 |
