CN202692909U - Hole depth precise measuring instrument - Google Patents
Hole depth precise measuring instrument Download PDFInfo
- Publication number
- CN202692909U CN202692909U CN 201220315575 CN201220315575U CN202692909U CN 202692909 U CN202692909 U CN 202692909U CN 201220315575 CN201220315575 CN 201220315575 CN 201220315575 U CN201220315575 U CN 201220315575U CN 202692909 U CN202692909 U CN 202692909U
- Authority
- CN
- China
- Prior art keywords
- lever
- measuring
- seat
- hole depth
- hole
- Prior art date
- Legal status (The legal status is an assumption and is not a legal conclusion. Google has not performed a legal analysis and makes no representation as to the accuracy of the status listed.)
- Expired - Fee Related
Links
- 238000005259 measurement Methods 0.000 claims description 13
- NJPPVKZQTLUDBO-UHFFFAOYSA-N novaluron Chemical compound C1=C(Cl)C(OC(F)(F)C(OC(F)(F)F)F)=CC=C1NC(=O)NC(=O)C1=C(F)C=CC=C1F NJPPVKZQTLUDBO-UHFFFAOYSA-N 0.000 abstract 3
- 230000003321 amplification Effects 0.000 description 2
- 238000005516 engineering process Methods 0.000 description 2
- 238000004519 manufacturing process Methods 0.000 description 2
- 238000003199 nucleic acid amplification method Methods 0.000 description 2
- 229910000831 Steel Inorganic materials 0.000 description 1
- 238000010276 construction Methods 0.000 description 1
- 238000006073 displacement reaction Methods 0.000 description 1
- 239000003292 glue Substances 0.000 description 1
- 238000009434 installation Methods 0.000 description 1
- 229910052751 metal Inorganic materials 0.000 description 1
- 239000002184 metal Substances 0.000 description 1
- 150000002739 metals Chemical class 0.000 description 1
- 230000033764 rhythmic process Effects 0.000 description 1
- 239000010959 steel Substances 0.000 description 1
Images
Landscapes
- A Measuring Device Byusing Mechanical Method (AREA)
Abstract
A hole depth precise measuring instrument comprises a pedestal (1), a reading gauge (7), a measuring rod (9), a measuring seat (11), a guide sleeve (12) and a reference sleeve (14), wherein the measuring seat is fixed on the pedestal; the guide sleeve is arranged in a hole of the measuring seat; the upper part of the guide sleeve is sleeved with a measuring spring (10); the measuring rod (9) passes through the guide sleeve; the step at the upper end of the measuring rod is in contact with the measuring spring; and an external thread at the lower end of the measuring rod is screwed with a positioning nut (13). The hole depth precise measuring instrument is characterized by also comprising a lever (4), a pin shaft (3), a lever seat (5) and a reset spring (2), wherein the lever seat is fixedly arranged on the pedestal; the lever is moveably connected to the lever seat through the pin shaft; the reset spring (2) is arranged below the short arm end of the lever; the lower end head of the measuring rod is in contact with the short arm end of the lever; and the measuring head of the reading gauge (7) is in contact with the long arm end of the lever. The reading of the hole depth precise measuring instrument is amplified, so the measuring precision is higher than that of a general measuring instrument and the measuring repeat precision is greatly improved.
Description
Technical field
The utility model relates to a kind of measuring appliance of measuring the axial depth of blind hole, shoulder hole, coniform hole, profiled holes.
Background technology
Present component of machine, the axial depth size of small-sized valve body class, tubulose class, five metals type component particularly, general depth vernier gage, the micrometric depth gauge of adopting measured, require survey crew that higher measurement technology quality is arranged, the measurement data fluctuation is large, repeatable accuracy is low, and the reading error of indication is large, is difficult to adapt to modern production rhythm in enormous quantities, fast precise measurement.
Summary of the invention
Technical problem to be solved in the utility model is: the axial depth precision measurement utensil that a kind of hole is provided.
A kind of hole depth precision measurement utensil comprises that base, read table, sounding rod, measuring seat, orienting sleeve and top are equipped with the benchmark sleeve of set screw, setting nut, and measuring seat is fixed on the base; The orienting sleeve bottom is fixedly mounted in the hole of measuring seat, top overcoat measuring spring, and sounding rod passes orienting sleeve, and upper end step contacts with measuring spring, and the lower end external thread screws up with the positioning nut; Characterized by further comprising lever, bearing pin, lever seat, back-moving spring, lever seat is fixedly mounted on the base, and lever is actively connected on the lever seat with bearing pin, at the galianconism end fit beneath back-moving spring of lever; Described sounding rod lower end and lever short arm end in contact; Read table is fixed in the hole of upper end, lever seat left side, and measuring head contacts with the lever long arm end.
As preferred version of the present utility model, described lever is " Z " shape bar, and " Z " shape bar two ends contact with sounding rod lower end umbilical point with the read table measuring head respectively.
Principle of work of the present utility model is such: select suitable benchmark sleeve to make it to adapt with the hole depth of tested part; First with the standard sleeve jacket casing in sounding rod upper end, with hand benchmark sleeve, the lower surface of benchmark sleeve contact with the measuring seat reference field, adjust the positioning nut, make lever be in horizontality, the adjusting read table makes it to make zero.The tested end face of tested part endoporus is placed the sounding rod upper end, use the hand part, the lower surface of measuring part is contacted with the measuring seat reference field, because the sounding rod lower end contacts with " Z " shape lever short arm umbilical point, the displacement of galianconism is delivered to the measuring head of read table through long-armed amplification, reflects reading at read table.By similar triangles length of side ratio amplification principle as can be known, this moment, the indicating value of read table was long-armed identical with ratio galianconism with ratio and the lever of actual measured value, and reading is exaggerated, and measuring accuracy is higher than general measurer.Owing to adopt " Z " shape lever and the umbilical point contact of good rigidly, measure repeatable accuracy and significantly improve, reduce the discreteness that error distributes.And simple to operate, reading is directly perceived.
Description of drawings
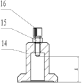
Fig. 1 is the one-piece construction cut-open view of the utility model embodiment, among the figure: 1, base, 2, back-moving spring, 3, bearing pin, 4, lever, 5, lever seat, 6, steel ball, 7, read table, 8, milled screw, 9, sounding rod, 10, measuring spring, 11, measuring seat, 12, orienting sleeve, 13, the positioning nut, V, measurement datum, A, lever short arm length, B, the long-armed length of lever.
Fig. 2 is the left view of the utility model embodiment.
Fig. 3 is the benchmark sleeve cut-open view of the utility model embodiment, among the figure: 14, benchmark sleeve, 15, setting nut, 16, set screw, H, benchmark sleeve calibration value.
Embodiment
Below in conjunction with accompanying drawing, embodiment of the present utility model is described further.A kind of hole depth precision measurement utensil comprises that base 1, read table 7, sounding rod 9, measuring seat 11, orienting sleeve 12, lever 4, bearing pin 3, lever seat 5, back-moving spring 2 and top are equipped with the benchmark sleeve 14 of set screw 16, setting nut 15.Benchmark sleeve calibration value H smears after the adjusting and can use after locking glue locking is solidified by the nominal size manufacturing of measured part hole depth.Lever seat 5 usefulness socket head cap screws are fixedly mounted on the base 1, and described lever adopts " Z " shape bar, and lever 4 usefulness bearing pins 3 are actively connected on the lever seat 5, at the galianconism end fit beneath back-moving spring 2 of lever 4; Measuring seat 11 is fixed on the base 1, and its upper surface is measurement datum V; Orienting sleeve 12 bottoms are pressed into fixed installation in the hole of measuring seat 11, top overcoat measuring spring 2, and sounding rod 9 passes orienting sleeve 12, and upper end step contact with measuring spring 2, and lower end external thread and the nut 13 of transposing screw up, and lower end contacts with lever short arm end umbilical point; Read table 7 is fixed in the hole of upper end, lever seat 4 left sides by milled screw 8, and measuring head contacts with 6 on lever long arm end sphere.The readout of read table is identical with the ratio of the ratio of actual measured value and the long-armed length B of lever and galianconism length A, i.e. hole total depth=H ± reading * A/B.The ratio of the long-armed length B of described lever and galianconism length A is integer.
Claims (4)
1. hole depth precision measurement utensil, comprise base (1), read table (7), sounding rod (9), measuring seat (11), orienting sleeve (12) and benchmark sleeve (14), measuring seat (11) is fixed on the base (1); Orienting sleeve (12) bottom is fixedly mounted in the hole of measuring seat (11), top overcoat measuring spring (10), and sounding rod (9) passes orienting sleeve, and upper end step contacts with measuring spring, and the lower end external thread screws up with positioning nut (13); Characterized by further comprising lever (4), bearing pin (3), lever seat (5), back-moving spring (2), lever seat (5) is fixedly mounted on the base (1), lever (4) is actively connected on the lever seat (5) with bearing pin (3), at the galianconism end fit beneath back-moving spring (2) of lever (4); Described sounding rod lower end and lever short arm end in contact; Read table (7) is fixed in the hole of upper end, lever seat (4) left side, and measuring head contacts with the lever long arm end.
2. a kind of hole depth precision measurement utensil according to claim 1 is further characterized in that described lever is " Z " shape bar, and " Z " shape bar two ends contact with sounding rod lower end umbilical point with the read table measuring head respectively.
3. a kind of hole depth precision measurement utensil according to claim 1 is further characterized in that the ratio of the long-armed length of described lever (B) and galianconism length (A) is integer.
4. a kind of hole depth precision measurement utensil according to claim 1 is further characterized in that described benchmark sleeve (14) top is equipped with set screw (16), setting nut (15).
Priority Applications (1)
| Application Number | Priority Date | Filing Date | Title |
|---|---|---|---|
| CN 201220315575 CN202692909U (en) | 2012-07-02 | 2012-07-02 | Hole depth precise measuring instrument |
Applications Claiming Priority (1)
| Application Number | Priority Date | Filing Date | Title |
|---|---|---|---|
| CN 201220315575 CN202692909U (en) | 2012-07-02 | 2012-07-02 | Hole depth precise measuring instrument |
Publications (1)
| Publication Number | Publication Date |
|---|---|
| CN202692909U true CN202692909U (en) | 2013-01-23 |
Family
ID=47548517
Family Applications (1)
| Application Number | Title | Priority Date | Filing Date |
|---|---|---|---|
| CN 201220315575 Expired - Fee Related CN202692909U (en) | 2012-07-02 | 2012-07-02 | Hole depth precise measuring instrument |
Country Status (1)
| Country | Link |
|---|---|
| CN (1) | CN202692909U (en) |
Cited By (11)
| Publication number | Priority date | Publication date | Assignee | Title |
|---|---|---|---|---|
| CN103604332A (en) * | 2013-10-29 | 2014-02-26 | 格林精密部件(苏州)有限公司 | Dimension testing fixture for spherical holes at two ends of input shaft |
| CN104101287A (en) * | 2014-05-14 | 2014-10-15 | 重庆派斯克刀具制造股份有限公司 | Groove depth detection instrument |
| CN104374285A (en) * | 2014-08-01 | 2015-02-25 | 安徽天利动力股份有限公司 | Device special for detecting depth of stopping seam of mainshaft cap |
| CN105783651A (en) * | 2016-05-03 | 2016-07-20 | 江南工业集团有限公司 | Conical cover internal height measurement device |
| CN107270819A (en) * | 2017-08-01 | 2017-10-20 | 刘建哲 | Digimatic micrometer is surveyed in a kind of vertical keyway |
| CN108827112A (en) * | 2018-07-02 | 2018-11-16 | 中信戴卡股份有限公司 | A kind of U-shaped touch rule |
| CN109297449A (en) * | 2018-08-13 | 2019-02-01 | 东莞长盈精密技术有限公司 | Probe detection auxiliary device and probe detection method for product bottom |
| CN109297393A (en) * | 2018-11-29 | 2019-02-01 | 美钻深海能源科技研发(上海)有限公司 | A kind of subsea production tree gland step depth cubing and its method |
| CN113251899A (en) * | 2021-05-26 | 2021-08-13 | 河南柴油机重工有限责任公司 | Special measuring tool for diameter size of large-diameter shallow spigot |
| CN113483628A (en) * | 2021-07-29 | 2021-10-08 | 中国航发沈阳黎明航空发动机有限责任公司 | Blade tenon coating thickness measuring device and using method |
| CN115388738A (en) * | 2022-08-22 | 2022-11-25 | 成都润驰精密电子有限公司 | High-precision comparator device |
-
2012
- 2012-07-02 CN CN 201220315575 patent/CN202692909U/en not_active Expired - Fee Related
Cited By (15)
| Publication number | Priority date | Publication date | Assignee | Title |
|---|---|---|---|---|
| CN103604332A (en) * | 2013-10-29 | 2014-02-26 | 格林精密部件(苏州)有限公司 | Dimension testing fixture for spherical holes at two ends of input shaft |
| CN104101287A (en) * | 2014-05-14 | 2014-10-15 | 重庆派斯克刀具制造股份有限公司 | Groove depth detection instrument |
| CN104374285A (en) * | 2014-08-01 | 2015-02-25 | 安徽天利动力股份有限公司 | Device special for detecting depth of stopping seam of mainshaft cap |
| CN105783651A (en) * | 2016-05-03 | 2016-07-20 | 江南工业集团有限公司 | Conical cover internal height measurement device |
| CN107270819A (en) * | 2017-08-01 | 2017-10-20 | 刘建哲 | Digimatic micrometer is surveyed in a kind of vertical keyway |
| CN107270819B (en) * | 2017-08-01 | 2023-10-31 | 刘建哲 | A vertical keyway internal measuring micrometer with digital display |
| US11181357B2 (en) | 2018-07-02 | 2021-11-23 | Citic Dicastal Co., Ltd | U-shaped touch gauge |
| CN108827112A (en) * | 2018-07-02 | 2018-11-16 | 中信戴卡股份有限公司 | A kind of U-shaped touch rule |
| CN109297449A (en) * | 2018-08-13 | 2019-02-01 | 东莞长盈精密技术有限公司 | Probe detection auxiliary device and probe detection method for product bottom |
| CN109297393A (en) * | 2018-11-29 | 2019-02-01 | 美钻深海能源科技研发(上海)有限公司 | A kind of subsea production tree gland step depth cubing and its method |
| CN109297393B (en) * | 2018-11-29 | 2024-05-28 | 美钻深海能源科技研发(上海)有限公司 | Underwater christmas tree gland step depth gauge and method thereof |
| CN113251899A (en) * | 2021-05-26 | 2021-08-13 | 河南柴油机重工有限责任公司 | Special measuring tool for diameter size of large-diameter shallow spigot |
| CN113251899B (en) * | 2021-05-26 | 2023-12-01 | 河南柴油机重工有限责任公司 | Special measuring tool for diameter size of large-diameter shallow spigot |
| CN113483628A (en) * | 2021-07-29 | 2021-10-08 | 中国航发沈阳黎明航空发动机有限责任公司 | Blade tenon coating thickness measuring device and using method |
| CN115388738A (en) * | 2022-08-22 | 2022-11-25 | 成都润驰精密电子有限公司 | High-precision comparator device |
Similar Documents
| Publication | Publication Date | Title |
|---|---|---|
| CN202692909U (en) | Hole depth precise measuring instrument | |
| CN201628535U (en) | Coaxiality detecting tool for cylinder hole and annular groove of cylinder body | |
| CN201715984U (en) | Novel pitch-row distance admeasuring apparatus | |
| CN203642848U (en) | Multifunctional caliper with meter | |
| CN101245980A (en) | Vernier caliper for spacing between internal spline rods | |
| CN209166380U (en) | Precision test tool and its component | |
| CN103900446A (en) | Adjustable inclined hole depth detecting device | |
| CN203908473U (en) | Comprehensive gauge of parallel degree and center distance of large and small holes of connecting rod | |
| CN203274647U (en) | Comprehensive detection tool for threaded holes | |
| CN103234424B (en) | Valve seating external diameter measurer | |
| CN216205930U (en) | Thin-wall truncated cone long hole depth precision measurement device | |
| CN108267055A (en) | The comprehensive check tool of fork shaft | |
| CN102506661A (en) | Diameter measuring mechanism for inner-bore slot | |
| CN102997808B (en) | A kind of dimension measuring implement | |
| CN106289017B (en) | Revolving body helicla flute rotation angle and helical pitch measurer | |
| CN202041158U (en) | Outer taper measuring checking fixture | |
| CN207936884U (en) | A kind of wide measuring appliance of shelves | |
| CN113916103A (en) | Device and method for precisely measuring depth of thin-wall truncated cone long hole | |
| CN202974124U (en) | Size measuring tool | |
| CN202304795U (en) | Mechanism for measuring diameter of inner hole groove | |
| CN204043571U (en) | A kind of cubing of transverse tooth thickness deviation of prototype gear | |
| CN202836419U (en) | Device for measuring axial sizes of convex shoulders inside workpiece hole | |
| CN206756080U (en) | A kind of novel planar degree detection means | |
| CN213515564U (en) | Utensil is examined to high efficiency measurement elastomer wall thickness | |
| CN110108193A (en) | A kind of taper hole measurer and the method using its measurement gear taper hole large end face diameter |
Legal Events
| Date | Code | Title | Description |
|---|---|---|---|
| C14 | Grant of patent or utility model | ||
| GR01 | Patent grant | ||
| CF01 | Termination of patent right due to non-payment of annual fee |
Granted publication date: 20130123 Termination date: 20150702 |
|
| EXPY | Termination of patent right or utility model |