CN202691860U - Dual-purpose lamp for illumination and emergency - Google Patents
Dual-purpose lamp for illumination and emergency Download PDFInfo
- Publication number
- CN202691860U CN202691860U CN2012203804006U CN201220380400U CN202691860U CN 202691860 U CN202691860 U CN 202691860U CN 2012203804006 U CN2012203804006 U CN 2012203804006U CN 201220380400 U CN201220380400 U CN 201220380400U CN 202691860 U CN202691860 U CN 202691860U
- Authority
- CN
- China
- Prior art keywords
- mentioned
- circuit board
- electrically connected
- built
- internal circuit
- Prior art date
- Legal status (The legal status is an assumption and is not a legal conclusion. Google has not performed a legal analysis and makes no representation as to the accuracy of the status listed.)
- Expired - Fee Related
Links
- 238000005286 illumination Methods 0.000 title claims 5
- 230000004308 accommodation Effects 0.000 claims abstract description 4
- 238000004891 communication Methods 0.000 claims description 3
- 238000007789 sealing Methods 0.000 claims 1
- 238000012423 maintenance Methods 0.000 abstract description 4
- 230000009286 beneficial effect Effects 0.000 abstract description 2
- 230000005611 electricity Effects 0.000 description 2
- 230000005540 biological transmission Effects 0.000 description 1
- 230000007812 deficiency Effects 0.000 description 1
- 238000010586 diagram Methods 0.000 description 1
- 238000007599 discharging Methods 0.000 description 1
- 238000000034 method Methods 0.000 description 1
- 230000009466 transformation Effects 0.000 description 1
Images
Classifications
-
- Y—GENERAL TAGGING OF NEW TECHNOLOGICAL DEVELOPMENTS; GENERAL TAGGING OF CROSS-SECTIONAL TECHNOLOGIES SPANNING OVER SEVERAL SECTIONS OF THE IPC; TECHNICAL SUBJECTS COVERED BY FORMER USPC CROSS-REFERENCE ART COLLECTIONS [XRACs] AND DIGESTS
- Y02—TECHNOLOGIES OR APPLICATIONS FOR MITIGATION OR ADAPTATION AGAINST CLIMATE CHANGE
- Y02B—CLIMATE CHANGE MITIGATION TECHNOLOGIES RELATED TO BUILDINGS, e.g. HOUSING, HOUSE APPLIANCES OR RELATED END-USER APPLICATIONS
- Y02B20/00—Energy efficient lighting technologies, e.g. halogen lamps or gas discharge lamps
- Y02B20/40—Control techniques providing energy savings, e.g. smart controller or presence detection
Landscapes
- Non-Portable Lighting Devices Or Systems Thereof (AREA)
- Arrangement Of Elements, Cooling, Sealing, Or The Like Of Lighting Devices (AREA)
Abstract
本实用新型公开了一种照明应急两用灯,其特征在于,包括:内部设有容纳空间的一端敞口的灯罩外壳,用于封闭上述灯罩外壳的透光窗,设置在上述灯罩外壳内部的蓄电池、内置电路板、灯泡,用于控制上述灯泡的控制开关,设置在上述灯罩外壳端部用于接入电源的端子;上述端子与上述蓄电池和内置电路板分别电连接,上述蓄电池与上述内置电路板电连接,上述内置电路板与上述灯泡实现电连接,上述控制开关与上述内置电路板实现电连接。本实用新型的有益之处在于:结构简单,节约成本,节省空间,并且能够兼顾日常使用和应急使用,使用户免于维护。
The utility model discloses a lighting emergency dual-purpose lamp, which is characterized in that it comprises: a lampshade shell with an open end provided with an accommodation space inside, a light-transmitting window for closing the above-mentioned lampshade shell, and a window arranged inside the above-mentioned lampshade shell The storage battery, built-in circuit board, and light bulb are used to control the control switch of the above-mentioned light bulb, and are provided at the end of the above-mentioned lampshade shell for connecting to a power supply; the above-mentioned terminal is electrically connected to the above-mentioned battery and the built-in circuit board, and the above-mentioned battery is connected to the above-mentioned built-in The circuit board is electrically connected, the built-in circuit board is electrically connected to the light bulb, and the control switch is electrically connected to the built-in circuit board. The utility model is beneficial in that it is simple in structure, saves cost and space, and can take into account both daily use and emergency use, so that users are exempt from maintenance.
Description
技术领域 technical field
本实用新型涉及一种光源设备,具体涉及一种照明应急两用灯。 The utility model relates to a light source device, in particular to a lighting emergency dual-purpose lamp.
背景技术 Background technique
随着经济的发展,无论是工业用电还是生活用电的用电量都居高不下,而我国相对较为贫乏的电力资源往往不堪重负。因此,有时经常会遇到意外停电或计划内的限电,此时,往往对人们生活带来极大的不便。 With the development of the economy, both industrial and domestic electricity consumption remains high, and my country's relatively poor power resources are often overwhelmed. Therefore, unexpected power outages or planned power cuts are often encountered sometimes, which often bring great inconvenience to people's lives.
为了改善这种情况,人们往往采用加装应急光源,但是额外的应急光源无疑增加了成本和占用额外的空间,并且,应急光源因为是采用蓄电池作为电力供应的,而电池如果长期不维护不进行充放电,很可能到关键时刻失灵。 In order to improve this situation, people often install additional emergency light sources, but the additional emergency light sources will undoubtedly increase the cost and take up extra space. Moreover, the emergency light source uses batteries as power supply, and if the batteries are not maintained for a long time, they will not be repaired. Charging and discharging is likely to fail at a critical moment.
实用新型内容 Utility model content
为解决现有技术的不足,本实用新型的目的在于提供一种能够兼顾日常使用和应急使用使用户免于维护的照明应急两用灯。 In order to solve the deficiencies of the prior art, the purpose of this utility model is to provide a dual-purpose lighting emergency lamp that can take into account both daily use and emergency use so that users are free from maintenance.
为了实现上述目标,本实用新型采用如下的技术方案: In order to achieve the above object, the utility model adopts the following technical solutions:
照明应急两用灯,其特征在于,包括:内部设有容纳空间的一端敞口的灯罩外壳,用于封闭上述灯罩外壳的透光窗,设置在上述灯罩外壳内部的蓄电池、内置电路板、灯泡,用于控制上述灯泡的控制开关,设置在上述灯罩外壳端部用于接入电源的端子;上述端子与上述蓄电池和内置电路板分别电连接,上述蓄电池与上述内置电路板电连接,上述内置电路板与上述灯泡实现电连接,上述控制开关与上述内置电路板实现电连接。 The dual-purpose lighting emergency lamp is characterized in that it includes: a lampshade shell with an open end provided with an accommodation space inside, a light-transmitting window for closing the above-mentioned lampshade shell, a storage battery, a built-in circuit board, and a light bulb arranged inside the above-mentioned lampshade shell. , the control switch used to control the above-mentioned light bulb is provided at the end of the above-mentioned lampshade shell for connecting to the power supply terminal; the above-mentioned terminal is electrically connected to the above-mentioned battery and the built-in circuit board, and the above-mentioned battery is electrically connected to the above-mentioned built-in circuit board, and the above-mentioned built-in The circuit board is electrically connected to the light bulb, and the control switch is electrically connected to the built-in circuit board.
具体而言,上述端子与上述透光窗之间按顺序依次安装有蓄电池、内置电路板、灯泡。 Specifically, a storage battery, a built-in circuit board, and a light bulb are sequentially installed between the above-mentioned terminal and the above-mentioned light-transmitting window.
前述照明应急两用灯,还包括:与上述内置电路板电连接的用于无线遥控的通讯模块。 The aforesaid dual-purpose light for lighting and emergency also includes: a communication module for wireless remote control electrically connected to the above-mentioned built-in circuit board.
前述的照明应急两用灯,还包括:与上述内置电路板电连接的设置在灯罩外壳壳壁上的用于指示使用状态的指示灯。 The aforesaid dual-purpose lighting emergency lamp further includes: an indicator lamp for indicating the use status provided on the shell wall of the lampshade and electrically connected to the above-mentioned built-in circuit board.
更进一步的说,上述灯泡为LED灯泡。 Furthermore, the above light bulbs are LED light bulbs.
本实用新型的有益之处在于:结构简单,节约成本,节省空间,并且能够兼顾日常使用和应急使用,使用户免于维护。 The utility model is beneficial in that it is simple in structure, saves cost and space, and can take into account both daily use and emergency use, so that users are exempt from maintenance. the
附图说明 Description of drawings
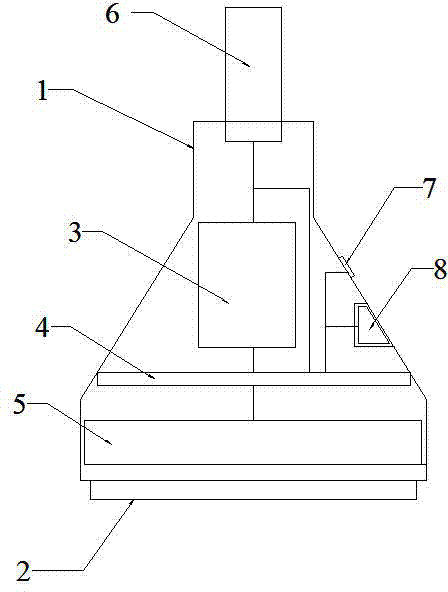
图1是本实用新型一个优选实施例结构示意图。 Fig. 1 is a structural schematic diagram of a preferred embodiment of the present invention. the
图中附图标记的含义: Meanings of reference signs in the figure:
1-灯罩外壳,2-透光窗,3-蓄电池,4-内置电路板,5-灯泡,6-端子,7-控制开关,8-指示灯。 1-Lampshade shell, 2-Light transmission window, 3-Battery, 4-Built-in circuit board, 5-Bulb, 6-Terminal, 7-Control switch, 8-Indicator light.
具体实施方式 Detailed ways
以下结合附图和具体实施例对本实用新型作具体的介绍。 Below in conjunction with accompanying drawing and specific embodiment the utility model is made concrete introduction.
如图1所示,本实用新型的照明应急两用灯,灯罩外壳1一端敞口并且内部设有容纳空间,灯罩外壳1的敞口段设有用于封闭灯罩外壳1的透光窗2,灯罩外壳1端部设置有用于接入电源的端子6,灯罩外壳1内部,端子6与透光窗2之间按顺序依次安装有蓄电池3、内置电路板4、灯泡5。灯罩外壳1外壳壳壁上设置有用于控制灯泡5的控制开关7。
As shown in Figure 1, in the dual-purpose lighting emergency lamp of the present utility model, one end of the
端子6与蓄电池3和内置电路板4分别电连接,当有电时,通过端子6接入的电源不但可以给内置电路板4供电,还可以对蓄电池3进行充电。蓄电池3与内置电路板4电连接,当停电时,由蓄电池3为内置电路板4供电。
The
控制开关7与内置电路板4实现电连接,内置电路板4与灯泡5实现电连接,通过控制开关7控制内置电路板4,再通过内置电路板4控制灯泡5。控制开关7可以手动控制,本实用新型是处于正常使用状态还是开启应急模式。
The control switch 7 is electrically connected to the built-in
作为一种优选方案,本实用新型的照明应急两用灯,还设有与内置电路板4电连接的用于无线遥控的通讯模块。这样一来,使用者可以通过遥控器进行操作。
As a preferred solution, the dual-purpose lighting and emergency lamp of the present utility model is also provided with a communication module for wireless remote control electrically connected to the built-in
作为一种优选方案,本实用新型的照明应急两用灯,在灯罩外壳1壳壁上还设有与内置电路板4电连接的指示灯8,可以指示本实用新型的照明应急两用灯是日常使用状态还是应急使用状态。
As a preferred solution, the dual-purpose lighting emergency lamp of the present utility model is also provided with an
作为一种优选方案,灯泡5可以为LED灯泡,亮度更高,更环保耐用,免于维护。
As a preferred solution, the
以上显示和描述了本实用新型的基本原理、主要特征和优点。本行业的技术人员应该了解,上述实施例不以任何形式限制本实用新型,凡采用等同替换或等效变换的方式所获得的技术方案,均落在本实用新型的保护范围内。 The basic principles, main features and advantages of the present utility model have been shown and described above. Those skilled in the industry should understand that the above-mentioned embodiments do not limit the utility model in any form, and all technical solutions obtained by means of equivalent replacement or equivalent transformation all fall within the protection scope of the utility model. the
Claims (5)
Priority Applications (1)
| Application Number | Priority Date | Filing Date | Title |
|---|---|---|---|
| CN2012203804006U CN202691860U (en) | 2012-08-02 | 2012-08-02 | Dual-purpose lamp for illumination and emergency |
Applications Claiming Priority (1)
| Application Number | Priority Date | Filing Date | Title |
|---|---|---|---|
| CN2012203804006U CN202691860U (en) | 2012-08-02 | 2012-08-02 | Dual-purpose lamp for illumination and emergency |
Publications (1)
| Publication Number | Publication Date |
|---|---|
| CN202691860U true CN202691860U (en) | 2013-01-23 |
Family
ID=47547475
Family Applications (1)
| Application Number | Title | Priority Date | Filing Date |
|---|---|---|---|
| CN2012203804006U Expired - Fee Related CN202691860U (en) | 2012-08-02 | 2012-08-02 | Dual-purpose lamp for illumination and emergency |
Country Status (1)
| Country | Link |
|---|---|
| CN (1) | CN202691860U (en) |
Cited By (1)
| Publication number | Priority date | Publication date | Assignee | Title |
|---|---|---|---|---|
| CN102818209A (en) * | 2012-08-02 | 2012-12-12 | 昆山市圣光新能源科技有限公司 | Dual-purpose lamp for daily lighting and emergency use |
-
2012
- 2012-08-02 CN CN2012203804006U patent/CN202691860U/en not_active Expired - Fee Related
Cited By (1)
| Publication number | Priority date | Publication date | Assignee | Title |
|---|---|---|---|---|
| CN102818209A (en) * | 2012-08-02 | 2012-12-12 | 昆山市圣光新能源科技有限公司 | Dual-purpose lamp for daily lighting and emergency use |
Similar Documents
| Publication | Publication Date | Title |
|---|---|---|
| CN202691860U (en) | Dual-purpose lamp for illumination and emergency | |
| CN202153644U (en) | Mobile phone charger with light | |
| CN203363941U (en) | LED intelligent emergency fluorescent lamp | |
| CN201844214U (en) | A portable LED lamp | |
| CN201386913Y (en) | Flashlight reading lamp | |
| CN202521249U (en) | LED flashlight with clock | |
| CN202647537U (en) | Chargeable light-emitting diode (LED) desk lamp | |
| CN205299350U (en) | Light -operated solar lamp of intelligence | |
| CN203052483U (en) | Rechargeable LED light | |
| CN204114808U (en) | Integral solar energy remote control street lamp | |
| CN202647553U (en) | Solar light-emitting diode (LED) street lamp | |
| CN202733743U (en) | Multifunctional lamp | |
| CN202733458U (en) | Charging-type light emitting diode (LED) flashlight | |
| CN202947054U (en) | lantern | |
| CN201944813U (en) | Mobile phone lighting lamp | |
| CN202852649U (en) | Garden lamp | |
| CN202947058U (en) | Multifunctional light-emitting diode (LED) lamp | |
| CN202230447U (en) | Lighting keyboard with light-emitting diode (LED) lamp | |
| CN201844333U (en) | Charging lamp | |
| CN102818209A (en) | Dual-purpose lamp for daily lighting and emergency use | |
| CN201819025U (en) | Multipurpose camping lamp | |
| CN202587501U (en) | LED corridor automatic control lamp | |
| CN205244890U (en) | Exempt from battery LED flashlight | |
| CN202371471U (en) | Multifunctional lithium battery portable flashlight | |
| CN202927706U (en) | Illumination cold light source for department of ENT |
Legal Events
| Date | Code | Title | Description |
|---|---|---|---|
| C14 | Grant of patent or utility model | ||
| GR01 | Patent grant | ||
| C17 | Cessation of patent right | ||
| CF01 | Termination of patent right due to non-payment of annual fee |
Granted publication date: 20130123 Termination date: 20130802 |
