CN202689671U - Lifting type holding rod - Google Patents
Lifting type holding rod Download PDFInfo
- Publication number
- CN202689671U CN202689671U CN 201220186208 CN201220186208U CN202689671U CN 202689671 U CN202689671 U CN 202689671U CN 201220186208 CN201220186208 CN 201220186208 CN 201220186208 U CN201220186208 U CN 201220186208U CN 202689671 U CN202689671 U CN 202689671U
- Authority
- CN
- China
- Prior art keywords
- rod
- pole
- push rod
- king
- bar
- Prior art date
- Legal status (The legal status is an assumption and is not a legal conclusion. Google has not performed a legal analysis and makes no representation as to the accuracy of the status listed.)
- Expired - Fee Related
Links
Images
Landscapes
- Conveying And Assembling Of Building Elements In Situ (AREA)
Abstract
本实用新型涉及一种升降式抱杆,其包括底杆、中杆、顶杆和起吊装置,所述底杆为空心管状结构,所述底杆的底端设有用于连接砼杆的抱箍,所述中杆也为空心管状结构,所述中杆的底端插入底杆的顶端,第一螺栓穿过所述中杆的底端和底杆的顶端,将所述中杆固定在底杆上,所述顶杆的底端插入中杆的顶端,第二螺栓穿过顶杆的底端和中杆的顶端,将顶杆固定在中杆上,所述起吊装置安装在所述顶杆上。本实用新型的升降式抱杆通过安装在砼杆上,可以将铁帽吊至砼杆顶端,从而使安装铁帽较为便利。
The utility model relates to a lifting type pole, which comprises a bottom pole, a middle pole, a top pole and a lifting device, the bottom pole is a hollow tubular structure, and the bottom end of the bottom pole is provided with a hoop for connecting a concrete pole , the middle rod is also a hollow tubular structure, the bottom end of the middle rod is inserted into the top end of the bottom rod, the first bolt passes through the bottom end of the middle rod and the top end of the bottom rod, and the middle rod is fixed on the bottom On the rod, the bottom end of the push rod is inserted into the top of the middle rod, and the second bolt passes through the bottom end of the push rod and the top of the middle rod to fix the push rod on the middle rod, and the lifting device is installed on the top on the pole. The lifting type holding pole of the utility model can hang the iron cap to the top of the concrete pole by being installed on the concrete pole, so that the installation of the iron cap is more convenient.
Description
技术领域 technical field
本实用新型涉及电力领域,具体涉及一种升降式抱杆。The utility model relates to the field of electric power, in particular to a lifting type holding pole.
背景技术 Background technique
在电力领域,通常采用砼杆(即水泥杆)来支撑电力线路。砼杆上通常需要安装铁帽。但是,由于缺乏适当的工具,使得安装铁帽成为一项费时费力的工作。因此,如何研制出安装铁帽的工具,成为本领域技术人员亟待解决的技术问题。In the field of electric power, concrete poles (ie cement poles) are usually used to support power lines. Iron caps are usually required to be installed on concrete poles. However, the lack of proper tools makes installing iron caps a time-consuming and labor-intensive task. Therefore, how to develop the tool for installing the iron cap has become a technical problem to be solved urgently by those skilled in the art.
实用新型内容 Utility model content
有鉴于此,本实用新型旨在提供一种便于在砼杆上安装铁帽的升降式抱杆。In view of this, the utility model aims to provide a lifting type holding pole which is convenient for installing an iron cap on the concrete pole.
本实用新型是这样实现的,一种升降式抱杆,其包括底杆、中杆、顶杆和起吊装置,所述底杆为空心管状结构,所述底杆的底端设有用于连接砼杆的抱箍,所述中杆也为空心管状结构,所述中杆的底端插入底杆的顶端,第一螺栓穿过所述中杆的底端和底杆的顶端,将所述中杆固定在底杆上,所述顶杆的底端插入中杆的顶端,第二螺栓穿过顶杆的底端和中杆的顶端,将顶杆固定在中杆上,所述起吊装置安装在所述顶杆上。The utility model is achieved in this way, a lifting type holding pole, which includes a bottom pole, a middle pole, an ejector pole and a lifting device, the bottom pole is a hollow tubular structure, and the bottom end of the bottom pole is provided with a The hoop of the rod, the middle rod is also a hollow tubular structure, the bottom end of the middle rod is inserted into the top end of the bottom rod, the first bolt passes through the bottom end of the middle rod and the top end of the bottom rod, and the middle rod The rod is fixed on the bottom rod, the bottom end of the push rod is inserted into the top of the middle rod, the second bolt passes through the bottom end of the push rod and the top of the middle rod, and the push rod is fixed on the middle rod, and the lifting device is installed on the top rod.
作为上述方案的进一步改进,所述顶杆的顶端固定安装有一支撑杆,所述支撑杆的轴向垂直于所述顶杆的轴向,所述支撑杆的一端设置有所述起吊装置。As a further improvement of the above solution, a support rod is fixedly installed on the top end of the push rod, the axial direction of the support rod is perpendicular to the axial direction of the push rod, and the lifting device is provided at one end of the support rod.
作为上述方案的进一步改进,所述起吊装置为滑轮或起吊钩。As a further improvement of the above solution, the lifting device is a pulley or a lifting hook.
作为上述方案的进一步改进,所述底杆、中杆和顶杆均由铝合金制成。As a further improvement of the above solution, the bottom rod, the middle rod and the top rod are all made of aluminum alloy.
作为上述方案的进一步改进,所述底杆的底端设有两个所述抱箍,所述两个抱箍沿所述底杆的轴向间隔设置。As a further improvement of the above solution, two hoops are provided at the bottom end of the bottom bar, and the two hoops are arranged at intervals along the axial direction of the bottom bar.
本实用新型的升降式抱杆通过安装在砼杆上,可以将铁帽吊至砼杆顶端,从而使安装铁帽较为便利。The lifting type holding pole of the utility model can hang the iron cap to the top of the concrete pole by being installed on the concrete pole, so that the installation of the iron cap is more convenient.
附图说明 Description of drawings
图1是本实用新型提供的升降式抱杆的结构示意图。Fig. 1 is a structural schematic diagram of the lift-type pole provided by the utility model.
具体实施方式 Detailed ways
为了使本实用新型的目的、技术方案及优点更加清楚明白,以下结合附图及实施例,对本实用新型进行进一步详细说明。应当理解,此处所描述的具体实施例仅仅用以解释本实用新型,并不用于限定本实用新型。In order to make the purpose, technical solution and advantages of the utility model clearer, the utility model will be further described in detail below in conjunction with the accompanying drawings and embodiments. It should be understood that the specific embodiments described here are only used to explain the utility model, and are not intended to limit the utility model.
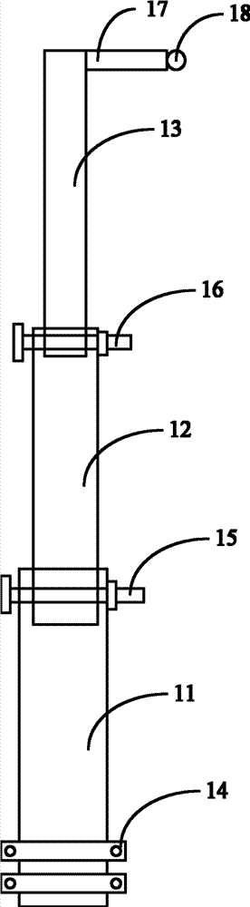
如图1所示,本实用新型提供的升降式抱杆包括底杆11、中杆12和顶杆13。底杆11为空心管状结构,底杆11的底端具有两个沿底杆11轴向间隔设置的抱箍14。中杆12也为空心管状结构,中杆12的底端插入底杆11的顶端,第一螺栓15穿过中杆12的底端和底杆11的顶端,将中杆12固定在底杆11上。顶杆13的底端插入中杆12的顶端,第二螺栓16穿过顶杆13的底端和中杆12的顶端,将顶杆13固定在中杆12上。As shown in FIG. 1 , the lift-type holding pole provided by the utility model includes a
顶杆13的顶端固定安装有一支撑杆17,支撑杆17的轴向垂直于顶杆13的轴向。支撑杆17的一端设置有起吊装置18。在本实施例中,起吊装置18为一滑轮。在其他实施例中,起吊装置18可以为起吊钩。A
优选地,底杆11、中杆12和顶杆13均由铝合金制成。Preferably, the
使用该升降式抱杆时,先用抱箍14将底杆11固定在砼杆的顶端。然后,将起吊绳挂在起吊装置18上。用提升装置将中杆12提升至底杆11的顶端,并用第一螺栓15将中杆12固定。然后用提升装置将顶杆13提升至中杆12的顶端,用第二螺栓16将顶杆13固定。完成升降式抱杆安装后,将铁帽连接在起吊绳的一端,由于起吊绳受到起吊装置18的支撑,因此拉起起吊绳的另一端,可以将铁帽吊至砼杆顶端,从而便于在砼杆上安装铁帽。When using the lifting type holding pole, the
本实用新型的升降式抱杆通过安装在砼杆上,可以将铁帽吊至砼杆顶端,从而使安装铁帽较为便利。The lifting type holding pole of the utility model can hang the iron cap to the top of the concrete pole by being installed on the concrete pole, so that the installation of the iron cap is more convenient.
以上所述,仅是本实用新型的实施例而已,并非对本实用新型作任何形式上的限制,虽然本实用新型已以实施例揭露如上,然而并非用以限定本实用新型,任何熟悉本专业的技术人员,在不脱离本实用新型技术方案范围内,当可利用上述揭示的技术内容作出些许更动或修饰为等同变化的等效实施例,但凡是未脱离本实用新型技术方案内容,依据本实用新型的技术实质对以上实施例所作的任何简单修改、等同变化与修饰,均属于本实用新型技术方案的范围。The above is only an embodiment of the utility model, and does not limit the utility model in any form. Although the utility model has been disclosed as above with the embodiment, it is not used to limit the utility model. Anyone who is familiar with this field Technicians, without departing from the scope of the technical solution of the present utility model, can use the technical content disclosed above to make some changes or modify equivalent embodiments with equivalent changes, but if they do not depart from the technical solution of the utility model, according to Technical Essence of the Utility Model Any simple modifications, equivalent changes and modifications made to the above embodiments all belong to the scope of the technical solution of the utility model.
Claims (5)
Priority Applications (1)
| Application Number | Priority Date | Filing Date | Title |
|---|---|---|---|
| CN 201220186208 CN202689671U (en) | 2012-04-27 | 2012-04-27 | Lifting type holding rod |
Applications Claiming Priority (1)
| Application Number | Priority Date | Filing Date | Title |
|---|---|---|---|
| CN 201220186208 CN202689671U (en) | 2012-04-27 | 2012-04-27 | Lifting type holding rod |
Publications (1)
| Publication Number | Publication Date |
|---|---|
| CN202689671U true CN202689671U (en) | 2013-01-23 |
Family
ID=47545305
Family Applications (1)
| Application Number | Title | Priority Date | Filing Date |
|---|---|---|---|
| CN 201220186208 Expired - Fee Related CN202689671U (en) | 2012-04-27 | 2012-04-27 | Lifting type holding rod |
Country Status (1)
| Country | Link |
|---|---|
| CN (1) | CN202689671U (en) |
Cited By (3)
| Publication number | Priority date | Publication date | Assignee | Title |
|---|---|---|---|---|
| CN103485568A (en) * | 2013-10-12 | 2014-01-01 | 江苏耀捷建设工程有限公司 | Novel multi-functional stand column |
| CN103896153A (en) * | 2014-04-18 | 2014-07-02 | 国家电网公司 | Zig-zag derrick for replacing disconnecting link |
| CN105672743A (en) * | 2016-03-22 | 2016-06-15 | 贵州电网有限责任公司输电运行检修分公司 | Light holding pole for assembling and disassembling of rush-repair tower assmebly |
-
2012
- 2012-04-27 CN CN 201220186208 patent/CN202689671U/en not_active Expired - Fee Related
Cited By (3)
| Publication number | Priority date | Publication date | Assignee | Title |
|---|---|---|---|---|
| CN103485568A (en) * | 2013-10-12 | 2014-01-01 | 江苏耀捷建设工程有限公司 | Novel multi-functional stand column |
| CN103896153A (en) * | 2014-04-18 | 2014-07-02 | 国家电网公司 | Zig-zag derrick for replacing disconnecting link |
| CN105672743A (en) * | 2016-03-22 | 2016-06-15 | 贵州电网有限责任公司输电运行检修分公司 | Light holding pole for assembling and disassembling of rush-repair tower assmebly |
Similar Documents
| Publication | Publication Date | Title |
|---|---|---|
| CN203531496U (en) | Falling type double-holding-rod pole erecting device | |
| CN203201216U (en) | Vertical rod centralizer | |
| CN203531401U (en) | Inclined supporting and fixing device between wall template and ground | |
| CN202423978U (en) | Overhead wire crossing frame | |
| CN202689671U (en) | Lifting type holding rod | |
| CN204571264U (en) | A kind of fastening devices without counterweight hanging basket | |
| CN203998746U (en) | Portable suspension installation | |
| CN203474231U (en) | Steel bar tower safety hoisting device | |
| CN204030371U (en) | The vertical suspender of a kind of two electric pole group | |
| CN204481391U (en) | A kind of replacing double bundle conductor conductor spacer specific purpose tool | |
| CN104022459A (en) | 10 KV distribution line pole-mounted wire suspension device | |
| CN203850726U (en) | Wire lifter on 10 kV power distribution telegraph pole | |
| CN203289011U (en) | Tension cross arm hoisting device | |
| CN202405695U (en) | Lifting tool for overhead ground wire of steel pipe pole | |
| CN205132955U (en) | Hoist and mount operation of electric power industry low latitude is with hoist and mount frame | |
| CN203603459U (en) | Stabilizing device for creeping formwork system | |
| CN202645027U (en) | Pipe type screw corrector | |
| CN202594699U (en) | Power transmission line lifting device for steel pipe tower | |
| CN201228180Y (en) | Rope winding machine | |
| CN203119388U (en) | Multifunctional mounting rack for changing tension-resistant crossarm | |
| CN202488035U (en) | Hoisting device for maintenance of power transmission line above concrete poles | |
| CN203301067U (en) | Apparatus for replacing pin insulator | |
| CN206288891U (en) | A kind of meteorological wind rod hanging component | |
| CN204156423U (en) | 500kV jumper string wire clamp thread-lifting hook | |
| CN203326435U (en) | Device installing fee-control meter box |
Legal Events
| Date | Code | Title | Description |
|---|---|---|---|
| C14 | Grant of patent or utility model | ||
| GR01 | Patent grant | ||
| CF01 | Termination of patent right due to non-payment of annual fee |
Granted publication date: 20130123 Termination date: 20190427 |
|
| CF01 | Termination of patent right due to non-payment of annual fee |
