CN202677644U - Multimedia teaching platform - Google Patents
Multimedia teaching platform Download PDFInfo
- Publication number
- CN202677644U CN202677644U CN 201220143177 CN201220143177U CN202677644U CN 202677644 U CN202677644 U CN 202677644U CN 201220143177 CN201220143177 CN 201220143177 CN 201220143177 U CN201220143177 U CN 201220143177U CN 202677644 U CN202677644 U CN 202677644U
- Authority
- CN
- China
- Prior art keywords
- multimedia
- teacher
- control terminal
- podium
- box body
- Prior art date
- Legal status (The legal status is an assumption and is not a legal conclusion. Google has not performed a legal analysis and makes no representation as to the accuracy of the status listed.)
- Expired - Fee Related
Links
Images
Landscapes
- Casings For Electric Apparatus (AREA)
Abstract
一种多媒体教学讲台,包括多媒体箱体,所述多媒体箱体由金属或者塑料板材制得,所述多媒体箱体的上方为讲台台面,所述多媒体箱体内设有教师操控终端,所述的教师操控终端为台式计算机或笔记本电脑,所述讲台台面两侧设置有音响,所述讲台台面上设置有麦克风,所述音响以及麦克风均与教师操控终端连接。本实用新型的多媒体教学讲台同时具备讲桌、语音播放两大功能。本实用新型操作简单,省时省力,有利于提高教学效率和质量,同时具有成本低廉、性能卓越、互动灵活的特点。
A multimedia teaching platform, comprising a multimedia box body, the multimedia box body is made of metal or plastic sheet material, the top of the multimedia box body is the podium platform, and a teacher control terminal is arranged in the multimedia box body, and the The teacher's control terminal is a desktop computer or a notebook computer, speakers are arranged on both sides of the podium, and a microphone is set on the podium, and both the audio and the microphone are connected to the teacher's control terminal. The multimedia teaching platform of the utility model has two functions of a desk and a voice playing at the same time. The utility model is easy to operate, saves time and effort, is beneficial to improving teaching efficiency and quality, and has the characteristics of low cost, excellent performance and flexible interaction.
Description
技术领域 technical field
本实用新型属于教学用具技术领域,特别是涉及一种多媒体教学讲台。The utility model belongs to the technical field of teaching appliances, in particular to a multimedia teaching platform.
背景技术 Background technique
传统的教学实践中,教师都是采用黑板板书,书写备课的形式进行授课。这样非常的麻烦,费时费力,教学过程不够生动,其效果也不理想。In the traditional teaching practice, teachers use the blackboard to write and prepare lessons in the form of teaching. This is very troublesome, time-consuming and labor-intensive, the teaching process is not vivid enough, and its effect is not ideal.
为了在教学中取得更好的教学效果,许多学校也建设了专门的多媒体教室,这样投资成本很大,而且资源有限,无法满足学校所有课程的学习需要。In order to achieve better teaching effects in teaching, many schools have also built special multimedia classrooms, which cost a lot of investment, and resources are limited, which cannot meet the learning needs of all courses in the school.
因此,设计出一种在教学时,操作方便,效果好,省时省力,并且投资成本低的多媒体教学讲台是本领域技术人员亟需解决的一个技术问题。Therefore, it is a technical problem that those skilled in the art need to solve urgently to design a multimedia teaching platform that is easy to operate, effective, time-saving and labor-saving, and has low investment cost during teaching.
实用新型内容 Utility model content
为克服上述同类技术存在的不足,本实用新型的目的是提供一种结构简单,在教学时操作简单,省时省力,提高教学效率和质量,且具有语音播放功能的多媒体教学讲台。In order to overcome the shortcomings of the above-mentioned similar technologies, the purpose of this utility model is to provide a multimedia teaching platform with a simple structure, simple operation during teaching, saving time and effort, improving teaching efficiency and quality, and having a voice playback function.
本实用新型的技术方案是:The technical scheme of the utility model is:
一种多媒体教学讲台,包括多媒体箱体,所述多媒体箱体由金属或者塑料板材制得,所述多媒体箱体的上方为讲台台面,所述多媒体箱体内设有教师操控终端,所述的教师操控终端为台式计算机或笔记本电脑,所述讲台台面两侧设置有音响,所述讲台台面上设置有麦克风,所述音响以及麦克风均与教师操控终端连接。A multimedia teaching platform, comprising a multimedia box body, the multimedia box body is made of metal or plastic plate, the top of the multimedia box body is the podium platform, and a teacher control terminal is arranged in the multimedia box body, and the The teacher's control terminal is a desktop computer or a notebook computer, speakers are arranged on both sides of the podium, and a microphone is set on the podium, and both the audio and the microphone are connected to the teacher's control terminal.
优选地,所述讲台台面中部设有相互拼合密封的两扇透明移门。Preferably, two transparent sliding doors are arranged in the middle of the podium surface, which are joined and sealed together.
本实用新型的有益效果是:The beneficial effects of the utility model are:
本实用新型同时具备讲桌、语音播放两大功能。教师操控终端为台式计算机或笔记本电脑,由于电脑本身具备很强大的功能,可以用来播放语音文件。授课时教师只需将存有语音课件的光盘或者是U盘带到课堂上,即可使用。本实用新型操作简单,省时省力,有利于提高教学效率和质量,同时具有成本低廉、性能卓越、互动灵活的特点。The utility model has two functions of a desk and a voice playing at the same time. The teacher's control terminal is a desktop computer or a notebook computer. Because the computer itself has very powerful functions, it can be used to play audio files. When teaching, the teacher only needs to bring the CD or U disk containing the audio courseware to the classroom, and then it can be used. The utility model is easy to operate, saves time and effort, is beneficial to improving teaching efficiency and quality, and has the characteristics of low cost, excellent performance and flexible interaction.
附图说明 Description of drawings
图1是本实用新型的结构示意图。Fig. 1 is a structural representation of the utility model.
具体实施方式 Detailed ways
根据附图,对本实用新型进行详细的叙述。According to accompanying drawing, the utility model is described in detail.
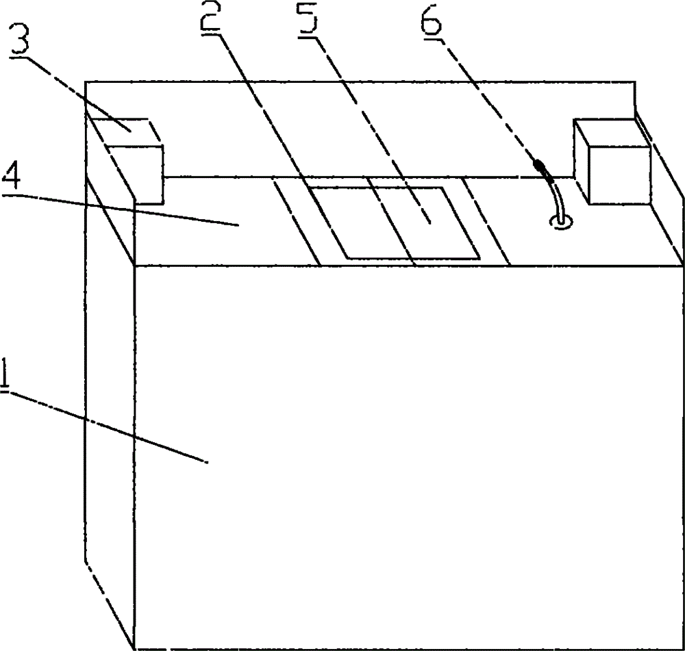
参照附图1,提出本实用新型的一实施例。一种多媒体教学讲台,包括多媒体箱体1,所述多媒体箱体1由金属或者塑料板材制得,所述多媒体箱体1的上方为讲台台面4,所述讲台台面4中部设有相互拼合密封的两扇透明移门5,需要使用的时候推开移门即可操作。不需要使用时,合上移门可以保护多媒体箱体内的设备。所述多媒体箱体1内设有教师操控终端2,所述的教师操控终端2为台式计算机或笔记本电脑,所述讲台台面4两侧设置有音响3,所述讲台台面4上设置有麦克风6,所述音响3以及麦克风6均与教师操控终端2连接。With reference to accompanying
Claims (2)
Priority Applications (1)
| Application Number | Priority Date | Filing Date | Title |
|---|---|---|---|
| CN 201220143177 CN202677644U (en) | 2012-04-01 | 2012-04-01 | Multimedia teaching platform |
Applications Claiming Priority (1)
| Application Number | Priority Date | Filing Date | Title |
|---|---|---|---|
| CN 201220143177 CN202677644U (en) | 2012-04-01 | 2012-04-01 | Multimedia teaching platform |
Publications (1)
| Publication Number | Publication Date |
|---|---|
| CN202677644U true CN202677644U (en) | 2013-01-16 |
Family
ID=47498531
Family Applications (1)
| Application Number | Title | Priority Date | Filing Date |
|---|---|---|---|
| CN 201220143177 Expired - Fee Related CN202677644U (en) | 2012-04-01 | 2012-04-01 | Multimedia teaching platform |
Country Status (1)
| Country | Link |
|---|---|
| CN (1) | CN202677644U (en) |
Cited By (1)
| Publication number | Priority date | Publication date | Assignee | Title |
|---|---|---|---|---|
| CN106652596A (en) * | 2016-12-15 | 2017-05-10 | 成都依能科技股份有限公司 | Multimedia electronic teaching method and multimedia electronic teaching box |
-
2012
- 2012-04-01 CN CN 201220143177 patent/CN202677644U/en not_active Expired - Fee Related
Cited By (1)
| Publication number | Priority date | Publication date | Assignee | Title |
|---|---|---|---|---|
| CN106652596A (en) * | 2016-12-15 | 2017-05-10 | 成都依能科技股份有限公司 | Multimedia electronic teaching method and multimedia electronic teaching box |
Similar Documents
| Publication | Publication Date | Title |
|---|---|---|
| CN206431865U (en) | A kind of computer based interaction teaching device | |
| CN205121954U (en) | Multi -media english teaching equipment | |
| CN202677644U (en) | Multimedia teaching platform | |
| CN206049124U (en) | A kind of pedagogy demonstration board | |
| CN204483431U (en) | A kind of English teaching desk | |
| CN207457971U (en) | A kind of remote control computer used of imparting knowledge to students | |
| CN103110285A (en) | Intelligent teaching desk | |
| CN206777040U (en) | A kind of intellectual Visual Communication Design teaching lectern | |
| CN202394410U (en) | Piano teaching system | |
| CN202502644U (en) | Russian teaching device | |
| CN203341241U (en) | Teacher's desk for ideology and politics classroom teaching | |
| CN202394409U (en) | Novel piano teaching table | |
| CN202959354U (en) | Teaching desk special for English language teaching | |
| CN202632562U (en) | Playing equipment for multimedia teaching | |
| CN202820164U (en) | Multi-media teaching table | |
| CN204467369U (en) | The multi-functional lectern of mathematical education | |
| CN204087535U (en) | A kind of remote multi-media training set | |
| CN202375419U (en) | Desk for English teaching | |
| CN208216364U (en) | A kind of novel English teaching aid | |
| CN204695608U (en) | A kind of Computer-Managed Instruction system | |
| CN204480505U (en) | College English education multimedia teaching apparatus | |
| CN203520694U (en) | English teaching device with media players | |
| CN202311984U (en) | Desk for English teachers to give lessons | |
| CN201965782U (en) | Novel teaching system for department of Chinese language and literature | |
| CN203262601U (en) | Teaching desk for English professional teaching |
Legal Events
| Date | Code | Title | Description |
|---|---|---|---|
| C14 | Grant of patent or utility model | ||
| GR01 | Patent grant | ||
| DD01 | Delivery of document by public notice |
Addressee: Zhang Hui Document name: Notification of Termination of Patent Right |
|
| C17 | Cessation of patent right | ||
| CF01 | Termination of patent right due to non-payment of annual fee |
Granted publication date: 20130116 Termination date: 20130401 |
