CN202670230U - Packing box with handle - Google Patents
Packing box with handle Download PDFInfo
- Publication number
- CN202670230U CN202670230U CN201220112822.5U CN201220112822U CN202670230U CN 202670230 U CN202670230 U CN 202670230U CN 201220112822 U CN201220112822 U CN 201220112822U CN 202670230 U CN202670230 U CN 202670230U
- Authority
- CN
- China
- Prior art keywords
- box body
- handle arm
- peristome
- connecting panel
- box
- Prior art date
- Legal status (The legal status is an assumption and is not a legal conclusion. Google has not performed a legal analysis and makes no representation as to the accuracy of the status listed.)
- Expired - Fee Related
Links
Images
Classifications
-
- Y—GENERAL TAGGING OF NEW TECHNOLOGICAL DEVELOPMENTS; GENERAL TAGGING OF CROSS-SECTIONAL TECHNOLOGIES SPANNING OVER SEVERAL SECTIONS OF THE IPC; TECHNICAL SUBJECTS COVERED BY FORMER USPC CROSS-REFERENCE ART COLLECTIONS [XRACs] AND DIGESTS
- Y02—TECHNOLOGIES OR APPLICATIONS FOR MITIGATION OR ADAPTATION AGAINST CLIMATE CHANGE
- Y02W—CLIMATE CHANGE MITIGATION TECHNOLOGIES RELATED TO WASTEWATER TREATMENT OR WASTE MANAGEMENT
- Y02W30/00—Technologies for solid waste management
- Y02W30/50—Reuse, recycling or recovery technologies
- Y02W30/80—Packaging reuse or recycling, e.g. of multilayer packaging
Landscapes
- Cartons (AREA)
Abstract
本实用新型提供一种带提手的包装盒,包括:盒体、及连接在盒体两侧的第一提手臂与第二提手臂,所述第一提手臂靠近其自由端设有第一开口部,所述第二提手臂靠近其自由端对应第一开口部设有第二开口部,通过第一、第二提手臂向上翻折,将第一开口部与第二开口部相对叠合于盒体上方。本实用新型带提手的包装盒,通过在盒体外设置提手臂的方式为盒体设置一提手,使得该盒体方便提拿,同时,美化该盒体的外观,提高观赏性,且结构简单,成本低。
The utility model provides a packaging box with a handle, comprising: a box body, and a first lifting arm and a second lifting arm connected to both sides of the box body, and a first lifting arm is provided near the free end of the first lifting arm. Opening, the second opening is provided with a second opening corresponding to the first opening near the free end of the second lifting arm, and the first opening and the second opening are relatively stacked by turning the first and second lifting arms upwards above the box. The packaging box with a handle of the utility model provides a handle for the box body by arranging a lifting arm outside the box body, so that the box body is convenient to carry, and at the same time, the appearance of the box body is beautified, the ornamental value is improved, and the structure Simple and low cost.
Description
技术领域 technical field
本实用新型涉及一种包装盒,尤其涉及一种带提手的包装盒。The utility model relates to a packing box, in particular to a packing box with a handle.
背景技术 Background technique
纸盒包装现在已是一种物品普遍采用的包装方式,其主要功能有两点;一是用于装饰和美化商品,一种再好的商品如果没有精美的包装来装饰,将会大大影响其市场销售,降低其本身的品味,现在很多商品都是通过精美的纸盒来包装装饰,这样可提升商品的档次,增加消费者的好感;另一种功能用于商品的隔离防震,因为纸质制品具有一定的吸震做用,对于那些怕摔,怕撞的商品来说是很有作用的。但现在的纸质包装盒对于如何使购买者携带方便,便于购买者提拿方面考虑不多,以至于现在许多商品的携带方面存在有很不方便的问题。Carton packaging is now a commonly used packaging method for items. Its main functions are two points; one is to decorate and beautify the product. If a good product is not decorated with exquisite packaging, it will greatly affect its quality. Market sales, lowering its own taste, now many products are packaged and decorated through exquisite cartons, which can improve the grade of products and increase consumers' favor; another function is used for isolation and shockproof of products, because paper The finished product has a certain shock-absorbing effect, which is very effective for those products that are afraid of falling and bumping. However, the current paper packaging boxes do not think much about how to make it easy for buyers to carry and pick up, so that many commodities are very inconvenient to carry.
实用新型内容 Utility model content
本实用新型的目的在于提供一种带提手的包装盒,方便提拿,外观精美,且结构简单,成本低。The purpose of the utility model is to provide a packing box with a handle, which is convenient to carry, has a beautiful appearance, and is simple in structure and low in cost.
为实现上述目的,本实用新型提供一种带提手的包装盒,包括:盒体、及连接在盒体两侧的第一提手臂与第二提手臂,所述第一提手臂靠近其自由端设有第一开口部,所述第二提手臂靠近其自由端对应第一开口部设有第二开口部,通过第一、第二提手臂向上翻折,将第一开口部与第二开口部相对叠合于盒体上方。In order to achieve the above purpose, the utility model provides a packaging box with a handle, including: a box body, and a first lifting arm and a second lifting arm connected to both sides of the box body, the first lifting arm is close to its free The end is provided with a first opening, and the second lifting arm is provided with a second opening close to its free end corresponding to the first opening. By turning up the first and second lifting arms, the first opening and the second The opening is relatively superimposed on the top of the box body.
所述第二提手臂自由端还延伸设有连接件,所述连接件包括依次连接的第一连接板、第二连接板及第三连接板,所述第三连接板上设有一卡扣,所述第二提手臂上对应该卡扣设有一扣孔,扣合时,所述第一连接板向下折叠贴合于所述第一提手臂,所述第二连接板穿设在于所述第一、第二开口部内,所述第三连接板穿过第一、第二开口部后向上折叠贴合于所述第二提手臂,所述卡扣扣合于该扣孔内。The free end of the second lifting arm is also extended with a connecting piece, the connecting piece includes a first connecting plate, a second connecting plate and a third connecting plate connected in sequence, and a buckle is provided on the third connecting plate, The second lifting arm is provided with a button hole corresponding to the buckle. When fastened, the first connecting plate is folded downwards and attached to the first lifting arm, and the second connecting plate passes through the In the first and second openings, the third connecting plate passes through the first and second openings and then is folded upwards to fit on the second lifting arm, and the buckle is fastened in the buckle hole.
所述第二连接板的宽度较第一连接板与第三连接板的宽度小,且所述第三连接板的自由端呈圆弧状设置。The width of the second connecting plate is smaller than that of the first connecting plate and the third connecting plate, and the free end of the third connecting plate is arranged in an arc shape.
所述第一开口部及第二开口部均为规则矩形,所述卡扣呈半圆形设置,所述扣孔对应呈半圆形。Both the first opening and the second opening are regular rectangles, the buckles are arranged in a semicircle, and the buttonholes are correspondingly semicircular.
所述连接件的宽度小于或等于第一、第二开口部的宽度。The width of the connecting piece is less than or equal to the width of the first and second openings.
所述盒体包括底板、相对设于底板上方的顶板、连接在底板与顶板之间的数个侧板,所述第一、第二提手臂分别连接在底板相对两侧,底板、顶板与侧板围成一收容空间,其中面向第一提手臂或第二提手臂的一侧板可开合于该收容空间上。The box body includes a bottom plate, a top plate relatively arranged above the bottom plate, and several side plates connected between the bottom plate and the top plate. The first and second lifting arms are respectively connected to the opposite sides of the bottom plate. The plate encloses a receiving space, wherein the side plate facing the first lifting arm or the second lifting arm can be opened and closed on the receiving space.
所述盒体包括底板、连接在该底板周围的数个侧板、及连接在一侧板自由端上的盖板,数个侧板与底板围成一收容空间,盖板盖合在该收容空间上方;所述第一、第二提手臂分别连接在底板相对两侧。The box body includes a base plate, several side plates connected around the base plate, and a cover plate connected to the free end of the side plate. The several side plates and the base plate enclose a storage space, and the cover plate covers the storage space. above the space; the first and second lifting arms are respectively connected to opposite sides of the bottom plate.
所述盒体为梯形体盒或矩形体盒。The box body is a trapezoidal box or a rectangular box.
所述第一、第二提手臂及盒体由塑料或纸板制成。The first and second lifting arms and the box body are made of plastic or cardboard.
所述第一、第二提手臂由白纸板制成,所述盒体由双灰纸板制成。The first and second lifting arms are made of white cardboard, and the box body is made of double gray cardboard.
本实用新型的有益效果:本实用新型带提手的包装盒,通过在盒体外设置提手臂的方式为盒体设置一提手,使得该盒体方便提拿,同时,美化该盒体的外观,提高观赏性,且结构简单,成本低。Beneficial effects of the utility model: the utility model has a packaging box with a handle, and a handle is provided for the box body by setting a lifting arm outside the box body, so that the box body is convenient to carry, and at the same time, the appearance of the box body is beautified , improve appreciation, and simple structure, low cost.
为了能更进一步了解本实用新型的特征以及技术内容,请参阅以下有关本实用新型的详细说明与附图,然而附图仅提供参考与说明用,并非用来对本实用新型加以限制。In order to further understand the features and technical contents of the present utility model, please refer to the following detailed description and accompanying drawings of the present utility model. However, the accompanying drawings are for reference and illustration only, and are not intended to limit the present utility model.
附图说明 Description of drawings
下面结合附图,通过对本实用新型的具体实施方式详细描述,将使本实用新型的技术方案及其它有益效果显而易见。The technical solution and other beneficial effects of the utility model will be apparent through the detailed description of the specific implementation of the utility model in conjunction with the accompanying drawings.
附图中,In the attached picture,
图1为本实用新型带提手的包装盒一具体实施例的展开结构示意图;Fig. 1 is a schematic diagram of the unfolded structure of a specific embodiment of a packaging box with a handle of the present invention;
图2为图1的扣合示意图;Fig. 2 is a schematic diagram of buckling in Fig. 1;
图3为本实用新型另一实施例的展开图。Fig. 3 is an expanded view of another embodiment of the present invention.
具体实施方式 Detailed ways
为更进一步阐述本实用新型所采取的技术手段及其效果,以下结合本实用新型的优选实施例及其附图进行详细描述。In order to further illustrate the technical means adopted by the utility model and its effects, a detailed description will be given below in conjunction with preferred embodiments of the utility model and accompanying drawings.
请参阅图1及图2,本实用新型一实施例的带提手的包装盒,包括:盒体2、及连接在盒体2两侧的第一提手臂4与第二提手臂6,所述第一提手臂4靠近其自由端设有第一开口部42,所述第二提手臂6靠近其自由端对应第一开口部42设有第二开口部62,通过第一、第二提手臂4、6向上翻折,将第一开口部42与第二开口部62相对叠合于盒体2上方,从而为盒体2提供提手,方便提拿盒体2。所述第一开口42与第二开口部62可为各种形状设置,如矩形、椭圆形等,在本实施例中第一开口部42及第二开口部62为规则矩形。Please refer to Fig. 1 and Fig. 2, the packing box with the handle of one embodiment of the present utility model, comprises:
其中,盒体2可为各种形状设置,如梯形体、矩形体或多边形体等。在本实施例中,所述盒体2包括底板22、相对设于底板22上方的顶板24、连接在底板22与顶板24之间的数个侧板26,底板22、顶板24与侧板26围成一收容空间,其中一侧板可开合于该收容空间上,形成盒体2的盖体。所述第一、第二提手臂4、6分别连接在底板22相对两侧,其可与底板22一体连接,或通过胶粘、卡合方式与底板22连接,盒体2中可开合的侧板面向该第一提手臂4或第二提手臂6。优选的,该第一、第二提手臂4、6由底板22相对两侧向外一体延伸形成,这样通过第一、第二提手臂4、6对盒体2的提拿更稳固。Wherein, the
所述盒体2的侧板26包括分别面对第一、第二提手臂4、6的相对两第一侧板262、及相邻该两第一侧板262的另相对两第二侧板264,其中一第一侧板262一端连接在顶板24对应一侧,另一端相对于底板22可开合,从而底板22、顶板24、两第二侧板264与一第一侧板262围成一具有一开口的收容空间,该收容空间的开口面向第一提手臂4或第二提手臂6,另一第一侧板262通过其于顶板24上翻折盖合在开口上,可作为盖体将该收容空间盖合。当第一、第二提手臂4、6相向翻折盒体2上时,第一、第二提手臂4、6贴合盒体2上的两第一侧板262,可避免作为盖体的一第一侧板262的开合,进一步避免放置盒体2内的物品掉出。在本实施例中,所述顶板24尺寸小于底板22,第一侧板262向底板22内侧倾斜,第二侧板264垂直连接在顶板24与底板22之间,从而第一侧板262、第二侧板264与顶板24、底板22围成一梯形体的盒体。所述第一侧板262的倾斜设置,使得第一、第二提手臂4、6相向翻折于盒体2上后,与第一侧板262更好贴合,外观性更佳。在第一、第二提手臂4、6与底板22之间连接处均可设有翻折线,该第一、第二提手臂4、6可沿翻折线进行翻折,操作便捷。The
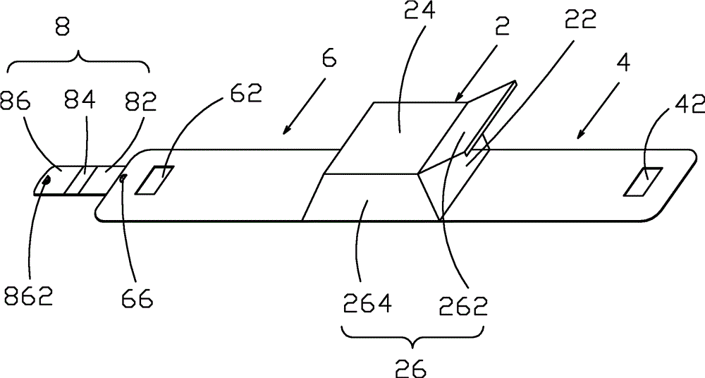
进一步地,所述第二提手臂6自由端还延伸设有连接件8,所述连接件8包括依次连接的第一连接板82、第二连接板84及第三连接板86,其中,第二连接板84的宽度较第一与第三连接板82、86的宽度小,所述第三连接板86上设有一卡扣862,所述第二提手臂6上对应该卡扣862设有一扣孔66,该连接件8的宽度小于或等于第一、第二开口部42、62的宽度,以利于连接件8穿过第一、第二开口部42、62。扣合时,所述第一连接板82向下折叠贴合于所述第一提手臂4,所述第二连接板84穿设在于所述第一、第二开口部42、62内,所述第三连接板86穿过第一、第二开口部42、62后向上折叠贴合于所述第二提手臂6,所述卡扣862扣合于该扣孔66内,从而将第一提手臂4与第二提手臂6相对扣合起来。在本实施例中,所述第三连接板86的自由端呈圆弧状设置,美化外观。所述卡扣862呈半圆形设置,所述扣孔66对应呈半圆形。Further, the free end of the second lifting arm 6 is also extended with a connecting piece 8, and the connecting piece 8 includes a first connecting
所述第一、第二提手臂4、6及盒体2均可由塑料或纸板制成。本实施例中第一、第二提手臂4、6由白纸板制成,便于印刷、丝印图案以增强观赏性。所述盒体2由灰纸板制成,在本实施例中所述盒体2由价格较低的双灰纸板制成,进而降低生产成本。The first and second lifting
请参阅图3,为本实用新型另一实施例的展开图,在本实施例中,所述盒体2’包括底板22’、连接在底板22’周围的数个侧板26’、及连接在一侧板26’自由端的盖板24’,该数个侧板26’与底板22’围成一收容空间,盖板24’于该侧板26’上翻折可开合于该收容空间上方。在本实施例中,所述盒体2’包括四个侧板26’,底板22’呈方形,四个侧板26’垂直连接在底板22’上,与底板22’围成一矩形体的收容空间,盖板24’盖合该收容空间上,从而形成一矩形体盒。所述第一、第二提手臂4、6分别连接在底板22’相对两侧,其可与底板22’一体连接,或通过胶粘、卡合方式与底板22连接。Please refer to Fig. 3, which is an expanded view of another embodiment of the present utility model. In this embodiment, the box body 2' includes a bottom plate 22', several side plates 26' connected around the bottom plate 22', and connecting The cover plate 24' at the free end of the side plate 26', the several side plates 26' and the bottom plate 22' enclose a receiving space, and the cover plate 24' can be opened and closed in the receiving space by being folded on the side plate 26' above. In this embodiment, the box body 2' includes four side plates 26', the bottom plate 22' is square, the four side plates 26' are vertically connected to the bottom plate 22', and form a rectangular shape with the bottom plate 22'. In the storage space, the cover plate 24' covers the storage space to form a rectangular box. The first and second lifting
综上所述,本实用新型的带提手的包装盒,通过在盒体外设置提手臂的方式为盒体设置一提手,使得该盒体方便提拿,同时,美化该盒体的外观,提高观赏性,且结构简单,成本低。To sum up, the packaging box with a handle of the present utility model provides a handle for the box body by setting a lifting arm outside the box body, so that the box body is convenient to carry, and at the same time, the appearance of the box body is beautified, The ornamental performance is improved, and the structure is simple and the cost is low.
以上所述,对于本领域的普通技术人员来说,可以根据本实用新型的技术方案和技术构思作出其他各种相应的改变和变形,而所有这些改变和变形都应属于本实用新型权利要求的保护范围。As mentioned above, for those of ordinary skill in the art, various other corresponding changes and deformations can be made according to the technical scheme and technical concept of the present utility model, and all these changes and deformations should belong to the claims of the present utility model. protected range.
Claims (10)
Priority Applications (1)
| Application Number | Priority Date | Filing Date | Title |
|---|---|---|---|
| CN201220112822.5U CN202670230U (en) | 2012-03-22 | 2012-03-22 | Packing box with handle |
Applications Claiming Priority (1)
| Application Number | Priority Date | Filing Date | Title |
|---|---|---|---|
| CN201220112822.5U CN202670230U (en) | 2012-03-22 | 2012-03-22 | Packing box with handle |
Publications (1)
| Publication Number | Publication Date |
|---|---|
| CN202670230U true CN202670230U (en) | 2013-01-16 |
Family
ID=47491150
Family Applications (1)
| Application Number | Title | Priority Date | Filing Date |
|---|---|---|---|
| CN201220112822.5U Expired - Fee Related CN202670230U (en) | 2012-03-22 | 2012-03-22 | Packing box with handle |
Country Status (1)
| Country | Link |
|---|---|
| CN (1) | CN202670230U (en) |
Cited By (1)
| Publication number | Priority date | Publication date | Assignee | Title |
|---|---|---|---|---|
| CN110203508A (en) * | 2019-05-10 | 2019-09-06 | 苏州裕同印刷有限公司 | A kind of food storage portable box |
-
2012
- 2012-03-22 CN CN201220112822.5U patent/CN202670230U/en not_active Expired - Fee Related
Cited By (1)
| Publication number | Priority date | Publication date | Assignee | Title |
|---|---|---|---|---|
| CN110203508A (en) * | 2019-05-10 | 2019-09-06 | 苏州裕同印刷有限公司 | A kind of food storage portable box |
Similar Documents
| Publication | Publication Date | Title |
|---|---|---|
| CN201901356U (en) | Packaging box for mobile phone | |
| CN204606600U (en) | A kind of draw-type packing case | |
| CN107323791B (en) | Multifunctional display packaging box | |
| CN202670230U (en) | Packing box with handle | |
| CN207374870U (en) | Left and right clamshell packaging boxes and their blanks | |
| CN201864111U (en) | Packing box | |
| CN205240121U (en) | Packing carton of granary shape | |
| CN105129182A (en) | Portable packing box | |
| CN216070889U (en) | A square box that can be used for display | |
| CN203855002U (en) | Package gasket with patterned lock | |
| CN203714332U (en) | Structure of packing box | |
| CN209796095U (en) | Split type hard board folding packaging box | |
| CN212125822U (en) | Packing box spare and 3D packing carton | |
| CN207497141U (en) | A kind of Multifunctional demonstration packing box | |
| CN207417354U (en) | A kind of potted plant external packing box for having both displaying and storage function | |
| CN223238260U (en) | Packaging box | |
| CN207129282U (en) | A kind of packing box | |
| CN207434002U (en) | Package lining and the packing box equipped with the liner | |
| CN207360826U (en) | A kind of Display packaging box | |
| CN202138609U (en) | Package box capable of being seen through | |
| CN205203813U (en) | Facial mask packing box | |
| CN214452670U (en) | Packaging box capable of buffering and lifting products and facilitating taking of products | |
| CN206141992U (en) | Packing box | |
| CN203652236U (en) | Packing box capable of fixing woolen sweater | |
| CN102715763A (en) | Showing stand |
Legal Events
| Date | Code | Title | Description |
|---|---|---|---|
| C14 | Grant of patent or utility model | ||
| GR01 | Patent grant | ||
| CF01 | Termination of patent right due to non-payment of annual fee |
Granted publication date: 20130116 Termination date: 20150322 |
|
| EXPY | Termination of patent right or utility model |
