CN202660768U - Low cost double effect solar air heat collector - Google Patents
Low cost double effect solar air heat collector Download PDFInfo
- Publication number
- CN202660768U CN202660768U CN2012202024878U CN201220202487U CN202660768U CN 202660768 U CN202660768 U CN 202660768U CN 2012202024878 U CN2012202024878 U CN 2012202024878U CN 201220202487 U CN201220202487 U CN 201220202487U CN 202660768 U CN202660768 U CN 202660768U
- Authority
- CN
- China
- Prior art keywords
- heat
- absorbing device
- cover plate
- air
- light
- Prior art date
- Legal status (The legal status is an assumption and is not a legal conclusion. Google has not performed a legal analysis and makes no representation as to the accuracy of the status listed.)
- Expired - Lifetime
Links
Images
Classifications
-
- Y—GENERAL TAGGING OF NEW TECHNOLOGICAL DEVELOPMENTS; GENERAL TAGGING OF CROSS-SECTIONAL TECHNOLOGIES SPANNING OVER SEVERAL SECTIONS OF THE IPC; TECHNICAL SUBJECTS COVERED BY FORMER USPC CROSS-REFERENCE ART COLLECTIONS [XRACs] AND DIGESTS
- Y02—TECHNOLOGIES OR APPLICATIONS FOR MITIGATION OR ADAPTATION AGAINST CLIMATE CHANGE
- Y02E—REDUCTION OF GREENHOUSE GAS [GHG] EMISSIONS, RELATED TO ENERGY GENERATION, TRANSMISSION OR DISTRIBUTION
- Y02E10/00—Energy generation through renewable energy sources
- Y02E10/40—Solar thermal energy, e.g. solar towers
- Y02E10/44—Heat exchange systems
Landscapes
- Building Environments (AREA)
Abstract
本实用新型公开了一种低成本双效太阳能空气集热器。它包括透光盖板、水箱以及毛细管网,其在于一面开口其它面封闭的壳体内侧设有与该壳体相适配的保温层;壳体开口一面上设有透光盖板;壳体与保温层后壁上部的适配位置开设有送风口;送风口的下部设有吸热装置;该吸热装置通过支架固定于壳体后壁上,所述的吸热装置由混凝土层内均匀设有毛细管网及在混凝土层靠近透光盖板一面设有选择性吸收涂层的集热面构成,所述的吸热装置后部的壳体与保温层后壁的适配位置开设有出风口;所述的毛细管网的进口和出口通过管道与水箱相连。本实用新型造价低廉,使用寿命长,极大限度的满足使用者的需要,并具有广泛的社会效益。
The utility model discloses a low-cost double-effect solar air heat collector. It includes a light-transmitting cover plate, a water tank and a capillary network, and an insulating layer suitable for the shell is provided on the inner side of the shell with one side open and the other closed; the shell opening is provided with a light-transmitting cover plate; the shell An air outlet is provided at the matching position with the upper part of the rear wall of the insulation layer; the lower part of the air outlet is provided with a heat absorbing device; It is composed of a capillary network and a heat collecting surface with a selective absorption coating on the side of the concrete layer close to the light-transmitting cover plate. Air outlet; the inlet and outlet of the capillary network are connected to the water tank through pipelines. The utility model has low cost , long service life, satisfies the needs of users to a great extent, and has extensive social benefits.
Description
技术领域 technical field
本实用新型涉及一种太阳能空气集热器,尤其涉及一种低成本双效太阳能空气集热器。 The utility model relates to a solar air heat collector, in particular to a low-cost double-effect solar air heat collector.
背景技术 Background technique
能源、环境和可持续发展是21世纪人类社会生存和发展的主题,而发展太阳能热利用技术受到全球范围的重视。由于采用空气作为换热介质,太阳能空气集热器具有不存在冬季冻结、无腐蚀与结垢、密封要求低与造价低廉的优点,也因此在世界范围不少家庭亲自动手制作适合自己住宅的太阳能空气集热器,并自行安装和运行,很多实验结果表明效果良好。但是,在建筑中使用太阳能空气集热器供暖存在夏季过热与热能浪费的问题。此外,对农村地区而言,太阳能空气集热器的价格还是有些偏高。 Energy, environment and sustainable development are the themes of the survival and development of human society in the 21st century, and the development of solar thermal utilization technology has received global attention. Due to the use of air as the heat exchange medium, the solar air collector has the advantages of no winter freezing, no corrosion and scaling, low sealing requirements and low cost. Therefore, many families around the world make solar energy suitable for their own houses. The air collector is installed and operated by itself, and many experimental results show that the effect is good. However, the use of solar air collectors for heating in buildings has the problems of overheating and heat energy waste in summer. In addition, for rural areas, the price of solar air collectors is still somewhat high.
从实际应用推广来看,太阳能空气集热器还没有形成市场,这与推广应用场合、价格偏高、夏季过热与热能浪费等问题不无关系。为解决夏季过热问题,(期刊 暖通空调)中报道了一种新型变色幕墙太阳能空气集热器,这种装置的集热面可以通过百叶的翻转解决夏季的过热问题,还有一定的降温作用,但是在某种程度上还是浪费了热能,这使得太阳空气集热器的广泛应用和推广受到了限制。 From the perspective of practical application and promotion, solar air collectors have not yet formed a market, which is not unrelated to problems such as promotion and application occasions, high prices, overheating in summer and waste of heat energy. In order to solve the problem of overheating in summer, a new type of color-changing curtain wall solar air collector was reported in (Journal HVAC). , but to some extent heat energy is still wasted, which limits the wide application and promotion of solar air collectors.
发明内容 Contents of the invention
本实用新型就是针对上述问题提出来的,目的是提供一种适合各种地区使用,蓄热能力强,制作成本低,有效提高热效率,且降低热损失的一种低成本双效太阳能空气集热器。 The utility model is proposed in response to the above problems, and the purpose is to provide a low-cost double-effect solar air heat collector suitable for use in various regions, with strong heat storage capacity, low production cost, effective improvement of thermal efficiency, and reduced heat loss. device.
为实现上述目的,本实用新型解决技术问题的技术方案是:一种低成本双效太阳能空气集热器,包括:透光盖板、水箱以及毛细管网,其在于:一面开口其它面封闭的壳体内侧设有与该壳体相适配的保温层;壳体开口一面上设有透光盖板;壳体与保温层后壁上部的适配位置开设有送风口;送风口的下部设有吸热装置;该吸热装置通过支架固定于壳体后壁上,所述的吸热装置由混凝土层内均匀设有毛细管网及在混凝土层靠近透光盖板一面设有选择性吸收涂层的集热面构成,所述的吸热装置后部的壳体与保温层后壁的适配位置开设有出风口;所述的毛细管网的进口和出口通过管道与水箱相连。 In order to achieve the above purpose, the technical solution of the utility model to solve the technical problem is: a low-cost double-effect solar air heat collector, including: a light-transmitting cover plate, a water tank, and a capillary network, which lies in: a shell with one side open and the other side closed The inner side of the body is provided with an insulation layer suitable for the shell; the opening of the shell is provided with a light-transmitting cover plate; the matching position between the shell and the upper part of the rear wall of the insulation layer is provided with an air supply port; the lower part of the air supply port is provided with Heat-absorbing device; the heat-absorbing device is fixed on the rear wall of the housing through a bracket, and the heat-absorbing device is uniformly provided with a capillary network in the concrete layer and is provided with a selective absorption coating on the side of the concrete layer close to the light-transmitting cover plate The heat collecting surface is formed, and the housing at the rear of the heat absorbing device is provided with an air outlet at the matching position of the rear wall of the insulation layer; the inlet and outlet of the capillary network are connected to the water tank through pipes.
所述的吸热装置的集热面上部的适配位置与透光盖板之间设有带通孔的均匀送风挡板。 A uniform air-supply baffle with through holes is provided between the matching position on the upper heat collecting surface of the heat absorbing device and the transparent cover plate.
所述的均匀送风挡板上的通孔从中部至边缘呈逐渐由小孔到大孔的均匀分布形式。 The through-holes on the uniform air-supply baffle are uniformly distributed gradually from small holes to large holes from the middle to the edge.
所述的吸热装置后部的适配位置与保温层之间设有带通孔的均匀出风挡板。 A uniform air outlet baffle with through holes is arranged between the matching position at the rear of the heat absorbing device and the insulation layer.
所述的均匀出风挡板上的通孔从中部至边缘呈逐渐由小孔到大孔的均匀分布形式。 The through holes on the uniform air outlet baffle are uniformly distributed gradually from small holes to large holes from the middle to the edge.
本实用新型与现有技术相比具有下述优点效果: Compared with the prior art, the utility model has the following advantages and effects:
本实用新型由于采用混凝土、毛细管网与选择性涂层作为作为光热转化、转移板芯,在保证热效率的同时,降低了太阳能空气集热器的制作成本,还具备集热风和集热水的双重效果,不采暖的时候可为家庭提供生活热水;因为采用了双通道的送风设计,即空气先流过吸热装置与透光盖板之间通道,再流过吸热装置与保温层之间通道,降低了集热面的热损,同时增加了空气流动的流程,再经过均匀送、出风挡板保证了送风的对流换热效果。此外,本实用新型的加工原理简单,与其它太阳能空气集热器相比,热效率稍低,但材料耗费相对较少,整体造价低廉,使用寿命长,基本不需要维护,优势较为突出,极大限度的满足使用者的需要,并具有广泛的社会效益。 Because the utility model adopts concrete, capillary network and selective coating as the light-to-heat conversion and transfer plate core, while ensuring the thermal efficiency, the utility model reduces the production cost of the solar air heat collector, and also has the function of collecting hot air and hot water. Double effect, it can provide domestic hot water for the family when there is no heating; because of the dual-channel air supply design, the air first flows through the channel between the heat-absorbing device and the transparent cover, and then flows through the heat-absorbing device and the insulation The channel between the layers reduces the heat loss of the heat collecting surface, and at the same time increases the air flow process, and then ensures the convective heat transfer effect of the air supply through the uniform air supply and air outlet baffles. In addition, the processing principle of the utility model is simple. Compared with other solar air collectors, the thermal efficiency is slightly lower, but the material consumption is relatively small, the overall cost is low , the service life is long, and basically no maintenance is required. To meet the needs of users to the maximum extent, and has a wide range of social benefits.
附图说明 Description of drawings
图1是本实用新型集热器的结构示意图; Fig. 1 is the structural representation of the utility model heat collector;
图2是本实用新型集热器的吸热装置的结构示意图; Fig. 2 is the structural representation of the heat absorbing device of the utility model heat collector;
图3是本实用新型集热器的均匀送、出风挡板的剖视结构示意图。 Fig. 3 is a schematic cross-sectional structure diagram of the uniform air supply and air outlet baffles of the heat collector of the utility model.
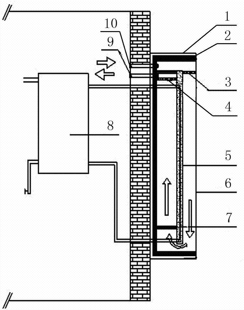
图中:壳体1,保温层2,均匀送风挡板3,均匀出风挡板4,吸热装置5,透光盖板6,支架 7,水箱8,出风口9,送风口10,混凝土层11,毛细管网12,通孔13。
In the figure: shell 1, insulation layer 2, uniform
具体实施方式 Detailed ways
下面参见本实用新型的附图并结合具体实施例对本实用新型进行进一步详细说明,但本实用新型的保护范围不受具体的实施例所限制,以权利要求书为准。另外,以不违背本实用新型方案的前提下,对本实用新型所作的本领域普通技术人员容易实现的任何改动或改变都将落入本实用新型的权利要求范围之内。 Below, referring to the accompanying drawings of the utility model and combining specific embodiments, the utility model will be further described in detail, but the protection scope of the utility model is not limited by the specific embodiments, and the claims shall prevail. In addition, under the premise of not violating the scheme of the utility model, any modification or change made to the utility model that can be easily realized by those skilled in the art will fall within the scope of the claims of the utility model.
实施例1: Example 1:
如图1、2、3所示,本实用新型的一种低成本双效太阳能空气集热器,包括:壳体1,保温层2,均匀送风挡板3,均匀出风挡板4,吸热装置5,透光盖板6,支架 7,水箱8,出风口9,送风口10,混凝土层11,毛细管网12,通孔13。其在于一面开口其它面封闭的壳体1内侧设有与该壳体1相适配的保温层2;壳体1开口一面上设有透光盖板6;壳体1与保温层2后壁上部的适配位置开设有送风口10;送风口10的下部设有吸热装置5;该吸热装置5通过支架7固定于壳体1后壁上,所述的吸热装置5由混凝土层11内均匀设有毛细管网12及在混凝土层11靠近透光盖板6一面设有的采用磁控溅射方式制备选择性吸收涂层的集热面构成,所述的吸热装置5后部的壳体与保温层后壁的适配位置开设有出风口9;所述的吸热装置5的集热面上部的适配位置与透光盖板6之间设有带通孔13的均匀送风挡板3;所述的吸热装置5后部的适配位置与保温层之间设有带通孔13的均匀出风挡板4;所述的均匀送风挡板3和均匀出风挡板4上的通孔13均从中部至边缘呈逐渐由小孔到大孔的均匀分布。所述的毛细管网12的进口和出口通过管道与水箱8相连。
As shown in Figures 1, 2, and 3, a low-cost double-effect solar air collector of the present invention includes: a shell 1, an insulation layer 2, a uniform
本实用新型使用过程的工作原理如下: The operating principle of the utility model using process is as follows:
本实用新型的一种低成本双效太阳能空气集热器安挂在室外的墙壁上,水箱8安装在室内理想的地方。 A low-cost double-effect solar air heat collector of the utility model is hung on an outdoor wall, and the water tank 8 is installed in an ideal indoor place.
在采暖模式运行时:本实用新型的太阳能集热器单以空气为换热介质在风机驱动下运行,室内空气从送风口10进入本实用新型的太阳能空气集热器,经过均匀送风挡板3后空气进入吸热装置5与透光盖板6之间的通道内与吸热装置5的集热面对流换热,之后空气在吸热装置5下方的开口处改变180度的流动方向,在吸热装置5与保温层2之间的通道对流换热,经过两次加热的空气穿过均匀出风挡板4沿出风口9进入室内,给室内供暖。
When running in the heating mode: the solar heat collector of the present utility model only uses air as the heat exchange medium to operate under the drive of the fan, and the indoor air enters the solar air heat collector of the present utility model from the air supply port 10, and passes through the uniform
在热水供应模式运行时:本实用新型的太阳能集热器的热风模式关闭,在水泵或自由风口压差驱动下,经过毛细管网12的进口和出口将收集的热水通过管道进入水箱8。
When running in the hot water supply mode: the hot air mode of the solar heat collector of the present invention is closed, and the hot water collected through the inlet and outlet of the
在双效模式运行时:本实用新型的太阳能集热器能同时制备热风和热水,即上述的采暖模式和热水供应模式同时进行的运行方式,不再赘述。 When operating in double-effect mode: the solar heat collector of the present invention can prepare hot air and hot water at the same time, that is, the above-mentioned operation mode in which the heating mode and the hot water supply mode are carried out at the same time, and will not be described again.
Claims (5)
Priority Applications (1)
| Application Number | Priority Date | Filing Date | Title |
|---|---|---|---|
| CN2012202024878U CN202660768U (en) | 2012-05-08 | 2012-05-08 | Low cost double effect solar air heat collector |
Applications Claiming Priority (1)
| Application Number | Priority Date | Filing Date | Title |
|---|---|---|---|
| CN2012202024878U CN202660768U (en) | 2012-05-08 | 2012-05-08 | Low cost double effect solar air heat collector |
Publications (1)
| Publication Number | Publication Date |
|---|---|
| CN202660768U true CN202660768U (en) | 2013-01-09 |
Family
ID=47455674
Family Applications (1)
| Application Number | Title | Priority Date | Filing Date |
|---|---|---|---|
| CN2012202024878U Expired - Lifetime CN202660768U (en) | 2012-05-08 | 2012-05-08 | Low cost double effect solar air heat collector |
Country Status (1)
| Country | Link |
|---|---|
| CN (1) | CN202660768U (en) |
Cited By (1)
| Publication number | Priority date | Publication date | Assignee | Title |
|---|---|---|---|---|
| CN102628617A (en) * | 2012-05-08 | 2012-08-08 | 沈阳建筑大学 | Low-cost double-effect solar air collector |
-
2012
- 2012-05-08 CN CN2012202024878U patent/CN202660768U/en not_active Expired - Lifetime
Cited By (2)
| Publication number | Priority date | Publication date | Assignee | Title |
|---|---|---|---|---|
| CN102628617A (en) * | 2012-05-08 | 2012-08-08 | 沈阳建筑大学 | Low-cost double-effect solar air collector |
| CN102628617B (en) * | 2012-05-08 | 2014-06-25 | 沈阳建筑大学 | Low-cost double-effect solar air collector |
Similar Documents
| Publication | Publication Date | Title |
|---|---|---|
| CN105587049A (en) | Solar phase change and sensible heat combined heat storage wall and heat supply system thereof | |
| CN207334870U (en) | District passive form solar heating system | |
| CN103983023A (en) | A flat-plate air-water dual-purpose solar heat collector | |
| CN204665502U (en) | Air-conditioner outdoor unit waste heat water heater | |
| CN203323404U (en) | Air-water combined flat-plate solar collector | |
| CN202731013U (en) | Building wall utilizing solar energy, air and water to realize heating and cooling | |
| CN102628617B (en) | Low-cost double-effect solar air collector | |
| CN202056950U (en) | Novel heating device taking solar energy as heat source | |
| CN206310741U (en) | A kind of economic benefits and social benefits plate solar heat collector with the roundabout runner of parallel fins | |
| CN211011975U (en) | Phase-change energy storage cylinder array type solar air heat collector | |
| CN202660768U (en) | Low cost double effect solar air heat collector | |
| CN202973577U (en) | Double-effect flat plate heat collector | |
| CN204084899U (en) | A kind of plate Air-Water dual-purpose solar heat collector | |
| CN201583013U (en) | Air-water compound solar energy heat collector | |
| CN102425827A (en) | Solar cogeneration cold storage type villa central air conditioning system | |
| CN201764721U (en) | Wall-mounted solar water heater for heating and bathing | |
| CN105716299A (en) | Solar heat pump water heater | |
| CN205444542U (en) | Solar energy phase transition and apparent heat recombination formula heat storage wall and heating system thereof | |
| CN201126281Y (en) | Efficient and controllable solar air collector | |
| CN104676928A (en) | Coil pipe auxiliary heating double-container type water tank of solar and heat pump water heater | |
| CN202613570U (en) | Air conditioning system using solar energy to control indoor air | |
| CN202083131U (en) | Built-in buffer type solar panel collector | |
| CN201138089Y (en) | Flat-plate multi-purpose solar collector | |
| CN201343968Y (en) | Novel energy-saving window | |
| CN207365429U (en) | Heat pipe type wall economic benefits and social benefits flat plate collector |
Legal Events
| Date | Code | Title | Description |
|---|---|---|---|
| C14 | Grant of patent or utility model | ||
| GR01 | Patent grant | ||
| AV01 | Patent right actively abandoned |
Granted publication date: 20130109 Effective date of abandoning: 20140625 |
|
| AV01 | Patent right actively abandoned |
Granted publication date: 20130109 Effective date of abandoning: 20140625 |
|
| RGAV | Abandon patent right to avoid regrant |
