CN202653620U - Multifunctional folding stool - Google Patents
Multifunctional folding stool Download PDFInfo
- Publication number
- CN202653620U CN202653620U CN 201220289824 CN201220289824U CN202653620U CN 202653620 U CN202653620 U CN 202653620U CN 201220289824 CN201220289824 CN 201220289824 CN 201220289824 U CN201220289824 U CN 201220289824U CN 202653620 U CN202653620 U CN 202653620U
- Authority
- CN
- China
- Prior art keywords
- stool
- stool surface
- folded
- storage compartment
- legs
- Prior art date
- Legal status (The legal status is an assumption and is not a legal conclusion. Google has not performed a legal analysis and makes no representation as to the accuracy of the status listed.)
- Expired - Fee Related
Links
Images
Landscapes
- Special Chairs (AREA)
Abstract
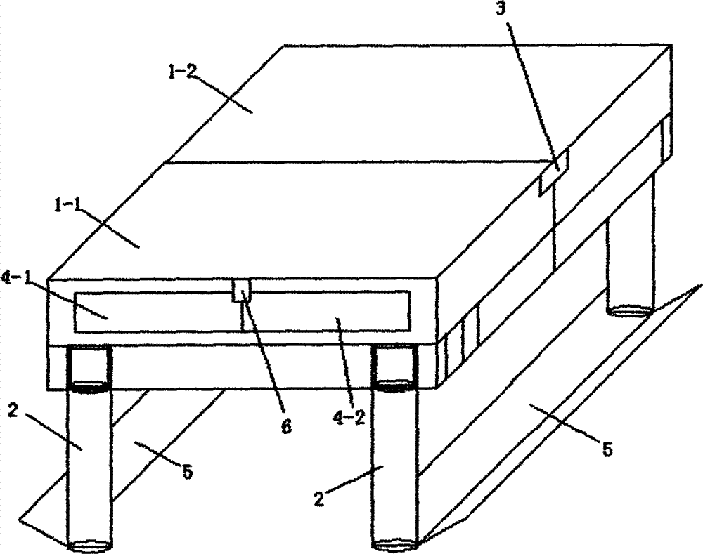
本实用新型公开了一种多功能折凳,包括第一凳面、第二凳面,第一凳面通过连接扣与第二凳面折叠连接,第一凳面与第二凳面底部折叠连接有四个可伸缩式凳腿,第一凳面与第二凳面内均具有第一储物格与第二储物格且通过锁扣与第一凳面与第二凳面固定,第一凳面与第二凳面两侧下方均具有储物槽,储物槽固定连接在两个可伸缩式凳腿之间。本实用新型结构简单、使用方便,能够方便携带。
The utility model discloses a multifunctional folding stool, which comprises a first stool surface and a second stool surface. The first stool surface is folded and connected with the second stool surface through a connecting buckle, and the first stool surface is folded and connected with the bottom of the second stool surface. There are four retractable stool legs, the first stool surface and the second stool surface both have a first storage compartment and a second storage compartment and are fixed to the first stool surface and the second stool surface by a lock, the first There are storage tanks under both sides of the stool surface and the second stool surface, and the storage tanks are fixedly connected between the two telescopic stool legs. The utility model has the advantages of simple structure, convenient use and convenient portability.
Description
技术领域 technical field
本实用新型涉及一种休息工具,尤其是一种折凳。The utility model relates to a rest tool, in particular to a folding stool.
背景技术 Background technique
凳子是日常生活中非常普遍而且方便的一种休息工具,传统的凳子,因为其结构原因,功能比较单一,不能满足其他方面的需求,同时比较占用空间,不方便人们外出时携带,使用起来比较不方便。Stool is a very common and convenient tool for resting in daily life. Traditional stool, because of its structure, has a single function and cannot meet the needs of other aspects. inconvenient.
发明内容 Contents of the invention
本实用新型的目的在于提供一种结构简单、使用方便,能够方便携带的多功能折凳。The purpose of the utility model is to provide a multifunctional folding stool which is simple in structure, easy to use and portable.
为了达到上述目的,本实用新型的技术方案是:一种多功能折凳,包括第一凳面、第二凳面,第一凳面通过连接扣与第二凳面折叠连接,第一凳面与第二凳面底部折叠连接有四个可伸缩式凳腿,第一凳面与第二凳面内均具有第一储物格与第二储物格且通过锁扣与第一凳面与第二凳面固定,第一凳面与第二凳面两侧下方均具有储物槽,储物槽固定连接在两个可伸缩式凳腿之间。In order to achieve the above purpose, the technical solution of the utility model is: a multifunctional folding stool, including a first stool surface and a second stool surface, the first stool surface is folded and connected with the second stool surface through a connecting buckle, the first stool surface Four retractable stool legs are folded and connected to the bottom of the second stool surface. Both the first stool surface and the second stool surface have a first storage compartment and a second storage compartment, and are connected to the first stool surface and the second stool surface through a lock. The second stool surface is fixed, and there are storage tanks under both sides of the first stool surface and the second stool surface, and the storage tanks are fixedly connected between the two telescopic stool legs.
采用上述结构后,第一凳面与第二凳面为折叠连接,同时第一凳面与第二凳面底部折叠连接有四个可伸缩式凳腿,在需要行走携带时只需将凳腿缩短同时折叠至第一凳面与第二凳面的底部,再将第一凳面与第二凳面折叠并通过连接扣固定,不但结构简单,同时方便与携带,而本实用新型还具有第一储物格、第二储物格,可以用来存放存放棋子,儿童玩的积木,老人的老花镜等各种生活物品,同时书本杂志等可以放置于储物槽中。After adopting the above structure, the first stool surface and the second stool surface are folded and connected, and at the same time, the bottom of the first stool surface and the second stool surface are folded and connected with four retractable stool legs. Shorten and fold to the bottom of the first stool surface and the second stool surface at the same time, then fold the first stool surface and the second stool surface and fix them through the connecting buckle, which is not only simple in structure, but also convenient and portable, and the utility model also has the second The first storage compartment and the second storage compartment can be used to store various daily necessities such as chess pieces, building blocks for children, reading glasses for the elderly, etc. At the same time, books and magazines can be placed in the storage slots.
附图说明 Description of drawings
以下结合附图给出的实施例对本实用新型作进一步详细的说明。Below in conjunction with the embodiment that accompanying drawing provides, the utility model is described in further detail.
图1为本实用新型组装完成后的立体结构示意图。Fig. 1 is a three-dimensional structural schematic diagram of the utility model after assembly.
具体实施方式 Detailed ways
如图1所示,一种多功能折凳,包括第一凳面1-1、第二凳面1-2,第一凳面1-1通过连接扣3与第二凳面1-2折叠连接,第一凳面1-1与第二凳面1-2底部折叠连接有四个可伸缩式凳腿2,第一凳面1-1与第二凳面1-2内均具有第一储物格4-1与第二储物格4-2且通过锁扣6与第一凳面1-1与第二凳面1-2固定,第一凳面1-1与第二凳面1-2两侧下方均具有储物槽5,储物槽5固定连接在两个可伸缩式凳腿2之间。As shown in Figure 1, a multifunctional folding stool includes a first stool surface 1-1 and a second stool surface 1-2, and the first stool surface 1-1 is folded with the second stool surface 1-2 through a connecting buckle 3 connection, the bottom of the first stool surface 1-1 and the second stool surface 1-2 are folded and connected with four
如图1所示,本实用新型的工作原理如下:使用时,松开连接扣3将第一凳面1-1与第二凳面1-2翻折打开,并将可伸缩式凳腿2翻折打开,同时根据需要调整至需要的高度,此时便可以使用,如需存放物品,可以将物品放入第一储物格4-1与第二储物格4-2内,也可将书本杂志等放入储物槽5中。As shown in Figure 1, the working principle of the utility model is as follows: when in use, loosen the connecting buckle 3 to fold and open the first stool surface 1-1 and the second stool surface 1-2, and open the
Claims (1)
Priority Applications (1)
| Application Number | Priority Date | Filing Date | Title |
|---|---|---|---|
| CN 201220289824 CN202653620U (en) | 2012-06-11 | 2012-06-11 | Multifunctional folding stool |
Applications Claiming Priority (1)
| Application Number | Priority Date | Filing Date | Title |
|---|---|---|---|
| CN 201220289824 CN202653620U (en) | 2012-06-11 | 2012-06-11 | Multifunctional folding stool |
Publications (1)
| Publication Number | Publication Date |
|---|---|
| CN202653620U true CN202653620U (en) | 2013-01-09 |
Family
ID=47448576
Family Applications (1)
| Application Number | Title | Priority Date | Filing Date |
|---|---|---|---|
| CN 201220289824 Expired - Fee Related CN202653620U (en) | 2012-06-11 | 2012-06-11 | Multifunctional folding stool |
Country Status (1)
| Country | Link |
|---|---|
| CN (1) | CN202653620U (en) |
Cited By (1)
| Publication number | Priority date | Publication date | Assignee | Title |
|---|---|---|---|---|
| CN103346498A (en) * | 2013-07-22 | 2013-10-09 | 国家电网公司 | Portable extensible high stool |
-
2012
- 2012-06-11 CN CN 201220289824 patent/CN202653620U/en not_active Expired - Fee Related
Cited By (1)
| Publication number | Priority date | Publication date | Assignee | Title |
|---|---|---|---|---|
| CN103346498A (en) * | 2013-07-22 | 2013-10-09 | 国家电网公司 | Portable extensible high stool |
Similar Documents
| Publication | Publication Date | Title |
|---|---|---|
| CN204260210U (en) | A kind of multifunctional tea-table | |
| CN202653620U (en) | Multifunctional folding stool | |
| CN201775323U (en) | Chair capable of being used as bed | |
| CN202800669U (en) | Foldable wardrobe | |
| CN103355942A (en) | Folding table | |
| CN201905451U (en) | Table capable of being folded leaning against wall | |
| CN204444777U (en) | A multifunctional folding coffee table | |
| CN202286966U (en) | Foldable reading bookshelf | |
| CN203046553U (en) | Foldable card shelf | |
| CN205098616U (en) | Foldable storage box | |
| CN204930810U (en) | A kind of multifunction folding desk | |
| CN105615212A (en) | Portable lunch box | |
| CN203458066U (en) | Multifunctional folding bed | |
| CN202407910U (en) | Portable bamboo chair | |
| CN203963403U (en) | Collapsible work supporting stand | |
| CN203094635U (en) | Foldable storage box | |
| CN202739191U (en) | Desk with retractable charging reading lamp | |
| CN204378313U (en) | A kind of extended type retractable foldable table | |
| CN204378312U (en) | A kind of retractable foldable table | |
| CN204378317U (en) | A kind of folding square table | |
| CN202653635U (en) | Outdoor multi-functional stool | |
| CN204378314U (en) | A kind of foldable round table | |
| CN205312133U (en) | Ground mat warp accomodates treasure case | |
| CN202477020U (en) | Telescopic multifunctional stool | |
| CN202774947U (en) | Office table with movable file box and retractable chargeable table lamp |
Legal Events
| Date | Code | Title | Description |
|---|---|---|---|
| C14 | Grant of patent or utility model | ||
| GR01 | Patent grant | ||
| C17 | Cessation of patent right | ||
| CF01 | Termination of patent right due to non-payment of annual fee |
Granted publication date: 20130109 Termination date: 20130611 |
