CN202646736U - Body seal - Google Patents

Body seal Download PDF

Info

Publication number
CN202646736U
CN202646736U CN201220220735.1U CN201220220735U CN202646736U CN 202646736 U CN202646736 U CN 202646736U CN 201220220735 U CN201220220735 U CN 201220220735U CN 202646736 U CN202646736 U CN 202646736U
Authority
CN
China
Prior art keywords
valve body
valve
port
sealing device
joint
Prior art date
Legal status (The legal status is an assumption and is not a legal conclusion. Google has not performed a legal analysis and makes no representation as to the accuracy of the status listed.)
Expired - Fee Related
Application number
CN201220220735.1U
Other languages
Chinese (zh)
Inventor
冼志健
梁勤奋
Current Assignee (The listed assignees may be inaccurate. Google has not performed a legal analysis and makes no representation or warranty as to the accuracy of the list.)
TCL Air Conditioner Zhongshan Co Ltd
Original Assignee
TCL Air Conditioner Zhongshan Co Ltd
Priority date (The priority date is an assumption and is not a legal conclusion. Google has not performed a legal analysis and makes no representation as to the accuracy of the date listed.)
Filing date
Publication date
Application filed by TCL Air Conditioner Zhongshan Co Ltd filed Critical TCL Air Conditioner Zhongshan Co Ltd
Priority to CN201220220735.1U priority Critical patent/CN202646736U/en
Application granted granted Critical
Publication of CN202646736U publication Critical patent/CN202646736U/en
Anticipated expiration legal-status Critical
Expired - Fee Related legal-status Critical Current

Links

Images

Landscapes

  • Lift Valve (AREA)

Abstract

本实用新型公开了一种阀体密封装置,包括阀体、阀腔、在所述阀腔内滑动的阀芯,所述阀体的一个端口与带喇叭口的连接管连接,所述阀体的端口设有锥形接头,所述锥形接头与所述连接管的喇叭口相适配,在所述喇叭口与所述锥形接头外套接有密封帽,在所述锥形接头与所述喇叭口间设置有锥形垫圈。本实用新型改良现有空调连接方式和阀体的密封装置,在连接管喇叭口与锥形接头间增设锥形垫圈,在截止阀螺母盖上增加安装一个弹簧和圆形的垫片,通过多种途径有效防止冷媒的泄漏。

Figure 201220220735

The utility model discloses a valve body sealing device, including a valve body, a valve cavity, and a valve core sliding in the valve cavity. One port of the valve body is connected to a connecting pipe with a bell mouth. The port of the valve body is provided with a conical joint, and the conical joint is adapted to the bell mouth of the connecting pipe. A sealing cap is connected between the bell mouth and the conical joint, and a conical gasket is provided between the conical joint and the bell mouth. The utility model improves the existing air conditioning connection method and valve body sealing device, adds a conical gasket between the bell mouth of the connecting pipe and the conical joint, and adds a spring and a circular gasket to the stop valve nut cover, so as to effectively prevent the leakage of the refrigerant through multiple ways.

Figure 201220220735

Description

Valve body sealing device
Technical field
The utility model relates to the air conditioner technical field, specifically, relates to a kind of valve body sealing device that is applied on the air conditioner.
Background technique
As everyone knows, stop valve is one of parts commonly used on the air conditioner, usually uses at outdoor unit, valve body has three ports, two port connecting tubes wherein, another port are realized the sealing of body cavity with O shape rubber seal, nut cap, prevent the leakage of refrigeration agent.At present, along with expanding economy and Global Temperature warm day by day, domestic air conditioning is more and more universal, and still, general air-conditioning fluorine will occur lacking and cause the bad phenomenon of freezing after using one or two years, must could recover refrigeration by the Refilling refrigerant.Cause the reason that air-conditioning leaks fluorine to be mostly that there is slowly leakage in air-conditioning, mainly occurs in the bell-mouthed joint of outdoor unit stop valve and connecting tube.Referring to Fig. 1, a kind of existing stop valve structure schematic diagram.Two ports of stop valve are connecting copper pipe 18, connecting tube 15 respectively, connecting tube horn mouth 151 directly is connected with taper joint 17, be tightened on by hexagon nut 14 on the valve port of valve body 19, if the connecting tube bend pipe occurs, trickle slit, joint then easily appears in the docking situation such as not in place, causes refrigerant to leak slowly.Then only be screwed on the valve port screw thread with nut cap 12 in the another port, because the machining accuracy of screw thread is not high, between the screw thread interlock not rigorous, equally easily cause refrigerant to leak slowly, gently then need irregularly to add refrigeration agent, heavy then need to change stop valve, but stop valve changed, just need first outdoor unit is pulled down, weld again, again vacuumize and inject a series of activities such as refrigeration agent, waste time and energy very much, and floor is higher, the outdoor unit dismounting is abnormally dangerous.Air conditioner coolant is generally R22 at present, coolant leakage can destroy atmospheric layer, destroys earth environment, and maintenance to fill the fluorine expense higher, bring the loss of money and greatly inconvenience to air conditioner user, therefore design and a kind ofly can prevent that valve body sealing device that air-conditioning leaks slowly highly significant.
The model utility content
The utility model provides a kind of sealability better valve body sealing device in order to overcome above-mentioned the deficiencies in the prior art.
The technical solution adopted in the utility model is: valve body sealing device, comprise valve body, valve pocket, the spool that in described valve pocket, slides, a port of described valve body is connected with being with bell-mouthed connecting tube, the port of described valve body is provided with taper joint, the horn mouth of described taper joint and described connecting tube is suitable, outside described horn mouth and described taper joint, be socketed with sealed cap, between described taper joint and described horn mouth, be provided with taper washer.
Described sealed cap is hexagon nut.
Described taper joint is provided with annular boss, and described taper washer is enclosed within on the described annular boss.
Be provided with O shape circle between the inwall of described spool and described valve pocket.
In the described valve body port of nut cap shutoff that is spirally connected near the valve body port of spool side, in described valve body port pad is set, between described pad and described nut cap, spring is set.
Described pad diameter is than the large 1~2mm of described valve body port external diameter.
Compared with prior art, the utlity model has following advantage:
1) seal arrangement of the existing air-conditioning Placement of the utility model improvement and valve body is set up taper washer between connecting tube horn mouth and taper joint, makes sealing between the two more reliable, and long-time use of prevention air-conditioning causes refrigerant to leak slowly.Taper joint design annular boss more is conducive to the installation of taper washer to be fixed.
2) under the sealed cap and the insecure situation of the seal with screwed joint between valve body of existing stop valve, by increasing at the stop valve nut cap spring and circular pad are installed, make pad with sealing valve port, effectively prevent the leakage of refrigerant.
3) high, the convenient maintenance and replacement of the utility model highly versatile, reliability.
Description of drawings
Fig. 1 is existing stop valve structure schematic diagram;
Fig. 2 is valve body sealing device structural representation of the present utility model;
Fig. 3 is that the connecting tube horn mouth of valve body sealing device shown in Figure 2 connects partial enlarged drawing.
Embodiment
Below pass through embodiment, and the utility model is described in further detail by reference to the accompanying drawings.
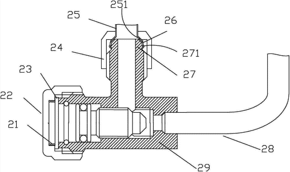
Referring to Fig. 2, Fig. 3, the valve body 29 of stop valve is provided with three ports, and left port is sealed with nut cap 22, right output port connecting copper pipe 28, and upper end-hole is connected with connecting tube 25.Valve pocket is " fall T " shape, in valve pocket, be provided with can horizontal slip spool 31, thereby make " fall T " shape valve pocket realize cut-off and connect two states.Between the inwall of spool and cut-off valve pocket, be provided with O shape circle 30.The end of the upper end-hole of valve body 29 is taper joints 27, and taper joint 27 is suitable with horn mouth 251 shapes of connecting tube 25, tightens sealing by hexagon nut 24.At annular boss 271 of excircle design of the taper joint 27 of stop valve, between the horn mouth 251 of connecting tube 25 and taper joint 27, the taper washer 26 that equates with taper joint 27 taperings is set, thus the sealing of raising stop valve.The effect of annular boss 271 is fixing taper washers 26, prevents that it from coming off.
When connecting tube 25 is installed, taper washer 26 is enclosed within taper joint 27 tops, the root of taper washer 26 overlapped annular boss 271, microcephaly's internal diameter of taper washer 26 is equal to or less than taper joint 27 top external diameters, taper washer 26 is to be formed by corrosion-resistant, resistant to elevated temperatures plastics or rubber manufacturing, and elasticity is better, after taper washer 26 packs into annular boss 271, be subjected to annular boss 271 support large deformation, thereby wrap annular boss 271 and do not come off easily.Then, the horn mouth 251 of connecting tube 25 is placed in outside the taper washer 26, fixes by hexagon nut 24 and the mutual interlock of valve body screw thread, make between connecting tube horn mouth 251 and the taper joint 27 be connected tightr.Taper washer 26 has certain ductility, when connecting tube is installed, even exist connecting tube to be connected the problems such as skew with joint, can not cause the slit occurring between horn mouth 251 and the taper joint 27 yet, simultaneously, also avoided the phenomenon of when hexagon nut 24 is installed, being out of shape because of the excessive horn mouth that causes 251 of exerting oneself.As a kind of improvement, on taper washer 26, also can design an annular tongue, the annular boss 271 of the shape of annular tongue and position and taper joint 27 is adaptive.
The left port of valve body 29 is with nut cap 22 sealings, left port at valve body 29 arranges circular pad 23 shutoff left port, and at nut cap 22 and 23 on pad spring 21 is set, the diameter of pad 23 is slightly than the large 1~2mm of left port external diameter of valve body 29, pad can cover left port fully after guaranteeing to install, and prevents secondary refrigerant leakage.When nut cap after the outside thread of valve body left port is combined, along with tightening of nut cap, spring 21 is tightly pushed down the valve body left port with pad 23, effectively prevents the leakage of refrigerant in the valve body.

Claims (6)

1.阀体密封装置,包括阀体、阀腔、在所述阀腔内滑动的阀芯,所述阀体的一个端口与带喇叭口的连接管连接,所述阀体的端口设有锥形接头,所述锥形接头与所述连接管的喇叭口相适配,其特征在于:在所述喇叭口与所述锥形接头外套接有密封帽,在所述锥形接头与所述喇叭口间设置有锥形垫圈。1. Valve body sealing device, including valve body, valve cavity, valve core sliding in the valve cavity, one port of the valve body is connected with a connecting pipe with bell mouth, and the port of the valve body is provided with a cone Shaped joint, the tapered joint is adapted to the bell mouth of the connecting pipe, and it is characterized in that: a sealing cap is connected outside the bell mouth and the tapered joint, and a sealing cap is connected between the tapered joint and the A tapered washer is arranged between the bell mouths. 2.根据权利要求1所述的阀体密封装置,其特征在于:所述密封帽是六角螺帽。2. The valve body sealing device according to claim 1, wherein the sealing cap is a hexagonal nut. 3.根据权利要求2所述的阀体密封装置,其特征在于:所述锥形接头的根部设有环形凸台,所述锥形垫圈套在所述环形凸台上。3. The valve body sealing device according to claim 2, characterized in that: the root of the tapered joint is provided with an annular boss, and the tapered gasket is sleeved on the annular boss. 4.根据权利要求1所述的阀体密封装置,其特征在于:所述阀芯与所述阀腔的内壁间设有O形圈。4. The valve body sealing device according to claim 1, wherein an O-ring is provided between the valve core and the inner wall of the valve cavity. 5.根据权利要求4所述的阀体密封装置,其特征在于:在靠近阀芯侧的阀体端口上螺接螺母盖封堵所述阀体端口,在阀体端口上设置垫片,在所述垫片与所述螺母盖间设置弹簧。5. The valve body sealing device according to claim 4, characterized in that: a nut cover is screwed on the valve body port close to the valve core side to block the valve body port, a gasket is arranged on the valve body port, and A spring is arranged between the washer and the nut cover. 6.根据权利要求5所述的阀体密封装置,其特征在于:所述垫片直径比所述阀体端口外径大1~2mm。6 . The valve body sealing device according to claim 5 , wherein the diameter of the gasket is 1-2 mm larger than the outer diameter of the valve body port.
CN201220220735.1U 2012-05-16 2012-05-16 Body seal Expired - Fee Related CN202646736U (en)

Priority Applications (1)

Application Number Priority Date Filing Date Title
CN201220220735.1U CN202646736U (en) 2012-05-16 2012-05-16 Body seal

Applications Claiming Priority (1)

Application Number Priority Date Filing Date Title
CN201220220735.1U CN202646736U (en) 2012-05-16 2012-05-16 Body seal

Publications (1)

Publication Number Publication Date
CN202646736U true CN202646736U (en) 2013-01-02

Family

ID=47415845

Family Applications (1)

Application Number Title Priority Date Filing Date
CN201220220735.1U Expired - Fee Related CN202646736U (en) 2012-05-16 2012-05-16 Body seal

Country Status (1)

Country Link
CN (1) CN202646736U (en)

Cited By (2)

* Cited by examiner, † Cited by third party
Publication number Priority date Publication date Assignee Title
WO2019125602A2 (en) 2017-12-21 2019-06-27 Attia Shlomo Device for preventing refrigerant leaks in air conditioning system service ports
US10900603B2 (en) 2017-12-21 2021-01-26 Shlomo Attia Device for preventing refrigerant leaks in air conditioning system service ports

Cited By (3)

* Cited by examiner, † Cited by third party
Publication number Priority date Publication date Assignee Title
WO2019125602A2 (en) 2017-12-21 2019-06-27 Attia Shlomo Device for preventing refrigerant leaks in air conditioning system service ports
US10458590B2 (en) 2017-12-21 2019-10-29 Shlomo Attia Device for preventing refrigerant leaks in air conditioning system service ports
US10900603B2 (en) 2017-12-21 2021-01-26 Shlomo Attia Device for preventing refrigerant leaks in air conditioning system service ports

Similar Documents

Publication Publication Date Title
CN204372183U (en) Pipeline self closing stop valve
CN202646736U (en) Body seal
CN202629383U (en) Air-conditioner double-seal joint
CN2816544Y (en) Low-temperature pipeline jointing joint
CN206513963U (en) Refrigerant connecting pipe assembly and split air conditioner
CN203248874U (en) Self-locking pipe connector
CN202972334U (en) High-sealing quick connection filtering valve
CN204554171U (en) A kind of hand-wring type butt joint
CN205278627U (en) Soft joint of rubber
CN204554164U (en) A kind of low voltage experiment machine butt joint
CN203686423U (en) Sealed type straight pipe barb fitting
CN205424169U (en) Pipeline structure is connected to leak protection type
CN205065092U (en) Connection structure of air conditioner pipeline and condenser
CN204554169U (en) A kind of butt joint
CN203533055U (en) Clamping and pressing type tee-joint pipe fitting applied to pipeline connection at tail end of ceiling radiation air conditioner
CN206054989U (en) A kind of weldering of exempting from of water-storing device passes in and out water swivel
CN203628127U (en) Press-fitting type reducing connecting pipe fitting
CN205001719U (en) Cutting sleeve type three -way joint
CN203248878U (en) Self-locking corrugated pipe fitting
CN204512707U (en) Self-packing pipe coupling
CN218063777U (en) Elastic sealing metal ferrule type pipe joint
CN217153397U (en) Pipeline leak protection device is used in air conditioner installation
CN202868126U (en) Hot-and-cold water integrated water pipe
CN204493945U (en) A kind of novel combination type outlet(discharge) flange
CN203322542U (en) Pipe joint for refrigerating device

Legal Events

Date Code Title Description
C14 Grant of patent or utility model
GR01 Patent grant
CF01 Termination of patent right due to non-payment of annual fee
CF01 Termination of patent right due to non-payment of annual fee

Granted publication date: 20130102

Termination date: 20170516