CN202644569U - Assembling basement of concrete prefabricated tower footing - Google Patents
Assembling basement of concrete prefabricated tower footing Download PDFInfo
- Publication number
- CN202644569U CN202644569U CN 201220327900 CN201220327900U CN202644569U CN 202644569 U CN202644569 U CN 202644569U CN 201220327900 CN201220327900 CN 201220327900 CN 201220327900 U CN201220327900 U CN 201220327900U CN 202644569 U CN202644569 U CN 202644569U
- Authority
- CN
- China
- Prior art keywords
- transition
- spare
- piece
- concrete
- face
- Prior art date
- Legal status (The legal status is an assumption and is not a legal conclusion. Google has not performed a legal analysis and makes no representation as to the accuracy of the status listed.)
- Expired - Fee Related
Links
- 239000004567 concrete Substances 0.000 title claims abstract description 37
- 230000007704 transition Effects 0.000 claims abstract description 67
- 239000011150 reinforced concrete Substances 0.000 claims abstract description 5
- 238000009434 installation Methods 0.000 claims description 6
- 239000002699 waste material Substances 0.000 abstract description 5
- 230000008901 benefit Effects 0.000 abstract description 4
- 238000004519 manufacturing process Methods 0.000 abstract description 3
- 238000003912 environmental pollution Methods 0.000 abstract 2
- 229910000831 Steel Inorganic materials 0.000 description 2
- 238000010923 batch production Methods 0.000 description 2
- 239000010959 steel Substances 0.000 description 2
- 238000010276 construction Methods 0.000 description 1
- 230000002950 deficient Effects 0.000 description 1
- 238000005516 engineering process Methods 0.000 description 1
- 238000011065 in-situ storage Methods 0.000 description 1
- 230000032258 transport Effects 0.000 description 1
Images
Landscapes
- On-Site Construction Work That Accompanies The Preparation And Application Of Concrete (AREA)
Abstract
The utility model relates to an assembling basement of a concrete prefabricated tower footing. The assembling basement of the concrete prefabricated tower footing can effectively solve the problems of waste of resources, environmental pollution and potential safety hazard of a traditional basement of a tower footing wastes resources. The technical scheme includes that the assembling basement of the concrete prefabricated tower footing comprises a center piece, transition pieces and terminal pieces. The center piece, the transition pieces and the terminal pieces of different shapes are prefabricated by reinforced concrete and form an integrated structure, wherein a plane of the integrated structure is a square, a vertical cross section of the integrated structure is of an inverted T shape, the number of the center piece is one, the center piece is cross-shaped, the number of each of first transition pieces, second transition pieces and the terminal pieces is four, four terminal surfaces of the center piece are respectively connected with the first transition pieces, each first transition piece is connected with each second transition piece, and each the second transition piece is connected with each terminal piece. The assembling basement of the concrete prefabricated tower footing is stable in integral structure, safe and reliable, convenient and fast to disassemble, assemble and transport, and capable of being in factory production, saving large amount of manpower and financial resources, eliminating environmental pollution of concrete waste, and having good social and economic benefits.
Description
Technical field
The utility model relates to and is used for a kind of concrete prefabricated column foot assembly unit basis fixing, that pillar crane is installed in the technical field of buildings.
Background technology
The tower crane foundation that uses both at home and abroad at present adopts the cast-in-situ steel reinforced concrete basis, mostly because structural problem, every use once will be watered and smash, removes once, both cause the significant wastage of resource, economy, building waste after the dismounting pollutes again surrounding environment, occupies cultivated land; If be embedded in undergroundly, will cause to the urban construction in future artificial pollution and potential safety hazard.
Summary of the invention
For above-mentioned situation, for overcoming the defective of prior art, the purpose of the utility model just provides a kind of concrete prefabricated column foot assembly unit basis, can effectively solve the problem of conventional tower base basis waste resource and pollution on the environment and potential safety hazard.
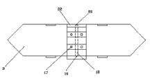
The technical scheme that the utility model solves is, comprise central part, transition piece and extremity piece, by the difform central part of reinforced concrete prefabricated one-tenth, First Transition spare, the second transition piece, it is square that extremity piece forms the plane, vertical cross-section is inverse-T-shaped integrative-structure, wherein, central part has 1, be cross, First Transition spare, the second transition piece and extremity piece all have 4,4 end faces of central part are that the end face at trapezoidal place, the short base of First Transition spare links to each other with the plane respectively, an end face at the place, long base of each First Transition spare is that the end face at place, the long limit of hexagonal the second transition piece links to each other with the plane respectively, and the end face at place, the long limit of another of each the second transition piece and plane are that the end face at the extremity piece hypotenuse place of right-angled triangle links to each other.
The utility model novel structure is unique, advantages of simple, overall structure is firm, safe and reliable, but batch production production is dismantled, installs, transports simple and efficient, realized that once input, Reusability and " base " are multiplex, saved a large amount of manpowers, financial resources, also eliminated the pollution of concrete debris to environment, good society and economic benefit have been arranged.
Description of drawings
Fig. 1 is structure top view of the present utility model.
Fig. 2 is central part structural front view of the present utility model.
Fig. 3 is central part structure sectional view of the present utility model.
Fig. 4 is central part structure top view of the present utility model.
Fig. 5 is First Transition spare structural front view of the present utility model.
Fig. 6 is First Transition spare structure left view of the present utility model.
Fig. 7 is First Transition spare structure top view of the present utility model.
Fig. 8 is the second transition piece structural front view of the present utility model.
Fig. 9 is the second transition piece structure left view of the present utility model.
Figure 10 is the second transition piece structure top view of the present utility model.
Figure 11 is the structural front view of extremity piece of the present utility model.
Figure 12 is the structure left view of extremity piece of the present utility model.
Figure 13 is the structure top view of extremity piece of the present utility model.
Figure 14 is the structure top view of counterweight of the present utility model.
The specific embodiment
Below in conjunction with accompanying drawing the specific embodiment of the present utility model is described in further detail.
Provided by Fig. 1 to Figure 14, comprise central part, transition piece and extremity piece, by the difform central part 1 of reinforced concrete prefabricated one-tenth, First Transition spare 2, the second transition piece 3, it is square that extremity piece 4 forms the plane, vertical cross-section is inverse-T-shaped integrative-structure, wherein, central part has 1, be cross, First Transition spare, the second transition piece and extremity piece all have 4,4 end faces of central part 1 are that the end face at trapezoidal place, First Transition spare 2 short base links to each other with the plane respectively, an end face at the place, long base of each First Transition spare 2 is that the end face at place, the long limit of hexagonal the second transition piece 3 links to each other with the plane respectively, and the end face at another place, long limit of each the second transition piece 3 and plane are that the end face at the extremity piece 4 hypotenuse places of right-angled triangle links to each other.
In order to guarantee result of use, there is respectively one group on described central part 1 upper and lower and is the first cross-shaped prestress hole 6, the first location shear connector 7 of 2 spills and the first anti-shear concrete spare 8 of 1 spill are arranged respectively on 4 end faces of central part 1, hole for hoist 9 is arranged on the central part 1.
Described First Transition spare 2 vertical cross-sections are inverse-T-shaped, be evenly equipped with 4 the first anchor (bolt) holes 10 on the First Transition spare 2, there is respectively second prestress hole 11 corresponding with the first prestress hole 6 upper and lower of First Transition spare 2, first anchor bolt installation hole 28 vertical with the second prestress hole 11 arranged on the First Transition spare 2, have on the end face at the place, short base of First Transition spare 22 convexs corresponding with the first location shear connector 7 the second location shear connector 12 and with the second anti-shear concrete spare 14 of the corresponding convex of the first anti-shear concrete spare 8, the 3rd location shear connector 13 of 2 spills and the 3rd anti-shear concrete spare 15 of several spills are arranged on the end face at the place, long base of First Transition spare 2, two symmetrical the first counterweight Pressure-bearing pads 16 are arranged on the First Transition spare 2.
Described the second transition piece 3 vertical cross-sections are inverse-T-shaped, be evenly equipped with 4 the second anchor (bolt) holes 17 on the second transition piece 3, there is respectively three prestress hole 18 corresponding with the second prestress hole 11 upper and lower of the second transition piece 3, second anchor bolt installation hole 29 vertical with the 3rd prestress hole 18 arranged on the second transition piece 3, have on the end face at place, the long limit of the hexagon of the second transition piece 32 convexs corresponding with the 3rd location shear connector 13 the 4th location shear connector 19 and with the end face at another place, long limit of hexagon of the 4th anti-shear concrete spare 21, the second transition pieces 3 of corresponding several convexs of the 3rd anti-shear concrete spare 15 on the 5th location shear connector 20 of 2 spills and the 5th anti-shear concrete spare 22 of several spills are arranged.
Described extremity piece 4 planes are equilateral right-angled triangle, vertical cross-section is inverse-T-shaped, be evenly equipped with 4 the 3rd anchor (bolt) holes 23 on the extremity piece 4, there is respectively four prestress hole 24 corresponding with the 3rd prestress hole 18 upper and lower of extremity piece 4, three anchor bolt installation hole 30 vertical with the 4th prestress hole 24 arranged on the extremity piece 4, have on the end face at the hypotenuse place of extremity piece 42 convexs corresponding with the 5th location shear connector 20 the 6th location shear connector 25 and with the 6th anti-shear concrete spare 26 of corresponding several convexs of the 5th anti-shear concrete spare 22, symmetrical two second counterweight Pressure-bearing pads 27 corresponding with the first counterweight Pressure-bearing pads 16 are arranged on the extremity piece 4.
On described the first counterweight Pressure-bearing pads 16 counterweight 5 is housed, its counterweight 5 is isosceles trapezoid for the plane, and vertical cross-section is rectangle, and 4 holes for hoist 31 are arranged on the counterweight 5.
Be equipped with on described the second counterweight Pressure-bearing pads 27 with the first counterweight Pressure-bearing pads 16 on identical counterweight.
When the utility model uses, after the prefabricated component combination, adopting high-strength underrelaxation steel strand corresponding prestress hole on each parts to carry out prestressed stretch-draw connects, and by corresponding location shear connector and corresponding concrete shear key Transfer of Shear, form prefabricated column foot assembly unit basis, can place counterweight 5 at the counterweight bearing plate as required and improve anchorage of the present utility model and antitorque moment, if the connector (patent No.: 201120299285.5) it is installed on the some groups of suitable anchor (bolt) holes in conjunction with pillar crane, thereby the groined type column foot that satisfies model commonly used on the engineering is installed, if do not adopt the connector of pillar crane, can pressing plate be installed at suitable lower margin anchor (bolt) hole, thereby the cross tower machine that satisfies model commonly used on the engineering is installed.
The utility model novel structure is unique, overall structure is firm, safe and reliable, but batch production production, dismounting, install, transportation is simple and efficient, realized that once input, Reusability and " base " are multiplex, saved a large amount of manpowers, financial resources, also eliminated the pollution of concrete debris to environment, good society and economic benefit have been arranged.
Claims (7)
1. a concrete prefabricated column foot assembly unit is basic, comprise central part, transition piece and extremity piece, it is characterized in that, by the difform central part of reinforced concrete prefabricated one-tenth (1), First Transition spare (2), the second transition piece (3), it is square that extremity piece (4) forms the plane, vertical cross-section is inverse-T-shaped integrative-structure, wherein, central part has 1, be cross, First Transition spare, the second transition piece and extremity piece all have 4,4 end faces of central part (1) are that the end face at trapezoidal place, the short base of First Transition spare (2) links to each other with the plane respectively, an end face at the place, long base of each First Transition spare (2) is that the end face at place, the long limit of hexagonal the second transition piece (3) links to each other with the plane respectively, and the end face at another place, long limit of each the second transition piece (3) and plane are that the end face at extremity piece (4) the hypotenuse place of right-angled triangle links to each other.
2. concrete prefabricated column foot assembly unit according to claim 1 is basic, it is characterized in that, there is respectively one group on described central part (1) upper and lower and is cross-shaped the first prestress hole (6), the first location shear connector (7) of 2 spills and the first anti-shear concrete spare (8) of 1 spill are arranged respectively on 4 end faces of central part (1), hole for hoist (9) is arranged on the central part ⑴.
3. concrete prefabricated column foot assembly unit according to claim 1 is basic, it is characterized in that, described First Transition spare (2) vertical cross-section is inverse-T-shaped, be evenly equipped with 4 the first anchor (bolt) holes (10) on the First Transition spare (2), there is respectively second prestress hole (11) corresponding with the first prestress hole (6) upper and lower of First Transition spare (2), first anchor bolt installation hole (28) vertical with the second prestress hole (11) arranged on the First Transition spare (2), have on the end face at the place, short base of First Transition spare (2) with the second location shear connector (12) of corresponding 2 convexs of the first location shear connector (7) and with the second anti-shear concrete spare (14) of the corresponding convex of the first anti-shear concrete spare (8), the 3rd location shear connector (13) of 2 spills and the 3rd anti-shear concrete spare (15) of several spills are arranged on the end face at the place, long base of First Transition spare (2), two symmetrical the first counterweight Pressure-bearing pads (16) are arranged on the First Transition spare (2).
4. concrete prefabricated column foot assembly unit according to claim 1 is basic, it is characterized in that, described the second transition piece (3) vertical cross-section is inverse-T-shaped, be evenly equipped with 4 the second anchor (bolt) holes (17) on the second transition piece (3), there is respectively three prestress hole (18) corresponding with the second prestress hole (11) upper and lower of the second transition piece (3), second anchor bolt installation hole (29) vertical with the 3rd prestress hole (18) arranged on the second transition piece (3), have on the end face at place, the long limit of the hexagon of the second transition piece (3) 2 convexs corresponding with the 3rd location shear connector (13) the 4th location shear connector (19) and with the 4th anti-shear concrete spare (21) of corresponding several convexs of the 3rd anti-shear concrete spare (15), the 5th location shear connector (20) of 2 spills and the 5th anti-shear concrete spare (22) of several spills are arranged on the end face at another place, long limit of the hexagon of the second transition piece (3).
5. concrete prefabricated column foot assembly unit according to claim 1 is basic, it is characterized in that, described extremity piece (4) plane is equilateral right-angled triangle, vertical cross-section is inverse-T-shaped, be evenly equipped with 4 the 3rd anchor (bolt) holes (23) on the extremity piece (4), there is respectively four prestress hole (24) corresponding with the 3rd prestress hole (18) upper and lower of extremity piece (4), three anchor bolt installation hole (30) vertical with the 4th prestress hole (24) arranged on the extremity piece (4), have on the end face at the hypotenuse place of extremity piece (4) with the 6th location shear connector (25) of corresponding 2 convexs of the 5th location shear connector (20) and with the 6th anti-shear concrete spare (26) of corresponding several convexs of the 5th anti-shear concrete spare (22), two symmetrical second counterweight Pressure-bearing pads (27) corresponding with the first counterweight Pressure-bearing pads (16) are arranged on the extremity piece (4).
6. concrete prefabricated column foot assembly unit according to claim 3 is basic, it is characterized in that, on described the first counterweight Pressure-bearing pads (16) counterweight (5) is housed, its counterweight (5) is isosceles trapezoid for the plane, vertical cross-section is rectangle, and 4 holes for hoist (31) are arranged on the counterweight (5).
7. concrete prefabricated column foot assembly unit according to claim 5 is basic, it is characterized in that, is equipped with on described the second counterweight Pressure-bearing pads (27) and the upper identical counterweight of the first counterweight Pressure-bearing pads (16).
Priority Applications (1)
| Application Number | Priority Date | Filing Date | Title |
|---|---|---|---|
| CN 201220327900 CN202644569U (en) | 2012-07-09 | 2012-07-09 | Assembling basement of concrete prefabricated tower footing |
Applications Claiming Priority (1)
| Application Number | Priority Date | Filing Date | Title |
|---|---|---|---|
| CN 201220327900 CN202644569U (en) | 2012-07-09 | 2012-07-09 | Assembling basement of concrete prefabricated tower footing |
Publications (1)
| Publication Number | Publication Date |
|---|---|
| CN202644569U true CN202644569U (en) | 2013-01-02 |
Family
ID=47413697
Family Applications (1)
| Application Number | Title | Priority Date | Filing Date |
|---|---|---|---|
| CN 201220327900 Expired - Fee Related CN202644569U (en) | 2012-07-09 | 2012-07-09 | Assembling basement of concrete prefabricated tower footing |
Country Status (1)
| Country | Link |
|---|---|
| CN (1) | CN202644569U (en) |
Cited By (1)
| Publication number | Priority date | Publication date | Assignee | Title |
|---|---|---|---|---|
| CN112900475A (en) * | 2021-03-25 | 2021-06-04 | 中冶京诚工程技术有限公司 | Concrete prefabricated assembling tower crane foundation structure and laying method thereof |
-
2012
- 2012-07-09 CN CN 201220327900 patent/CN202644569U/en not_active Expired - Fee Related
Cited By (1)
| Publication number | Priority date | Publication date | Assignee | Title |
|---|---|---|---|---|
| CN112900475A (en) * | 2021-03-25 | 2021-06-04 | 中冶京诚工程技术有限公司 | Concrete prefabricated assembling tower crane foundation structure and laying method thereof |
Similar Documents
| Publication | Publication Date | Title |
|---|---|---|
| CN105239720A (en) | Prefabricated assembled steel-concrete composite beam connected by adopting high-strength bolt | |
| CN205242848U (en) | Adopt prefabricated assembled steel - concrete combination beam of high strength bolt connection | |
| CN203924364U (en) | The prestressing force assembling frame structure node syndeton of additional angle steel | |
| CN202338066U (en) | Large-span pre-stressed concrete double-T superimposed sheet | |
| CN203222917U (en) | Novel archaistic slope roof of net rack structure | |
| CN203247868U (en) | Large-span steel structure construction temporary supporting frame | |
| CN102041785B (en) | Pier steel-concrete composite structure column beam | |
| CN202644569U (en) | Assembling basement of concrete prefabricated tower footing | |
| CN205077352U (en) | Novel anti -shearing concrete road surface of rapid Assembly formula | |
| CN203229963U (en) | Concrete precast and assembled multipurpose tower crane foundation | |
| CN202164620U (en) | Positioning vertical connecting structure for underframe beam of tower machine | |
| CN109972629A (en) | A kind of assembled triangle girder truss steel structure support and combinations thereof key | |
| CN203593526U (en) | Movable type hoisting device | |
| CN209523212U (en) | Assembled independent foundation | |
| CN203145040U (en) | Prefabricated slab iron tower foundation convenient to disassemble and transport | |
| CN207003465U (en) | A kind of detachable prefabricated steel body tower crane | |
| CN205875779U (en) | Prestressed carbon fiber plate stiff end steel base with turn to device | |
| CN216075723U (en) | Connector convenient to connect assembled composite wall | |
| CN201473965U (en) | End part connecting piece of prefabricated assembling type concrete base used for tower crane | |
| CN204356793U (en) | A kind of assembling hollow reinforced concrete independent foundation | |
| CN102251536A (en) | Vertical positioning connecting structure of base frame of tower mast type mechanical equipment | |
| CN103541434B (en) | The complete cross Combined concrete node of assembled | |
| CN203498852U (en) | Vertical connecting structure of tower crane chassis and foundation | |
| CN202247932U (en) | Vertical positioning and connecting structure of tower crane underframe beam | |
| CN201865058U (en) | Embracing column beam with pier steel-concrete composite structure |
Legal Events
| Date | Code | Title | Description |
|---|---|---|---|
| C14 | Grant of patent or utility model | ||
| GR01 | Patent grant | ||
| CF01 | Termination of patent right due to non-payment of annual fee |
Granted publication date: 20130102 Termination date: 20150709 |
|
| EXPY | Termination of patent right or utility model |