CN202636357U - Miniature garden rack - Google Patents
Miniature garden rack Download PDFInfo
- Publication number
- CN202636357U CN202636357U CN 201220332604 CN201220332604U CN202636357U CN 202636357 U CN202636357 U CN 202636357U CN 201220332604 CN201220332604 CN 201220332604 CN 201220332604 U CN201220332604 U CN 201220332604U CN 202636357 U CN202636357 U CN 202636357U
- Authority
- CN
- China
- Prior art keywords
- tray
- nut
- bonsai
- screw mandrel
- motor
- Prior art date
- Legal status (The legal status is an assumption and is not a legal conclusion. Google has not performed a legal analysis and makes no representation as to the accuracy of the status listed.)
- Expired - Fee Related
Links
- 241001122767 Theaceae Species 0.000 description 2
- 238000005034 decoration Methods 0.000 description 1
- 230000006866 deterioration Effects 0.000 description 1
- 230000000694 effects Effects 0.000 description 1
- 239000002356 single layer Substances 0.000 description 1
Images
Landscapes
- Cultivation Receptacles Or Flower-Pots, Or Pots For Seedlings (AREA)
Abstract
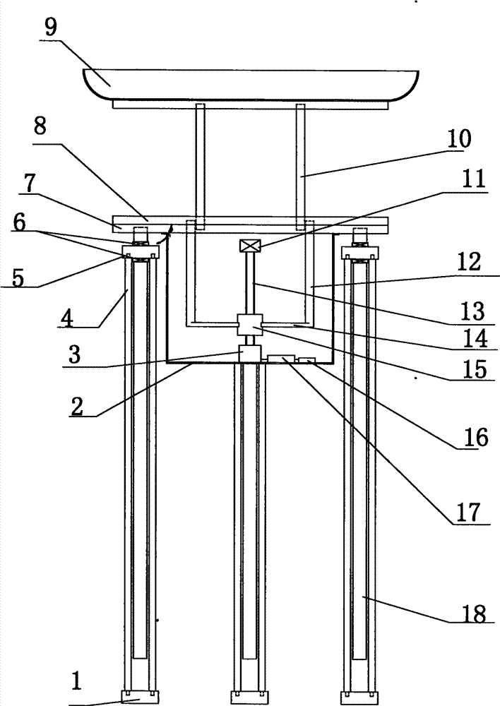
本实用新型公开的盆景架,包括三根以上的可升降的架脚和托盘,托盘包括用三根支撑杆连接上托盘和下托盘;上托盘和下托盘之间还设有可升降的中托盘,中托盘下方的短支撑杆穿过下托盘上的孔后固定连接在丝杆-螺母副的大螺母上,丝杆的上端设止推螺母,丝杆的下端连接电机。该实用新型的整体高度可调,而且在上托盘和下托盘之间增设的可升降的中托盘,这样可以收纳更多的小件物品,具有调整方便,适用性好的优点。
The bonsai stand disclosed by the utility model includes more than three liftable legs and a tray, and the tray includes an upper tray and a lower tray connected by three support rods; a liftable middle tray is also arranged between the upper tray and the lower tray, and the middle tray The short support rod below the pallet passes through the hole on the lower pallet and is fixedly connected to the large nut of the screw mandrel-nut pair. The upper end of the screw mandrel is provided with a thrust nut, and the lower end of the screw mandrel is connected to the motor. The overall height of the utility model is adjustable, and a liftable middle tray is added between the upper tray and the lower tray, so that more small items can be accommodated, and the utility model has the advantages of convenient adjustment and good applicability.
Description
技术领域 technical field
本实用新型涉及一种家具,特别是一种盆景架。The utility model relates to a kind of furniture, in particular to a bonsai stand.
技术背景 technical background
现如今,家庭装修日趋现代化,家用电器种类繁多,在丰富生活的同时也带来有室内空气环境的恶化和众多开关遥控器增多而无处放置,常常出现用时找不着的情况。以电视机的使用为例,几乎每个人都有跪在地板上到沙发底下找遥控器的经历。平时虽然有电视柜,但是电视柜太矮或者放在抽屉里,取用并不方便。家中的有小盆景,如果放在茶几上,会大大影响了茶几的使用,放在盆景架上,但是普通盆景架都是单层的,只能放一个盆景,而且高度一般都是固定的,很难与使用人的身高或者其他家具的高度相协调。即使有些高度可调盆景架在具体使用时,调整也很麻烦。Nowadays, home decoration is becoming more and more modern, and there are many kinds of household appliances. While enriching life, it also brings about the deterioration of indoor air environment and the increase of many switches and remote controls with nowhere to place them. Take the use of TV as an example, almost everyone has the experience of kneeling on the floor and looking for the remote control under the sofa. Although there is a TV cabinet at ordinary times, the TV cabinet is too short or placed in a drawer, so it is not convenient to access. There are small bonsai at home, if placed on the tea table, it will greatly affect the use of the tea table, put it on the bonsai stand, but ordinary bonsai stands are single-layer, only one bonsai can be placed, and the height is generally fixed, It is difficult to coordinate with the height of the user or the height of other furniture. Even if some height-adjustable bonsai stands are used in practice, the adjustment is very troublesome.
发明内容 Contents of the invention
本实用新型对现有技术中存在的盆景架高度不可调和盆景架收纳功能不足的问题,提供了一种新的盆景架。The utility model provides a new bonsai frame for the problems in the prior art that the height of the bonsai frame cannot be adjusted and the storage function of the bonsai frame is insufficient.
本实用新型的目的是这样实现的:The purpose of this utility model is achieved in that:
一种盆景架,包括三根以上的可升降的架脚和托盘,所述托盘包括用支撑杆连接上托盘和下托盘;所述的上托盘和下托盘之间还设有可升降的中托盘,所述的中托盘下方的短支撑杆穿过下托盘上的孔后固定连接在丝杆-螺母副的大螺母上,丝杆的上端设止推螺母,丝杆的下端连接电机。该实用新型通过调整可升降的架脚来改变盆景架的整体高度。在上托盘和下托盘之间增设的可升降的中托盘可以使目前常见的单一托盘或者两个托盘的基础是增加了中托盘,这样可以收纳更多的小件物品。A bonsai stand, comprising more than three liftable legs and a tray, the tray includes an upper tray and a lower tray connected by support rods; a liftable middle tray is also arranged between the upper tray and the lower tray, The short support rod below the middle tray passes through the hole on the lower tray and is fixedly connected to the large nut of the screw-nut pair. The upper end of the screw rod is provided with a thrust nut, and the lower end of the screw rod is connected to a motor. The utility model changes the overall height of the bonsai stand by adjusting the liftable stand legs. The liftable middle tray added between the upper tray and the lower tray can make the current common single tray or two trays based on the addition of the middle tray, which can accommodate more small items.
作为优选,一种盆景架,所述所述架脚包括定位连接于上支撑座和下支撑座之间的两根长支撑杆,所述的上支撑座中部带圆孔并穿有一长丝杆,所述的长丝杆的上端与下托盘相连接,所述的长丝杆上还设有相隔在上支撑座两侧的上螺母和下螺母,长丝杆的下端悬空。通过相隔在上支撑座两侧的上螺母和下螺母的交替松紧即可实现长丝杆由上支撑座和下支撑座以及两根长支撑杆组成的框架内升降,因为长丝杆下端悬空,上端又与下托盘相连接,所以托盘随长丝杆而升降。Preferably, a bonsai stand, the said stand includes two long support rods positioned and connected between the upper support base and the lower support base, the middle part of the upper support base has a round hole and a long threaded rod , the upper end of the long threaded rod is connected to the lower tray, the long threaded rod is also provided with an upper nut and a lower nut separated on both sides of the upper support base, and the lower end of the long threaded rod is suspended in the air. By alternately tightening the upper nut and the lower nut on both sides of the upper support seat, the filament rod can be lifted and lowered in the frame composed of the upper support seat, the lower support seat and two long support rods, because the lower end of the filament rod is suspended, The upper end is connected with the lower tray, so the tray rises and falls with the long wire rod.
作为优选,一种盆景架,所述的电机为小功率直流电机,并与电源和遥控接收器相连接。因为中托架的升降是由小功率直流电机驱动的,采用无线遥控方式,可以方便的实现中托盘在上托盘和下托盘间的升降。As a preferred aspect of the bonsai stand, the motor is a low-power DC motor connected to a power supply and a remote control receiver. Because the lifting of the middle tray is driven by a low-power DC motor, the middle tray can be easily lifted between the upper tray and the lower tray by using wireless remote control.
作为优选,一种盆景架,所述的短支撑杆有四根,并通过中间杆连接到大螺母上成一体。因该大螺母是丝杆-螺母副的一部分,所以在电机的驱动下,丝杆的转动驱动短支撑杆随之升降。As a preferred aspect of a bonsai stand, there are four short support rods, which are connected to the large nuts through intermediate rods to form a whole. Because the big nut is a part of the screw mandrel-nut pair, so under the drive of the motor, the rotation of the screw mandrel drives the short support rod to rise and fall thereupon.
作为优选,一种盆景架,所述的电机置于圆柱形的支撑罩内,所述的支撑罩的上开口边沿定位连接在下托盘的下端面。支撑罩将中托盘的驱动电机罩住,达到了防尘和美观的目的。Preferably, in the bonsai stand, the motor is placed in a cylindrical support cover, and the upper opening edge of the support cover is positioned and connected to the lower end surface of the lower tray. The support cover covers the drive motor of the middle tray, achieving the purpose of dustproof and beautiful appearance.
因此,本实用新型具有结构紧凑、调节方便,使用功能多样的特点。Therefore, the utility model has the characteristics of compact structure, convenient adjustment and various functions.
附图说明 Description of drawings
图1是本实用新型的主视图;Fig. 1 is the front view of the utility model;
图2是图1的左视图Figure 2 is the left side view of Figure 1
图3是图1的俯视图Figure 3 is a top view of Figure 1
图中:1、下支撑座,2、支撑罩,3、电机,4、长支撑杆,5、上支撑座,6、调整螺母,7、下托盘,8、中托盘,9、上托盘,10、支撑杆,11、止推螺母,12、短支撑杆,13、丝杆,14、中间杆,15、大螺母,16、电源,17、遥控接收器,18、长丝杆。In the figure: 1. Lower support seat, 2. Support cover, 3. Motor, 4. Long support rod, 5. Upper support seat, 6. Adjusting nut, 7. Lower tray, 8. Middle tray, 9. Upper tray, 10, support rod, 11, thrust nut, 12, short support rod, 13, screw mandrel, 14, middle rod, 15, large nut, 16, power supply, 17, remote control receiver, 18, long screw mandrel.
具体实施例 specific embodiment
下面通过实施例,并结合图1至图3,,对本实用新型的技术方案作进一步具体的说明。The technical solutions of the present utility model will be further described in detail through the embodiments below in conjunction with Fig. 1 to Fig. 3 .
实施例1:一种盆景架,包括三根均布的可升降的架脚和托盘,包括用四根均布的支撑杆10连接上托盘9和下托盘7;所述的上托盘9和下托盘7之间还设有可升降的中托盘8,所述的中托盘8下方的四根短支撑杆12穿过下托盘7上的孔后,并通过中间杆14固定连接在丝杆-螺母副的大螺母15上,丝杆13的上端设止推螺母11,作为限位,丝杆的下端连接直流电机3。直流电机3为小功率直流电机,并与电源16和遥控接收器17相连接。架脚包括定位连接于上支撑座5和下支撑座1之间的两根长支撑杆4,所述的上支撑座5中部带圆孔并穿有一长丝杆18,所述的长丝杆18的上端与下托盘7相连接,所述的长丝杆18上还设有相隔在上支撑座5两侧的调整螺母6,长丝杆18的下端悬空。Embodiment 1: a bonsai frame, including three evenly distributed liftable feet and a tray, including connecting the
该实施例先松开调整螺母6,将长丝杆18向上提,就可以使架脚变高,来改变盆景架的整体高度。在上托盘和下托盘之间增设的无线遥控可升降的中托盘可以使目前常见的单一托盘或者两个托盘的基础是增加了中托盘,这样可以收纳更多的小件物品。In this embodiment, the
实施例2:一种盆景架,包括四根均布的可升降的架脚和托盘,包括用四根均布的支撑杆10连接上托盘9和下托盘7;所述的上托盘9和下托盘7之间还设有可升降的中托盘8,所述的中托盘8下方的三根短支撑杆12穿过下托盘7上的孔后,并通过中间杆14固定连接在丝杆-螺母副的大螺母15上,丝杆13的上端设止推螺母11,作为限位,丝杆的下端连接直流电机3。直流电机3为小功率直流电机,并与电源16和遥控接收器17相连接。电机3置于圆柱形的支撑罩2内,所述的支撑罩2的上开口边沿定位连接在下托盘7的下端面。将中间杆14固定连接在丝杆-螺母副的大螺母15一并罩住,起到防尘和美观的效果。Embodiment 2: a bonsai frame, including four evenly distributed liftable stand feet and a tray, including connecting the
架脚包括定位连接于上支撑座5和下支撑座1之间的两根长支撑杆4,所述的上支撑座5中部带圆孔并穿有一长丝杆18,所述的长丝杆18的上端与下托盘7相连接,所述的长丝杆18上还设有相隔在上支撑座5两侧的调整螺母6,长丝杆18的下端悬空。The frame foot includes two
该实施例先松开调整螺母6,将长丝杆18向上提,到位后,再上紧调整螺母6就可以使架脚变高,来改变盆景架的整体高度。在上托盘和下托盘之间增设的无线遥控可升降的中托盘可以使目前常见的单一托盘或者两个托盘的基础是增加了中托盘,这样可以收纳更多的小件物品。In this embodiment, the adjusting
实施例3:一种盆景架,包括三根均布的可升降的架脚和托盘,包括用四根均布的支撑杆10连接上托盘9和下托盘7;所述的上托盘9和下托盘7之间还设有可升降的中托盘8,所述的中托盘8下方的空心的短支撑杆12穿过下托盘7上的孔后,空套在丝杆13的上并固接在丝杆-螺母副的大螺母15上,与丝杆的下端连接直流电机3。直流电机3为小功率直流电机,并与电源16和遥控接收器17相连接。架脚包括定位连接于上支撑座5和下支撑座1之间的两根长支撑杆4,所述的上支撑座5中部带圆孔并穿有一长丝杆18,所述的长丝杆18的上端与下托盘7相连接,所述的长丝杆18上还设有相隔在上支撑座5两侧的调整螺母6,长丝杆18的下端悬空。Embodiment 3: a bonsai frame, including three evenly distributed liftable feet and trays, including connecting the
该实施例先松开调整螺母6,将长丝杆18向上提,就可以使架脚变高,来改变盆景架的整体高度。在上托盘和下托盘之间增设的无线遥控可升降的中托盘可以使目前常见的单一托盘或者两个托盘的基础是增加了中托盘,这样可以收纳更多的小件物品。In this embodiment, the
总之,本实用新型结构简单,使用方面,是一种适用性很高的家具。In a word, the utility model has a simple structure and is a kind of furniture with high applicability in terms of use.
Claims (5)
Priority Applications (1)
| Application Number | Priority Date | Filing Date | Title |
|---|---|---|---|
| CN 201220332604 CN202636357U (en) | 2012-07-03 | 2012-07-03 | Miniature garden rack |
Applications Claiming Priority (1)
| Application Number | Priority Date | Filing Date | Title |
|---|---|---|---|
| CN 201220332604 CN202636357U (en) | 2012-07-03 | 2012-07-03 | Miniature garden rack |
Publications (1)
| Publication Number | Publication Date |
|---|---|
| CN202636357U true CN202636357U (en) | 2013-01-02 |
Family
ID=47405560
Family Applications (1)
| Application Number | Title | Priority Date | Filing Date |
|---|---|---|---|
| CN 201220332604 Expired - Fee Related CN202636357U (en) | 2012-07-03 | 2012-07-03 | Miniature garden rack |
Country Status (1)
| Country | Link |
|---|---|
| CN (1) | CN202636357U (en) |
Cited By (2)
| Publication number | Priority date | Publication date | Assignee | Title |
|---|---|---|---|---|
| CN107259893A (en) * | 2017-06-24 | 2017-10-20 | 镇江市润州花木园艺协会 | A kind of bench frame apparatus of the convenient placement flowers of inversed taper platform shape |
| CN111150276A (en) * | 2020-02-19 | 2020-05-15 | 福建迈拓钢竹家居用品有限公司 | An automatic positioning device for the production of faceplate brackets |
-
2012
- 2012-07-03 CN CN 201220332604 patent/CN202636357U/en not_active Expired - Fee Related
Cited By (2)
| Publication number | Priority date | Publication date | Assignee | Title |
|---|---|---|---|---|
| CN107259893A (en) * | 2017-06-24 | 2017-10-20 | 镇江市润州花木园艺协会 | A kind of bench frame apparatus of the convenient placement flowers of inversed taper platform shape |
| CN111150276A (en) * | 2020-02-19 | 2020-05-15 | 福建迈拓钢竹家居用品有限公司 | An automatic positioning device for the production of faceplate brackets |
Similar Documents
| Publication | Publication Date | Title |
|---|---|---|
| CN103653837A (en) | Bookcase with height adjusted electrically | |
| CN202636357U (en) | Miniature garden rack | |
| CN204132827U (en) | A kind of automatic multi-function sofa | |
| CN102846031A (en) | A multifunctional shoe rack | |
| CN202760623U (en) | Multi-cabinet dressing table | |
| CN206896098U (en) | Multifunctional dining table | |
| CN204889443U (en) | Can dismantle multilayer fruit bowl | |
| CN201958150U (en) | Multifunctional household dining table | |
| CN211299103U (en) | Self-balancing table base | |
| CN203407736U (en) | Household portable type multifunctional tea table | |
| CN209660820U (en) | A kind of split type tea table | |
| CN205143902U (en) | Multifunctional table | |
| CN208011204U (en) | Height-adjustable TV bracket | |
| CN213786056U (en) | Detachable small tea table | |
| CN205379035U (en) | Novel tea table | |
| CN202739280U (en) | Multifunctional rotary desk frame used in combination with sofa or bed | |
| CN212088811U (en) | But height-adjusting's TV bench | |
| CN202536693U (en) | Extendable television cabinet with left lengthening plate | |
| CN203952943U (en) | A kind of multifunction combined tea table | |
| CN202653583U (en) | Mini-TV (Television) bench with right drawer | |
| CN204743095U (en) | Adjustable lift table | |
| CN206817100U (en) | A kind of lifting television support | |
| CN203789759U (en) | Outdoor barbecue grill | |
| CN202747722U (en) | Roller positioning and horizontal height adjusting base of refrigerator | |
| CN203662231U (en) | Multifunctional table with adjustable height |
Legal Events
| Date | Code | Title | Description |
|---|---|---|---|
| C14 | Grant of patent or utility model | ||
| GR01 | Patent grant | ||
| C17 | Cessation of patent right | ||
| CF01 | Termination of patent right due to non-payment of annual fee |
Granted publication date: 20130102 Termination date: 20130703 |
