CN202628654U - 摆动液压缸 - Google Patents
摆动液压缸 Download PDFInfo
- Publication number
- CN202628654U CN202628654U CN 201220213633 CN201220213633U CN202628654U CN 202628654 U CN202628654 U CN 202628654U CN 201220213633 CN201220213633 CN 201220213633 CN 201220213633 U CN201220213633 U CN 201220213633U CN 202628654 U CN202628654 U CN 202628654U
- Authority
- CN
- China
- Prior art keywords
- output shaft
- shell body
- upper shell
- lower shell
- sleeve
- Prior art date
- Legal status (The legal status is an assumption and is not a legal conclusion. Google has not performed a legal analysis and makes no representation as to the accuracy of the status listed.)
- Withdrawn - After Issue
Links
- 239000000945 filler Substances 0.000 claims description 16
- 230000000295 complement effect Effects 0.000 claims description 14
- 238000007789 sealing Methods 0.000 abstract description 6
- 230000000694 effects Effects 0.000 description 6
- 238000003754 machining Methods 0.000 description 4
- 230000008901 benefit Effects 0.000 description 2
- 230000008439 repair process Effects 0.000 description 2
- 230000008859 change Effects 0.000 description 1
- 239000012467 final product Substances 0.000 description 1
- 230000006872 improvement Effects 0.000 description 1
- 230000007246 mechanism Effects 0.000 description 1
- 238000000034 method Methods 0.000 description 1
- 230000004048 modification Effects 0.000 description 1
- 238000012986 modification Methods 0.000 description 1
- 238000012797 qualification Methods 0.000 description 1
Images
Landscapes
- Hydraulic Motors (AREA)
Abstract
本实用新型涉及一种摆动液压缸,包括输出轴、轴承、上壳体、下壳体、滑套、导向套和调整座,上壳体与下壳体通过螺栓紧固,输出轴穿过下壳体并通过轴承转动安装在上壳体的内孔外段,滑套环套所述输出轴,滑套的内壁与输出轴连接,滑套的外壁靠近上壳体的一段与上壳体内壁连接,导向套固定在上壳体与下壳体的连接处,调整座环套于输出轴上,调整座穿过下壳体,且与下壳体相螺合,调整座在下壳体内部部分与下壳体内壁相连接,且能相对于输出轴旋转,调整座与导向套之间具有间隙,本实用新型结构简单、密封性良好且加工精度高,易操作。
Description
技术领域
本实用新型涉及一种液压缸,尤其涉及一种摆动液压缸。
背景技术
在目前摆动液压缸都是通过齿轮齿条来实现输出轴的旋转以及摆动的,或是采用叶片式来实现的。
利用齿轮齿条副实现的是利用齿条的径向移动带动齿轮的周向旋动,从而实现输出轴的旋动,但是在高精度应用领域当中,需要另外增加调隙机构,以消除由于加工精度多导致的旋转误差,操作繁琐,工作效率低。
采用叶片式来实现的是采用齿轮齿条自动换刀装置来实现,但是其占用空间大,零部件多,使用中齿轮齿条副易磨损,叶片式的转动惯量小、且存内泄漏的缺点。
上述的液压缸结构复杂,当内部部件损坏时,不易维修。
实用新型内容
有鉴于此,有必要提供一种结构简单、密封性良好且加工精度高,易操作的摆动液压缸。
本实用新型是这样实现的,一种摆动液压缸,包括输出轴、轴承、上壳体、下壳体、滑套、导向套和调整座,所述上壳体与所述下壳体通过螺栓紧固,所述输出轴穿过所述下壳体,并通过所述轴承转动安装在所述上壳体的内孔外段,所述滑套环套所述输出轴,且所述滑套的内壁靠近所述上壳体的一段与所述输出轴之间设有间隙,远离所述上壳体的一段与所述输出轴连接,且所述间隙对应的所述输出轴上设有斜齿,所述间隙对应的滑套内壁设有与所述输出轴上斜齿相匹配的斜齿,所述滑套内壁的斜齿与所述输出轴上的斜齿相互齿合;
所述滑套的外壁靠近所述上壳体的一段与所述上壳体内壁连接,远离所述上壳体的一端与所述上壳体之间设有间隙,所述间隙对应的所述滑套外壁上设有斜齿;
所述导向套固定在所述上壳体与所述下壳体的连接处,且所述导向套的内壁上设有与所述滑套外壁上的所述斜齿相匹配的斜齿,所述导向套的内壁的斜齿与所述滑套外壁的斜齿相齿合;
所述调整座环套于所述输出轴上,所述调整座穿过所述下壳体,且与所述下壳体相螺合,所述调整座在所述下壳体内部部分与所述下壳体内壁相连接,且能相对于所述输出轴旋转,所述调整座与所述导向套之间具有间隙。
进一步地,所述上壳体内孔外端设有第一并紧轴承套和第二并紧轴承套,所述第一并紧轴承套环套在所述输出轴上,并与所述输出轴紧固,且所述第一并紧轴承套侧面抵紧所述轴承,所述第二并紧轴承套环套所述输出轴,且与所述上壳体连接,所述第二并紧轴承套的外壁处沿与其中轴平行的方向单向延伸抵住所述轴承。
进一步地,所述第二并紧轴承套的外壁设有外螺纹,所述上壳体的内壁外端设有与所述外螺纹相匹配的内螺纹,所述第二并紧轴承套与所述上壳体相螺合。
进一步地,所述上壳体与所述下壳体的连接处设有具有弧度的环口槽或方形环口槽,且在所述导向套的外壁设有与所述弧度环口槽或方形环口槽相匹配的凸起环。
进一步地,所述导向套外壁与所述上壳体及所述下壳体之间均设有密封环。
进一步地,所述滑套外壁与所述上壳体连接处设有密封环,且所述滑套内壁与所述输出轴连接处设有密封环。
进一步地,所述调整座外壁与所述下壳体连接处设有密封环,且所述调整座内壁与所述输出轴连接处设有密封环。
进一步地,所述第二并紧轴承套与所述输出轴连接部分设有密封环。
进一步地,所述上壳体设有进油口和出油口,所述进油口与所述出油口均与所述摆动液压缸的内腔连通,所述进油口与所述出油口分别设于所述滑套与所述上壳体连接处的两边。
进一步地,所述调整座上设有锁紧螺母,所述锁紧螺母位于所述调整座与所述下壳体的连接处,且位于所述下壳体外部,与所述下壳体紧贴。
本实用新型提供的摆动液压缸的优点在于:通过在输出轴上设置滑套和导向套,以及在滑套的内壁和外壁设置斜齿,在所述输出轴上设置斜齿,所述滑套与所述输出轴相互齿合,且所述滑套与所述导向套相互齿合,通过油压的作用,将所述滑套向所述导向套方向推动,通过斜齿的作用,将所述滑套的水平运动转化成所述输出轴的旋转运动,所述导向套的斜齿充当导向作用,使得传动平稳,输出扭力大,提高了液压缸的整体性能比。
通过在所述滑套与所述上壳体连接处的两边设置进油口和出油口,给摆动液压缸提供动力源,而且在给进油口进油,出油口出油时,输出轴向一方向旋转,在给出油口进油,进油口出油时,输出轴反向旋转,使摆动液压缸能双向旋转,解决现实能力增强。
通过设置锁紧螺母和调整座,且调整座与导向套之间设有间隙,所述调整座与所述下壳体通过螺合连接方式连接,当输出轴旋转角度与实际角度有误差时,通过旋转调整座,改变调整座与导向套之间的间隙来减小误差,提高摆动液压缸的实用性。
通过在上壳体外端设置第一并紧轴承套和第二并紧轴承套,固定轴承,提高摆动液压缸的紧密程度,且所述第二并紧轴承套与所述上壳体通过螺纹螺合连接方式连接,便于拆卸安装以及维修。
通过在滑套与上壳体的连接处、滑套与输出轴的连接处、导向套与上壳体和下壳体的连接处、调整座与下壳体的连接处、调整座与输出轴的连接处以及第二并紧轴承套与输出轴的连接处均设置密封环,增加了摆动液压缸内腔的密封性能。
通过在上壳体与下壳体连接处设置具有弧度的环口槽或方形环口槽,且在所述导向套的外壁设有与所述弧度环口槽或方形环口槽相匹配的凸起环,增加了导向套的固定性,防止导向套的自转现象的发生以及增强了上壳体与下壳体连接处的密封性。
本实用新型结构简单、密封性良好且加工精度高,易操作的摆动液压缸。
附图说明
图1为本实用新型摆动液压缸的结构示意图。
图2为图1中的上壳体与下壳体组合安装的剖视图。
图3为图1中的滑套的剖视图。
图4为图1中的导向套的剖视图。
图5为图1中的第二并紧轴承套的剖视图。
具体实施方式
为了使本实用新型的目的、技术方案及优点更加清楚明白,以下结合附图及实施例,对本实用新型进行进一步详细说明。应当理解,此处所描述的具体实施例仅仅用以解释本实用新型,并不用于限定本实用新型。
请一并参阅图1、图3及图4,其中图1为本实用新型摆动液压缸100的结构示意图,图3为图1中的滑套50的剖视图,图4为图1中的导向套60的剖视图。
所述摆动液压缸100包括输出轴40、轴承30、上壳体10、下壳体20、滑套50、导向套60和调整座70,所述上壳体10与所述下壳体20通过螺栓1紧固,所述输出轴40穿过所述下壳体20,并通过所述轴承30转动安装在所述上壳体10的内孔外段,所述上壳体10设有进油口2和出油口3,所述进油口2与所述出油口3均与所述摆动液压缸100的内腔连通,所述进油口2与所述出油口3分别设于所述滑套50与所述上壳体10连接处的两边,所述滑套50环套所述输出轴40,且所述滑套50的内壁靠近所述上壳体10的一段与所述输出轴40之间设有间隙6,远离所述上壳体10的一段与所述输出轴40连接,且所述间隙6对应的所述输出轴40上设有斜齿41,所述间隙6对应的滑套50内壁设有与所述输出轴40上斜齿41相匹配的斜齿51,所述滑套50内壁的斜齿51与所述输出轴40上的斜齿41相互齿合。
所述滑套50的外壁靠近所述上壳体10的一段与所述上壳体10内壁连接,远离所述上壳体10的一端与所述上壳体10之间设有间隙7,所述间隙7对应的所述滑套50外壁上设有斜齿52,所述滑套50外壁与所述上壳体10连接处设有密封环53,且所述滑套50内壁与所述输出轴40连接处设有密封环54。
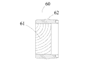
所述导向套60固定在所述上壳体10与所述下壳体20的连接处,且所述导向套60的内壁上设有与所述滑套50外壁上的所述斜齿52相匹配的斜齿61,所述导向套60的内壁的斜齿61与所述滑套50外壁的斜齿52相齿合,所述导向套60外壁与所述上壳体10及所述下壳体20之间均设有密封环9。
所述调整座70环套于所述输出轴40上,所述调整座70穿过所述下壳体20,且与所述下壳体20相螺合,所述调整座70在所述下壳体20内部部分与所述下壳体20内壁相连接,且能相对于所述输出轴40旋转,所述调整座70外壁与所述下壳体20连接处设有密封环71,且所述调整座70内壁与所述输出轴40连接处设有密封环72,所述调整座70与所述导向套60之间具有间隙5,所述调整座70上设有锁紧螺母4,所述锁紧螺母4位于所述调整座70与所述下壳体20的连接处,且位于所述下壳体20外部,与所述下壳体20紧贴。
所述上壳体10内孔外端设有第一并紧轴承套90和第二并紧轴承套80,所述第一并紧轴承套90环套在所述输出轴40上,并与所述输出轴40紧固,且所述第一并紧轴承套90侧面抵紧所述轴承30。
请参阅图5,并结合图1,图5为本实用新型摆动液压缸100的第二并紧轴承套80的剖视图。
所述第二并紧轴承套80环套所述输出轴40,且与所述上壳体10连接,所述第二并紧轴承套80的外壁处沿与其中轴平行的方向单向延伸抵住所述轴承30,所述第二并紧轴承套80的外壁设有外螺纹81,所述上壳体10的内壁外端设有与所述外螺纹81相匹配的内螺纹11,所述第二并紧轴承套80与所述上壳体10相螺合,所述第二并紧轴承套80与所述输出轴40连接部分设有密封环82。
请参阅图2,并结合图1及图4,图2为本实用新型摆动液压缸100的上壳体10与下壳体20组合安装的剖视图。
所述上壳体10与所述下壳体20的连接处设有具有弧度的环口槽8或方形环口槽8,且在所述导向套60的外壁设有与所述弧度环口槽8或方形环口槽8相匹配的凸起环62。
运行时,油从进油口2进入时,使滑套50受到油压的作用,向下壳体20方向移动,此时,出油口3回油,输出轴40、滑套50、导向套60通过斜齿的作用,当滑套50向下壳体20方向水平移动时,带动输出轴40旋转运动,当精度存在误差时,打开锁紧螺母4,调节调整座70,达到要求时再锁紧锁紧螺母4,当需要摆动液压缸100的输出轴40反向旋转时,更改进油和出油的方式,即在出油口3进油,出油口2回油即可。
综上所述,本实用新型摆动液压缸通过在输出轴上设置滑套和导向套,以及在滑套的内壁和外壁设置斜齿,在所述输出轴上设置斜齿,所述滑套与所述输出轴相互齿合,且所述滑套与所述导向套相互齿合,通过油压的作用,将所述滑套向所述导向套方向推动,通过斜齿的作用,将所述滑套的水平运动转化成所述输出轴的旋转运动,所述导向套的斜齿充当导向作用,使得传动平稳,输出扭力大,提高了液压缸的整体性能比。
通过在所述滑套与所述上壳体连接处的两边设置进油口和出油口,给摆动液压缸提供动力源,而且在给进油口进油,出油口出油时,输出轴向一方向旋转,在给出油口进油,进油口出油时,输出轴反向旋转,使摆动液压缸能双向旋转,解决现实能力增强。
通过设置锁紧螺母和调整座,且调整座与导向套之间设有间隙,所述调整座与所述下壳体通过螺合连接方式连接,当输出轴旋转角度与实际角度有误差时,通过旋转调整座,改变调整座与导向套之间的间隙来减小误差,提高摆动液压缸的实用性。
通过在上壳体外端设置第一并紧轴承套和第二并紧轴承套,固定轴承,提高摆动液压缸的紧密程度,且所述第二并紧轴承套与所述上壳体通过螺纹螺合连接方式连接,便于拆卸安装以及维修。
通过在滑套与上壳体的连接处、滑套与输出轴的连接处、导向套与上壳体和下壳体的连接处、调整座与下壳体的连接处、调整座与输出轴的连接处以及第二并紧轴承套与输出轴的连接处均设置密封环,增加了摆动液压缸内腔的密封性能。
通过在上壳体与下壳体连接处设置具有弧度的环口槽或方形环口槽,且在所述导向套的外壁设有与所述弧度环口槽或方形环口槽相匹配的凸起环,增加了导向套的固定性,防止导向套的自转现象的发生以及增强了上壳体与下壳体连接处的密封性。
本实用新型结构简单,占用空间小、密封性良好且加工精度高,易操作的摆动液压缸。
以上所述仅为本实用新型的较佳实施例而已,并不用以限制本实用新型,凡在本实用新型的精神和原则之内所作的任何修改、等同替换和改进等,均应包含在本实用新型的保护范围之内。
Claims (10)
1.一种摆动液压缸,包括输出轴、轴承、上壳体和下壳体,所述上壳体与所述下壳体通过螺栓紧固,所述输出轴穿过所述下壳体,并通过所述轴承转动安装在所述上壳体的内孔外段,其特征在于,所述摆动液压缸还包括滑套、导向套和调整座,所述滑套环套所述输出轴,且所述滑套的内壁靠近所述上壳体的一段与所述输出轴之间设有间隙,远离所述上壳体的一段与所述输出轴连接,且所述间隙对应的所述输出轴上设有斜齿,所述间隙对应的滑套内壁设有与所述输出轴上斜齿相匹配的斜齿,所述滑套内壁的斜齿与所述输出轴上的斜齿以齿合连接方式连接;
所述滑套的外壁靠近所述上壳体的一段与所述上壳体内壁连接,远离所述上壳体的一端与所述上壳体之间设有间隙,所述间隙对应的所述滑套外壁上设有斜齿;
所述导向套固定在所述上壳体与所述下壳体的连接处,且所述导向套的内壁上设有与所述滑套外壁上的所述斜齿相匹配的斜齿,所述导向套的内壁的斜齿与所述滑套外壁的斜齿以齿合连接方式连接;
所述调整座环套于所述输出轴上,所述调整座穿过所述下壳体,且与所述下壳体以螺合连接方式连接,所述调整座在所述下壳体内部部分与所述下壳体内壁相连接,且能相对于所述输出轴旋转,所述调整座与所述导向套之间具有间隙。
2.根据权利要求1所述的摆动液压缸,其特征在于,所述上壳体内孔外端设有第一并紧轴承套和第二并紧轴承套,所述第一并紧轴承套环套在所述输出轴上,并与所述输出轴紧固,且所述第一并紧轴承套侧面抵紧所述轴承,所述第二并紧轴承套环套所述输出轴,且与所述上壳体连接,所述第二并紧轴承套的外壁处沿与其中轴平行的方向单向延伸抵住所述轴承。
3.根据权利要求2所述的摆动液压缸,其特征在于,所述第二并紧轴承套的外壁设有外螺纹,所述上壳体的内壁外端设有与所述外螺纹相匹配的内螺纹,所述第二并紧轴承套与所述上壳体相螺合。
4.根据权利要求1所述的摆动液压缸,其特征在于,所述上壳体与所述下壳体的连接处设有具有弧度的环口槽或方形环口槽,且在所述导向套的外壁设有与所述弧度环口槽或方形环口槽相匹配的凸起环。
5.根据权利要求1所述的摆动液压缸,其特征在于,所述导向套外壁与所述上壳体及所述下壳体之间均设有密封环。
6.根据权利要求1所述的摆动液压缸,其特征在于,所述滑套外壁与所述上壳体连接处设有密封环,且所述滑套内壁与所述输出轴连接处设有密封环。
7.根据权利要求1所述的摆动液压缸,其特征在于,所述调整座外壁与所述下壳体连接处设有密封环,且所述调整座内壁与所述输出轴连接处设有密封环。
8.根据权利要求2所述的摆动液压缸,其特征在于,所述第二并紧轴承套与所述输出轴连接部分设有密封环。
9.根据权利要求1所述的摆动液压缸,其特征在于,所述上壳体设有进油口和出油口,所述进油口与所述出油口均与所述摆动液压缸的内腔连通,所述进油口与所述出油口分别设于所述滑套与所述上壳体连接处的两边。
10.根据权利要求1所述的摆动液压缸,其特征在于,所述调整座上设有锁紧螺母,所述锁紧螺母位于所述调整座与所述下壳体的连接处,且位于所述下壳体外部,与所述下壳体紧贴。
Priority Applications (1)
| Application Number | Priority Date | Filing Date | Title |
|---|---|---|---|
| CN 201220213633 CN202628654U (zh) | 2012-05-11 | 2012-05-11 | 摆动液压缸 |
Applications Claiming Priority (1)
| Application Number | Priority Date | Filing Date | Title |
|---|---|---|---|
| CN 201220213633 CN202628654U (zh) | 2012-05-11 | 2012-05-11 | 摆动液压缸 |
Publications (1)
| Publication Number | Publication Date |
|---|---|
| CN202628654U true CN202628654U (zh) | 2012-12-26 |
Family
ID=47381859
Family Applications (1)
| Application Number | Title | Priority Date | Filing Date |
|---|---|---|---|
| CN 201220213633 Withdrawn - After Issue CN202628654U (zh) | 2012-05-11 | 2012-05-11 | 摆动液压缸 |
Country Status (1)
| Country | Link |
|---|---|
| CN (1) | CN202628654U (zh) |
Cited By (4)
| Publication number | Priority date | Publication date | Assignee | Title |
|---|---|---|---|---|
| CN102635589A (zh) * | 2012-05-11 | 2012-08-15 | 芜湖瑞精机床有限责任公司 | 摆动液压缸 |
| CN103742476A (zh) * | 2013-12-30 | 2014-04-23 | 中船重工中南装备有限责任公司 | 一种螺旋摆动液压缸 |
| CN105465093A (zh) * | 2015-12-31 | 2016-04-06 | 上海盾克机械有限公司 | 一种螺旋摆动液压缸 |
| JP2021110344A (ja) * | 2020-01-06 | 2021-08-02 | 住友重機械工業株式会社 | アクチュエータ |
-
2012
- 2012-05-11 CN CN 201220213633 patent/CN202628654U/zh not_active Withdrawn - After Issue
Cited By (6)
| Publication number | Priority date | Publication date | Assignee | Title |
|---|---|---|---|---|
| CN102635589A (zh) * | 2012-05-11 | 2012-08-15 | 芜湖瑞精机床有限责任公司 | 摆动液压缸 |
| CN102635589B (zh) * | 2012-05-11 | 2014-11-05 | 芜湖瑞精机床有限责任公司 | 摆动液压缸 |
| CN103742476A (zh) * | 2013-12-30 | 2014-04-23 | 中船重工中南装备有限责任公司 | 一种螺旋摆动液压缸 |
| CN105465093A (zh) * | 2015-12-31 | 2016-04-06 | 上海盾克机械有限公司 | 一种螺旋摆动液压缸 |
| JP2021110344A (ja) * | 2020-01-06 | 2021-08-02 | 住友重機械工業株式会社 | アクチュエータ |
| JP7490366B2 (ja) | 2020-01-06 | 2024-05-27 | 住友重機械工業株式会社 | アクチュエータ |
Similar Documents
| Publication | Publication Date | Title |
|---|---|---|
| CN202628654U (zh) | 摆动液压缸 | |
| EP3220004B1 (en) | Rotary damper | |
| CN102601795B (zh) | 一种可实现五轴联动作业动力头 | |
| CN204628571U (zh) | 撑开式双向密封截止阀 | |
| CN110768459B (zh) | 一种永磁无刷直流行星齿轮减速电机 | |
| KR20210102391A (ko) | 내부 베어링을 갖는 로브 펌프 | |
| CN204300489U (zh) | 一种蝶阀用可变速蜗轮驱动装置 | |
| CN104358839B (zh) | 一种双轴定位传动机构 | |
| CN102635589A (zh) | 摆动液压缸 | |
| CN107339461A (zh) | 一种开关同步分动装置及其形成的强制密封球阀 | |
| CN202001424U (zh) | 行程可调的强制脂润滑直行程气缸 | |
| CN114811093A (zh) | 一种球阀 | |
| CN205342482U (zh) | 传动装置以及采用该传动装置的驱动系统和回转工作台 | |
| CN110388347B (zh) | 旋转执行器 | |
| KR101767977B1 (ko) | 직류모터를 이용한 전동액추에이터 | |
| CN219412496U (zh) | 一种快速安装的石油钻杆接头 | |
| CN107008930B (zh) | 数控车床伺服刀塔 | |
| US4881420A (en) | Power actuator with lost motion arrester | |
| CN104389639A (zh) | 偏心轴孔转子流体机构 | |
| CN111288037B (zh) | 一种高精度360度旋转型液压油缸 | |
| CN205779990U (zh) | 一种旋转液压缸机构 | |
| CN207486069U (zh) | 三偏心硬密封蝶阀 | |
| CN102996564A (zh) | 带缓冲的摆动齿条缸 | |
| CN119491473B (zh) | 一种水利工程用可控流量式闸门 | |
| CN104033053A (zh) | 一种使用在平开门上的全自动齿轮式合页机构 |
Legal Events
| Date | Code | Title | Description |
|---|---|---|---|
| C14 | Grant of patent or utility model | ||
| GR01 | Patent grant | ||
| AV01 | Patent right actively abandoned |
Granted publication date: 20121226 Effective date of abandoning: 20141105 |
|
| RGAV | Abandon patent right to avoid regrant |