CN202625044U - Bunker with elastic reverse cone - Google Patents

Bunker with elastic reverse cone Download PDF

Info

Publication number
CN202625044U
CN202625044U CN201220201433.XU CN201220201433U CN202625044U CN 202625044 U CN202625044 U CN 202625044U CN 201220201433 U CN201220201433 U CN 201220201433U CN 202625044 U CN202625044 U CN 202625044U
Authority
CN
China
Prior art keywords
cone
elastic
ring beam
silo
cylinder
Prior art date
Legal status (The legal status is an assumption and is not a legal conclusion. Google has not performed a legal analysis and makes no representation as to the accuracy of the status listed.)
Expired - Fee Related
Application number
CN201220201433.XU
Other languages
Chinese (zh)
Inventor
冯友兴
段建华
Current Assignee (The listed assignees may be inaccurate. Google has not performed a legal analysis and makes no representation or warranty as to the accuracy of the list.)
Guiyang Aluminum Magnesium Design and Research Institute Co Ltd
Original Assignee
Guiyang Aluminum Magnesium Design and Research Institute Co Ltd
Priority date (The priority date is an assumption and is not a legal conclusion. Google has not performed a legal analysis and makes no representation as to the accuracy of the date listed.)
Filing date
Publication date
Application filed by Guiyang Aluminum Magnesium Design and Research Institute Co Ltd filed Critical Guiyang Aluminum Magnesium Design and Research Institute Co Ltd
Priority to CN201220201433.XU priority Critical patent/CN202625044U/en
Application granted granted Critical
Publication of CN202625044U publication Critical patent/CN202625044U/en
Anticipated expiration legal-status Critical
Expired - Fee Related legal-status Critical Current

Links

Images

Classifications

    • YGENERAL TAGGING OF NEW TECHNOLOGICAL DEVELOPMENTS; GENERAL TAGGING OF CROSS-SECTIONAL TECHNOLOGIES SPANNING OVER SEVERAL SECTIONS OF THE IPC; TECHNICAL SUBJECTS COVERED BY FORMER USPC CROSS-REFERENCE ART COLLECTIONS [XRACs] AND DIGESTS
    • Y02TECHNOLOGIES OR APPLICATIONS FOR MITIGATION OR ADAPTATION AGAINST CLIMATE CHANGE
    • Y02WCLIMATE CHANGE MITIGATION TECHNOLOGIES RELATED TO WASTEWATER TREATMENT OR WASTE MANAGEMENT
    • Y02W90/00Enabling technologies or technologies with a potential or indirect contribution to greenhouse gas [GHG] emissions mitigation
    • Y02W90/10Bio-packaging, e.g. packing containers made from renewable resources or bio-plastics

Landscapes

  • Underground Or Underwater Handling Of Building Materials (AREA)

Abstract

本实用新型公开了一种具有弹性锥体的料仓,包括料仓,料仓为圆筒状,圆筒(5)内设有下料漏斗(1);下料漏斗(1)上方的圆筒(5)内壁设有仓壁环梁(4),仓壁环梁(4)上设有一组沿圆周均布的弹性拉杆(3),弹性拉杆(3)一端与仓壁环梁(4)连接,弹性拉杆(3)一端与圆锥体(2)连接。本实用新型在料仓的下料漏斗上方设置一个与下料漏斗锥形面方向相反的圆锥体,在装料过程中,圆锥体会下沉,而在下料过程中,随着仓内料的减少,圆锥体会在弹簧的作用下向上提升,使料更松散,圆锥体与下料漏斗构成了一个弹性组合体,不仅方便了下料,还减少了堵料情况的发生。本实用新型结构简单,造价低廉,容易实施,使用效果好。

Figure 201220201433

The utility model discloses a silo with an elastic cone, which comprises a silo, the silo is in the shape of a cylinder, and the cylinder (5) is provided with a feeding funnel (1); The inner wall of the cylinder (5) is provided with a warehouse wall ring beam (4), and a group of elastic tie rods (3) distributed uniformly along the circumference are arranged on the warehouse wall ring beam (4). One end of the elastic tie rod (3) is connected with the warehouse wall ring beam (4) ) connection, and one end of the elastic pull rod (3) is connected with the cone (2). The utility model sets a cone opposite to the direction of the tapered surface of the feeding funnel above the feeding funnel of the feeding bin. , The cone will be lifted up under the action of the spring to make the material looser. The cone and the discharge funnel form an elastic combination, which not only facilitates the discharge of materials, but also reduces the occurrence of material blocking. The utility model has the advantages of simple structure, low cost, easy implementation and good use effect.

Figure 201220201433

Description

A kind of feed bin with the anti-cone of elasticity
Technical field
the utility model relates to a kind of feed bin with flexible cone, belongs to the blanking device technical field.
Background technology
in industrial building, particularly in cement and Aluminum Electrolysis Production, feed bin is the most frequently used industrial building; But along with the continuous increase of production capacity, the following funnel of feed bin diameter and feed bin bottom is also increasing, but because these feed bin diameters are bigger; The degree of depth is darker, in feed bin, forms the dead angle through regular meeting in the blanking process, thereby forms putty; Influence blanking velocity and production, and can not make full use of the volume of feed bin.
Summary of the invention
The purpose of the utility model is, a kind of feed bin with the anti-cone of elasticity is provided.Solving the problem that produces putty in the existing feed bin blanking process, thereby improve the volume that blanking velocity makes full use of feed bin.To overcome the deficiency of prior art.
The technical scheme of the utility model:
a kind of feed bin with flexible cone comprises feed bin, and feed bin is cylindric, is provided with down funnel in the cylinder; The cylinder inner wall of following funnel top is provided with the bulkhead ring beam, and the bulkhead ring beam is provided with one group of elastic draw bar that is uniformly distributed along the circumference, and elastic draw bar one end is connected with the bulkhead ring beam, and elastic draw bar one end is connected with cone.
aforementioned to have in the feed bin of flexible cone, and said elastic draw bar is obliquely installed, and its angle of inclination is identical with the angle of inclination of the following funnel conical surface.
aforementioned to have in the feed bin of flexible cone, and said cone is the upper cone that end circle is gone up point, and the bottom edge of cone is connected with elastic draw bar.
compared with prior art, the utility model above the following funnel of feed bin, be provided with one with following funnel conical suface cone in the opposite direction, this cone is connected by elastic draw bar; In the charging process, cone can sink, and in the blanking process; Along with the minimizing of expecting in the storehouse; The cone lifting that can under the effect of spring, make progress makes material looser, and cone has constituted an elasticity fabricate block with following funnel; Not only make things convenient for blanking, also reduced the generation of putty situation.The present invention is simple in structure, and is cheap, implements easily, and result of use is good.
Description of drawings
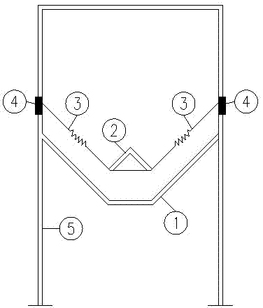
accompanying drawing 1 is the structural representation of utility model.
Being labeled as in accompanying drawing: funnel under the 1-, 2-cone, 3-elastic draw bar, 4-bulkhead ring beam, 5-cylinder.
The specific embodiment
are done further to specify to the utility model below in conjunction with accompanying drawing and embodiment, but not as any restriction to the utility model.
embodiment.
the utility model is as shown in Figure 1.A kind of feed bin with flexible cone comprises feed bin, and feed bin is cylindric, is provided with down funnel 1 in the cylinder 5; Cylinder 5 inwalls of following funnel 1 top are provided with bulkhead ring beam 4, and bulkhead ring beam 4 is provided with one group of elastic draw bar that is uniformly distributed along the circumference 3, and elastic draw bar 3 is obliquely installed, and its angle of inclination is identical with the angle of inclination of following funnel 1 conical surface.Elastic draw bar 3 one ends are connected with bulkhead ring beam 4, and elastic draw bar 3 one ends are connected with cone 2.Cone 2 is gone up the upper cone of point for end circle, and the bottom edge of cone 2 is connected with elastic draw bar 3.
Working process of the utility model and principle
are as shown in Figure 1; Funnel 1 tremie pipe cone 2 suitable for reading has formed an elasticity combination through elastic draw bar 3 to following funnel 1 in the utility model with being positioned at down, and when material was poured feed bin into, material formed cone and impacts; Make the cone up-down vibration; Material glides along the conical suface of cone simultaneously, from the tremie pipe discharge of funnel 1 down, has eliminated the blanking dead angle in the feed bin.Simultaneously because cone 2 up-down vibration under the effect of elastic draw bar 3, what make that material in the feed bin becomes looselyr is difficult for conglomeration, and blanking is more smooth and easy, has accelerated blanking velocity.Along with the minimizing of material in the feed bin, cone 2 can upwards promote under the effect of elastic draw bar 3, and remaining material is discharged from tremie pipe along the conical surface of following funnel 1.The utility model has been installed the feed bin of this baiting structure after proving through engineering practice, the situation that putty takes place in its bottom obviously reduces.

Claims (3)

1.一种具有弹性锥体的料仓,包括料仓,料仓为圆筒状,圆筒(5)内设有下料漏斗(1);其特征在于:下料漏斗(1)上方的圆筒(5)内壁设有仓壁环梁(4),仓壁环梁(4)上设有一组沿圆周均布的弹性拉杆(3),弹性拉杆(3)一端与仓壁环梁(4)连接,弹性拉杆(3)一端与圆锥体(2)连接。 1. A silo with an elastic cone, including a silo, the silo is cylindrical, and the cylinder (5) is provided with a feeding funnel (1); it is characterized in that: the top of the feeding funnel (1) The inner wall of the cylinder (5) is provided with a warehouse wall ring beam (4), and a group of elastic tie rods (3) uniformly distributed along the circumference are arranged on the warehouse wall ring beam (4), and one end of the elastic tie rod (3) is connected with the warehouse wall ring beam ( 4) Connection, one end of the elastic rod (3) is connected with the cone (2). 2.根据权利要求1所述具有弹性锥体的料仓,其特征在于:所述弹性拉杆(3)倾斜设置,其倾斜角度与下料漏斗(1)锥面的倾斜角度相同。 2. The hopper with an elastic cone according to claim 1, characterized in that: the elastic pull rod (3) is arranged obliquely, and its inclination angle is the same as the inclination angle of the conical surface of the feeding funnel (1). 3.根据权利要求2所述具有弹性锥体的料仓,其特征在于:所述圆锥体(2)为底圆上尖的上锥体,圆锥体(2)的底面边缘与弹性拉杆(3)连接。 3. The hopper with an elastic cone according to claim 2, characterized in that: the cone (2) is an upper cone with a round bottom and a sharp top, and the edge of the bottom surface of the cone (2) is in contact with the elastic rod (3 )connect.
CN201220201433.XU 2012-05-08 2012-05-08 Bunker with elastic reverse cone Expired - Fee Related CN202625044U (en)

Priority Applications (1)

Application Number Priority Date Filing Date Title
CN201220201433.XU CN202625044U (en) 2012-05-08 2012-05-08 Bunker with elastic reverse cone

Applications Claiming Priority (1)

Application Number Priority Date Filing Date Title
CN201220201433.XU CN202625044U (en) 2012-05-08 2012-05-08 Bunker with elastic reverse cone

Publications (1)

Publication Number Publication Date
CN202625044U true CN202625044U (en) 2012-12-26

Family

ID=47378268

Family Applications (1)

Application Number Title Priority Date Filing Date
CN201220201433.XU Expired - Fee Related CN202625044U (en) 2012-05-08 2012-05-08 Bunker with elastic reverse cone

Country Status (1)

Country Link
CN (1) CN202625044U (en)

Cited By (2)

* Cited by examiner, † Cited by third party
Publication number Priority date Publication date Assignee Title
CN104670746A (en) * 2013-11-27 2015-06-03 贵阳铝镁设计研究院有限公司 Method for preventing stock bin from being blocked and stock bin
CN106922257A (en) * 2017-01-10 2017-07-07 刘春燕 A kind of plantation Quantitative seeder

Cited By (2)

* Cited by examiner, † Cited by third party
Publication number Priority date Publication date Assignee Title
CN104670746A (en) * 2013-11-27 2015-06-03 贵阳铝镁设计研究院有限公司 Method for preventing stock bin from being blocked and stock bin
CN106922257A (en) * 2017-01-10 2017-07-07 刘春燕 A kind of plantation Quantitative seeder

Similar Documents

Publication Publication Date Title
CN202625044U (en) Bunker with elastic reverse cone
CN205572788U (en) A prevent stifled loading attachment for tubular product production
CN202011563U (en) Discharge funnel of bunker
CN203881149U (en) Cement kiln preheater cyclone cone anti-blocking device
CN201553430U (en) Cylinder batching bin
CN203285067U (en) Annular concrete flow guiding hopper
CN204549017U (en) For the rapping hopper of production of fodder
CN207293077U (en) A kind of hopper dredging system
CN204252551U (en) The vibrating spear positioning device of a kind of batter post/wall concrete pouring construction
CN102872758B (en) A kind of cast hopper
CN204276416U (en) A kind of oscillatory type medicinal material decontamination plant
CN202542213U (en) Discharging hopper of storage bin
CN204491614U (en) A kind of anti-pile tube skew Pile feeder
CN203971894U (en) The one buffer unit that feeds intake
CN204876541U (en) Silo circle conical hopper template
CN206626280U (en) A kind of in a row drainpipe limiter
CN203255612U (en) Buffer discharging pipe
CN202757458U (en) Nickel-iron furnace discharge bin
CN204056809U (en) With the steel silo of charging slideway
CN205312279U (en) Lime stone storehouse batching storehouse
CN204622021U (en) A kind of bending hoop muscle catching device
CN207404255U (en) A kind of dredging system for being suitable for rotation coal scuttle
CN203664038U (en) High density separation pressurized two-product heavy medium cyclone
CN204252552U (en) A kind of concrete vibration bar positioner
CN202322693U (en) Hopper for canning reclaimed rubber

Legal Events

Date Code Title Description
C14 Grant of patent or utility model
GR01 Patent grant
CF01 Termination of patent right due to non-payment of annual fee

Granted publication date: 20121226

Termination date: 20150508

EXPY Termination of patent right or utility model