CN202611073U - Mineral wool board attached hung ceiling structure - Google Patents
Mineral wool board attached hung ceiling structure Download PDFInfo
- Publication number
- CN202611073U CN202611073U CN 201220213821 CN201220213821U CN202611073U CN 202611073 U CN202611073 U CN 202611073U CN 201220213821 CN201220213821 CN 201220213821 CN 201220213821 U CN201220213821 U CN 201220213821U CN 202611073 U CN202611073 U CN 202611073U
- Authority
- CN
- China
- Prior art keywords
- mineral wool
- wool board
- board
- ceiling structure
- hung ceiling
- Prior art date
- Legal status (The legal status is an assumption and is not a legal conclusion. Google has not performed a legal analysis and makes no representation as to the accuracy of the status listed.)
- Expired - Fee Related
Links
- 239000011490 mineral wool Substances 0.000 title claims abstract description 31
- 241000132536 Cirsium Species 0.000 claims description 19
- 210000003205 muscle Anatomy 0.000 claims description 7
- 230000000694 effects Effects 0.000 abstract description 7
- 229910000831 Steel Inorganic materials 0.000 abstract description 4
- 239000000463 material Substances 0.000 abstract description 4
- 239000010959 steel Substances 0.000 abstract description 4
- 239000011507 gypsum plaster Substances 0.000 abstract 3
- 238000004519 manufacturing process Methods 0.000 abstract 1
- 238000010521 absorption reaction Methods 0.000 description 3
- 238000010276 construction Methods 0.000 description 3
- 239000003292 glue Substances 0.000 description 2
- 238000009434 installation Methods 0.000 description 2
- 238000009413 insulation Methods 0.000 description 2
- 238000000034 method Methods 0.000 description 2
- 238000012986 modification Methods 0.000 description 2
- 230000004048 modification Effects 0.000 description 2
- 239000000853 adhesive Substances 0.000 description 1
- 230000001070 adhesive effect Effects 0.000 description 1
- 230000009286 beneficial effect Effects 0.000 description 1
- 239000003795 chemical substances by application Substances 0.000 description 1
- 239000011248 coating agent Substances 0.000 description 1
- 238000000576 coating method Methods 0.000 description 1
- 238000005516 engineering process Methods 0.000 description 1
- 239000003973 paint Substances 0.000 description 1
- 238000007789 sealing Methods 0.000 description 1
- 238000005507 spraying Methods 0.000 description 1
- 238000009423 ventilation Methods 0.000 description 1
- 239000002699 waste material Substances 0.000 description 1
Images
Landscapes
- Building Environments (AREA)
Abstract
The utility model relates to a mineral wool board attached hung ceiling structure. The mineral wool board attached hung ceiling structure comprises a hanging bar, wherein a main keel is hung on the hanging bar; a gypsum plaster board is arranged on the main keel; a mineral wool board is arranged on the gypsum plaster board; and the gypsum plaster board is 9 mm in thickness. By the adoption of the structure, a good effect can be achieved only by adopting the main keel instead of secondary keels, so the mineral wool board attached hung ceiling structure reduces loss of steel materials, achieves an obvious sound-proof effect, is economic and practical, is convenient to mount in the manufacturing process of the hung ceiling and is simple.
Description
Technical field
The utility model relates to the ceiling structure in the building finishing industry, especially relates to a kind of mineral wool board and pastes ceiling structure again.
Background technology
The lightgage steel joist Thistle board is the ceiling material that is widely used in each interior space, and owing to some space such as meeting, school or the like have certain sound-absorption requirement, and Thistle board is difficult to meet this requirement; So in daily building, adopt mineral wool board, mineral wool board has characteristics such as sound absorption, waterproof, insulation, heat insulation, light weight, elegant in appearance, easy construction, is widely used in to have the room that sound absorption requires; As shown in Figure 1 because mineral wool board 4 big or small smaller; Be generally 80mm*80mm,, then be difficult to stick mineral wool board 4 if having only main joist 3 in the furred ceiling; So some secondary joists 2 are set in main joist 3 in the prior art; The keel consumable quantity of construction complicacy and steel work is big like this, and uneconomical practicality causes waste.
Summary of the invention
The utility model technical problem to be solved provides a kind of economical and practical, simple in structure and tangible mineral wool board of soundproof effect and pastes ceiling structure again.
The utility model solves the technical scheme that its technical problem takes: a kind of mineral wool board pastes ceiling structure again, comprises hanging muscle, hangs the muscle then main joist of hanging oneself, and on the described main joist Thistle board is installed, and Thistle board is provided with mineral wool board.
Further, for can better install and soundproof effect obvious, economical and practical, the thickness of described Thistle board is 9mm.
Further, sticking card has Thistle board on the described main joist, and sticking card has mineral wool board on the Thistle board.Promoted the reliability of operation further.
The beneficial effect of the utility model is: adopted after the said structure, only adopted main joist not need secondary joist can reach better effect, reduced the loss of steel; Soundproof effect is obvious, and is economical and practical, when making furred ceiling; The convenient installation, simple in structure.
Description of drawings
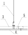
Fig. 1 is the prior art constructions sketch map;
Fig. 2 is the structural representation of the utility model.
Among the figure: 1, hang muscle; 2, secondary joist; 3, main joist; 4, mineral wool board; 5, Thistle board.
The specific embodiment
A kind of mineral wool board as shown in Figure 2 pastes ceiling structure again, comprises and hangs muscle 1, hangs the muscle 1 then main joist 3 of hanging oneself, and on the described main joist 3 Thistle board 5 is installed, and Thistle board 5 is provided with mineral wool board 4; The thickness of described Thistle board 5 is 9mm.
The utility model adopts the processing mode of Thistle board 5 and mineral wool board 4 the two combination to do furred ceiling.The mounting method of Thistle board 5 by regulation is fixed on the main joist 3; The smooth unanimity of surface requirements; Seam crossing is wipeed off with putty, and mineral wool board 4 is sticked with glue agent (XY401 glue), and evenly full coat is at mineral wool board 4 back sides, and back side daub is totally 13 points; Install according to drawing good hookup wire, and in the firm basic unit that sticks on Thistle board 5 or other materials.Before bonding adhesive is uncured, sharp pounding must not be arranged, and keep ventilation of room good.Because of the spaces on mineral wool board 4 surface are to be used for letting sound wave get into reaching sound-absorbing effect, so, also only do one deck coating on the surface if any special requirement generally not to mineral wool board 4 work of spraying paint.
It is emphasized that above is the preferable enforcement row of the utility model, and every technical spirit according to the utility model all still belongs in the scope of the utility model technical scheme any simple modification, equivalent variations and modification that above embodiment did.
Claims (3)
1. a mineral wool board pastes ceiling structure again, comprises hanging muscle (1), hangs muscle (1) the then main joist (3) of hanging oneself, and it is characterized in that: described main joist (3) is provided with Thistle board (5), and Thistle board (5) is provided with mineral wool board (4).
2. mineral wool board according to claim 1 pastes ceiling structure again, it is characterized in that: the thickness of described Thistle board (5) is 9mm.
3. mineral wool board according to claim 1 pastes ceiling structure again, it is characterized in that: described main joist (3) is gone up sticking card has Thistle board (5), and Thistle board (5) is gone up sticking card has mineral wool board (4).
Priority Applications (1)
| Application Number | Priority Date | Filing Date | Title |
|---|---|---|---|
| CN 201220213821 CN202611073U (en) | 2012-05-14 | 2012-05-14 | Mineral wool board attached hung ceiling structure |
Applications Claiming Priority (1)
| Application Number | Priority Date | Filing Date | Title |
|---|---|---|---|
| CN 201220213821 CN202611073U (en) | 2012-05-14 | 2012-05-14 | Mineral wool board attached hung ceiling structure |
Publications (1)
| Publication Number | Publication Date |
|---|---|
| CN202611073U true CN202611073U (en) | 2012-12-19 |
Family
ID=47344784
Family Applications (1)
| Application Number | Title | Priority Date | Filing Date |
|---|---|---|---|
| CN 201220213821 Expired - Fee Related CN202611073U (en) | 2012-05-14 | 2012-05-14 | Mineral wool board attached hung ceiling structure |
Country Status (1)
| Country | Link |
|---|---|
| CN (1) | CN202611073U (en) |
Cited By (3)
| Publication number | Priority date | Publication date | Assignee | Title |
|---|---|---|---|---|
| CN102644353A (en) * | 2012-05-14 | 2012-08-22 | 苏州市时代工程咨询设计管理有限公司 | Mineral wool board attached suspended ceiling structure |
| CN103306414A (en) * | 2013-06-19 | 2013-09-18 | 苏州柯利达装饰股份有限公司 | Unit assembled type concealed ceiling grid system and construction method thereof |
| CN103397759A (en) * | 2013-08-08 | 2013-11-20 | 深圳市中建南方装饰工程有限公司 | Sound-absorbing ceiling |
-
2012
- 2012-05-14 CN CN 201220213821 patent/CN202611073U/en not_active Expired - Fee Related
Cited By (5)
| Publication number | Priority date | Publication date | Assignee | Title |
|---|---|---|---|---|
| CN102644353A (en) * | 2012-05-14 | 2012-08-22 | 苏州市时代工程咨询设计管理有限公司 | Mineral wool board attached suspended ceiling structure |
| CN103306414A (en) * | 2013-06-19 | 2013-09-18 | 苏州柯利达装饰股份有限公司 | Unit assembled type concealed ceiling grid system and construction method thereof |
| CN103306414B (en) * | 2013-06-19 | 2015-07-15 | 苏州柯利达装饰股份有限公司 | Unit assembled type concealed ceiling grid system and construction method thereof |
| CN103397759A (en) * | 2013-08-08 | 2013-11-20 | 深圳市中建南方装饰工程有限公司 | Sound-absorbing ceiling |
| CN103397759B (en) * | 2013-08-08 | 2016-01-20 | 深圳市中建南方装饰工程有限公司 | A kind of sound-absorbing smallpox |
Similar Documents
| Publication | Publication Date | Title |
|---|---|---|
| CN206928507U (en) | An assembled lightweight composite wall panel | |
| EP3070227B1 (en) | Foam glass integrated plate effective in water and fire proofing, thermal insulation and decoration | |
| CN205777066U (en) | A kind of wallboard being easily installed | |
| CN202611073U (en) | Mineral wool board attached hung ceiling structure | |
| CN103266672B (en) | External wall heat preservation system and construction technology of recombination of polystyrene foam and heat preservation inorganic fireproof plate | |
| CN102644353A (en) | Mineral wool board attached suspended ceiling structure | |
| CN203769229U (en) | Perforated bilateral-hanger insulation composite board | |
| CN205558146U (en) | Mounting structure of slim decorative board coincide heat preservation and wall body | |
| WO2019015107A1 (en) | Large area mineral wool board ceiling structure | |
| CN204626767U (en) | A kind of portable partition board | |
| CN202265934U (en) | Light decoration-free quickly mounted wallboard | |
| CN102433974B (en) | Curtain wall-imitating wall insulation technical method by anchoring and pasting inorganic heat-insulation decorative composite board | |
| CN207348290U (en) | Double-deck plaster tablet suspended ceiling | |
| CN216892992U (en) | Novel indoor sound insulation wall structure | |
| CN204850316U (en) | Wallboard in PVC foaming is integrated | |
| CN213626373U (en) | High-strength gypsum wall surface structure | |
| CN211286385U (en) | Novel metal film-coated decorative plate | |
| CN204001550U (en) | A kind of rock wool heat-preservation decorative integrated plate | |
| CN206917140U (en) | A kind of ceramic tile veneering structure for paperbacked plasterboard wall | |
| CN203271016U (en) | Aluminum cellular board with ceramic face | |
| CN201581578U (en) | Thermal-insulating sound-insulating decorative corrugated composite plate | |
| CN209194894U (en) | A kind of waterproof gypsum board with high intensity | |
| CN201486068U (en) | Site-injection-molding foaming polyurethane heat-insulating system and fixed bracket thereof | |
| CN206267416U (en) | A kind of honeycomb partition wall | |
| CN205990690U (en) | A kind of building ceiling |
Legal Events
| Date | Code | Title | Description |
|---|---|---|---|
| C14 | Grant of patent or utility model | ||
| GR01 | Patent grant | ||
| CF01 | Termination of patent right due to non-payment of annual fee |
Granted publication date: 20121219 Termination date: 20180514 |
|
| CF01 | Termination of patent right due to non-payment of annual fee |