CN202608376U - Dust-collecting chalk eraser for English teaching - Google Patents

Dust-collecting chalk eraser for English teaching Download PDF

Info

Publication number
CN202608376U
CN202608376U CN 201220251642 CN201220251642U CN202608376U CN 202608376 U CN202608376 U CN 202608376U CN 201220251642 CN201220251642 CN 201220251642 CN 201220251642 U CN201220251642 U CN 201220251642U CN 202608376 U CN202608376 U CN 202608376U
Authority
CN
China
Prior art keywords
dust
box
absorbing
box body
guide rail
Prior art date
Legal status (The legal status is an assumption and is not a legal conclusion. Google has not performed a legal analysis and makes no representation as to the accuracy of the status listed.)
Expired - Fee Related
Application number
CN 201220251642
Other languages
Chinese (zh)
Inventor
李超
付承梅
王钢
李健
马永辉
Current Assignee (The listed assignees may be inaccurate. Google has not performed a legal analysis and makes no representation or warranty as to the accuracy of the list.)
Northeast Petroleum University
Original Assignee
Northeast Petroleum University
Priority date (The priority date is an assumption and is not a legal conclusion. Google has not performed a legal analysis and makes no representation as to the accuracy of the date listed.)
Filing date
Publication date
Application filed by Northeast Petroleum University filed Critical Northeast Petroleum University
Priority to CN 201220251642 priority Critical patent/CN202608376U/en
Application granted granted Critical
Publication of CN202608376U publication Critical patent/CN202608376U/en
Anticipated expiration legal-status Critical
Expired - Fee Related legal-status Critical Current

Links

Images

Landscapes

  • Drawing Aids And Blackboards (AREA)

Abstract

一种英语教学用吸尘粉笔擦。主要解决现有的教学粉笔擦仅为结构简单的软毛刷加底板的结构,不具备吸尘功能,擦黑板时会带起大量灰尘,对教师身体有害的问题。其特征在于:吸尘粉笔擦由固定于黑板上下侧的导轨以及位于导轨上的带导轮的吸尘盒构成。吸尘盒由盒体、软布刷构成,盒体内置有空心轴微电机和通过联轴器连接的空心吸尘风扇,盒体的侧壁开有粉尘吸入孔,与微电机空心轴相联通的吸尘管连接于盒体顶端,可通过吸尘管将粉尘导出。所述吸尘粉笔擦能够在擦黑板的同时自动吸走弥漫的粉尘,最大限度降低了授课教师的身体免受粉尘影响。

Figure 201220251642

A dusting chalk wipe for English teaching. The utility model mainly solves the problem that the existing teaching chalk eraser is only a soft brush with a simple structure and a bottom plate, does not have a dust collection function, and will bring a large amount of dust when wiping the blackboard, which is harmful to teachers. It is characterized in that: the dust-absorbing chalk eraser is composed of guide rails fixed on the upper and lower sides of the blackboard and a dust-absorbing box with guide wheels on the guide rails. The dust collection box is composed of a box body and a soft cloth brush. The box body has a built-in hollow shaft micro-motor and a hollow suction fan connected by a coupling. The side wall of the box body has a dust suction hole, which is connected with the hollow shaft of the micro-motor. The dust suction pipe is connected to the top of the box body, and the dust can be exported through the dust suction pipe. The dust-absorbing chalk eraser can automatically suck away diffused dust while wiping the blackboard, which minimizes the influence of dust on the body of teachers.

Figure 201220251642

Description

English teaching is used the dust suction chalkboard eraser
Technical field
The utility model relates to a kind of aided education office device that is applied in the English teaching usefulness.
Background technology
Use the blackboard eraser that in the English teaching field, is used to provide teacher's writing on the blackboard to use to be merely the structure that banister brush simple in structure adds base plate at present, do not possess dust-absorbing function.Because process of English teaching needs a large amount of writings on the blackboard, the teacher at school during, can take up amounts of dust when erasing the board, influenced the healthy of teacher to a great extent.
Summary of the invention
The technical problem of mentioning in order to solve in the background technology; The utility model provides a kind of English teaching to use the dust suction chalkboard eraser; This kind dust suction chalkboard eraser aims at the English teacher and imparts knowledge to students with design; Can when the teacher erases the board, dust be sucked dust-absorbing box, guarantee that preferably the English teacher's is healthy.
The technical scheme of the utility model is: this kind English teaching is used the dust suction chalkboard eraser; Constitute by guide rail that is fixed in the blackboard upper/lower terminal and dust-absorbing box; Its unique distinction is: said guide rail is divided into upper rail and lower guideway two parts, and said dust-absorbing box also is divided into dust-absorbing box and following dust-absorbing box two parts, and last dust-absorbing box is connected with the box body of following dust-absorbing box through hollow; Be fixed with connecting plate on the box body, the upper and lower end of said connecting plate passes through connecting axle fixedly upper block and lower tumbler respectively; Said upper block and lower tumbler match with upper rail and lower guideway respectively and horizontally slip along guide rail with realization; The inboard of said box body is fixed with the soft cloth brush; Be equipped with hollow shaft micro machine and the hollow dust absorption fan that is connected through shaft coupling respectively in last dust-absorbing box and the following dust-absorbing box; The sidewall of dust suction box body has the dust inlet hole, and the sweep-up pipe that links with the hollow shaft of said micro machine is drawn by dust suction box body end to be put in the box body.
In addition, teacher's use for ease for bearing pin is connected, can be dismantled between dust-absorbing box and the box body, convenient dust of deriving in the dust-absorbing box.And, being connected with handle at upper junction plate, the teacher can hand and horizontally slip, and can make things convenient for blackboard wiping.
The utlity model has following beneficial effect: this kind English teaching is made up of guide rail and dust-absorbing box with the dust suction chalkboard eraser, and two parts about the dust-absorbing box branch, all can on guide rail, move, and makes things convenient for teacher's use.And the teacher is when erasing the board, and inner hollow shaft micro machine and the hollow dust absorption fan of dust-absorbing box worked simultaneously, with siphoning away the dust that fills the air automatically, guaranteed the health of teacher's health.Apparatus structure is novel, and is easy to use, has stronger practicality.
Description of drawings:
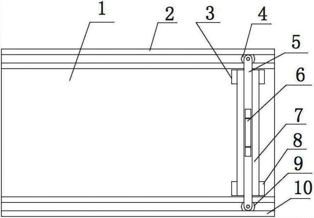
Fig. 1 is the structural representation of the utility model.
1-blackboard among the figure, 2-upper rail, the last dust-absorbing box of 3-, 4-upper block, 5-connecting plate, 6-handle, 7-box body, dust-absorbing box under the 8-, 9-lower tumbler, 10-lower guideway.
The specific embodiment:
Below in conjunction with accompanying drawing the utility model is described further:
By shown in Figure 1; This kind English teaching is used the dust suction chalkboard eraser, is made up of the guide rail and the dust-absorbing box that are fixed in blackboard 1 upper/lower terminal, and its unique distinction is: said guide rail is divided into upper rail 2 and lower guideway 10 2 parts; Said dust-absorbing box also is divided into dust-absorbing box 3 and following dust-absorbing box 8 two parts; Last dust-absorbing box 3 is connected with the box body 7 of following dust-absorbing box 8 through hollow, is fixed with connecting plate 5 on the box body 7, and the upper and lower end of said connecting plate 5 passes through connecting axle fixedly upper block 4 and lower tumbler 9 respectively; Said upper block 4 matches with upper rail 2 and lower guideway 10 respectively with lower tumbler 9 and horizontally slips along guide rail with realization.The inboard of said box body 7 is fixed with the soft cloth brush; Be equipped with hollow shaft micro machine and the hollow dust absorption fan that is connected through shaft coupling respectively in last dust-absorbing box 3 and the following dust-absorbing box 8; The sidewall of dust suction box body has the dust inlet hole, and the sweep-up pipe that links with the hollow shaft of said micro machine is drawn by dust suction box body end to be put in the box body 7.
During application; With fixing on the blackboard of this kind device in the classroom; Serve as a teacher when erasing the board, energized and control circuit, hollow shaft micro machine and hollow dust absorption fan are worked simultaneously; Can automatically the dust that fills the air be sucked dust-absorbing box, afterwards can be through being connected in the box body top and deriving with the sweep-up pipe that the micro machine hollow shaft links.Can clear up dust after at last box body being taken out.
In addition; Teacher's use for ease; For bearing pin is connected, can dismantle between dust-absorbing box and the box body, the teacher not only derives the dust in the dust-absorbing box like this; And can carry out irregular maintenance and maintenance to the micro machine and the dust absorption fan of dust-absorbing box inside, exempted because long-term work micro machine and the not good situation of dust absorption fan work.
In addition, can on connecting plate, be connected with handle, the teacher can hand handle and horizontally slip, and can make things convenient for blackboard wiping.Avoided constantly to brandish arm and also being difficult to the phenomenon wiped clean because existing chalkboard eraser is too small.

Claims (3)

1.一种英语教学用吸尘粉笔擦,由固定于黑板(1)上、下两端的导轨和吸尘盒构成,其特征在于:所述导轨分为上导轨(2)和下导轨(10) 二部分,所述吸尘盒亦分为上吸尘盒(3) 和下吸尘盒(8)二部分,上吸尘盒(3) 和下吸尘盒(8)通过中空的盒体(7)相连接,盒体(7)上固定有连接板(5),所述连接板(5)的上、下端分别通过连接轴固定上导轮(4)和下导轮(9);所述上导轮(4) 和下导轮(9)分别与上导轨(2)和下导轨(10)相配合以实现沿导轨而左右滑动;所述盒体(7)的里侧固定有软布刷,上吸尘盒(3) 和下吸尘盒(8)内分别置有空心轴微电机和通过联轴器连接的空心吸尘风扇,吸尘盒体的侧壁开有粉尘吸入孔,与所述微电机的空心轴相联通的吸尘管由吸尘盒体端引置盒体(7)内。 1. A dust-absorbing chalk wipe for English teaching is composed of a guide rail and a dust-absorbing box fixed on the upper and lower ends of the blackboard (1), and is characterized in that: the guide rail is divided into an upper guide rail (2) and a lower guide rail (10 ) two parts, the dust collection box is also divided into two parts, the upper dust collection box (3) and the lower dust collection box (8), the upper dust collection box (3) and the lower dust collection box (8) pass through the hollow box body (7) connected with each other, the box body (7) is fixed with a connecting plate (5), and the upper and lower ends of the connecting plate (5) are respectively fixed to the upper guide wheel (4) and the lower guide wheel (9) through the connecting shaft; The upper guide wheel (4) and the lower guide wheel (9) cooperate with the upper guide rail (2) and the lower guide rail (10) respectively to slide left and right along the guide rail; the inner side of the box body (7) is fixed with A soft cloth brush, a hollow-shaft micro-motor and a hollow dust-absorbing fan connected by a coupling are installed in the upper dust-absorbing box (3) and the lower dust-absorbing box (8), respectively, and the side wall of the dust-absorbing box has a dust suction The hole, the dust suction pipe connected with the hollow shaft of the micro-motor is introduced in the box body (7) by the dust suction box body end. 2.根据权利要求1所述的英语教学用吸尘粉笔擦,其特征在于:所述吸尘盒与盒体(7)之间为销轴连接。 2. The dust-absorbing chalk eraser for English teaching according to claim 1, characterized in that: the dust-absorbing box and the box body (7) are connected by pin shafts. 3.根据权利要求1所述的英语教学用吸尘粉笔擦,其特征在于:在所述连接板(5)上固定有把手。 3. The dust-absorbing chalk eraser for English teaching according to claim 1, characterized in that: a handle is fixed on the connecting plate (5).
CN 201220251642 2012-05-31 2012-05-31 Dust-collecting chalk eraser for English teaching Expired - Fee Related CN202608376U (en)

Priority Applications (1)

Application Number Priority Date Filing Date Title
CN 201220251642 CN202608376U (en) 2012-05-31 2012-05-31 Dust-collecting chalk eraser for English teaching

Applications Claiming Priority (1)

Application Number Priority Date Filing Date Title
CN 201220251642 CN202608376U (en) 2012-05-31 2012-05-31 Dust-collecting chalk eraser for English teaching

Publications (1)

Publication Number Publication Date
CN202608376U true CN202608376U (en) 2012-12-19

Family

ID=47342103

Family Applications (1)

Application Number Title Priority Date Filing Date
CN 201220251642 Expired - Fee Related CN202608376U (en) 2012-05-31 2012-05-31 Dust-collecting chalk eraser for English teaching

Country Status (1)

Country Link
CN (1) CN202608376U (en)

Cited By (6)

* Cited by examiner, † Cited by third party
Publication number Priority date Publication date Assignee Title
CN103264599A (en) * 2013-05-08 2013-08-28 健雄职业技术学院 Automatic blackboard eraser
CN103818165A (en) * 2014-03-17 2014-05-28 成都理工大学 Dustproof blackboard wiping device
CN106114016A (en) * 2016-08-09 2016-11-16 安徽工程大学机电学院 Blackboard eraser
CN106827905A (en) * 2017-02-15 2017-06-13 上海应用技术大学 Multi-functional blackboard cleaner
CN107499033A (en) * 2017-07-18 2017-12-22 安徽卓特信息技术有限公司 Blackboard cleaning device
CN107499029A (en) * 2017-07-19 2017-12-22 安徽卓特信息技术有限公司 A kind of blackboard convenient for cleaning

Cited By (7)

* Cited by examiner, † Cited by third party
Publication number Priority date Publication date Assignee Title
CN103264599A (en) * 2013-05-08 2013-08-28 健雄职业技术学院 Automatic blackboard eraser
CN103818165A (en) * 2014-03-17 2014-05-28 成都理工大学 Dustproof blackboard wiping device
CN106114016A (en) * 2016-08-09 2016-11-16 安徽工程大学机电学院 Blackboard eraser
CN106827905A (en) * 2017-02-15 2017-06-13 上海应用技术大学 Multi-functional blackboard cleaner
CN106827905B (en) * 2017-02-15 2018-07-31 上海应用技术大学 Multi-functional blackboard cleaner
CN107499033A (en) * 2017-07-18 2017-12-22 安徽卓特信息技术有限公司 Blackboard cleaning device
CN107499029A (en) * 2017-07-19 2017-12-22 安徽卓特信息技术有限公司 A kind of blackboard convenient for cleaning

Similar Documents

Publication Publication Date Title
CN202608376U (en) Dust-collecting chalk eraser for English teaching
CN204398706U (en) English teaching blackboard washing wiping drying device
CN204222496U (en) Automatic dust absorption chalkboard eraser
CN203358144U (en) Blackboard eraser with dust collection function for English teaching
CN201235691Y (en) Electric blackboard eraser
CN203528156U (en) Multifunctional dust-collection type blackboard eraser
CN201313462Y (en) Blackboard eraser
CN201089301Y (en) Convenient blackboard
CN207657477U (en) A kind of primary school math teaching blackboard
CN206170982U (en) Novel automatic blackboard eraser
CN202271725U (en) Wet machine erasing blackboard
CN206551745U (en) It is a kind of to improve the assistant teaching aid of classroom efficiency
CN206678651U (en) A kind of blackboard for English teaching wipes dirt device
CN201015940Y (en) Automatic dust-absorption blackboard eraser machine
CN202293949U (en) Remote control blackboard eraser
CN209756556U (en) English translation is with teaching board with dustproof function
CN201626217U (en) Multi-purpose electrostatic dedusting eraser
CN201217332Y (en) Dust absorption blackboard
CN205044369U (en) Blackboard used for language teaching
CN205890330U (en) Automatic blackboard of cleaning
CN201073884Y (en) Electric dust-absorbing blackboard eraser
CN201998702U (en) Improved blackboard eraser
CN207510076U (en) A kind of teaching aid has the blackboard for education of chalk ash collection function
CN212267076U (en) A smart campus teaching blackboard
CN204977987U (en) Multifunctional blackboard eraser

Legal Events

Date Code Title Description
C14 Grant of patent or utility model
GR01 Patent grant
C17 Cessation of patent right
CF01 Termination of patent right due to non-payment of annual fee

Granted publication date: 20121219

Termination date: 20140531