CN202608375U - 一种可再造粉笔的黑板擦 - Google Patents
一种可再造粉笔的黑板擦 Download PDFInfo
- Publication number
- CN202608375U CN202608375U CN 201220250787 CN201220250787U CN202608375U CN 202608375 U CN202608375 U CN 202608375U CN 201220250787 CN201220250787 CN 201220250787 CN 201220250787 U CN201220250787 U CN 201220250787U CN 202608375 U CN202608375 U CN 202608375U
- Authority
- CN
- China
- Prior art keywords
- blackboard eraser
- main body
- blackboard
- chalk
- reproduces
- Prior art date
- Legal status (The legal status is an assumption and is not a legal conclusion. Google has not performed a legal analysis and makes no representation as to the accuracy of the status listed.)
- Expired - Fee Related
Links
- 239000000428 dust Substances 0.000 claims abstract description 12
- 238000010521 absorption reaction Methods 0.000 claims description 7
- 239000004744 fabric Substances 0.000 abstract 2
- 239000000843 powder Substances 0.000 description 9
- 210000003800 pharynx Anatomy 0.000 description 2
- 230000015572 biosynthetic process Effects 0.000 description 1
- 238000004519 manufacturing process Methods 0.000 description 1
- 210000001331 nose Anatomy 0.000 description 1
Images
Landscapes
- Drawing Aids And Blackboards (AREA)
Abstract
本实用新型涉及一种可再造粉笔的黑板擦,属于黑板擦结构技术领域。一种可再造粉笔的黑板擦,包括黑板擦主体,黑板擦主体正面设置有擦布,黑板擦主体内部为中空,其内部安装有小型吸尘风机,擦布上设置有与黑板擦内部相连通的吸尘孔;其内部安装有与吸尘风机相连的粉笔再造器;其左侧设有电池槽以安放电池,右侧设有磁铁以使黑板擦吸附在磁性黑板上;其背部设有指示灯及开关。本实用新型一种可再造粉笔的黑板擦,不仅能够吸收粉末,保护人体健康,又能利用擦拭后的粉末再造粉笔,节约资源,给使用者带来极大便利。
Description
一、技术领域
本实用新型涉及一种可再造粉笔的黑板擦,属于黑板擦结构技术领域。
二、背景技术
长久以来,黑板一直作为课堂教学的必用品,供教师与学生书写教学资料。但黑板面积有限,需用黑板擦不断擦拭以书写新的内容,擦拭时粉笔灰漫天飞舞,不仅影响教师妆容,而且常年生活在擦拭黑板后的粉笔灰中,易引起鼻、咽、喉部不适。
三、发明内容
本实用新型的目的在于解决上述已有技术存在的不足之处,提供一种结构简捷、设计合理、节约资源的一种可再造粉笔黑板擦。
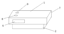
本实用新型的一种可再造粉笔的黑板擦,包括黑板擦主体1,黑板擦主体正面设置有擦布2,其特殊之处在于黑板擦主体内部为中空,其内部安装有小型吸尘风机3,擦布上设置有与黑板擦内部相连通的吸尘孔4;
所述可再造粉笔的黑板擦,其内部安装有与吸尘风机相连的粉笔再造器5,吸收的粉末均储存在该设备中,以制备新的粉笔;
所述可再造粉笔的黑板擦,其左侧设有电池槽6以安放电池,右侧设有磁铁7以使黑板擦吸附在磁性黑板上;
所述可再造粉笔的黑板擦,其背部设有指示灯8及开关9。
本实用新型一种可再造粉笔的黑板擦,不仅能够吸收粉末,保护人体健康,又能利用擦拭后的粉末再造粉笔,节约资源,给使用者带来极大便利。
四、附图说明
图1:本实用新型可再造粉笔黑板擦的结构示意图;
图2:黑板主体背面结构示意图;
图3:黑板主体内部结构示意图;
图中:1:黑板擦主体;2:擦布;3:吸尘风机;4:吸尘孔;5:粉笔再造器;6:电池槽;7:磁铁;8:指示灯;9:开关。
五、具体实施方式
以下参照附图,给出本实用新型的具体实施方式,用来对本实用新型的构成进行进一步说明。
一种可再造粉笔的黑板擦,包括黑板擦主体1,黑板擦主体正面设置有擦布2,黑板擦主体内部为中空,其内部安装有小型吸尘风机3,擦布上设置有与黑板擦内部相连通的吸尘孔4;其内部安装有与吸尘风机相连的粉笔再造器5,吸收的粉末均储存在该设备中,以制备新的粉笔;其左侧设有电池槽6以安放电池,右侧设有磁铁7以使黑板擦吸附在磁性黑板上;其背部设有指示灯8及开关9。
擦拭黑板时,打开开关,指示灯亮,小型吸尘风机通过吸尘孔将粉末吸收到吸尘风机相连的粉笔再造设备,储存够粉末时设备将粉末制造成粉笔;擦拭完黑板时,关闭开关,将黑板擦吸附在磁性黑板上。
本实用新型一种可再造粉笔的黑板擦,不仅能够吸收粉末,保护人体健康,又能利用擦拭后的粉末再造粉笔,节约资源,给使用者带来极大便利。
Claims (4)
1.一种可再造粉笔的黑板擦,包括黑板擦主体(1),黑板擦主体正面设置有擦布(2),其特征在于黑板擦主体内部为中空,其内部安装有小型吸尘风机(3),擦布上设置有与黑板擦内部相连通的吸尘孔(4) 。
2. 如权利要求1所述的可再造粉笔的黑板擦,其特征在于内部安装有与吸尘风机相连的粉笔再造器(5)。
3.如权利要求1所述的可再造粉笔的黑板擦,其特征在于左侧设有电池槽(6)以安放电池,右侧设有磁铁(7)以使黑板擦吸附在磁性黑板上。
4.如权利要求1所述的可再造粉笔的黑板擦,其特征在于背部设有指示灯(8)及开关(9)。
Priority Applications (1)
| Application Number | Priority Date | Filing Date | Title |
|---|---|---|---|
| CN 201220250787 CN202608375U (zh) | 2012-05-31 | 2012-05-31 | 一种可再造粉笔的黑板擦 |
Applications Claiming Priority (1)
| Application Number | Priority Date | Filing Date | Title |
|---|---|---|---|
| CN 201220250787 CN202608375U (zh) | 2012-05-31 | 2012-05-31 | 一种可再造粉笔的黑板擦 |
Publications (1)
| Publication Number | Publication Date |
|---|---|
| CN202608375U true CN202608375U (zh) | 2012-12-19 |
Family
ID=47342102
Family Applications (1)
| Application Number | Title | Priority Date | Filing Date |
|---|---|---|---|
| CN 201220250787 Expired - Fee Related CN202608375U (zh) | 2012-05-31 | 2012-05-31 | 一种可再造粉笔的黑板擦 |
Country Status (1)
| Country | Link |
|---|---|
| CN (1) | CN202608375U (zh) |
-
2012
- 2012-05-31 CN CN 201220250787 patent/CN202608375U/zh not_active Expired - Fee Related
Similar Documents
| Publication | Publication Date | Title |
|---|---|---|
| CN203210961U (zh) | 多功能黑板擦 | |
| CN202608375U (zh) | 一种可再造粉笔的黑板擦 | |
| CN205468160U (zh) | 一种基于msp430的自动寻字可控黑板擦 | |
| CN202345208U (zh) | 一种电动板擦 | |
| CN103448434A (zh) | 一种循环利用的黑板擦 | |
| CN204567052U (zh) | 一种可收集粉笔灰的环保新型黑板 | |
| CN202935048U (zh) | 防尘黑板擦 | |
| CN202847261U (zh) | 可伸缩的干湿黑板擦 | |
| CN202986564U (zh) | 一种防尘黑板刷 | |
| CN205705888U (zh) | 可充电吸灰黑板擦 | |
| CN202413112U (zh) | 一种环保黑板 | |
| CN204210215U (zh) | 一种多功能黑板擦 | |
| CN202641186U (zh) | 一种防尘黑板擦 | |
| CN204136660U (zh) | 一种环保黑板擦 | |
| CN204870245U (zh) | 一种教学用可自动吸粉笔灰的粉笔擦 | |
| CN202641184U (zh) | 一种电动黑板擦 | |
| CN202413192U (zh) | 一种环保型黑板擦 | |
| CN201693942U (zh) | 黑板擦 | |
| CN201863591U (zh) | 吸粉笔灰的粉笔刷 | |
| CN203046649U (zh) | 易用型黑板擦 | |
| CN202242636U (zh) | 黑板擦 | |
| CN201998701U (zh) | 一种吸粉尘的黑板刷 | |
| CN203149880U (zh) | 电子黑板 | |
| CN204472333U (zh) | 吸尘板擦 | |
| CN205185642U (zh) | 一种多功能粉笔套 |
Legal Events
| Date | Code | Title | Description |
|---|---|---|---|
| C14 | Grant of patent or utility model | ||
| GR01 | Patent grant | ||
| C17 | Cessation of patent right | ||
| CF01 | Termination of patent right due to non-payment of annual fee |
Granted publication date: 20121219 Termination date: 20130531 |