CN202591437U - 冲床自动喷石墨装置 - Google Patents

冲床自动喷石墨装置 Download PDF

Info

Publication number
CN202591437U
CN202591437U CN 201220108693 CN201220108693U CN202591437U CN 202591437 U CN202591437 U CN 202591437U CN 201220108693 CN201220108693 CN 201220108693 CN 201220108693 U CN201220108693 U CN 201220108693U CN 202591437 U CN202591437 U CN 202591437U
Authority
CN
China
Prior art keywords
graphite
slide block
sliding cylinder
punch press
air cylinder
Prior art date
Legal status (The legal status is an assumption and is not a legal conclusion. Google has not performed a legal analysis and makes no representation as to the accuracy of the status listed.)
Expired - Lifetime
Application number
CN 201220108693
Other languages
English (en)
Inventor
吴启军
Current Assignee (The listed assignees may be inaccurate. Google has not performed a legal analysis and makes no representation or warranty as to the accuracy of the list.)
WEINATE AIR VALVES CO Ltd ZHENJIANG
Original Assignee
WEINATE AIR VALVES CO Ltd ZHENJIANG
Priority date (The priority date is an assumption and is not a legal conclusion. Google has not performed a legal analysis and makes no representation as to the accuracy of the date listed.)
Filing date
Publication date
Application filed by WEINATE AIR VALVES CO Ltd ZHENJIANG filed Critical WEINATE AIR VALVES CO Ltd ZHENJIANG
Priority to CN 201220108693 priority Critical patent/CN202591437U/zh
Application granted granted Critical
Publication of CN202591437U publication Critical patent/CN202591437U/zh
Anticipated expiration legal-status Critical
Expired - Lifetime legal-status Critical Current

Links

Images

Landscapes

  • Forging (AREA)
  • Mounting, Exchange, And Manufacturing Of Dies (AREA)

Abstract

本实用新型涉及一种冲床自动喷石墨装置,由转套、固定板、滑块、调整丝杆、滑动气缸固定支架、滑动气缸、喷墨枪等部件构成,喷墨枪和滑动气缸相连,滑动气缸设置在滑动气缸固定支架上,和滑块相连,转套和调整丝杆相连,设置在固定板上,位于滑块的下方,所述的喷墨枪有两个管道,一侧为石墨进料管,另一侧为气管,在喷嘴侧边处还有一个调节阀,本实用新型能节省石墨润滑剂用量,同时避免了原油剂石墨四处飞溅,污染设备以污染环境。

Description

冲床自动喷石墨装置
技术领域
本实用新型涉及一种自动喷石墨装置,尤其是指一种在冲床上用的自动喷石墨装置。
背景技术
随着企业规模的不断扩大,企业管理日趋规范,对企业的整体环境提出了更高要求。锻压车间因模具润滑需要,原采用油剂石墨润滑,手工涂抹进行操作,锻打时石墨四处飞溅,浪费严重,设备及设备四周均为石墨,且油烟较多,环境很差。针对此现象,现采用水剂石墨自动喷淋装置(图3所示),滑块上移后喷枪通过气动滑至模腔位置进行定时定量喷洒,解决了:①、节约了石墨润滑剂,只有原用量的一半;②、因采用的是水剂石墨,消除了油烟,仅存在对人体无害的水雾;③水剂石墨均匀分布在模具型腔,避免了原油剂石墨四处飞溅,污染设备以污染环境。
发明内容
发明目的:提供一种节省石墨润滑剂用量,不产生油烟,保护环境的一种冲床自动喷石墨装置。
技术方案:本实用新型的一种冲床自动喷石墨装置,由转套、固定板、滑块、调整丝杆、滑动气缸固定支架、滑动气缸、喷墨枪等部件构成,喷墨枪和滑动气缸相连,滑动气缸设置在滑动气缸固定支架上,和滑块相连,转套和调整丝杆相连,设置在固定板上,位于滑块的下方,所述的喷墨枪有两个管道,一侧为石墨进料管,另一侧为气管,在喷嘴侧边处还有一个调节阀,主要调节气流的大小。
比较优化的技术方案还包括自动喷石墨装置上还设置有上下移动气缸,控制自动喷石墨装置的上下移动。
转套的作用主要是有利于喷枪对于模具型腔位置的调节以及模具装卸的便利。调整丝杆的作用主要是调节喷头相对于模具型腔高度位置。滑动气缸主要是控制喷墨装置的前后移动。上下移动气缸主要是控制喷墨装置手柄的上下移动。
当操纵气缸后腔充气,活塞向上移动,冲床冲头在飞轮的带动下提升至行程开关上限时,自动喷墨装置前伸至模具型腔上方,这时喷嘴喷出高速气流和石墨。根据射流原理,稀释后的石墨呈雾状喷至模具型腔表面起润滑作用。喷完石墨后的喷枪立即返回至原始位置,随后轻踩脚踏开关,这时电磁开关动作,操纵气缸前腔充气,下拉操纵杆,带动冲头向下移动锻打气门。
有益效果:1、节省石墨润滑剂用量,2、避免了原油剂石墨四处飞溅,污染设备以污染环境。
附图说明
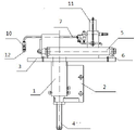
图1是冲床自动喷石墨装置结构示意图。
图2是喷墨枪结构示意图。
图3是自动喷石墨装置在冲床部位示意图。
以上的图中有1、转套;2、固定板;3、滑块;4、调整丝杆;5、滑动气缸固定支架;6、滑动气缸;7,喷墨枪;8,石墨进料管;9,气管;10、调节阀;11、上下移动气缸;12、喷嘴。
具体实施方式
下面结合图1-3,对本实用新型作进一步说明,一种冲床自动喷石墨装置,由转套1、固定板2、滑块3、调整丝杆4、滑动气缸固定支架5、滑动气缸6、喷墨枪7等部件构成,喷墨枪7和滑动气缸6相连,滑动气缸6设置在滑动气缸固定支架5上,和滑块3相连,转套1和调整丝杆4相连,设置在固定板2上,位于滑块3的下方,所述的喷墨枪7有两个管道,一侧为石墨进料管8,另一侧为气管9,在喷嘴12侧边处还有一个调节阀10,主要调节气流的大小。自动喷石墨装置上还设置有上下移动气缸11,控制自动喷石墨装置的上下移动。 

Claims (2)

1.一种冲床自动喷石墨装置,由转套、固定板、滑块、调整丝杆、滑动气缸固定支架、滑动气缸、喷墨枪构成,喷墨枪和滑动气缸相连,滑动气缸设置在滑动气缸固定支架上,和滑块相连,转套和调整丝杆相连,设置在固定板上,位于滑块的下方,所述的喷墨枪有两个管道,一侧为石墨进料管,另一侧为气管,在喷嘴侧边处还有一个调节阀,主要调节气流的大小。
2.根据权利要求1所述的冲床自动喷石墨装置,其特征在于自动喷石墨装置上还设置有上下移动气缸,控制自动喷石墨装置的上下移动。
CN 201220108693 2012-03-22 2012-03-22 冲床自动喷石墨装置 Expired - Lifetime CN202591437U (zh)

Priority Applications (1)

Application Number Priority Date Filing Date Title
CN 201220108693 CN202591437U (zh) 2012-03-22 2012-03-22 冲床自动喷石墨装置

Applications Claiming Priority (1)

Application Number Priority Date Filing Date Title
CN 201220108693 CN202591437U (zh) 2012-03-22 2012-03-22 冲床自动喷石墨装置

Publications (1)

Publication Number Publication Date
CN202591437U true CN202591437U (zh) 2012-12-12

Family

ID=47309020

Family Applications (1)

Application Number Title Priority Date Filing Date
CN 201220108693 Expired - Lifetime CN202591437U (zh) 2012-03-22 2012-03-22 冲床自动喷石墨装置

Country Status (1)

Country Link
CN (1) CN202591437U (zh)

Cited By (5)

* Cited by examiner, † Cited by third party
Publication number Priority date Publication date Assignee Title
CN104475589A (zh) * 2014-11-26 2015-04-01 镇江维纳特气门有限公司 一种冲床自动喷墨装置专用喷墨枪
CN105149488A (zh) * 2015-07-28 2015-12-16 浙江亿洋工具制造有限公司 用于红冲模锻造自动喷墨装置及其喷墨方法
CN109772916A (zh) * 2019-03-20 2019-05-21 江铃集团山东华岳车辆部件有限公司 自动喷涂石墨乳的模具冷却润滑装置
CN110653314A (zh) * 2019-08-13 2020-01-07 安徽省合肥汽车锻件有限责任公司 一种摩擦压力机喷淋设备用密封结构
US11033943B2 (en) 2017-09-13 2021-06-15 Ford Motor Company Mechanical applicator for use in stamping die process to apply thermo-chromatic ink to aluminum heat treated panels

Cited By (6)

* Cited by examiner, † Cited by third party
Publication number Priority date Publication date Assignee Title
CN104475589A (zh) * 2014-11-26 2015-04-01 镇江维纳特气门有限公司 一种冲床自动喷墨装置专用喷墨枪
CN105149488A (zh) * 2015-07-28 2015-12-16 浙江亿洋工具制造有限公司 用于红冲模锻造自动喷墨装置及其喷墨方法
US11033943B2 (en) 2017-09-13 2021-06-15 Ford Motor Company Mechanical applicator for use in stamping die process to apply thermo-chromatic ink to aluminum heat treated panels
CN109772916A (zh) * 2019-03-20 2019-05-21 江铃集团山东华岳车辆部件有限公司 自动喷涂石墨乳的模具冷却润滑装置
CN109772916B (zh) * 2019-03-20 2024-03-15 江铃集团山东华岳车辆部件有限公司 自动喷涂石墨乳的模具冷却润滑装置
CN110653314A (zh) * 2019-08-13 2020-01-07 安徽省合肥汽车锻件有限责任公司 一种摩擦压力机喷淋设备用密封结构

Similar Documents

Publication Publication Date Title
CN202591437U (zh) 冲床自动喷石墨装置
CN105478279A (zh) 锻造脱模剂自动喷涂装置
CN208935779U (zh) 一种适用于推料丝杆的润滑装置
CN105363931B (zh) 一种自动润滑的导柱导套组件
CN206622254U (zh) 一种用于机械加工的喷涂设备
CN206999249U (zh) 一种涂油装置
CN113734445A (zh) 一种无人机带电除锈装置及其作业方法
CN201930895U (zh) 一种全自动轴承涂油装置
CN204603261U (zh) 压铸机压射冲头自动喷油润滑装置
CN203533150U (zh) 用于风力发电机变桨齿轮的润滑脂自动喷射装置
CN203494686U (zh) 一种汽动型高压无气喷涂设备
CN204094076U (zh) 一种用于铸造造型线的喷涂装置
CN202411620U (zh) 一种带有喷印功能的火切机
CN201596746U (zh) 打刀片铆钉座
CN201889435U (zh) 一种用于气门座圈制造的二次粉料充填装置
CN201251003Y (zh) 喷涂机械手线性导轨润滑系统
CN204413110U (zh) 一种新型冲头润滑及料槽吹气一体装置
CN202965485U (zh) 一种喷墨方式的移印机
CN204735376U (zh) 一种用于发动机缸体的喷油装置
CN203765756U (zh) 一种新型压砖机伺服顶出装置
CN203887319U (zh) 一种铝材中断锯的锯片喷雾润滑装置
CN105215229A (zh) 汽车压缩机活塞成型加工设备
CN218361669U (zh) 自动喷油器
CN102524323B (zh) 一种自动喷蛋糊装置
CN205165688U (zh) 一种压力机

Legal Events

Date Code Title Description
C14 Grant of patent or utility model
GR01 Patent grant
CX01 Expiry of patent term

Granted publication date: 20121212

CX01 Expiry of patent term