CN202539230U - Single-pass drawing tension enhancing device - Google Patents

Single-pass drawing tension enhancing device Download PDF

Info

Publication number
CN202539230U
CN202539230U CN2012201236963U CN201220123696U CN202539230U CN 202539230 U CN202539230 U CN 202539230U CN 2012201236963 U CN2012201236963 U CN 2012201236963U CN 201220123696 U CN201220123696 U CN 201220123696U CN 202539230 U CN202539230 U CN 202539230U
Authority
CN
China
Prior art keywords
panel
regulating
pass drawing
drawing tension
tension force
Prior art date
Legal status (The legal status is an assumption and is not a legal conclusion. Google has not performed a legal analysis and makes no representation as to the accuracy of the status listed.)
Expired - Fee Related
Application number
CN2012201236963U
Other languages
Chinese (zh)
Inventor
胡建祥
翁海青
Current Assignee (The listed assignees may be inaccurate. Google has not performed a legal analysis and makes no representation or warranty as to the accuracy of the list.)
JIANGYIN XIANGRUI STAINLESS STEEL FINE WIRE CO Ltd
Original Assignee
JIANGYIN XIANGRUI STAINLESS STEEL FINE WIRE CO Ltd
Priority date (The priority date is an assumption and is not a legal conclusion. Google has not performed a legal analysis and makes no representation as to the accuracy of the date listed.)
Filing date
Publication date
Application filed by JIANGYIN XIANGRUI STAINLESS STEEL FINE WIRE CO Ltd filed Critical JIANGYIN XIANGRUI STAINLESS STEEL FINE WIRE CO Ltd
Priority to CN2012201236963U priority Critical patent/CN202539230U/en
Application granted granted Critical
Publication of CN202539230U publication Critical patent/CN202539230U/en
Anticipated expiration legal-status Critical
Expired - Fee Related legal-status Critical Current

Links

Images

Landscapes

  • Devices For Post-Treatments, Processing, Supply, Discharge, And Other Processes (AREA)

Abstract

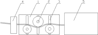
The utility model relates to a single-pass drawing tension enhancing device which comprises a panel (1). A plurality of tension pulleys (2) are arranged on the panel (1) in a longitudinally staggered way; a plurality of adjusting slots (3) are vertically formed on the panel (1); the quantity of the adjusting slots (3) is the same with that of the tension pulleys (2); and central axes of the tension pulleys (2) are clamped in the adjusting slots (3). The single-pass drawing tension enhancing device can effectively improve the drawing effect.

Description

Single pass drawing tension force lifting device
Technical field
The utility model relates to a kind of single pass drawing tension force lifting device.
Background technology
At present, find in the steel wire drawing process that because steel wire lacks tension force, linear effects was bad after the entering drawbench carried out drawing, had influenced the quality of product greatly.
Summary of the invention
The purpose of the utility model is to overcome above-mentioned deficiency, and a kind of single pass drawing tension force lifting device that improves the drawing effect is provided
The purpose of the utility model is achieved in that a kind of single pass drawing tension force lifting device, and said device includes panel, and said panel is staggeredly equipped with a plurality of regulating wheels up and down.
The utility model single pass drawing tension force lifting device vertically is provided with many regulating tanks on the said panel, the quantity of said regulating tank is consistent with the quantity of regulating wheel, and the central shaft of said regulating wheel is placed in the regulating tank.
Compared with prior art, the beneficial effect of the utility model is:
The utility model gets between the drawbench at steel wire steel wire is carried out tension, thereby makes that the steel wire linearity after the drawing is effective.
Description of drawings
Fig. 1 is the structural representation of the utility model single pass drawing tension force lifting device.
Fig. 2 is the vertical view of the utility model single pass drawing tension force lifting device.
Wherein:
Panel 1, regulating wheel 2, regulating tank 3, edger roll 4, drawbench 5.
The specific embodiment
Referring to Fig. 1 and Fig. 2, a kind of single pass drawing tension force lifting device that the utility model relates to, said device includes panel 1; Said panel 1 is staggeredly equipped with a plurality of regulating wheels 2 up and down, and is concrete, vertically is provided with many regulating tanks 3 on the said panel 1; The quantity of said regulating tank 3 is consistent with the quantity of regulating wheel 2, and the central shaft of said regulating wheel 2 is placed in the regulating tank 3, thereby conveniently in use; Regulating wheel 2 is carried out up-down adjustment, played the regulating action of tension force, said panel 1 front end is provided with edger roll 4; Steel wire gets into drawbench 5 under the tension of regulating wheel 2 behind edger roll 4.

Claims (2)

1. single pass drawing tension force lifting device, it is characterized in that: said device includes panel (1), and said panel (1) is staggeredly equipped with a plurality of regulating wheels (2) up and down.
2. a kind of according to claim 1 single pass drawing tension force lifting device; It is characterized in that: vertically be provided with many regulating tanks (3) on the said panel (1); The quantity of said regulating tank (3) is consistent with the quantity of regulating wheel (2), and the central shaft of said regulating wheel (2) is placed in the regulating tank (3).
CN2012201236963U 2012-03-29 2012-03-29 Single-pass drawing tension enhancing device Expired - Fee Related CN202539230U (en)

Priority Applications (1)

Application Number Priority Date Filing Date Title
CN2012201236963U CN202539230U (en) 2012-03-29 2012-03-29 Single-pass drawing tension enhancing device

Applications Claiming Priority (1)

Application Number Priority Date Filing Date Title
CN2012201236963U CN202539230U (en) 2012-03-29 2012-03-29 Single-pass drawing tension enhancing device

Publications (1)

Publication Number Publication Date
CN202539230U true CN202539230U (en) 2012-11-21

Family

ID=47159921

Family Applications (1)

Application Number Title Priority Date Filing Date
CN2012201236963U Expired - Fee Related CN202539230U (en) 2012-03-29 2012-03-29 Single-pass drawing tension enhancing device

Country Status (1)

Country Link
CN (1) CN202539230U (en)

Cited By (2)

* Cited by examiner, † Cited by third party
Publication number Priority date Publication date Assignee Title
CN106040762A (en) * 2016-06-22 2016-10-26 安庆潜江电缆有限公司 Copper wire double-row tensioning machine
CN109239101A (en) * 2018-09-20 2019-01-18 长春福斯汽车电线有限公司 Wire and cable surface defect intelligent checking system

Cited By (2)

* Cited by examiner, † Cited by third party
Publication number Priority date Publication date Assignee Title
CN106040762A (en) * 2016-06-22 2016-10-26 安庆潜江电缆有限公司 Copper wire double-row tensioning machine
CN109239101A (en) * 2018-09-20 2019-01-18 长春福斯汽车电线有限公司 Wire and cable surface defect intelligent checking system

Similar Documents

Publication Publication Date Title
CN202316578U (en) Strip steel descaling device
CN203448584U (en) Straightener for single wires
CN202539230U (en) Single-pass drawing tension enhancing device
CN102357617A (en) Brass flat wire straightening equipment
CN203917434U (en) Production for Steel Wire device
CN202224563U (en) Brass Flat Wire Straightening Equipment
CN202921695U (en) Metal plate repairing outfit
CN201900156U (en) Cone forming machine
CN203003011U (en) Wire straightening device
CN202367112U (en) Steel wire alignment tooling
CN203155692U (en) Flat bar roundness-rolling machine with single motor
CN103495612A (en) Roll-drawing die box device of straight wire drawing machine
CN103846318A (en) Cable tray forming device
CN202963084U (en) Oxidation layer peeling device of wire rod
CN202224564U (en) Brass flat wire straightening device
CN202963119U (en) Bridge frame forming device
CN201720281U (en) Copper bar straightening device
CN204030528U (en) A kind of cable unreeling rack
CN203238393U (en) Tidying device for twisted rope
CN203002814U (en) Stainless steel pipe molding idler wheel support
CN205763037U (en) A kind of nail processing wire drawing rolling subordinate line device
CN202880078U (en) Universal-type gear storage and transportation device
CN202071858U (en) Winding yarn doffing vehicle used for chemical fiber production
CN204108029U (en) A kind of withdrawal straightening machine
CN203091632U (en) Round steel grinding device

Legal Events

Date Code Title Description
C14 Grant of patent or utility model
GR01 Patent grant
CF01 Termination of patent right due to non-payment of annual fee

Granted publication date: 20121121

Termination date: 20150329

EXPY Termination of patent right or utility model