CN202470507U - 太阳能热水器自动上水器 - Google Patents

太阳能热水器自动上水器 Download PDF

Info

Publication number
CN202470507U
CN202470507U CN201220070750.2U CN201220070750U CN202470507U CN 202470507 U CN202470507 U CN 202470507U CN 201220070750 U CN201220070750 U CN 201220070750U CN 202470507 U CN202470507 U CN 202470507U
Authority
CN
China
Prior art keywords
water
water heater
automatic
casing
solar
Prior art date
Legal status (The legal status is an assumption and is not a legal conclusion. Google has not performed a legal analysis and makes no representation as to the accuracy of the status listed.)
Expired - Fee Related
Application number
CN201220070750.2U
Other languages
English (en)
Inventor
杨海良
Current Assignee (The listed assignees may be inaccurate. Google has not performed a legal analysis and makes no representation or warranty as to the accuracy of the list.)
Individual
Original Assignee
Individual
Priority date (The priority date is an assumption and is not a legal conclusion. Google has not performed a legal analysis and makes no representation as to the accuracy of the date listed.)
Filing date
Publication date
Application filed by Individual filed Critical Individual
Priority to CN201220070750.2U priority Critical patent/CN202470507U/zh
Application granted granted Critical
Publication of CN202470507U publication Critical patent/CN202470507U/zh
Anticipated expiration legal-status Critical
Expired - Fee Related legal-status Critical Current

Links

Images

Classifications

    • YGENERAL TAGGING OF NEW TECHNOLOGICAL DEVELOPMENTS; GENERAL TAGGING OF CROSS-SECTIONAL TECHNOLOGIES SPANNING OVER SEVERAL SECTIONS OF THE IPC; TECHNICAL SUBJECTS COVERED BY FORMER USPC CROSS-REFERENCE ART COLLECTIONS [XRACs] AND DIGESTS
    • Y02TECHNOLOGIES OR APPLICATIONS FOR MITIGATION OR ADAPTATION AGAINST CLIMATE CHANGE
    • Y02EREDUCTION OF GREENHOUSE GAS [GHG] EMISSIONS, RELATED TO ENERGY GENERATION, TRANSMISSION OR DISTRIBUTION
    • Y02E10/00Energy generation through renewable energy sources
    • Y02E10/40Solar thermal energy, e.g. solar towers

Landscapes

  • Heat-Pump Type And Storage Water Heaters (AREA)

Abstract

本实用新型涉及一种太阳能热水器,尤其是涉及一种太阳能热水器自动上水器,其主要解决现有的太阳能热水器自动上水很不理想的特点。一种太阳能热水器自动上水器,包括一个外壳,其主要特征在于所述的外壳内部设有一个水位自动控制开关,在外壳上还连接一个出水口,而在外壳的下端连接进水电磁阀,进水电磁阀连接进水管,本实用新型具有结构简单,使用方便等各方面特点。

Description

太阳能热水器自动上水器
技术领域
本实用新型涉及一种太阳能热水器,尤其是涉及一种太阳能热水器自动上水器。 
背景技术
太阳能热水器,一种依靠太阳的热能照射来散热的热水,可这些太阳能热水器采用上水的办法一种是采用看护的手动上水,还有一种是采用自动上水,但是现在自动上水也不是很理想,基本上都是灯太阳能热水器内没有水了才上水,使人在洗澡时往往因为没有水导致无法使用的困扰。 
发明内容
本实用新型的目的是提供一种太阳能热水器自动上水器,其主要解决现有的太阳能热水器自动上水很不理想的特点。 
本实用新型的上述技术问题主要是通过下述技术方案得以解决的。 
本实用新型的一种太阳能热水器自动上水器,包括一个外壳,其主要特征在于所述的外壳内部设有一个水位自动控制开关,在外壳上还连接一个出水口,而在外壳的下端连接进水电磁阀,进水电磁阀连接进水管。 
本实用新型具有结构简单,使用方便等各方面特点。 
附图说明
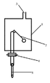
附图1是本实用新型的结构示意图。 
具体实施方式
下面通过实施例,并结合附图对本实用新型的技术方案作进一步的具体说明。 
实施例,如图1所示,本例的一种太阳能热水器自动上水器,包括一个外壳1,其主要特征在于所述的外壳1内部设有一个水位自动控制开关2,在外壳1上还连接一个出水口3,而在外壳1的下端连接进水电磁阀4,进水电磁阀4连接进水管5。 
使用时,打开进水电磁阀,使水流通过水位自动控制开关进入壳内,当水漫过壳体上的出水口时,水便从出水口流向太阳能热水器,当水位达到设定的水位时,水位自动控制开关关闭,停止向太阳能热水器内供水,本设计具有结构简单,使用方便等各方面特点。 

Claims (1)

1.一种太阳能热水器自动上水器,包括一个外壳,其特征在于所述的外壳内部设有一个水位自动控制开关,在外壳上还连接一个出水口,而在外壳的下端连接进水电磁阀,进水电磁阀连接进水管。
CN201220070750.2U 2012-02-29 2012-02-29 太阳能热水器自动上水器 Expired - Fee Related CN202470507U (zh)

Priority Applications (1)

Application Number Priority Date Filing Date Title
CN201220070750.2U CN202470507U (zh) 2012-02-29 2012-02-29 太阳能热水器自动上水器

Applications Claiming Priority (1)

Application Number Priority Date Filing Date Title
CN201220070750.2U CN202470507U (zh) 2012-02-29 2012-02-29 太阳能热水器自动上水器

Publications (1)

Publication Number Publication Date
CN202470507U true CN202470507U (zh) 2012-10-03

Family

ID=46918661

Family Applications (1)

Application Number Title Priority Date Filing Date
CN201220070750.2U Expired - Fee Related CN202470507U (zh) 2012-02-29 2012-02-29 太阳能热水器自动上水器

Country Status (1)

Country Link
CN (1) CN202470507U (zh)

Similar Documents

Publication Publication Date Title
CN202470507U (zh) 太阳能热水器自动上水器
CN204153301U (zh) 一种便捷智能节水龙头
CN203719145U (zh) 电加热控温型太阳能热水器
CN203964381U (zh) 一种电热水器
CN103105077A (zh) 蒸汽加热装置
CN201335554Y (zh) 一种太阳能进出水连接器
CN105805966A (zh) 太阳能热水器水箱
CN202734307U (zh) 太阳能热水器水箱注水自动关闭装置
CN202545991U (zh) 分体式电热水龙头
CN202419978U (zh) 一种新型热水器
CN204240606U (zh) 一种热水器
CN202229453U (zh) 太阳能热水器自动上水装置
CN203453601U (zh) 一种热水储水罐自动泄水装置
CN202501627U (zh) 用于热水器的节水装置
CN203605305U (zh) 一种太阳能电能混合采暖装置
CN103017323B8 (zh) 一种用于太阳能热水器的加热器
CN203132167U (zh) 太阳能热水器控制器
CN105444436A (zh) 一种自动控制关水阀装置
CN203286788U (zh) 太阳能热水器水箱
CN202675704U (zh) 一种太阳能热水器缺水自动报警装置
CN203010986U (zh) 太阳能热水器保温箱
CN203231573U (zh) 一种太阳能热水器水满自动关闭装置
CN202530506U (zh) 一种自动充水防溢装置
CN202118995U (zh) 壁挂式太阳能与电供暖器
CN202927252U (zh) 显示冷热的水龙头

Legal Events

Date Code Title Description
C14 Grant of patent or utility model
GR01 Patent grant
C17 Cessation of patent right
CF01 Termination of patent right due to non-payment of annual fee
CF01 Termination of patent right due to non-payment of annual fee

Granted publication date: 20121003

Termination date: 20130229