CN202464294U - Box for delivering medical specimens for inspection - Google Patents
Box for delivering medical specimens for inspection Download PDFInfo
- Publication number
- CN202464294U CN202464294U CN2012200896504U CN201220089650U CN202464294U CN 202464294 U CN202464294 U CN 202464294U CN 2012200896504 U CN2012200896504 U CN 2012200896504U CN 201220089650 U CN201220089650 U CN 201220089650U CN 202464294 U CN202464294 U CN 202464294U
- Authority
- CN
- China
- Prior art keywords
- box
- placement
- boxes
- specimen
- respectively provided
- Prior art date
- Legal status (The legal status is an assumption and is not a legal conclusion. Google has not performed a legal analysis and makes no representation as to the accuracy of the status listed.)
- Expired - Fee Related
Links
- 238000007689 inspection Methods 0.000 title claims abstract description 10
- 238000005192 partition Methods 0.000 claims abstract description 5
- 206010011409 Cross infection Diseases 0.000 abstract description 2
- 206010029803 Nosocomial infection Diseases 0.000 abstract description 2
- 230000000694 effects Effects 0.000 abstract description 2
- 208000015181 infectious disease Diseases 0.000 description 4
- 238000010586 diagram Methods 0.000 description 3
- 230000002458 infectious effect Effects 0.000 description 3
- 244000005700 microbiome Species 0.000 description 3
- 238000000034 method Methods 0.000 description 2
- 210000002700 urine Anatomy 0.000 description 2
- 241000894006 Bacteria Species 0.000 description 1
- 206010036790 Productive cough Diseases 0.000 description 1
- 241000700605 Viruses Species 0.000 description 1
- 238000012864 cross contamination Methods 0.000 description 1
- 210000003802 sputum Anatomy 0.000 description 1
- 208000024794 sputum Diseases 0.000 description 1
- 229910001220 stainless steel Inorganic materials 0.000 description 1
- 239000010935 stainless steel Substances 0.000 description 1
Images
Landscapes
- Sampling And Sample Adjustment (AREA)
Abstract
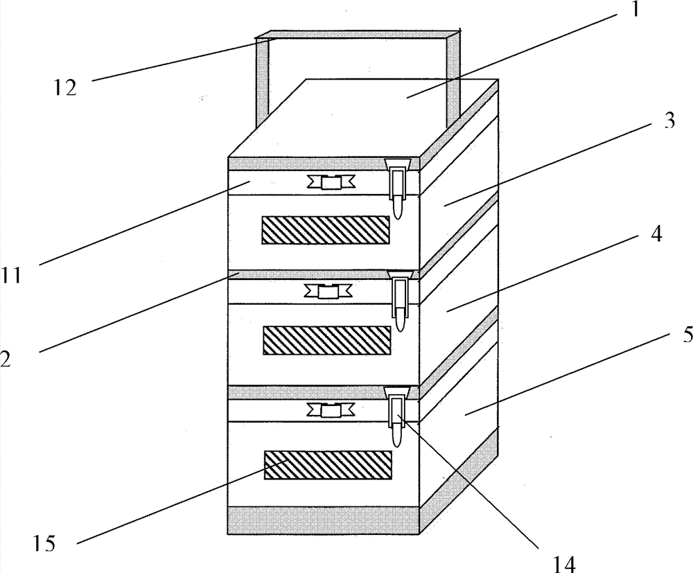
一种医用标本送检箱,包括带有提手的箱体,其特征在于该箱体内设有两个将箱体分成上放置腔、中放置腔和下放置腔的水平隔板;所述的上、中、下三个放置腔内分别设有通过转轴转拉出来的上放置盒、中放置盒和下放置盒,并且分别设有抽屉式化验单放置盒;且所述的上、中、下放置盒的盒体内部还分别设有编号板和标本放置孔。上述上、中、下放置盒及其标本化验单放置盒与箱体之间分别设有锁紧装置;上、中、下放置盒外侧分别设有提示标签袋。本实用新型的优点在于:结构简单,操作方便,使用效果好,经济耐用,成本低廉,避免交叉感染,不仅保证标本转运过程中的生物安全,而且能方便标本的分类收集。
A medical specimen inspection box, including a box body with a handle, is characterized in that the box body is provided with two horizontal partitions that divide the box body into an upper cavity, a middle cavity and a lower cavity; the The upper, middle and lower storage chambers are respectively provided with an upper storage box, a middle storage box and a lower storage box which are pulled out through the rotating shaft, and a drawer type test sheet storage box is respectively provided; and the upper, middle The inside of the box body of the lower storage box is also provided with a numbering plate and a specimen placement hole respectively. The above-mentioned upper, middle and lower storage boxes and their specimen test sheet storage boxes are provided with locking devices respectively; outside the upper, middle and lower storage boxes are respectively provided with reminder label bags. The utility model has the advantages of simple structure, convenient operation, good use effect, economical durability, low cost, avoiding cross-infection, not only ensuring biological safety during specimen transfer, but also facilitating classification and collection of specimens.
Description
技术领域 technical field
本实用新型涉及一种医疗器械,具体涉及一种医用标本送检箱。 The utility model relates to a medical device, in particular to a medical specimen inspection box. the
背景技术 Background technique
目前,临床实验室的管理越来越规范,从而要求在实验室采集到的标本能够安全,规范的处理,同时,还要求能够安全地移动。目前,医院内部进行检验标本的转运,多使用开放式提篮转运,存在很大的生物安全风险。因为医疗机构使用的各种标本都可能存在着未知病毒,细菌等传染性微生物,采用开放式提篮进行转运的过程中很可能将传染性微生物泄漏在空气中,地面上或转运人的身体上,衣服上,造成传染性微生物泄漏甚至医疗机构内部感染事件,严重危害环境与健康。现在市场上还没有一种专业的医用标本箱,能够规范地放置各种标本,实现安全,方便的移动。 At present, the management of clinical laboratories is becoming more and more standardized, which requires that the specimens collected in the laboratory can be processed safely and standardizedly, and at the same time, they are also required to be moved safely. At present, open baskets are often used for the transfer of test specimens in hospitals, which poses a great biosafety risk. Because various specimens used by medical institutions may contain unknown viruses, bacteria and other infectious microorganisms, during the transfer process using open baskets, infectious microorganisms are likely to leak in the air, on the ground or on the body of the transferer. Clothes, causing the leakage of infectious microorganisms and even the internal infection of medical institutions, seriously endangering the environment and health. At present, there is no professional medical specimen box on the market, which can place various specimens in a standardized manner and realize safe and convenient movement. the
发明内容 Contents of the invention
本实用新型的目的是提供一种医用标本送检箱,以克服现有的开放式标本送检提篮存在的不足。 The purpose of the utility model is to provide a medical specimen inspection box to overcome the shortcomings of the existing open specimen inspection basket. the
为了实现上述目的,本实用新型的技术方案如下: In order to achieve the above object, the technical scheme of the utility model is as follows:
一种医用标本送检箱,包括带有提手的箱体,其特征在于该箱体内设有两个将箱体分成上放置腔、中放置腔和下放置腔的水平隔板;所述的上、中、下三个放置腔内分别设有通过转轴转拉出来的上放置盒、中放置盒和下放置盒,并且分别设有抽屉式化验单放置盒;且所述的上、中、下放置盒的盒体内部还分别设有编号板和标本放置孔。 A medical specimen inspection box, comprising a box body with a handle, characterized in that the box body is provided with two horizontal partitions that divide the box body into an upper cavity, a middle cavity and a lower cavity; the The upper, middle and lower storage chambers are respectively provided with an upper storage box, a middle storage box and a lower storage box which are pulled out through the rotating shaft, and a drawer type test sheet storage box is respectively provided; and the upper, middle The inside of the box body of the lower storage box is also provided with a numbering plate and a specimen placement hole respectively. the
为了移动时放置盒不会活动,上述上、中、下放置盒及其标本化验单放置盒与箱体之间分别设有锁紧装置。 In order that the placing boxes will not move when moving, locking devices are respectively provided between the above-mentioned upper, middle and lower placing boxes and their specimen test sheet placing boxes and the box body. the
考虑到方便标本的分类,上述上、中、下放置盒外侧分别设有提示标签袋。 Considering the classification of convenient specimens, the outer sides of the above-mentioned upper, middle and lower storage boxes are respectively provided with prompt label bags. the
本实用新型的优点在于:结构简单,操作方便,使用效果好,经济耐用,成本低廉,避免交叉感染,不仅保证标本转运过程中的生物安全,而且能方便标本的分类收集。 The utility model has the advantages of simple structure, convenient operation, good use effect, economical durability, low cost, avoiding cross-infection, not only ensuring biological safety during specimen transfer, but also facilitating classification and collection of specimens. the
附图说明 Description of drawings
图1为本实用新型的总体结构示意图。 Fig. 1 is the overall structure schematic diagram of the present utility model. the
图2为本实用新型的展开后的总体结构示意图。 Fig. 2 is a schematic diagram of the overall structure of the utility model after deployment. the
图3为本实用新型的放置盒结构示意图。 Fig. 3 is a structural schematic diagram of the placement box of the present invention. the
其中,1、箱体,2、隔板,3、上放置腔,4、中放置腔,5、下放置腔,6、上放置盒,7、中放置盒,8、下放置盒,9、编号板,10标本放置孔,11、化验单放置盒,12 提手,13转轴,14、锁紧装置,15提示标签袋。 Among them, 1. Box, 2. Partition, 3. Upper cavity, 4. Middle cavity, 5. Lower cavity, 6. Upper box, 7. Middle box, 8. Lower box, 9. Numbering plate, 10 specimen placement holes, 11, test sheet placement box, 12 handle, 13 rotating shaft, 14, locking device, 15 reminder label bag. the
具体实施方式 Detailed ways
如图1、2所示,一种医用标本送检箱,包括带有提手12的箱体1,其特征在于该箱体1内设有两个将箱体1分成上放置腔3、中放置腔4和下放置腔5的水平隔板2;所述的上、中、下三个放置腔3、4、5内分别设有通过转轴13转拉出来的上放置盒6、中放置盒7和下放置盒8,并且上、中、下放置腔3、4、5分别设有抽屉式化验单放置盒11;且所述的上、中、下放置盒6、7、8的盒体内部还分别设有编号板9和标本放置孔10。
As shown in Figures 1 and 2, a medical specimen inspection box includes a box body 1 with a handle 12, and is characterized in that the box body 1 is provided with two chambers that divide the box body 1 into an
上述上、中、下三个放置盒内可以放置大小便标本、痰标本,并在编号板上对标本编号9,将化验单放在化验单放置盒11内。
The urine and urine specimens and sputum specimens can be placed in the above-mentioned upper, middle and lower three placement boxes, and the specimens are numbered 9 on the numbering board, and the test sheet is placed in the test
如图1所示,为了移动时放置盒不会活动,上述上、中、下放置盒6、7、8及其各自的标本化验单放置盒11与箱体1之间分别设有锁紧装置14。
As shown in Figure 1, in order to prevent the movement of the placement boxes when moving, locking devices are respectively provided between the above-mentioned upper, middle and
如图1所示,考虑到方便标本的分类,上述上、中、下放置盒6、7、8外侧分别设有提示标签袋15。
As shown in FIG. 1 , considering the classification of convenient specimens, the outer sides of the above-mentioned upper, middle and
使用本实用新型时,将上、中、下三个放置腔3、4、5内分别设有通过转轴13转拉出来的上放置盒6、中放置盒7和下放置盒8拉出,将需要化验的标本按上、中、下放置盒6、7、8外侧分别设有提示标签袋15中的提示放置后,在编号板9上对标本编号,将化验单放在化验单放置盒11内,最后将上放置盒6、中放置盒7和下放置盒8推回到上、中、下三个放置腔3、4、5内,通过锁紧装置14将放置盒及其标本化验单放置盒11与箱体1固定。本实用新型可以采用不锈钢板制作,整体结构稳固,结实耐用,每日使用后可清洗、消毒、有防止交叉污染。
When using the utility model, the upper, middle and
Claims (3)
Priority Applications (1)
| Application Number | Priority Date | Filing Date | Title |
|---|---|---|---|
| CN2012200896504U CN202464294U (en) | 2012-03-12 | 2012-03-12 | Box for delivering medical specimens for inspection |
Applications Claiming Priority (1)
| Application Number | Priority Date | Filing Date | Title |
|---|---|---|---|
| CN2012200896504U CN202464294U (en) | 2012-03-12 | 2012-03-12 | Box for delivering medical specimens for inspection |
Publications (1)
| Publication Number | Publication Date |
|---|---|
| CN202464294U true CN202464294U (en) | 2012-10-03 |
Family
ID=46912477
Family Applications (1)
| Application Number | Title | Priority Date | Filing Date |
|---|---|---|---|
| CN2012200896504U Expired - Fee Related CN202464294U (en) | 2012-03-12 | 2012-03-12 | Box for delivering medical specimens for inspection |
Country Status (1)
| Country | Link |
|---|---|
| CN (1) | CN202464294U (en) |
Cited By (2)
| Publication number | Priority date | Publication date | Assignee | Title |
|---|---|---|---|---|
| CN105253342A (en) * | 2015-10-10 | 2016-01-20 | 广州市万世德智能装备科技有限公司 | Method for multiple robots to cooperate to grab and pack bags into boxes |
| CN108238364A (en) * | 2016-12-23 | 2018-07-03 | 卡梅德生物科技(天津)有限公司 | A kind of biological medicine refrigerated transport case |
-
2012
- 2012-03-12 CN CN2012200896504U patent/CN202464294U/en not_active Expired - Fee Related
Cited By (2)
| Publication number | Priority date | Publication date | Assignee | Title |
|---|---|---|---|---|
| CN105253342A (en) * | 2015-10-10 | 2016-01-20 | 广州市万世德智能装备科技有限公司 | Method for multiple robots to cooperate to grab and pack bags into boxes |
| CN108238364A (en) * | 2016-12-23 | 2018-07-03 | 卡梅德生物科技(天津)有限公司 | A kind of biological medicine refrigerated transport case |
Similar Documents
| Publication | Publication Date | Title |
|---|---|---|
| CN216509925U (en) | Portable sampling box for outgoing nucleic acid detection | |
| CN202464294U (en) | Box for delivering medical specimens for inspection | |
| CN204550529U (en) | A kind of microbial cultivation device | |
| CN204889019U (en) | Portable multi -functional medical kit | |
| CN209501751U (en) | Infectious Diseases Test Sample Collection Box | |
| CN203506764U (en) | Disposable hospital infection monitoring and sampling bag | |
| CN205019172U (en) | Portable tip blood sample collection box | |
| CN104555010A (en) | Medical sample submission box | |
| CN204293265U (en) | A kind of hospital inspection specimen gathers car | |
| CN204713635U (en) | Stool and urine specimen collection inspect delivering box | |
| CN204455100U (en) | Bacterial culture sample collecting inoculating bottle | |
| CN203943745U (en) | Venous blood collection Hospital trolley for nursing | |
| CN203647493U (en) | Blood collecting case with simple syringe needle separator | |
| CN202387485U (en) | Multifunctional specimen storage rack | |
| CN206692624U (en) | A kind of clinical microbiology laboratory technique sample transfer box | |
| CN206266583U (en) | A kind of clinical microbiology laboratory technique culture dish transfer box | |
| CN204410986U (en) | A kind of comprehensive collection vehicle for hospital inspection specimens | |
| CN205139145U (en) | Organize sample control system | |
| CN217099800U (en) | Mobile microorganism detection vehicle | |
| CN204106218U (en) | A kind of blood sugar test purpose-made pallet | |
| CN204352098U (en) | A kind of multifunctional adjustable treatment dish | |
| CN205808745U (en) | A kind of disposable roller type adopts Bedpan | |
| CN202321020U (en) | Multi-purpose specimen sampling box capable of being cleaned, sterilized and disinfected | |
| CN202594078U (en) | Disinfection bottle cotton swab storage rack | |
| CN109201141A (en) | Urine preparing box |
Legal Events
| Date | Code | Title | Description |
|---|---|---|---|
| C14 | Grant of patent or utility model | ||
| GR01 | Patent grant | ||
| CF01 | Termination of patent right due to non-payment of annual fee |
Granted publication date: 20121003 Termination date: 20140312 |
