CN202460523U - 双动力快出料的混料机 - Google Patents
双动力快出料的混料机 Download PDFInfo
- Publication number
- CN202460523U CN202460523U CN2012200434929U CN201220043492U CN202460523U CN 202460523 U CN202460523 U CN 202460523U CN 2012200434929 U CN2012200434929 U CN 2012200434929U CN 201220043492 U CN201220043492 U CN 201220043492U CN 202460523 U CN202460523 U CN 202460523U
- Authority
- CN
- China
- Prior art keywords
- paddle
- cell body
- discharging
- hollow shaft
- batch mixer
- Prior art date
- Legal status (The legal status is an assumption and is not a legal conclusion. Google has not performed a legal analysis and makes no representation as to the accuracy of the status listed.)
- Expired - Lifetime
Links
- 238000007599 discharging Methods 0.000 claims description 54
- 210000005056 cell body Anatomy 0.000 claims description 50
- 238000003756 stirring Methods 0.000 abstract description 6
- 235000013305 food Nutrition 0.000 abstract description 2
- 239000000126 substance Substances 0.000 abstract description 2
- 238000002156 mixing Methods 0.000 description 8
- 238000013019 agitation Methods 0.000 description 3
- 238000004140 cleaning Methods 0.000 description 3
- 230000009286 beneficial effect Effects 0.000 description 1
- 230000005540 biological transmission Effects 0.000 description 1
- 238000005516 engineering process Methods 0.000 description 1
- 238000004519 manufacturing process Methods 0.000 description 1
- 238000000034 method Methods 0.000 description 1
- 230000004048 modification Effects 0.000 description 1
- 238000012986 modification Methods 0.000 description 1
- 230000001737 promoting effect Effects 0.000 description 1
Images
Landscapes
- Mixers Of The Rotary Stirring Type (AREA)
- Accessories For Mixers (AREA)
Abstract
本实用新型涉及制药、食品、化工等领域,具体涉及一种混料装置。一种双动力快出料的混料机,包括有槽体,出料窗和密封门,在槽体内设有搅拌桨,所述的搅拌桨至少设有两个,其中一个搅拌桨设在动力轴上,在动力轴上套设有空心轴,另一个搅拌桨设在所述的空心轴上;所述的动力轴及空心轴穿出槽体设置,并通过驱动装置分别驱动。本实用新型结构简单,物料混合充分,效果好,且方便清洗。
Description
技术领域
本实用新型涉及制药、食品、化工等领域,具体涉及一种混料装置。
背景技术
目前用于混料的槽型混合机搅拌桨为整体式的,为了保证混合的均匀性,搅拌桨的螺旋一般是由两段不同旋向的螺旋组成,使用的出料方式一般采用倾倒式,这样不便于操作、清洗和生产线的连线,也不便于物料的均匀混合。
发明内容
本实用新型针对现有技术存在的问题,提供了一种结构简单,方便混料、出料、清洗的双动力快出料的混料机。
为了实现上述目的,本实用新型专利采用以下技术方案:一种双动力快出料的混料机,包括有槽体,出料窗和密封门,在槽体内设有搅拌桨,所述的搅拌桨至少设有两个,其中一个搅拌桨设在动力轴上,在动力轴上套设有空心轴,另一个搅拌桨设在所述的空心轴上;所述的动力轴及空心轴穿出槽体设置,并通过驱动装置分别驱动。
进一步,在所述的搅拌桨上设有辐条。
进一步,所述的空心轴通过轴承连接在所述的动力轴上。
进一步,所述的驱动装置为蜗轮。
进一步,所述的出料窗设置在所述槽体的侧面或底面上。
进一步,所述的动力轴横向或纵向穿过槽体设置。
进一步,还包括有气缸连杆机构,所述的密封门通过气缸连杆机构将所述的出料窗密封。
进一步,所述的气缸连杆机构包括有液压油缸,液压油缸通过连接杆与密封门连接。
进一步,还包括有气缸连杆机构,所述的密封门通过气缸连杆机构将所述的出料窗密封。
进一步,所述的气缸连杆机构包括有液压油缸,液压油缸通过连接杆与密封门连接。
本实用新型的有益效果:该设备的搅拌桨为两段,在混合时,搅拌桨的螺旋旋向相反,便于物料在槽体内充分混合;出料时,两段搅拌桨的螺旋旋向相同,可以使物料向一个方向运动,这是,在底部(或端部)出料就十分方便,且出料干净;由于是槽体的底面或侧面出料,也便于清洁。
附图说明:
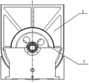
图1为本实用新型侧视结构示意图;
图2为本实用新型实施例1的剖视结构示意图;
图3为本实用新型实施例2的剖视结构示意图。
图中,1为槽体,21为前搅拌桨,22为后搅拌桨,3为辐条, 5为动力轴,6为空心轴,7为驱动装置,8为出料窗,9为密封门,10连接杆,11为液压油缸。
具体实施方式:
以下结合附图对本实用新型的原理和特征进行描述,所举实例只用于解释本实用新型,并非用于限定本实用新型的范围。
实施例1:如图1所示,一种混料机,包括有槽体1,出料窗8和密封门9,在槽体1内设有搅拌桨2,所述的搅拌桨2设有两个,其中一个为前搅拌桨21,前搅拌桨21设在动力轴5上,在动力轴5上连接有空心轴6,另一个搅拌桨为后搅拌桨22,后搅拌桨22设在所述的空心轴6上;所述的动力轴5及空心轴6穿出槽体设置,并通过驱动装置7分别驱动。驱动装置7为蜗轮。空心轴6与动力轴5分别通过蜗轮机构7独立传动,在混合时,两段搅拌桨的螺旋旋向相反,两个搅拌浆相对旋转,使料相互穿插,便于物料在槽体内充分混合;出料时,两段搅拌桨的螺旋旋向相同,可以使物料向一个方向运动,即两搅拌浆将物料向都向出料口方向旋转推动,达到出料的目的。在所述的搅拌桨2上设有辐条3。辐条3用来支撑搅拌浆2。所述的空心轴6通过轴承连接在所述的动力轴5上。所述的出料窗8设置在所述槽体1的侧面上。还包括有气缸连杆机构10,所述的密封门9通过气缸连杆机构10将所述的出料窗8密封。所述的气缸连杆机构。所述的动力轴横向穿过槽体设置。
实施例2:如图2所示,与实施例1相同,不同的是:所述的出料窗设置在所述槽体的底面上。
实施例3:与实施例1相同,不同的是:所述的搅拌桨设有多个,其中一部分搅拌桨设在动力轴上,在动力轴上连接有空心轴,另一部分搅拌桨设在所述的空心轴上。
实施例4:与实施例1相同,不同的是:所述的动力轴纵向穿过槽体设置。
实施例5:一种双动力快出料的混料机,包括有槽体,出料窗和密封门,在槽体内设有搅拌桨,所述的搅拌桨至少设有两个,其中一个搅拌桨设在动力轴上,在动力轴上套设有空心轴,另一个搅拌桨设在所述的空心轴上;所述的动力轴及空心轴穿出槽体设置,并通过驱动装置分别驱动。在所述的搅拌桨上设有辐条。
实施例6:一种双动力快出料的混料机,包括有槽体,出料窗和密封门,在槽体内设有搅拌桨,所述的搅拌桨至少设有两个,其中一个搅拌桨设在动力轴上,在动力轴上套设有空心轴,另一个搅拌桨设在所述的空心轴上;所述的动力轴及空心轴穿出槽体设置,并通过驱动装置分别驱动。所述的空心轴通过轴承连接在所述的动力轴上。
实施例7:一种双动力快出料的混料机,包括有槽体,出料窗和密封门,在槽体内设有搅拌桨,所述的搅拌桨至少设有两个,其中一个搅拌桨设在动力轴上,在动力轴上套设有空心轴,另一个搅拌桨设在所述的空心轴上;所述的动力轴及空心轴穿出槽体设置,并通过驱动装置分别驱动。所述的驱动装置为蜗轮。
实施例8:一种双动力快出料的混料机,包括有槽体,出料窗和密封门,在槽体内设有搅拌桨,所述的搅拌桨至少设有两个,其中一个搅拌桨设在动力轴上,在动力轴上套设有空心轴,另一个搅拌桨设在所述的空心轴上;所述的动力轴及空心轴穿出槽体设置,并通过驱动装置分别驱动。在所述的搅拌桨上设有辐条。所述的空心轴通过轴承连接在所述的动力轴上。所述的驱动装置为蜗轮。所述的出料窗设置在所述槽体的侧面或底面上。
实施例9:一种双动力快出料的混料机,包括有槽体,出料窗和密封门,在槽体内设有搅拌桨,所述的搅拌桨至少设有两个,其中一个搅拌桨设在动力轴上,在动力轴上套设有空心轴,另一个搅拌桨设在所述的空心轴上;所述的动力轴及空心轴穿出槽体设置,并通过驱动装置分别驱动。在所述的搅拌桨上设有辐条。所述的空心轴通过轴承连接在所述的动力轴上。所述的驱动装置为蜗轮。所述的动力轴横向穿过槽体设置。
实施例10:实施例9:一种双动力快出料的混料机,包括有槽体,出料窗和密封门,在槽体内设有搅拌桨,所述的搅拌桨至少设有两个,其中一个搅拌桨设在动力轴上,在动力轴上套设有空心轴,另一个搅拌桨设在所述的空心轴上;所述的动力轴及空心轴穿出槽体设置,并通过驱动装置分别驱动。在所述的搅拌桨上设有辐条。所述的空心轴通过轴承连接在所述的动力轴上。所述的驱动装置为蜗轮。所述的动力轴纵向穿过槽体设置。
实施例11:一种双动力快出料的混料机,包括有槽体,出料窗和密封门,在槽体内设有搅拌桨,所述的搅拌桨至少设有两个,其中一个搅拌桨设在动力轴上,在动力轴上套设有空心轴,另一个搅拌桨设在所述的空心轴上;所述的动力轴及空心轴穿出槽体设置,并通过驱动装置分别驱动。在所述的搅拌桨上设有辐条。所述的空心轴通过轴承连接在所述的动力轴上。所述的驱动装置为蜗轮。所述的出料窗设置在所述槽体的侧面或底面上。还包括有气缸连杆机构,所述的密封门通过气缸连杆机构将所述的出料窗密封。所述的气缸连杆机构包括有液压油缸,液压油缸通过连接杆与密封门连接。
实施例12:一种双动力快出料的混料机,包括有槽体,出料窗和密封门,在槽体内设有搅拌桨,所述的搅拌桨至少设有两个,其中一个搅拌桨设在动力轴上,在动力轴上套设有空心轴,另一个搅拌桨设在所述的空心轴上;所述的动力轴及空心轴穿出槽体设置,并通过驱动装置分别驱动。在所述的搅拌桨上设有辐条。所述的空心轴通过轴承连接在所述的动力轴上。所述的驱动装置为蜗轮。所述的动力轴横向或纵向穿过槽体设置。还包括有气缸连杆机构,所述的密封门通过气缸连杆机构将所述的出料窗密封。所述的气缸连杆机构包括有液压油缸,液压油缸通过连接杆与密封门连接。
以上所述仅为本实用新型的较佳实施例,并不用以限制本实用新型,凡在本实用新型的精神和原则之内,所作的任何修改、等同替换、改进等,均应包含在本实用新型的保护范围之内。
Claims (10)
1.一种双动力快出料的混料机,包括有槽体,出料窗和密封门,在槽体内设有搅拌桨,其特征在于,所述的搅拌桨至少设有两个,其中一个搅拌桨设在动力轴上,在动力轴上套设有空心轴,另一个搅拌桨设在所述的空心轴上;所述的动力轴及空心轴穿出槽体设置,并通过驱动装置分别驱动。
2.如权利要求1所述的双动力快出料的混料机,其特征在于,在所述的搅拌桨上设有辐条。
3.如权利要求1所述的双动力快出料的混料机,其特征在于,所述的空心轴通过轴承连接在所述的动力轴上。
4.如权利要求1所述的双动力快出料的混料机,其特征在于,所述的驱动装置为蜗轮。
5.如权利要求1至4任一所述的双动力快出料的混料机,其特征在于,所述的出料窗设置在所述槽体的侧面或底面上。
6.如权利要求1至4任一所述的双动力快出料的混料机,其特征在于,所述的动力轴横向或纵向穿过槽体设置。
7.如权利要求5所述的双动力快出料的混料机,其特征在于,还包括有气缸连杆机构,所述的密封门通过气缸连杆机构将所述的出料窗密封。
8.如权利要求7所述的双动力快出料的混料机,其特征在于,所述的气缸连杆机构包括有液压油缸,液压油缸通过连接杆与密封门连接。
9.如权利要求6所述的双动力快出料的混料机,其特征在于,还包括有气缸连杆机构,所述的密封门通过气缸连杆机构将所述的出料窗密封。
10.如权利要求9所述的双动力快出料的混料机,其特征在于,所述的气缸连杆机构包括有液压油缸,液压油缸通过连接杆与密封门连接。
Priority Applications (1)
| Application Number | Priority Date | Filing Date | Title |
|---|---|---|---|
| CN2012200434929U CN202460523U (zh) | 2011-10-31 | 2012-02-11 | 双动力快出料的混料机 |
Applications Claiming Priority (3)
| Application Number | Priority Date | Filing Date | Title |
|---|---|---|---|
| CN201120423105 | 2011-10-31 | ||
| CN201120423105.X | 2011-10-31 | ||
| CN2012200434929U CN202460523U (zh) | 2011-10-31 | 2012-02-11 | 双动力快出料的混料机 |
Publications (1)
| Publication Number | Publication Date |
|---|---|
| CN202460523U true CN202460523U (zh) | 2012-10-03 |
Family
ID=46336031
Family Applications (2)
| Application Number | Title | Priority Date | Filing Date |
|---|---|---|---|
| CN2012200434929U Expired - Lifetime CN202460523U (zh) | 2011-10-31 | 2012-02-11 | 双动力快出料的混料机 |
| CN201210029981.3A Active CN102527274B (zh) | 2011-10-31 | 2012-02-11 | 双动力快出料的混料机 |
Family Applications After (1)
| Application Number | Title | Priority Date | Filing Date |
|---|---|---|---|
| CN201210029981.3A Active CN102527274B (zh) | 2011-10-31 | 2012-02-11 | 双动力快出料的混料机 |
Country Status (1)
| Country | Link |
|---|---|
| CN (2) | CN202460523U (zh) |
Cited By (1)
| Publication number | Priority date | Publication date | Assignee | Title |
|---|---|---|---|---|
| CN102527274A (zh) * | 2011-10-31 | 2012-07-04 | 天水华圆制药设备科技有限责任公司 | 双动力快出料的混料机 |
Families Citing this family (3)
| Publication number | Priority date | Publication date | Assignee | Title |
|---|---|---|---|---|
| CN103891859B (zh) * | 2012-12-28 | 2016-01-13 | 梧州神冠蛋白肠衣有限公司 | 混揉桨和混揉机 |
| CN105751397A (zh) * | 2016-03-04 | 2016-07-13 | 浙江竟成特种单丝有限公司 | 一种用于生产食用级输送专用特种单丝的混料机 |
| CN114192062A (zh) * | 2020-09-17 | 2022-03-18 | 广东博智林机器人有限公司 | 一种搅拌装置 |
Family Cites Families (4)
| Publication number | Priority date | Publication date | Assignee | Title |
|---|---|---|---|---|
| CN2158301Y (zh) * | 1993-03-26 | 1994-03-09 | 郭洪臣 | 双轴异向螺旋叶带式混合机 |
| CN101811002B (zh) * | 2010-04-23 | 2012-11-14 | 江苏牧羊集团有限公司 | 单筒差速调质器 |
| CN202105607U (zh) * | 2011-03-14 | 2012-01-11 | 章丘市宇龙机械有限公司 | 双轴搅拌机 |
| CN202460523U (zh) * | 2011-10-31 | 2012-10-03 | 天水华圆制药设备科技有限责任公司 | 双动力快出料的混料机 |
-
2012
- 2012-02-11 CN CN2012200434929U patent/CN202460523U/zh not_active Expired - Lifetime
- 2012-02-11 CN CN201210029981.3A patent/CN102527274B/zh active Active
Cited By (2)
| Publication number | Priority date | Publication date | Assignee | Title |
|---|---|---|---|---|
| CN102527274A (zh) * | 2011-10-31 | 2012-07-04 | 天水华圆制药设备科技有限责任公司 | 双动力快出料的混料机 |
| CN102527274B (zh) * | 2011-10-31 | 2014-12-17 | 天水华圆制药设备科技有限责任公司 | 双动力快出料的混料机 |
Also Published As
| Publication number | Publication date |
|---|---|
| CN102527274A (zh) | 2012-07-04 |
| CN102527274B (zh) | 2014-12-17 |
Similar Documents
| Publication | Publication Date | Title |
|---|---|---|
| CN102489205B (zh) | 三臂行星搅拌捏合机 | |
| CN202028363U (zh) | 三轴行星框桨式搅拌器 | |
| CN202460523U (zh) | 双动力快出料的混料机 | |
| CN203790870U (zh) | 一种高效混合搅拌装置 | |
| CN103084089A (zh) | 一种单轴卧式搅拌器 | |
| CN202356062U (zh) | 搅拌混料机 | |
| CN202410553U (zh) | 一种单轴双向卧式搅拌器 | |
| CN201776112U (zh) | 一种搅拌釜 | |
| CN106956363A (zh) | 一种提料式立轴行星搅拌机 | |
| CN222287091U (zh) | 一种高效的干粉混料机 | |
| CN205797133U (zh) | 一种多角度紊流液体搅拌机 | |
| CN104368252A (zh) | 摆动式搅拌装置 | |
| CN203264623U (zh) | 结晶搅拌釜 | |
| CN203507891U (zh) | 一种搅拌器 | |
| CN203577683U (zh) | 一种新型搅拌桨 | |
| CN204746160U (zh) | 三角形搅拌机 | |
| CN203400658U (zh) | 一种双行星搅拌机 | |
| CN201816138U (zh) | 砂浆搅拌装置 | |
| CN208911867U (zh) | 一种节能型桨叶混料机 | |
| CN217392146U (zh) | 一种液体物料配制调配罐 | |
| CN202700433U (zh) | 一种卧式翻转混合装置 | |
| CN204710197U (zh) | 一种汽车底涂胶生产用搅拌机 | |
| CN219984540U (zh) | 一种防水涂料生产用混合装置 | |
| CN215842667U (zh) | 日化用品生产用液态物料混合装置 | |
| CN204447801U (zh) | 一种用于胶浆状化工物料的卧式混料机 |
Legal Events
| Date | Code | Title | Description |
|---|---|---|---|
| C14 | Grant of patent or utility model | ||
| GR01 | Patent grant | ||
| CX01 | Expiry of patent term | ||
| CX01 | Expiry of patent term |
Granted publication date: 20121003 |