CN202459712U - Intranasal laryngeal mask with two-way conduits - Google Patents
Intranasal laryngeal mask with two-way conduits Download PDFInfo
- Publication number
- CN202459712U CN202459712U CN2011205764028U CN201120576402U CN202459712U CN 202459712 U CN202459712 U CN 202459712U CN 2011205764028 U CN2011205764028 U CN 2011205764028U CN 201120576402 U CN201120576402 U CN 201120576402U CN 202459712 U CN202459712 U CN 202459712U
- Authority
- CN
- China
- Prior art keywords
- catheter
- ventilation
- airway
- utility
- laryngeal mask
- Prior art date
- Legal status (The legal status is an assumption and is not a legal conclusion. Google has not performed a legal analysis and makes no representation as to the accuracy of the status listed.)
- Expired - Fee Related
Links
Images
Landscapes
- External Artificial Organs (AREA)
Abstract
本实用新型属于一种用于人工气道通气的喉罩。本实用新型一种经鼻的双通管道喉罩,包括通气导管、套囊、充气导管、指示囊泡及单向阀,单向阀连接在指示囊泡的末端,指示囊泡与充气导管连接,所述套囊呈V形结构包绕在通气导管的前端,所述充气导管与套囊相连;本实用新型还包括引流导管和吸盘,所述引流导管设置在通气导管内部,并且末端伸出通气导管,所述吸盘设置在引流导管的末端。本实用新型对患者气管粘膜损伤小,并且可实现气道通气与吸痰操作同步进行,能够更好的实现吸痰操作,经鼻的设计给患者和医护人员带来更大的便利,减轻了患者的不适感。
The utility model belongs to a laryngeal mask for artificial airway ventilation. The utility model relates to a nasal double-channel laryngeal mask, which comprises a ventilation catheter, a cuff, an inflation catheter, an indicating vesicle and a one-way valve, the one-way valve is connected to the end of the indicating vesicle, and the indicating vesicle is connected to the inflating catheter , the cuff wraps around the front end of the ventilation catheter in a V-shaped structure, and the inflation catheter is connected to the cuff; the utility model also includes a drainage catheter and a suction cup, the drainage catheter is arranged inside the ventilation catheter, and the end protrudes The ventilation catheter, the suction cup is arranged at the end of the drainage catheter. The utility model has little damage to the patient's tracheal mucosa, and can realize the synchronous operation of airway ventilation and sputum suction, and can better realize the operation of sputum suction. The design through the nose brings greater convenience to patients and medical staff, and reduces Patient discomfort.
Description
技术领域 technical field
本实用新型涉及一种用于人工气道通气的喉罩,尤其涉及一种经鼻的双通管道喉罩。 The utility model relates to a laryngeal mask for artificial airway ventilation, in particular to a nasal double-channel laryngeal mask. the
背景技术 Background technique
目前,在手术麻醉时维持气道通畅及控制呼吸的装置主要有气管导管和喉罩,气管导管管径较粗,并且下端设计成尖状口径,在插入和维持通气过程中对喉部及气管粘膜损伤较重,尤其是较长时间术后喉部及气管粘膜的相关并发症率较高;喉罩管径也比较粗,并且喉罩气囊体积较大,占满整个口腔位置,在一些情况下不能快速利用咽喉镜进行检查和进行稳定气道的建立,拔除喉罩再进行气管插管,比较费时,并且较大的喉罩面积对患者的粘膜损伤同样比较大;另外,大多数的气管导管和喉罩,都不能同时对患者进行吸痰操作,或者能对患者进行吸痰操作,但是达不到良好的吸痰效果,从而虽然实现了气道通气,但是不能真正使患者实现呼吸顺畅;现在使用的气管导管和喉罩都是经口腔进行插管操作,当需要做口腔、食道等手术时会带来很大不便,同时患者使用时会感到不适。 At present, the devices for maintaining airway patency and controlling breathing during surgical anesthesia mainly include tracheal tube and laryngeal mask. The mucosal injury is serious, especially the complications related to the laryngeal and tracheal mucosa after a long period of time after operation; However, it is not possible to quickly use the laryngoscope to check and establish a stable airway. It is time-consuming to remove the laryngeal mask and then perform tracheal intubation, and the larger laryngeal mask area also causes greater damage to the patient's mucosa; in addition, most tracheal Neither the catheter nor the laryngeal mask can perform sputum suction on the patient at the same time, or can perform sputum suction on the patient, but they cannot achieve a good sputum suction effect, so that although airway ventilation is achieved, the patient cannot really achieve smooth breathing The endotracheal tube and the laryngeal mask used now all carry out the intubation operation through the oral cavity, which will bring great inconvenience when operations such as the oral cavity and esophagus need to be done, and the patient will feel uncomfortable when using it. the
实用新型内容 Utility model content
本实用新型是针对上述技术不足而提供的一种对气管粘膜损伤小、可实现气道通气与吸痰操作同步的经鼻的双通管道喉罩。 The utility model provides a transnasal double-channel laryngeal mask with less damage to the tracheal mucous membrane and synchronous airway ventilation and sputum suction operation aimed at the above technical deficiencies. the
一种经鼻的双通管道喉罩,包括通气导管、套囊、充气导管、指示囊泡及单向阀,单向阀连接在指示囊泡的末端,指示囊泡与充气导管连接,所述充气导管与套囊相连,套囊呈V形结构并包绕在通气导管的前端,本实用新型还包括引流导管和吸盘,所述引流导管设置在通气导管内部,并且末端伸出通气导管,所述吸盘设置在引流导管的末端。 A nasal double-channel laryngeal mask, including a ventilation catheter, a cuff, an inflation catheter, an indicator capsule and a one-way valve, the one-way valve is connected to the end of the indicator capsule, and the indicator capsule is connected to the inflation catheter. The inflation catheter is connected with the cuff, and the cuff is V-shaped and wraps around the front end of the ventilation catheter. The utility model also includes a drainage catheter and a suction cup. The suction cup is arranged at the end of the drainage catheter. the
所述套囊与通气导管接触的部位设置有一侧口,所述充气导管设置在通气导管内部,并通过侧口与所述套囊相连。 A side port is provided at the position where the cuff is in contact with the ventilation catheter, and the inflation catheter is arranged inside the ventilation catheter and connected to the cuff through the side port. the
所述充气导管紧贴通气导管内壁设置在通气导管内部。 The inflation conduit is arranged inside the ventilation conduit close to the inner wall of the ventilation conduit. the
所述引流导管紧贴通气导管内壁设置在通气导管内部。 The drainage catheter is arranged inside the ventilation catheter close to the inner wall of the ventilation catheter. the
本实用新型所述套囊呈V形结构包绕在通气导管的前端的设计减轻了传统的喉罩体积较大,对口咽、气管粘膜易造成损伤的问题,并且具有良好的气密性。 The cuff of the utility model wraps around the front end of the ventilation catheter in a V-shaped structure, which alleviates the problem that the traditional laryngeal mask is large in size and easily causes damage to the oropharynx and tracheal mucosa, and has good air tightness. the
本实用新型所述引流导管的设计,可实现患者气道通气和吸痰操作的同步进行,简化操 作步骤,从而达到更好的通气效果。 The design of the drainage catheter described in the utility model can realize the synchronization of the patient's airway ventilation and sputum suction operation, simplify the operation steps, and thus achieve better ventilation effect. the
所述引流导管末端设置吸盘的设计,可使对患者的吸痰操作效率更高。 The suction cup is arranged at the end of the drainage catheter, so that the operation efficiency of suctioning the patient is higher. the
所述引流导管和充气导管设置在通气导管内部的设计,并进一步讲,所述引流导管和充气导管紧贴通气导管内壁设置在通气导管内部的设计,可仅通过控制所述通气导管的外管径的制造尺寸,来满足本实用新型通过鼻孔插入的要求。 The design that the drainage conduit and the inflation conduit are arranged inside the ventilation conduit, and furthermore, the design that the drainage conduit and the inflation conduit are arranged inside the ventilation conduit close to the inner wall of the ventilation conduit can be controlled only by controlling the outer tube of the ventilation conduit The manufacturing size of diameter meets the requirement of the utility model inserted through the nostril. the
附图说明 Description of drawings
下面结合附图和具体实施方式对本实用新型作进一步详细的说明: Below in conjunction with accompanying drawing and specific embodiment, the utility model is described in further detail:
图1是本实用新型实施例经鼻的双通管道喉罩的结构示意图。 Fig. 1 is a schematic structural view of a transnasal double-channel laryngeal mask according to an embodiment of the present invention. the
具体实施方式 Detailed ways
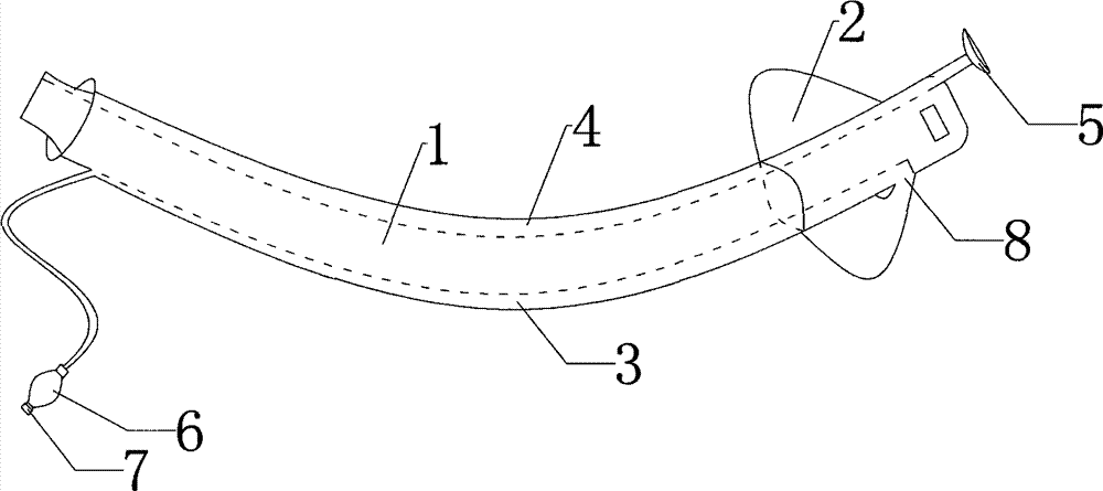
如图1所示,本实用新型一种经鼻的双通管道喉罩,包括通气导管1、套囊2、充气导管3、指示囊泡6及单向阀7,单向阀7连接在指示囊泡6的末端,指示囊泡6与充气导管3连接,所述充气导管3与套囊相连2,套囊2呈V形结构并包绕在通气导管1的前端,本实用新型还包括引流导管4和吸盘5,所述引流导管4紧贴通气导管1内壁设置在通气导管1内部,并且末端伸出通气导管1,所述吸盘5设置在引流导管4的末端。
As shown in Figure 1, the utility model is a kind of nasal two-way pipeline laryngeal mask, comprising a ventilation catheter 1, a cuff 2, an
所述套囊2与通气导管1接触的部位设置有一侧口8,所述充气导管3紧贴通气导管1内壁设置在通气导管1内部,并通过侧口8与所述套囊2相连。
The position where the cuff 2 is in contact with the ventilation catheter 1 is provided with a
本实施例所述引流导管末端设置的吸盘,其吸盘半径远小于通气导管半径,进行吸痰操作时保证其不附着于气管粘膜或咽喉部粘膜上,此种带有吸盘的引流导管的设计可使对患者的吸痰效率更高。 The suction cup provided at the end of the drainage catheter described in this embodiment has a radius much smaller than that of the ventilation catheter, so that it is not attached to the tracheal mucosa or the mucous membrane of the throat during sputum suction operation. The design of this drainage catheter with a suction cup can be Make suction more efficient for patients. the
本实施例所述引流导管的设计,可实现患者气道通气和吸痰操作的同步进行,简化操作步骤,从而达到更好的通气效果。 The design of the drainage catheter described in this embodiment can realize the synchronous operation of the patient's airway ventilation and sputum suction, simplify the operation steps, and thus achieve a better ventilation effect. the
所述引流导管和充气导管紧贴通气导管内壁设置在通气导管内部的设计,可使本实用新型仅通过控制所述通气导管的外管径的制造尺寸,来满足本实用新型通过鼻孔插入的要求,同时使得本实用新型设计结构更加合理。 The design that the drainage catheter and the inflation catheter are arranged close to the inner wall of the ventilation catheter and arranged inside the ventilation catheter can make the utility model meet the requirements of the utility model inserted through the nostrils only by controlling the manufacturing size of the outer diameter of the ventilation catheter , making the design structure of the utility model more reasonable at the same time. the
以上所述的仅是本实用新型的优选实施方式,应当指出对于本领域的技术人员来说,在不脱离本实用新型结构的前提下,还可以作出若干变形和改进,这些都不会影响本实用新型实施的效果和专利的实用性。 The above is only the preferred embodiment of the present utility model, it should be pointed out that for those skilled in the art, under the premise of not departing from the structure of the present utility model, some deformations and improvements can also be made, and these will not affect the present utility model. Effects of utility model implementation and practicability of patents. the
Claims (4)
Priority Applications (1)
| Application Number | Priority Date | Filing Date | Title |
|---|---|---|---|
| CN2011205764028U CN202459712U (en) | 2011-12-29 | 2011-12-29 | Intranasal laryngeal mask with two-way conduits |
Applications Claiming Priority (1)
| Application Number | Priority Date | Filing Date | Title |
|---|---|---|---|
| CN2011205764028U CN202459712U (en) | 2011-12-29 | 2011-12-29 | Intranasal laryngeal mask with two-way conduits |
Publications (1)
| Publication Number | Publication Date |
|---|---|
| CN202459712U true CN202459712U (en) | 2012-10-03 |
Family
ID=46907916
Family Applications (1)
| Application Number | Title | Priority Date | Filing Date |
|---|---|---|---|
| CN2011205764028U Expired - Fee Related CN202459712U (en) | 2011-12-29 | 2011-12-29 | Intranasal laryngeal mask with two-way conduits |
Country Status (1)
| Country | Link |
|---|---|
| CN (1) | CN202459712U (en) |
Cited By (2)
| Publication number | Priority date | Publication date | Assignee | Title |
|---|---|---|---|---|
| CN105209757A (en) * | 2013-03-14 | 2015-12-30 | 泰利福医疗公司 | Pressure adjustment apparatus and method |
| CN107174715A (en) * | 2017-06-20 | 2017-09-19 | 江苏台源医疗器械科技有限公司 | A kind of multifunctional trachea catheter |
-
2011
- 2011-12-29 CN CN2011205764028U patent/CN202459712U/en not_active Expired - Fee Related
Cited By (4)
| Publication number | Priority date | Publication date | Assignee | Title |
|---|---|---|---|---|
| CN105209757A (en) * | 2013-03-14 | 2015-12-30 | 泰利福医疗公司 | Pressure adjustment apparatus and method |
| US10724511B2 (en) | 2013-03-14 | 2020-07-28 | Teleflex Medical Incorporated | Pressure adjustment apparatus and method |
| US11598326B2 (en) | 2013-03-14 | 2023-03-07 | Teleflex Medical Incorporated | Pressure adjustment apparatus and method |
| CN107174715A (en) * | 2017-06-20 | 2017-09-19 | 江苏台源医疗器械科技有限公司 | A kind of multifunctional trachea catheter |
Similar Documents
| Publication | Publication Date | Title |
|---|---|---|
| WO2014166136A1 (en) | Multi-lumen single-body laryngeal mask allowing endoscope insertion | |
| CN207119041U (en) | A kind of Respiratory Medicine trachea cannula | |
| CN102120056A (en) | Bronchial catheter with single cavity and double sacs | |
| CN109481805A (en) | A kind of intranasal laryngeal airway conduit | |
| CN202459712U (en) | Intranasal laryngeal mask with two-way conduits | |
| CN202961303U (en) | Trachea cannula convenient and fast sputum suction device | |
| CN202314783U (en) | Laryngeal mask for upper gastrointestinal endoscopy | |
| CN202751631U (en) | Closed type sputum suction tube fixer | |
| CN208959021U (en) | modified nasopharyngeal airway | |
| CN204364602U (en) | One can be used for gastroscopic laryngeal mask | |
| CN206745712U (en) | A kind of intranasal esophagus blocks laryngeal mask | |
| CN204890869U (en) | Multi -functional couple of bag trachea cannula | |
| CN103272317A (en) | Lateral oxygen supply and sputum suction nasopharyngeal airway | |
| CN204319455U (en) | Endoscopy anesthesia laryngeal mask | |
| CN211096785U (en) | Improved 3D printing high-flow nasal oxygen cannula | |
| CN203017527U (en) | Sputum suction type laryngeal mask | |
| CN207886501U (en) | A kind of disposable sputum-suction trachea cannula | |
| CN205322966U (en) | Endotracheal tube connects | |
| CN206896583U (en) | Double bolloon just ventilation type trachea cannula | |
| CN203342151U (en) | Side type oxygen supply and sputum suction nasopharynx airway | |
| CN207085042U (en) | Novel oxygen breathing tube trachea cannula | |
| CN218961529U (en) | Sputum-aspiration tracheotomy cannula | |
| CN203663197U (en) | Percutaneous and esophagus pressurization synchronous ventilation kit | |
| CN201939840U (en) | Tracheal tube | |
| CN202459707U (en) | Disposable multifunctional tracheostomy tube |
Legal Events
| Date | Code | Title | Description |
|---|---|---|---|
| C14 | Grant of patent or utility model | ||
| GR01 | Patent grant | ||
| CF01 | Termination of patent right due to non-payment of annual fee |
Granted publication date: 20121003 Termination date: 20141229 |
|
| EXPY | Termination of patent right or utility model |
