CN202456872U - 保暖随身包 - Google Patents
保暖随身包 Download PDFInfo
- Publication number
- CN202456872U CN202456872U CN2012200362367U CN201220036236U CN202456872U CN 202456872 U CN202456872 U CN 202456872U CN 2012200362367 U CN2012200362367 U CN 2012200362367U CN 201220036236 U CN201220036236 U CN 201220036236U CN 202456872 U CN202456872 U CN 202456872U
- Authority
- CN
- China
- Prior art keywords
- bag
- heating
- layer
- hands
- heat
- Prior art date
- Legal status (The legal status is an assumption and is not a legal conclusion. Google has not performed a legal analysis and makes no representation as to the accuracy of the status listed.)
- Expired - Fee Related
Links
- 238000010438 heat treatment Methods 0.000 claims abstract description 104
- 238000004321 preservation Methods 0.000 claims abstract description 18
- 238000010792 warming Methods 0.000 claims abstract description 15
- 239000005030 aluminium foil Substances 0.000 claims description 20
- 229920000742 Cotton Polymers 0.000 claims description 19
- 239000011148 porous material Substances 0.000 claims description 6
- 230000009286 beneficial effect Effects 0.000 claims description 5
- 238000000034 method Methods 0.000 claims description 4
- 230000008569 process Effects 0.000 claims description 4
- 238000009825 accumulation Methods 0.000 claims description 3
- 230000006870 function Effects 0.000 abstract description 5
- 150000001875 compounds Chemical class 0.000 abstract 4
- 238000009423 ventilation Methods 0.000 abstract 1
- 210000004247 hand Anatomy 0.000 description 39
- 238000009413 insulation Methods 0.000 description 14
- 230000000694 effects Effects 0.000 description 9
- 235000020188 drinking water Nutrition 0.000 description 8
- 239000003651 drinking water Substances 0.000 description 8
- 230000004308 accommodation Effects 0.000 description 7
- 239000000463 material Substances 0.000 description 7
- 229920000049 Carbon (fiber) Polymers 0.000 description 6
- 239000004917 carbon fiber Substances 0.000 description 6
- 235000013305 food Nutrition 0.000 description 6
- VNWKTOKETHGBQD-UHFFFAOYSA-N methane Chemical compound C VNWKTOKETHGBQD-UHFFFAOYSA-N 0.000 description 6
- 238000009434 installation Methods 0.000 description 4
- 230000015572 biosynthetic process Effects 0.000 description 3
- 230000008901 benefit Effects 0.000 description 2
- 239000004744 fabric Substances 0.000 description 2
- 230000004044 response Effects 0.000 description 2
- 210000004243 sweat Anatomy 0.000 description 2
- 238000013022 venting Methods 0.000 description 2
- 235000021269 warm food Nutrition 0.000 description 2
- 210000001015 abdomen Anatomy 0.000 description 1
- 230000009194 climbing Effects 0.000 description 1
- 238000006073 displacement reaction Methods 0.000 description 1
- 238000005516 engineering process Methods 0.000 description 1
- 230000036541 health Effects 0.000 description 1
- 230000008595 infiltration Effects 0.000 description 1
- 238000001764 infiltration Methods 0.000 description 1
- 230000035807 sensation Effects 0.000 description 1
- 238000009958 sewing Methods 0.000 description 1
- 210000000707 wrist Anatomy 0.000 description 1
Images
Landscapes
- Purses, Travelling Bags, Baskets, Or Suitcases (AREA)
- Thermotherapy And Cooling Therapy Devices (AREA)
Abstract
一种保暖随身包,特别是指一种结合供暖、保温、透气与物品收纳功能的随身包,包含于一袋体两侧设置两个可供双手伸入的袋口,所述袋口内设置有一发热复层,该袋体内并设有一电连接发热复层的蓄电池,而供电至发热复层,以驱使发热复层发热,并对所述袋口内双手供暖,且袋体内部可供收纳物品,据以达到温暖双手与收纳物品的目的。
Description
技术领域
本实用新型提供一种随身包,特别是针对一种可随身配戴以收纳物品且能够温暖双手的随身包,并涉及随身包两侧的袋口,以及随身包内的蓄电池与发热复层。
背景技术
每当冬季来临,寒流加上潮湿空气总是造成气候异常寒冷,因此人们在冬天出门时皆会加穿厚重的外套来御寒,并将双手戴上手套,而保温双手。
然而,不论厚或薄的手套,都或多或少会影响双手的灵活度,尤其是对登山客或在气候严寒地区的工作者而言,若双手因为戴上手套而影响其灵活度,容易造成双手不方便做事的情形,而导致登山或工作时发生危险,因此前述登山客或在气候严寒地区的工作者通常不愿意在活动时戴上手套。
且知,目前市面上虽已存在有多种随身供暖装置,举如暖暖包、怀炉或于衣服内衬缝上电热丝等;然而,前述暖暖包、怀炉或于衣服内衬缝上电热丝等随身供暖装置,都是针对身体的供暖保温用,若将前述暖暖包或怀炉捧在双手上,由于双手裸露于外界,因此暖暖包或怀炉对双手的供暖保温效果也明显不足,且不方便使用,故上述问题亟需加以改善。
发明内容
本实用新型的主要目的,是提供一种结合供暖、保温、透气与物品收纳功能的随身包,以克服上述先前技术中,采用暖暖包、怀炉或于衣服内衬缝上电热丝等传统随身供暖装置,不利于针对双手供暖保温且不方便使用等问题。
为达成上述目的,本实用新型的保暖随身包,包含于一袋体两侧设置两个供双手伸入的袋口,所述袋口内设置有一通电后发热的发热复层,该袋体内设有一电连接该发热复层并供电给发热复层的蓄电池,而供电至该发热复层,以驱使该发热复层发热且对所述袋口内双手供暖。
凭借上述,该袋体两侧的袋口恰可供给双手顺势伸入,有利于在突发状况时可迅速将双手自袋口内抽出,且发热复层产生的热可对所述袋口内的双手供暖,并蓄积热能于袋体内,而对收纳于袋体内的物品供暖保温,尤其是在山区或严寒地区,更可进一步于袋体内摆放食物或饮水的物品,而使所述食物与饮水能够得到发热复层供暖保温,以提供温热的食物与饮水。
据此,该袋体的袋口可利于双手伸入及抽出,以因应突发状况,并能够利用发热复层对袋体内的双手与物品供暖保温,以达到上述结合供暖、保温、透气与物品收纳功能于单一随身包的目的,尤其是于山区或严寒地区,更可结合袋体的收纳能力与发热复层的供暖保温能力,而进一步达到提供温热的食物与饮水的目的。
以下进一步说明本实用新型的具体实施方式:
依据上述主要结构特征,该袋体上间隔设置有两个衔接元件,所述衔接元件能够相互衔接或分离,而缩窄或放宽该袋体内部供给摆放双手的空间。
依据上述主要结构特征,该袋体为腰包或手提包。
依据上述主要结构特征,所述袋口于该袋体内部相连通。
依据上述主要结构特征,该袋口外缘形成一用以阻隔外界冷风的松紧环套。
依据上述主要结构特征,该发热复层设于该袋体内,且制成套筒形状,该套筒双端分别延伸至该袋体两侧而形成该袋口,所述袋口连通该套筒内部与外界。
依据上述主要结构特征,该套筒包含:
一表层,制成该套筒的形状;
一设置在该表层内侧的阻温铝箔层,用以阻隔内外温差,并具有多个细密气孔供湿气由内向外逸散;
一设置在该阻温铝箔层内侧的保温棉层,用以蓄热;
一设置在该保温棉层内侧的内里层,等同于所述套筒的形状,以供双手伸入该内里层内侧;以及
一发热片,设置在所述保温棉层与内里层之间,该蓄电池通过电源线电连接该发热片,而供电至该发热片,驱使该发热片发热。
该发热片产生的热可蓄积于所述保温棉层与阻温铝箔层内侧,若双手产生汗与湿气,也可通过阻温铝箔层的气孔逸散至外界,以避免双手于内里层内侧感觉闷湿;如此,本实用新型可利用发热片、保温棉层与阻温铝箔层提供较佳的供暖及保温效果,特别是能够藉由阻温铝箔层对外界透气及排汗。
依据上述主要结构特征,所述表层、阻温铝箔层与保温棉层以超音波压缝一体压合成型。
依据上述主要结构特征,该发热片由碳纤维丝材料织成;或者,该发热片由布料与回绕的碳纤维线材料织成。
依据上述主要结构特征,该袋体内利于人手触动的位置设有一开关,该开关通过电源线电连接所述发热复层的发热片与蓄电池,且发热复层经由该开关选择多段温度调整。
依据上述主要结构特征,该蓄电池为充电式或抛弃式。
依据上述主要结构特征,该蓄电池具有一充电线或一充电插孔,所述充电线或充电插孔能够显露于该袋体外。
依据上述主要结构特征,该袋体顶部形成有一置物口,以及一启闭该置物口的遮盖片,所述衔接元件显露于该遮盖片外或隐藏于该遮盖片下方。
依据上述主要结构特征,所述衔接元件为拉链、钮扣或魔鬼毡。
然而,为能明确且充分揭露本实用新型,并予列举较佳实施的图例,以详细说明其实施方式如后述:
附图说明
图1为本实用新型较佳实施例的立体图;
图2为图1实施例的一附加实施型态的前视图;
图3为图1实施例的另一附加实施型态的前视图;
图4为图1的侧视图;
图5为图4的使用状态图;
图6为图1实施例的套筒的立体图;
图7为图1的后侧视图;
图8为图1实施例的控制器与发热复层的配置示意立体图。
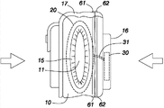
附图标记说明:10-袋体;11、12-袋口;13-容置室;14-置物口;15-松紧环套;16-容置部;17-遮盖片;2-套筒;20-发热复层;21-表层;22-阻温铝箔层;221-气孔;23-保温棉层;24-内里层;25-发热片;30-蓄电池;31-电源线;32-插孔;40-开关;50-控制器;61、62-衔接元件。
具体实施方式
请参阅图1所示,揭示出本实用新型较佳实施例的立体图,并配合图2至图4说明本实用新型的保暖随身包,包含于一袋体10两侧设置两个可供双手伸入的袋口11、12,所述袋口11、12内设置有一发热复层20,该袋体10内设有一电连接该发热复层20的蓄电池30,而供电至该发热复层20,以驱使发热复层20发热且对所述袋口11、12内双手供暖。
在更加具体的实施上,该袋体10可为腰包或手提包,内部形成一能够收纳物品的容置室13,且袋体10顶部形成一连通容置室13的置物口14,该发热复层20设于袋体10的容置室13内。
实施时,该袋体10顶部间隔设置有两个衔接元件61、62,所述衔接元件61、62可为拉链、钮扣或魔鬼毡,且所述衔接元件61、62能够相互衔接或分离(如图4及图5所示),而缩窄或放宽袋体10内部供给摆放双手的空间。
如此,当所述衔接元件61、62分离时,可放宽袋体10内部空间,而具有增加双手伸展的功能;当所述衔接元件61、62相互衔接时,可缩窄袋体10内部空间,而使袋体10呈现轻薄且时尚的外型。
该发热复层20可制成套筒2形状(如图6及图7所示),该套筒2双端分别延伸至袋体10两侧而形成该袋口11、12,所述袋口11、12连通套筒2内部与外界。
该套筒2包含一表层21、一阻温铝箔层22、一保温棉层23、一内里层24、以及一发热片25;其中:
该表层21具有透气能力,且制成套筒2的形状;该阻温铝箔层22设置在表层21内侧,用以阻隔内外温差,并具有多个细密气孔221,供湿气由内向外逸散。
该保温棉层23设置在阻温铝箔层22内侧,可由棉花、棉絮或人造纤维等材料填充而成,用以蓄热;该内里层24设置在保温棉层22内侧,沿着该表层21的轮廓制成等同于所述套筒2的形状,以供双手伸入内里层24内侧,而容置于套筒2内部。
该发热片25车缝设置在所述保温棉层23与内里层24之间,该蓄电池30通过一电源线31电连接该发热复层20内的发热片25(如图7及图8所示),而供电至发热片25,以驱使发热片25发热。
该袋体10内利于人手触动的位置设有一开关40,该开关40通过电源线31电连接所述发热复层20的发热片25与蓄电池30,用以控制蓄电池30供电至发热片25,而调整发热片25的发热温度。
凭借上述构件组成,该袋体10可供背于使用者肩上或系于腰上,并可调整袋体10垂挂于使用者腹部,该袋体10两侧的袋口11、12恰好可供给使用者双手顺势伸入,有利于在突发状况时可迅速将双手自袋口11、12内抽出。
一般使用时,使用者可经由启闭该开关40,而控制蓄电池30驱使该发热复层20的发热片25发热,致使该发热复层20的发热片25于套筒2内壁产生的热能通过内里层24对所述袋口11、12内的双手供暖与保温,而产生主动加热的功效。
所述发热复层20的发热片25产生的热并可蓄积于所述保温棉层23与阻温铝箔层22内侧,而产生蓄热保温与延伸热能传递等被动保温的功效,且进一步使得该发热片25不必持续加热,即可有效达到延长电力与蓄热保温的效果。
由于所述阻温铝箔层22具有透气能力,因此使用者双手若产生汗与湿气,可通过阻温铝箔层22的气孔221逸散至袋体10内部,进而逸散至外界,期间该阻温铝箔层22能够保留热气,以避免双手于内里层24内侧感觉闷湿,并使双手产生干爽舒适的感觉。
值得一提的是,前述发热片25所产生的热亦可蓄积于袋体10的容置室13内部,而对收纳于容置室13内的物品供暖保温;尤其是在山区或严寒地区,更可进一步于袋体10的容置室13内摆放食物或饮水的物品,而使所述食物与饮水能够得到发热片25与发热复层20供暖保温,以提供温热的食物与饮水。
据此,该袋体10的袋口11、12可利于双手伸入及抽出,以因应突发状况,并能够利用发热复层20的发热片25、保温棉层23与阻温铝箔层22对袋体10内的双手与物品提供较佳的供暖及保温效果,特别是能够凭借阻温铝箔层22对外界透气及排汗,以克服现有技术中,采用暖暖包、怀炉或于衣服内衬缝上电热丝等传统随身供暖装置,不利于针对双手供暖保温且不方便使用等问题,进而达到上述结合供暖、保温、透气与物品收纳功能于单一随身包的目的,尤其是于山区或严寒地区,更可结合袋体10的收纳能力与发热复层20的供暖保温能力,而进一步达到提供温热的食物与饮水的目的。
以下进一步说明本实用新型的具体实施方式:
实施时,该袋体10亦可由防水透气材料制成,可阻挡外界的水份与强风由外向内渗透,而具有防水与防风效果,该防水透气材料表面具有多个细密微孔,用以供湿气由内向外逸散。
实施时,所述袋口11、12经由套筒2于袋体10的容置室13内部相连通,而使发热复层20对双手均匀加热,且有利于双手自由活动。
实施时,该袋口11、12外缘形成一松紧环套15,当双手伸入袋口11、12内时,该松紧环套15弹性束紧双手的手腕,以阻隔外界冷风经由袋口11、12进入套筒2内部。
实施时,所述表层21、阻温铝箔层22与保温棉层23可采用超音波压缝一体压合成型。
实施时,该发热片25可由碳纤维丝材料织成,所述碳纤维具一定程度的阻抗,因此所述碳纤维于接受蓄电池30供电时会发热;或者,该发热片25亦可亦由布料与回绕的碳纤维线材料织成。
实施时,该开关40亦可为多段式开关,而使该发热复层20的发热片25经由该开关40选择多段温度调整。
实施时,该蓄电池30可为充电式或抛弃式,且所述蓄电池30与开关40可模组于一控制器50上,该开关40经由控制器50控制蓄电池30对发热片25供电。
实施时,该蓄电池30可摆放于袋体10背面的一容置部16内,该蓄电池30具有一充电线或一充电用USB插孔32,所述充电线或充电用USB插孔32能够显露于袋体10的容置部16外。
如此,该发热片25能以蓄电池30储存电力,并以电脑USB插孔、车上充电孔或家中110V电源为蓄电池30的主要电力来源,而驱使发热片25发热,使用者并可藉由蓄电池30的供电而能够自由进行登山或工作等活动。
实施时,该袋体10顶部形成一能够启闭置物口14的遮盖片17,所述衔接元件61、62可显露于遮盖片17外,或者隐藏于遮盖片17下方。
综上所陈,仅为本实用新型的较佳实施例而已,并非用以限定本实用新型;凡其他未脱离本实用新型所揭示的精神下而完成的等效修饰或置换,均应包含于后述申请专利范围内。
Claims (10)
1.一种保暖随身包,其特征在于,包含于一袋体两侧设置两个供双手伸入的袋口,所述袋口内设置有一通电后发热的发热复层,该袋体内设有一电连接该发热复层并供电给发热复层的蓄电池。
2.如权利要求1所述的保暖随身包,其特征在于,该袋体为腰包或手提包。
3.如权利要求1所述的保暖随身包,其特征在于,所述袋口于该袋体内部相连通。
4.如权利要求1所述的保暖随身包,其特征在于,该袋口外缘形成一用以阻隔外界冷风的松紧环套。
5.如权利要求1所述的保暖随身包,其特征在于,该发热复层设于该袋体内,且制成套筒形状,该套筒双端分别延伸至该袋体两侧而形成该袋口,所述袋口连通该套筒内部与外界。
6.如权利要求5所述的保暖随身包,其特征在于,该套筒包含:
一表层,为该套筒的形状;
一设置在该表层内侧用以阻隔内外温差的阻温铝箔层,并具有供湿气由内向外逸散的多个细密气孔;
一设置在该阻温铝箔层内侧用以蓄热的保温棉层;
一设置在该保温棉层内侧以供双手伸入的内里层,该内里层等同于所述套筒的形状;以及
一通过电源线与蓄电池电连接的发热片,该发热片设置在所述保温棉层与内里层之间。
7.如权利要求1所述的保暖随身包,其特征在于,该袋体内利于人手触动的位置设有一开关,该开关通过电源线电连接所述发热复层与蓄电池。
8.如权利要求7所述的保暖随身包,其特征在于,该发热复层经由该开关选择多段温度调整。
9.如权利要求1所述的保暖随身包,其特征在于,该蓄电池具有一充电线或一充电插孔,所述充电线或充电插孔能够显露于该袋体外。
10.如权利要求1所述的保暖随身包,其特征在于,该袋体上间隔设置有两个衔接元件,所述衔接元件能够相互衔接或分离,而缩窄或放宽该袋体内部供给摆放双手的空间。
Priority Applications (1)
| Application Number | Priority Date | Filing Date | Title |
|---|---|---|---|
| CN2012200362367U CN202456872U (zh) | 2012-02-06 | 2012-02-06 | 保暖随身包 |
Applications Claiming Priority (1)
| Application Number | Priority Date | Filing Date | Title |
|---|---|---|---|
| CN2012200362367U CN202456872U (zh) | 2012-02-06 | 2012-02-06 | 保暖随身包 |
Publications (1)
| Publication Number | Publication Date |
|---|---|
| CN202456872U true CN202456872U (zh) | 2012-10-03 |
Family
ID=46905086
Family Applications (1)
| Application Number | Title | Priority Date | Filing Date |
|---|---|---|---|
| CN2012200362367U Expired - Fee Related CN202456872U (zh) | 2012-02-06 | 2012-02-06 | 保暖随身包 |
Country Status (1)
| Country | Link |
|---|---|
| CN (1) | CN202456872U (zh) |
Cited By (1)
| Publication number | Priority date | Publication date | Assignee | Title |
|---|---|---|---|---|
| CN102894599A (zh) * | 2012-11-06 | 2013-01-30 | 李勇 | 一种多功能暖手箱包 |
-
2012
- 2012-02-06 CN CN2012200362367U patent/CN202456872U/zh not_active Expired - Fee Related
Cited By (2)
| Publication number | Priority date | Publication date | Assignee | Title |
|---|---|---|---|---|
| CN102894599A (zh) * | 2012-11-06 | 2013-01-30 | 李勇 | 一种多功能暖手箱包 |
| CN102894599B (zh) * | 2012-11-06 | 2015-10-14 | 李勇 | 一种多功能暖手箱包 |
Similar Documents
| Publication | Publication Date | Title |
|---|---|---|
| CN205866045U (zh) | 一种太阳能发电致热智能冲锋衣 | |
| CN203182051U (zh) | 一种太阳能体温调节衣物 | |
| CN203555192U (zh) | 一种降温/升温服 | |
| CN102612179B (zh) | 高分子远红外电致发热布及其加热系统 | |
| CN205848742U (zh) | 一种带背包的发热冲锋衣 | |
| CN202456872U (zh) | 保暖随身包 | |
| CN202588337U (zh) | 全天候电热保暖衣 | |
| CN203884730U (zh) | 多功能服装 | |
| CN207167823U (zh) | 新型多功能骑行服 | |
| WO2017083958A1 (en) | Hand warmer | |
| CN209660494U (zh) | 一种鳞片护膝 | |
| CN207370134U (zh) | 一种户外保温服装 | |
| CN201752243U (zh) | 不冷衣 | |
| CN210299579U (zh) | 一种多功能保暖衣 | |
| CN204812088U (zh) | 一种便携式太阳能多功能电热衣 | |
| CN203676220U (zh) | 一种电热服 | |
| CN202722555U (zh) | 一种可加热的外衣 | |
| CN201094322Y (zh) | 鞋用自热装置 | |
| CN204352002U (zh) | 移动保暖装置 | |
| CN206062197U (zh) | 负重水衣 | |
| CN201499640U (zh) | 多功能加热保暖保护装置 | |
| CN207185976U (zh) | 一种冬暖夏凉的恒温保温外套 | |
| CN102894599B (zh) | 一种多功能暖手箱包 | |
| CN204259873U (zh) | 加热冲锋衣 | |
| CN204421756U (zh) | 一种具有防弹功能的取暖服装 |
Legal Events
| Date | Code | Title | Description |
|---|---|---|---|
| C14 | Grant of patent or utility model | ||
| GR01 | Patent grant | ||
| CF01 | Termination of patent right due to non-payment of annual fee |
Granted publication date: 20121003 Termination date: 20160206 |
|
| CF01 | Termination of patent right due to non-payment of annual fee |