CN202455004U - Safe distribution box uniform in wiring - Google Patents

Safe distribution box uniform in wiring Download PDF

Info

Publication number
CN202455004U
CN202455004U CN2012200452819U CN201220045281U CN202455004U CN 202455004 U CN202455004 U CN 202455004U CN 2012200452819 U CN2012200452819 U CN 2012200452819U CN 201220045281 U CN201220045281 U CN 201220045281U CN 202455004 U CN202455004 U CN 202455004U
Authority
CN
China
Prior art keywords
distribution box
case lid
box
casing
wiring
Prior art date
Legal status (The legal status is an assumption and is not a legal conclusion. Google has not performed a legal analysis and makes no representation as to the accuracy of the status listed.)
Expired - Fee Related
Application number
CN2012200452819U
Other languages
Chinese (zh)
Inventor
陈东升
侯军
古彬
刘智
Current Assignee (The listed assignees may be inaccurate. Google has not performed a legal analysis and makes no representation or warranty as to the accuracy of the list.)
SHANDONG YUTAI ELECTRIC POWER MANUFACTURING Co Ltd
Original Assignee
SHANDONG YUTAI ELECTRIC POWER MANUFACTURING Co Ltd
Priority date (The priority date is an assumption and is not a legal conclusion. Google has not performed a legal analysis and makes no representation as to the accuracy of the date listed.)
Filing date
Publication date
Application filed by SHANDONG YUTAI ELECTRIC POWER MANUFACTURING Co Ltd filed Critical SHANDONG YUTAI ELECTRIC POWER MANUFACTURING Co Ltd
Priority to CN2012200452819U priority Critical patent/CN202455004U/en
Application granted granted Critical
Publication of CN202455004U publication Critical patent/CN202455004U/en
Anticipated expiration legal-status Critical
Expired - Fee Related legal-status Critical Current

Links

Images

Classifications

    • YGENERAL TAGGING OF NEW TECHNOLOGICAL DEVELOPMENTS; GENERAL TAGGING OF CROSS-SECTIONAL TECHNOLOGIES SPANNING OVER SEVERAL SECTIONS OF THE IPC; TECHNICAL SUBJECTS COVERED BY FORMER USPC CROSS-REFERENCE ART COLLECTIONS [XRACs] AND DIGESTS
    • Y02TECHNOLOGIES OR APPLICATIONS FOR MITIGATION OR ADAPTATION AGAINST CLIMATE CHANGE
    • Y02ATECHNOLOGIES FOR ADAPTATION TO CLIMATE CHANGE
    • Y02A30/00Adapting or protecting infrastructure or their operation
    • Y02A30/14Extreme weather resilient electric power supply systems, e.g. strengthening power lines or underground power cables

Landscapes

  • Casings For Electric Apparatus (AREA)

Abstract

本实用新型提供一种布线均匀的安全配电箱,其结构包括箱体,所述箱体顶部开有一矩形凹槽,凹槽内活动设置一箱盖,箱盖与箱体之间通过磁力锁连接固定,所述箱盖上开有与磁力锁相对应的锁孔,所述箱体内壁上设置有不少于两个的束线孔。该布线均匀的安全配电箱和现有技术相比,具有设计合理、结构简单、构思巧妙、使用方便等特点,其结构设计有效防止灰尘、水分进入,大大提高产品的形象,提升产品竞争力。

Figure 201220045281

The utility model provides a safety distribution box with uniform wiring. The structure includes a box body. A rectangular groove is opened on the top of the box body. A box cover is movably arranged in the groove, and a magnetic lock is used between the box cover and the box body. The connection is fixed, the box cover is provided with a lock hole corresponding to the magnetic lock, and the inner wall of the box is provided with no less than two wire harness holes. Compared with the existing technology, the safety distribution box with uniform wiring has the characteristics of reasonable design, simple structure, ingenious conception, and convenient use. .

Figure 201220045281

Description

Uniform safe power distribution box connects up
Technical field
The utility model relates to the power cable technical field, the uniform safe power distribution box of a kind of specifically wiring simple in structure.
Background technology
Distribution box be by the electrical wiring requirement be assembled in switchgear, measuring instrument, protection electrical equipment and auxiliary equipment in sealing or the semiclosed metal cabinet or the screen width of cloth on, constitute low-voltage distribution equipment.Can connect or the branch deenergizing by manual or automatic switch during normal the operation.Cut off circuit or warning by protection electrical equipment when fault or irregular operating.Borrow measuring instrument can show operating various parameter, also can adjust, point out or send signal departing from normal operating conditions to some electric parameter.The distribution box that uses at present all is through loose-leaf case lid and casing to be linked together; Whole rectangular; But the distribution box of this structure makes extraneous dust, moisture etc. get in the casing easily; And the internal electrical route is mingled in together easily, can't effectively guarantee Electrical Safety, comparatively inconvenience during maintenance and inspection.
Summary of the invention
The technical assignment of the utility model is the deficiency that solves prior art, provides a kind of wiring simple in structure uniform safe power distribution box.
The technical scheme of the utility model realizes by following mode; This uniform safe power distribution box that connects up, its structure comprises casing, said casing top has a rectangular recess; Activity is provided with a case lid in the groove; Is connected through the magnetic force lock between case lid and the casing and fixes, have on the said case lid with magnetic force and lock corresponding lockhole, said cabinet wall is provided with and is no less than two beamline apertures.
Evagination is provided with plastic window, on the said case lid.
The curved tubulose of said beamline apertures also is crisscross arranged on cabinet wall.
The beneficial effect that the utility model is compared with prior art produced is:
That the uniform safe power distribution box of the wiring of the utility model has is simple in structure, easy to use, be skillfully constructed, characteristics such as with low cost; Design through beamline apertures makes the distribution box internal wiring put neatly; Inspection for ease of maintenaince; The case lid of distribution box is less and fix on the casing through magnetic force locking, has guaranteed that box house is clean
Prevent that dust, moisture from getting into, distribution box inside is conveniently observed in being provided with of observation window, and its structure improves the image of product greatly, promotes product competitiveness.
Description of drawings
Accompanying drawing 1 is the structural representation of the utility model.
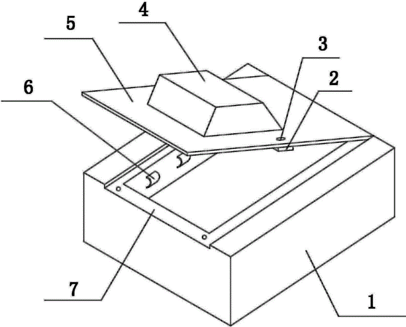
Mark in the accompanying drawing is represented respectively:
1, casing, 2, magnetic force lock, 3, lockhole, 4, observation window, 5, case lid, 6, beamline apertures, 7, groove.
Embodiment
Below in conjunction with accompanying drawing the uniform safe power distribution box of the wiring of the utility model is done following the detailed description.
Shown in accompanying drawing 1; This uniform safe power distribution box that connects up, its structure comprises casing 1, said casing 1 top has a rectangular recess 7; Activity is provided with a case lid 5 in the groove 7; Is connected through magnetic force lock 2 between case lid 5 and the casing 1 and fixes, have on the said case lid 5 with magnetic force and lock 2 corresponding lockholes 3, said casing 1 inwall is provided with the beamline apertures 6 that is no less than two.
Evagination is provided with plastic window, 4 on the said case lid 5.
Said beamline apertures 6 curved tubuloses also are crisscross arranged on casing 1 inwall.
Only need during use casing 1 is embedded in the body of wall, case lid 5 is exposed at body of wall and gets final product outward, checks the electric device of casing 1 inside, and whole use is very convenient.
Except that above-mentioned technical characterictic, be the known technology of those skilled in the art.

Claims (3)

1. uniform safe power distribution box connects up; Its structure comprises casing; It is characterized in that said casing top has a rectangular recess, activity is provided with a case lid in the groove, is connected through the magnetic force lock between case lid and the casing and fixes; Have on the said case lid with magnetic force and lock corresponding lockhole, said cabinet wall is provided with and is no less than two beamline apertures.
2. the uniform safe power distribution box of wiring according to claim 1 is characterized in that evagination is provided with plastic window, on the said case lid.
3. the uniform safe power distribution box of wiring according to claim 1 is characterized in that the curved tubulose of said beamline apertures and is crisscross arranged on cabinet wall.
CN2012200452819U 2012-02-13 2012-02-13 Safe distribution box uniform in wiring Expired - Fee Related CN202455004U (en)

Priority Applications (1)

Application Number Priority Date Filing Date Title
CN2012200452819U CN202455004U (en) 2012-02-13 2012-02-13 Safe distribution box uniform in wiring

Applications Claiming Priority (1)

Application Number Priority Date Filing Date Title
CN2012200452819U CN202455004U (en) 2012-02-13 2012-02-13 Safe distribution box uniform in wiring

Publications (1)

Publication Number Publication Date
CN202455004U true CN202455004U (en) 2012-09-26

Family

ID=46870834

Family Applications (1)

Application Number Title Priority Date Filing Date
CN2012200452819U Expired - Fee Related CN202455004U (en) 2012-02-13 2012-02-13 Safe distribution box uniform in wiring

Country Status (1)

Country Link
CN (1) CN202455004U (en)

Cited By (2)

* Cited by examiner, † Cited by third party
Publication number Priority date Publication date Assignee Title
CN104734095A (en) * 2013-12-19 2015-06-24 孙黎明 Wall and electric box mechanism
CN111614058A (en) * 2020-05-27 2020-09-01 上海吉朗景观工程有限公司 Outdoor landscape lamp installation wiring water repellent treatment device

Cited By (2)

* Cited by examiner, † Cited by third party
Publication number Priority date Publication date Assignee Title
CN104734095A (en) * 2013-12-19 2015-06-24 孙黎明 Wall and electric box mechanism
CN111614058A (en) * 2020-05-27 2020-09-01 上海吉朗景观工程有限公司 Outdoor landscape lamp installation wiring water repellent treatment device

Similar Documents

Publication Publication Date Title
CN202852210U (en) Blocking and sealing device of electric cable hole
CN202455004U (en) Safe distribution box uniform in wiring
CN202930786U (en) Substation maintenance power box
CN203465314U (en) Waterproof electric meter box
CN204067930U (en) Distribution box
CN203103794U (en) Double-door type power distribution box
CN202217980U (en) Sliding closure formula terminal box
CN203180371U (en) Safe distribution box
CN206878331U (en) A kind of electromechanical equipment switch board
CN205429642U (en) An ultra-thin bus duct socket
CN202474747U (en) Power distribution cabinet with wire inlet/outlet
CN204179526U (en) Twoly open sliding door distribution box
CN204481332U (en) Power distribution cabinet drawer outlet protector
CN203026802U (en) Separation type low-voltage power distribution cabinet
CN203660301U (en) Novel electrical cabinet
CN201663348U (en) Switchgear with viewing mirror
CN202474584U (en) Distribution box capable of storing data
CN205248655U (en) Distribution box
CN203103793U (en) A safety distribution box
CN204154775U (en) Multibit electricity meter case
CN202474557U (en) Power distribution cabinet with wiring groove
CN203026794U (en) Separation type low-voltage power distribution box
CN202434914U (en) Dust-proof structure and distribution box with same
CN203536800U (en) Low-voltage power distribution device with alarm mechanism
CN205123041U (en) Joint formula power distribution cabinet

Legal Events

Date Code Title Description
C14 Grant of patent or utility model
GR01 Patent grant
C17 Cessation of patent right
CF01 Termination of patent right due to non-payment of annual fee

Granted publication date: 20120926

Termination date: 20140213