CN202446737U - Leg-exercising device - Google Patents

Leg-exercising device Download PDF

Info

Publication number
CN202446737U
CN202446737U CN2012200503308U CN201220050330U CN202446737U CN 202446737 U CN202446737 U CN 202446737U CN 2012200503308 U CN2012200503308 U CN 2012200503308U CN 201220050330 U CN201220050330 U CN 201220050330U CN 202446737 U CN202446737 U CN 202446737U
Authority
CN
China
Prior art keywords
leg
rotating shaft
bar
slide
base plate
Prior art date
Legal status (The legal status is an assumption and is not a legal conclusion. Google has not performed a legal analysis and makes no representation as to the accuracy of the status listed.)
Expired - Fee Related
Application number
CN2012200503308U
Other languages
Chinese (zh)
Inventor
陈际军
Current Assignee (The listed assignees may be inaccurate. Google has not performed a legal analysis and makes no representation or warranty as to the accuracy of the list.)
Ningbo Zhenhai Ximen Patent Technology Development Co Ltd
Original Assignee
Ningbo Zhenhai Ximen Patent Technology Development Co Ltd
Priority date (The priority date is an assumption and is not a legal conclusion. Google has not performed a legal analysis and makes no representation as to the accuracy of the date listed.)
Filing date
Publication date
Application filed by Ningbo Zhenhai Ximen Patent Technology Development Co Ltd filed Critical Ningbo Zhenhai Ximen Patent Technology Development Co Ltd
Priority to CN2012200503308U priority Critical patent/CN202446737U/en
Application granted granted Critical
Publication of CN202446737U publication Critical patent/CN202446737U/en
Anticipated expiration legal-status Critical
Expired - Fee Related legal-status Critical Current

Links

Images

Landscapes

  • Footwear And Its Accessory, Manufacturing Method And Apparatuses (AREA)

Abstract

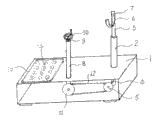
The utility model discloses a leg-exercising device. A shaft sleeve is arranged at the front end of a bottom plate; a slide shaft of a rack is arranged at the lower end of the shaft sleeve; the rack is meshed with a gear shaft which is horizontally arranged; a chain wheel is fixedly arranged at one end of the gear shaft; a fork-shaped head is arranged at the upper end of the slide shaft; a cylindrical shaft sleeve is arranged on the right side of the middle part of the bottom plate; a bearing and a rotating shaft are arranged in the shaft sleeve; a hand wheel is arranged at the upper end of the rotating shaft; and the lower end of the rotating shaft penetrates through the bottom plate and is connected with the chain wheel. The hand wheel on the rotating shaft is rocked, and the gear shaft is driven to rotate through the chain wheel to drive the slide shaft to move upwards or downwards. The device capable of adjusting the height of a leg and the fork-shaped head are arranged, so that the aims of safe and flexible training and more contribution to leg exercising are fulfilled.

Description

Practice the leg utensil
Technical field
The utility model relates to a kind of sports training apparatus, and the utensil of leg is lifted in specifically a kind of training.
Background technology
Today, the park has fitness equipment, these appliances are common practice in the leg joints and muscles resting legs appliances, but the drawback is resting with the legs point is often a crosspiece, resting legs will cause Tong pain followed by muscle, and these instruments can not be height adjustment, training more rigid, so that is not conducive to resting leg workout.
Summary of the invention
In order to overcome above-mentioned defective; The utility model provides a kind of experienced leg utensil, and this utensil is provided with fork-shaped and puts the device that the height of shank and leg rest point can be regulated, and it is comfortable not only to put leg; And can regulate the height of putting leg point at random, more help and make things convenient for shank training.
The utility model solves the technical measures that its technical problem takes, and base plate is processed rectangle, at the front end of base plate beam barrel is set; The slide-bar that ability direct-axis tube goes up and down in beam barrel is processed into tooth bar in the lower end of slide-bar, and tooth bar is meshed with the tooth axle of laterally installing; One end fixed chain wheels of tooth axle is installed fork head in the upper end of slide-bar, and cushion is set on fork head; Cushion is processed with sponge or rubber or plastics, and is more comfortable above leg rests like this; Right side, middle part at base plate is provided with the cylindricality beam barrel; Bearing and rotating shaft are installed in beam barrel, and handwheel is installed in the upper end of rotating shaft, and the lower end of rotating shaft is passed base plate and connected sprocket wheel; Sprocket wheel is discussed with the chain under the beam barrel through chain and is connected; Shake the handwheel in the rotating shaft, drive the tooth axle through chain and rotate, drive the up or decline of slide-bar; Rear end at base plate is provided with platform, and shoe is set on platform, and shoe is that the antiskid particles that raises up or be provided with intersects the tread plate that raises up in length and breadth, perhaps on platform, lays rubber blanket or anti-skidding plastic mattress.During use, persistent effort stands on the platform, leg is lifted to rest on the cushion of fork head with heel position perform physical exercise; Shake handwheel then; Fork head is risen or descend and come conversion to put the height of leg, the person taking exercise can adjust the intensity of training with this along with the height of feeling to increase or reduce to lift leg of oneself; Owing to be provided with device and the cushion that can regulate the height of putting leg, thereby safety helps the purpose of leg exercises flexibly and more when reaching training.
The beneficial effect of the utility model is, and is for the body-building apparatus that body-building provides a kind of comfortable peace to understand, simple in structure.
Description of drawings
Be described further the utility model is bright below in conjunction with accompanying drawing.
Accompanying drawing 1 is a sketch map of practicing the structure of leg utensil.
Among the figure, 1, base plate, 2, beam barrel, 3, slide-bar, 4, the tooth axle, 5, sprocket wheel, 6, fork head, 7, cushion, 8, beam barrel, 9, rotating shaft, 10, handwheel, 11, sprocket wheel, 12, chain, 13, platform, 14, shoe.
The specific embodiment
In the drawings, base plate 1 is processed rectangle, at the front end of base plate beam barrel 2 is set; The slide-bar 3 that ability direct-axis tube goes up and down in beam barrel is processed into tooth bar in the lower end of slide-bar, and tooth bar is meshed with the tooth axle of laterally installing 4; One end fixed chain wheels 5 of tooth axle is installed fork head 6 in the upper end of slide-bar, and cushion 7 is set on fork head; Cushion is processed with sponge or rubber or plastics, and is more comfortable above leg rests like this; Right side, middle part at base plate is provided with cylindricality beam barrel 8; Bearing and rotating shaft 9 are installed in beam barrel, and handwheel 10 is installed in the upper end of rotating shaft, and the lower end of rotating shaft is passed base plate and connected sprocket wheel 11; Sprocket wheel is discussed with the chain under the beam barrel through chain 12 and is connected; Shake the handwheel in the rotating shaft, drive the tooth axle through chain and rotate, drive the up or decline of slide-bar; In the rear end of base plate platform 13 is set, shoe 14 is set on platform, shoe is that the antiskid particles that raises up or be provided with intersects the tread plate that raises up in length and breadth, perhaps on platform, lays rubber blanket or anti-skidding plastic mattress.During use, persistent effort stands on the platform, leg is lifted to rest on the cushion of fork head with heel position perform physical exercise, and shakes handwheel then, fork head is risen or descend and come conversion to put the height of leg.

Claims (3)

1. practice the leg utensil, base plate is processed rectangle, it is characterized in that: the front end at base plate is provided with beam barrel, the slide-bar that ability direct-axis tube goes up and down in beam barrel; Tooth bar is processed in lower end at slide-bar, and tooth bar is meshed with the tooth axle of laterally installing, and an end fixed chain wheels of tooth axle is installed fork head in the upper end of slide-bar; Cushion is set on fork head, the cylindricality beam barrel is set, bearing and rotating shaft are installed in beam barrel on the right side, middle part of base plate; Handwheel is installed in the upper end of rotating shaft, and the lower end of rotating shaft is passed base plate and connected sprocket wheel, and sprocket wheel is discussed with the chain under the beam barrel through chain and is connected; Shake the handwheel in the rotating shaft, drive the tooth axle through chain and rotate, drive the up or decline of slide-bar; Rear end at base plate is provided with platform, and shoe is set on platform.
2. experienced leg utensil according to claim 1 is characterized in that: said cushion is processed with sponge or rubber or plastics, and is more comfortable above leg rests like this.
3. experienced leg utensil according to claim 1 is characterized in that: said shoe is that the antiskid particles that raises up or be provided with intersects the tread plate that raises up in length and breadth, perhaps on platform, lays rubber blanket or anti-skidding plastic mattress.
CN2012200503308U 2012-02-16 2012-02-16 Leg-exercising device Expired - Fee Related CN202446737U (en)

Priority Applications (1)

Application Number Priority Date Filing Date Title
CN2012200503308U CN202446737U (en) 2012-02-16 2012-02-16 Leg-exercising device

Applications Claiming Priority (1)

Application Number Priority Date Filing Date Title
CN2012200503308U CN202446737U (en) 2012-02-16 2012-02-16 Leg-exercising device

Publications (1)

Publication Number Publication Date
CN202446737U true CN202446737U (en) 2012-09-26

Family

ID=46862634

Family Applications (1)

Application Number Title Priority Date Filing Date
CN2012200503308U Expired - Fee Related CN202446737U (en) 2012-02-16 2012-02-16 Leg-exercising device

Country Status (1)

Country Link
CN (1) CN202446737U (en)

Cited By (2)

* Cited by examiner, † Cited by third party
Publication number Priority date Publication date Assignee Title
CN102526972A (en) * 2012-02-16 2012-07-04 宁波市镇海西门专利技术开发有限公司 Leg exercising appliance
CN103142071A (en) * 2013-04-07 2013-06-12 宁波市镇海怡福莱文化创意有限公司 Square chair for learning standing

Cited By (3)

* Cited by examiner, † Cited by third party
Publication number Priority date Publication date Assignee Title
CN102526972A (en) * 2012-02-16 2012-07-04 宁波市镇海西门专利技术开发有限公司 Leg exercising appliance
CN102526972B (en) * 2012-02-16 2016-01-20 宁波市镇海西门专利技术开发有限公司 Practice leg utensil
CN103142071A (en) * 2013-04-07 2013-06-12 宁波市镇海怡福莱文化创意有限公司 Square chair for learning standing

Similar Documents

Publication Publication Date Title
CN206285423U (en) Liftable barre split combined exercise device
CN105080066A (en) Arm tension fitness equipment
CN203183582U (en) fitness equipment
CN202446737U (en) Leg-exercising device
CN105664430A (en) Sliding loading push-up exerciser
CN203954577U (en) upper and lower limbs rehabilitation training device
CN104922861A (en) Pickaback muscle-exercising device
CN203861857U (en) Arm and abdomen exercise equipment
CN102526972A (en) Leg exercising appliance
CN202409991U (en) Appliance for exercising legs
CN211328065U (en) Aerobics exercises training frame
CN202497659U (en) Leg raising assist trainer
CN102526973A (en) Leg exercising appliance
CN203829550U (en) Pedaling and stretching ergostat
CN105582644A (en) Arm strength pushing and pressing exercise equipment
CN211912609U (en) A split auxiliary device for gymnastics training
CN102641579B (en) Handstand walking device
CN210963723U (en) Deep squat exercise trainer capable of assisting lifting
CN104922864A (en) Sitting-type lifting loading frame
CN102526974A (en) Leg raising exercise aid
CN105080057A (en) Abdominal push fitness equipment
CN204601553U (en) One seethes specialized training device
CN204319664U (en) Slip arm strength presses down exercising machine
CN104922877A (en) Hip muscle push-pull device
CN104941118A (en) Leg muscle pressure exerciser

Legal Events

Date Code Title Description
C14 Grant of patent or utility model
GR01 Patent grant
C17 Cessation of patent right
CF01 Termination of patent right due to non-payment of annual fee

Granted publication date: 20120926

Termination date: 20130216