CN202446076U - Disposable intracranial pressure dynamic monitor - Google Patents

Disposable intracranial pressure dynamic monitor Download PDF

Info

Publication number
CN202446076U
CN202446076U CN2012200071164U CN201220007116U CN202446076U CN 202446076 U CN202446076 U CN 202446076U CN 2012200071164 U CN2012200071164 U CN 2012200071164U CN 201220007116 U CN201220007116 U CN 201220007116U CN 202446076 U CN202446076 U CN 202446076U
Authority
CN
China
Prior art keywords
intracranial pressure
drainage tube
display
disposable
drain
Prior art date
Legal status (The legal status is an assumption and is not a legal conclusion. Google has not performed a legal analysis and makes no representation as to the accuracy of the status listed.)
Expired - Fee Related
Application number
CN2012200071164U
Other languages
Chinese (zh)
Inventor
李树林
杨天明
史志刚
Current Assignee (The listed assignees may be inaccurate. Google has not performed a legal analysis and makes no representation or warranty as to the accuracy of the list.)
Zhenjiang Hengsheng Juanen Medical Appliance Co Ltd
Original Assignee
Zhenjiang Hengsheng Juanen Medical Appliance Co Ltd
Priority date (The priority date is an assumption and is not a legal conclusion. Google has not performed a legal analysis and makes no representation as to the accuracy of the date listed.)
Filing date
Publication date
Application filed by Zhenjiang Hengsheng Juanen Medical Appliance Co Ltd filed Critical Zhenjiang Hengsheng Juanen Medical Appliance Co Ltd
Priority to CN2012200071164U priority Critical patent/CN202446076U/en
Application granted granted Critical
Publication of CN202446076U publication Critical patent/CN202446076U/en
Anticipated expiration legal-status Critical
Expired - Fee Related legal-status Critical Current

Links

Images

Landscapes

  • External Artificial Organs (AREA)
  • Measuring And Recording Apparatus For Diagnosis (AREA)

Abstract

The utility model relates to a disposable intracranial pressure dynamic monitor and belongs to operation instruments of medical equipment. The disposable intracranial pressure dynamic monitor comprises an intracranial drain tube, a three-way valve, an extracranial drain tube, a check bottle and a drain bag/bottle and is characterized in that a drain flow regulator is arranged in the middle of the extracranial drain tube, and a monitoring display is arranged at the position between the drain flow regulator and the check bottle. The monitoring display comprises an intracranial pressure sensor located in a tube cavity of the extracranial drain tube, a circuit board for collecting and displaying pressure intensity value of the intracranial pressure sensor, a display screen matched with the circuit board to display the intracranial pressure value, a battery pack for providing power source for the circuit board and the display screen, a screen frame for fixing the monitoring display and an adjusting support matched with the screw frame. A drain switch is arranged on the extracranial drain tube at the position between the monitoring display and the check bottle. Proved by try, the disposable intracranial pressure dynamic monitor has functions of draining and monitoring intracranial pressure in real time and can completely serve as a disposable medical apparatus which can completely eradicate patient cross infection and is simple in structure and low in manufacture price.

Description

Disposable use intracranial pressure dynamic monitor
Technical field: this utility model belongs to the surgery instrument of armarium, especially for a kind of disposable use intracranial pressure dynamic monitor of neurosurgery.
Background technology: prior art document 1 ZL 201020593226.4 discloses a kind of monitoring intracranial pressure drain composite set; Its technical scheme is: " it mainly is made up of brain inner drainage tube 1, three-way cock 2, intracranial pressure sensor 3, monitoring intracranial pressure main frame 4, altitude mixture control guide rail 5, unidirectional controller 6, brain drainage tube 7, non-return bottle 8 and drainage bottle/9; three-way cock 2 is installed in the end of brain inner drainage tube 1; intracranial pressure sensor 3 is arranged on the inwall of brain inner drainage tube 1; intracranial pressure sensor 3 is electrically connected with monitoring intracranial pressure main frame 4, and brain inner drainage tube 1 links to each other with brain drainage tube 7, and unidirectional controller 6 is installed on the brain drainage tube 7; brain inner drainage tube 1 links to each other with the brain drainage tube 7 monitoring intracranial pressure main frame 4 that all they move up and down with drive; monitoring intracranial pressure main frame 4 is installed on the altitude mixture control guide rail 5, and the terminal of brain drainage tube 7 links to each other with non-return bottle 8, and non-return bottle 8 links to each other with drain bottle/bag 9." document 1 the monitoring intracranial pressure drainage system structurally with practical implementation in exist following not enough:
1, on the structure: the monitoring intracranial pressure main frame also has sound light alarming circuit and supporting with it audible-visual annunciator except having signal processing circuit and supporting with it digital form display screen, drives control circuit and the supporting with it electronic check valve of the electronic check valve of unidirectional controller when monitoring intracranial pressure greater than setting value in addition.So complex structure, cost is higher, can't become to stop the simple in structure of patient's cross infection, and the function cost is than high disposable medical instrument.
2, in the practical implementation: intracranial pressure sensor 3 is arranged on the inwall of brain inner drainage tube 1; Intracranial pressure sensor 3 is electrically connected with monitoring intracranial pressure main frame 4 again; Those of ordinary skill in the art knows; Intracranial pressure sensor 3 only is arranged on the inwall of brain drainage tube 7; Might realize just that it is described " drives 6 pairs of brain drainage tubes of electronic check valve 7 and carries out on/off, keep patient's intracranial pressure in normal scope thereby carry out drain automatically when monitoring intracranial pressure main frame 4 monitors intracranial pressure greater than setting value." obviously press the monitoring intracranial pressure drainage system of document 1 disclosed technical scheme design, be difficult to carry out the medical apparatus and instruments that becomes the clinical use of real input.
Prior art document 2 ZL 200420102860.8 disclose the comprehensive monitor of a kind of intracranial pressure; " comprise housing 1, puncture needle 2, pressure-measuring pipe 3, pressure transducer 4, the comprehensive monitor 5 of intracranial pressure and control device 6; puncture needle 2 tails connect pressure-measuring pipe 3; another termination pressure transducer 4 of pressure-measuring pipe 3, pressure transducer 4 links to each other with the comprehensive monitor 5 of intracranial pressure, and said pressure transducer 4 is electrically connected said control device 6; have on the said pressure-measuring pipe 3 drainage tube 7 and 8 two branches of irrigating tube; on said drainage tube 7, be respectively equipped with drain switch 9, dropping funnel 10, be installed in flow monitor 11 and drain actuator 12 on the dropping funnel 10, said flow monitor 11 is electrically connected with control device 6 respectively with drain actuator 1, and said irrigating tube 8 is provided with lavation switch 13.The tail end of said drain switch 9 connects the inlet of dropping funnel 10, and dropping funnel 10 outlets are connected with drain actuator 12, motor or driven by servomotor drain switch 9.Said flow monitor 11 is stalagmometer measuring device and the ultrasonic flowmeters with infrared induction.Said pressure-measuring pipe 3 is provided with the tee T 14 that joins with drain branch, lavation branch.Said drain switch 9 is made up of the push piece 902 of the V-type chuck 901 of clamping drainage tube 7, roof pressure drainage tube and drive motors 903 or electromagnetic switch." the comprehensive monitor of prior art document 2 disclosed intracranial pressures; in structure, adopted high motor of cost or driven by servomotor drain switch; flow monitor is again stalagmometer measuring device and the ultrasonic flowmeter with infrared induction, the drain switch also is made up of the push piece of the V-type chuck of clamping drainage tube, roof pressure drainage tube and drive motors 903 or electromagnetic switch.Obviously in order to reach drain and to monitor two functions of intracranial pressure simultaneously, its function cost is lower than quite, is far from being fully to become to stop the simple and practical of patient's cross infection, and the function cost is than high disposable medical instrument.
Prior art document 3 ZL 200920023296.3 disclose a kind of intracranial pressure dynamic monitor, and its technical scheme is: " under the dura mater of craniocerebral operations hindbrain or the Intraventricular drainage tube outer end of inserting, be connected with the fluid pressure table with connection tube.In the inner chamber of said connection tube, being equipped with can fluid partitioning and transmit the traveller of pressure, in the cavity between traveller and the fluid pressure meter connector, is filled with the medium that can transmit pressure; Nearly pressure tapping place in said connection tube is equipped with pressure transducer, and the pressure transducer outfan is connected with microcomputer; At the position of said connection tube between syringe needle outlet and traveller, the switch valve of band sample tap, may command connection tube and sample tap is installed; Said switch valve is medical three-way valve." unit of display of fluid pressure table is handkerchief Pa.Prior art document 3 disclosed intracranial pressure dynamic monitors can only be used for the measuring patient intracranial pressure, can't in monitoring, realize to patient's drain intracranial hydrops; More do not belong to and have drain and real-time two functions of monitoring intracranial pressure, simple in structure, the function cost is than high disposable medical instrument.
Prior art document 4 ZL 02206950.X disclose the dual-purpose intracrenial pressure monitor of a kind of disposable plain type, " comprise and indicate graduated pressure-measuring pipe, connection tube, three-way cock, drainage tube, intracranial pipe.During use; With inserting the cranial arachnoid cavity of resorption or ICV intracranial pipe is connected with the three-way cock that is connected to pressure-measuring pipe, connection tube and drainage tube, pressure-measuring pipe is vertically fixed on the sick bed top, and the O point is positioned at patient's porus acusticus externus level; Cerebrospinal fluid plane in the pressure-measuring pipe is intracranial pressure, and unit is mmH 2O opens three-way cock and can make external ventricle drainage.”
Prior art document 5 ZL 200820022069.4 disclose a kind of disposable ICP; " comprise ventricular drainage tube (1), tee T (2) and pressure-measuring pipe (7); the rear and front end of tee T (2) connects the front end of ventricular drainage tube (1) rear end and pressure-measuring pipe (7) respectively, the side of tee T (2) connects the lower end of silica gel hose (4), and the back-end closure of pressure-measuring pipe (7) connects gas collecting bottle (11); the upper end of silica gel hose (4) is provided with sealing-plug (5); be fixed with lock valve (3) on the silica gel hose (4), and pressure-measuring pipe (7) and gas collecting bottle (11) are fixed on the base for supporting (6), and the tube wall subscript of pressure-measuring pipe (7) is marked with and the corresponding pressure scale of pressure values (9) (10)." " when needing the external drainage cerebrospinal fluid or extracting cerebrospinal fluid to carry out laboratory examination, insert drainage tube or empty needle just can carry out external drainage or extraction BIAO and BEN from the side of tee T.”
Prior art document 4,5 dual-purpose intracrenial pressure monitor of disclosed disposable plain type and disposable ICPs; All belong to after the easy method measurement intracranial pressure; The drainage channel of opening threeway does not have the non-dynamic monitoring instrument that carries out drain under the state of monitoring or extract cerebrospinal fluid in intracranial pressure; That is to say the variation that in drain, can't monitor intracranial pressure, obviously do not have monitoring truly patient's intracranial pressure; In addition, prior art document 4,5 dual-purpose intracrenial pressure monitor of disclosed disposable plain type and disposable ICPs, the intracranial pressure that it records, unit is millimeter of water mmH 2O or handkerchief Pa are not the international millimetres of mercury mmHg that uses always with the clinician, and this causes inconvenience to international exchange and clinical examination.
This shows that design a kind of two functions of drain and real-time monitoring intracranial pressure that have simultaneously, simple and practical, the function cost is necessary than high disposable use intracranial pressure dynamic monitor.
The utility model content: the purpose of this utility model is the deficiency that overcomes prior art, designs a kind of two functions of drain and real-time monitoring intracranial pressure that have simultaneously, and simple and practical, the function cost is than high disposable use intracranial pressure dynamic monitor.
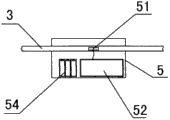
The purpose of this utility model is achieved in that a kind of disposable use intracranial pressure dynamic monitor; Comprise the brain inner drainage tube in the end implantation patient encephalocoele; Be communicated in the three-way valve of the outer end of encephalocoele of brain inner drainage tube, be communicated in the brain drainage tube of the three-way valve other end, be communicated in the non-return bottle of brain drainage tube far-end; Be communicated in the drainage bag/bottle of non-return bottle bottom, it is characterized in that being designed with the drainage flow actuator in said brain drainage tube middle part; The position of said brain drainage tube between drainage flow actuator and non-return bottle is designed with monitor display; Said monitor display comprises the intracranial pressure sensor that is positioned at brain drainage tube lumen wall; The pressure value of collection and treatment intracranial pressure sensor and the circuit board that shows; Be matched with the display screen of circuit board demonstration intracranial pressure numerical value; The set of cells of power supply being provided for circuit board and display screen is in order to the screw frame of stationary monitoring display; The attachment screw frame is regulated the adjusting support of monitor display upper-lower position; The position of said brain drainage tube between monitor display and non-return bottle is designed with the drain switch.
Described drainage flow actuator is a fluid infusion plastics V-type folder commonly used.Described intracranial pressure sensor is the disposable blood pressure sensor that is widely used in clinical medicine.Described circuit board is measuring and the display circuit template from the making sheet level of conventional model components and parts composition.Described display screen is the LCD screen.The intracranial pressure demonstration conventional unit of described display screen is that the intracranial pressure of millimetres of mercury mmHg display screen shows that pressure unit is millimetres of mercury mmHg or millimeter of water mmH 2O or kPa KPa.Described set of cells is dry cell batteries commonly used.
The disposable use intracranial pressure dynamic monitor that this utility model enforcement obtains through on probation, has compared with prior art shown following beneficial effect:
1, has drain simultaneously and monitor two functions of intracranial pressure in real time.Can only measure with prior art document 3 disclosed intracranial pressure dynamic monitors can not drain; The dual-purpose intracrenial pressure monitor of prior art document 4,5 disclosed disposable plain types, disposable ICP can not carry out drain when measuring intracranial pressure and compare; The intracranial pressure sensor of this utility model is arranged at brain drainage tube lumen wall; Just in the drainage channel of cerebrospinal fluid; Do not hinder the drain of drainage channel on the one hand, real-time monitored patient's intracranial pressure dynamic change value on the other hand.Particularly medical worker and patient and entourage all can read the intracranial pressure value from the display screen of monitor display with coming into plain view at any time; When the too high or too low situation of the intracranial pressure that emergency action needing to occur, the medical worker can in time adjust disposal through the drainage flow actuator easily.2, cost simple in structure is low, and the function cost is than high.Compare with prior art 1,2 disclosed monitoring intracranial pressure drain composite sets, the comprehensive monitor of intracranial pressure; This utility model is simple and practical; Forming components and parts does not have monitoring intracranial pressure main frame, audible-visual annunciator, the electronic check valve of the high monitoring intracranial pressure drain composite set of cost; The motor of the comprehensive monitor of intracranial pressure that cost is higher or driven by servomotor drain switch have the stalagmometer measuring device and the ultrasonic flowmeter of infrared induction, the push piece of roof pressure drainage tube and drive motors 903 or electromagnetic switch; Reach drain equally and monitor two functions of intracranial pressure simultaneously, in this utility model: brain inner drainage tube 1; Three-way valve 2; Brain drainage tube 3; Drainage flow actuator 4 is a fluid infusion plastics V-type folder commonly used; Non-return bottle 7; Drain switch 8; Drainage bag/bottle 9 all originally is disposable low price medical supplies commonly used.The intracranial pressure sensor 51 that constitutes monitor display 5 is selected the disposable blood pressure sensor of the 1620-3-N-T model of low price for use; Circuit board 52 be conventional components and parts form from the simple and easy template of making sheet level measuring circuit; Display screen 53 is selected the SDT-M9243-RP-1 type LCD screen of the small size 32 * 69.5mm of low price for use; Set of cells 54 adopts dry cell batteries commonly used just to be enough to keep the lasting operate as normal of this utility model; As select for use No. 7 aneroid battery of 3 joints just can continue operate as normal more than 120 hours, screw frame 55 is micro plastic spares; Regulating support 6 is self-control working of plasticss at a low price.This shows that total manufacturing cost possibly be controlled at below 150 yuan fully, the function cost is higher than quite, can become fully and stop the simple and practical of patient's cross infection, and the function cost is than high disposable medical instrument.3, more be applicable to clinical use, especially the intracranial pressure show value more is applicable to and clinically uses and meet international requirement.The disposable use intracranial pressure dynamic monitor that this utility model is implemented to obtain has following function: (1), monitoring patient's intracranial pressure dynamic change value, and medical worker and patient and entourage all can read the intracranial pressure value from the display screen 53 of monitor display with coming into plain view at any time; Need the intracranial pressure under the non-drain state of measuring patient; Only need close drain switch 8, read on the display screen 53 of monitor display the intracranial pressure value promptly be the intracranial pressure that the dual-purpose intracrenial pressure monitor of similar prior art document 4,5 disclosed disposable plain types, disposable ICP are measured.(2), when needing the extraction cerebrospinal fluid to carry out laboratory examination, close drainage flow actuator 4, but insert syringe with regard to sample drawn from the upper end of three-way valve 2.(3), need when intracranial injects medicine, close drainage flow actuator 4, insert the syringe that medicinal liquid is housed from the upper end of three-way valve 2 and just can inject medicine to intracranial.Especially the intracranial pressure unit of display of this utility model is millimetres of mercury mmHg or millimeter of water mmH 2O or kPa KPa are than the millimeter of water mmH of intracranial pressure unit of prior art document 4,5 dual-purpose intracrenial pressure monitors of disclosed disposable plain type and disposable ICP 2O or handkerchief Pa more are applicable to clinical use, adopt the case data of millimetres of mercury mmHg record to meet international requirement.
Description of drawings: Fig. 1 is the sketch map that meets this utility model thematic structure; Fig. 2 is monitor display structural representation thousand figure of this utility model.Label among the figure: patient's encephalocoele 0; Brain inner drainage tube 1; Three-way valve 2; Brain drainage tube 3; Drainage flow actuator 4; Monitor display 5; Intracranial pressure sensor 51, circuit board 52, display screen 53, set of cells 54, screw frame 55; Regulate support 6; Non-return bottle 7; Drain switch 8; Drainage bag/bottle 9.
The specific embodiment: the implementation detail of this utility model is explained as follows below in conjunction with accompanying drawing:
Like Fig. 1, shown in 2; A kind of disposable use intracranial pressure dynamic monitor comprises the brain inner drainage tube 1 in the end implantation patient encephalocoele 0, is communicated in the three-way valve 2 of the outer end of encephalocoele of brain inner drainage tube; Be communicated in the brain drainage tube 3 of the three-way valve other end; Be communicated in the non-return bottle 7 of brain drainage tube far-end, be communicated in the drainage bag/bottle 9 of non-return bottle bottom, it is characterized in that being designed with drainage flow actuator 4 in said brain drainage tube middle part; The position of said brain drainage tube between drainage flow actuator and non-return bottle is designed with monitor display 5; Said monitor display comprises the intracranial pressure sensor 51 that is positioned at brain drainage tube lumen wall; The pressure value of collection and treatment intracranial pressure sensor and the circuit board 52 that shows; Be matched with the display screen 53 of circuit board demonstration intracranial pressure numerical value; The set of cells 54 of power supply being provided for circuit board and display screen is in order to the screw frame 55 of stationary monitoring display; The attachment screw frame is regulated the adjusting support 6 of monitor display upper-lower position; The position of said brain drainage tube between monitor display and non-return bottle is designed with drain switch 8.
As shown in Figure 1, described drainage flow actuator 4 is fluid infusion plastics V-type folder commonly used.
As shown in Figure 2, described intracranial pressure sensor 51 is for being widely used in the disposable blood pressure sensor of clinical medicine.The disposable blood pressure sensor of selecting the 1620-3-N-T model during enforcement for use is an intracranial pressure sensor, and it is lower to reach real-time monitoring requirement and cost fully.As shown in Figure 2, described circuit board 52 is measuring and the display circuit template from the making sheet level of conventional components and parts composition.As shown in Figure 2, described set of cells 54 is dry cell batteries commonly used.
As shown in Figure 1, described display screen 53 is the LCD screen.Select the SDT-M9243-RP-1 type LCD screen of 32 * 69.5mm during enforcement for use, the intracranial pressure of display screen shows that pressure unit is millimetres of mercury mmHg or millimeter of water mmH 2O or kPa KPa can select for use during practical implementation and lock one of them, and that commonly used is millimetres of mercury mmHg, can switch to millimeter of water mmH in case of necessity 2O, or kPa KPa.

Claims (7)

1. disposable use intracranial pressure dynamic monitor; Comprise the brain inner drainage tube (1) in the end implantation patient encephalocoele; Be communicated in the three-way valve (2) of the outer end of encephalocoele of brain inner drainage tube, be communicated in the brain drainage tube (3) of the three-way valve other end, be communicated in the non-return bottle (7) of brain drainage tube far-end; Be communicated in the drainage bag/bottle (9) of non-return bottle bottom, it is characterized in that being designed with drainage flow actuator (4) in said brain drainage tube middle part; The position of said brain drainage tube between drainage flow actuator and non-return bottle is designed with monitor display (5); Said monitor display comprises the intracranial pressure sensor (51) that is positioned at brain drainage tube lumen wall; The pressure value of collection and treatment intracranial pressure sensor and the circuit board (52) that shows; Be matched with the display screen (53) of circuit board demonstration intracranial pressure numerical value; The set of cells (54) of power supply being provided for circuit board and display screen is in order to the screw frame (55) of stationary monitoring display; The attachment screw frame is regulated the adjusting support (6) of monitor display upper-lower position; The position of said brain drainage tube between monitor display and non-return bottle is designed with drain switch (8).
2. disposable use intracranial pressure dynamic monitor according to claim 1 is characterized in that described drainage flow actuator (4) is fluid infusion plastics V-type folder commonly used.
3. disposable use intracranial pressure dynamic monitor according to claim 1 is characterized in that described intracranial pressure sensor (51) is for being widely used in the disposable blood pressure sensor of clinical medicine.
4. disposable use intracranial pressure dynamic monitor according to claim 1 is characterized in that described circuit board (52) measuring and the display circuit template from the making sheet level for conventional model components and parts composition.
5. disposable use intracranial pressure dynamic monitor according to claim 1 is characterized in that described display screen (53) is the LCD screen.
6. according to claim 1 or 5 described disposable use intracranial pressure dynamic monitors, it is characterized in that the intracranial pressure of described display screen (53) shows that pressure unit is millimetres of mercury mmHg or millimeter of water mmH 2O or kPa KPa.
7. disposable use intracranial pressure dynamic monitor according to claim 1 is characterized in that described set of cells (54) is dry cell batteries commonly used.
CN2012200071164U 2012-01-10 2012-01-10 Disposable intracranial pressure dynamic monitor Expired - Fee Related CN202446076U (en)

Priority Applications (1)

Application Number Priority Date Filing Date Title
CN2012200071164U CN202446076U (en) 2012-01-10 2012-01-10 Disposable intracranial pressure dynamic monitor

Applications Claiming Priority (1)

Application Number Priority Date Filing Date Title
CN2012200071164U CN202446076U (en) 2012-01-10 2012-01-10 Disposable intracranial pressure dynamic monitor

Publications (1)

Publication Number Publication Date
CN202446076U true CN202446076U (en) 2012-09-26

Family

ID=46861975

Family Applications (1)

Application Number Title Priority Date Filing Date
CN2012200071164U Expired - Fee Related CN202446076U (en) 2012-01-10 2012-01-10 Disposable intracranial pressure dynamic monitor

Country Status (1)

Country Link
CN (1) CN202446076U (en)

Cited By (4)

* Cited by examiner, † Cited by third party
Publication number Priority date Publication date Assignee Title
CN102525446A (en) * 2012-01-10 2012-07-04 镇江恒生涓恩医疗器械有限公司 Disposable dynamic intracranial pressure monitor
CN103768704A (en) * 2014-02-21 2014-05-07 四川大学华西第二医院 Device for adjusting drainage volume of ventricular cerebrospinal fluid based on intracranial pressure feedback
CN104665805A (en) * 2015-03-11 2015-06-03 杭州创辉医疗电子设备有限公司 Implantable wireless intracranial pressure automatic monitoring system and method
CN107929824A (en) * 2017-11-20 2018-04-20 西安市中心医院 Multifunctional intellectual urinary bag

Cited By (6)

* Cited by examiner, † Cited by third party
Publication number Priority date Publication date Assignee Title
CN102525446A (en) * 2012-01-10 2012-07-04 镇江恒生涓恩医疗器械有限公司 Disposable dynamic intracranial pressure monitor
CN102525446B (en) * 2012-01-10 2014-01-08 镇江恒生涓恩医疗器械有限公司 Disposable dynamic intracranial pressure monitor
CN103768704A (en) * 2014-02-21 2014-05-07 四川大学华西第二医院 Device for adjusting drainage volume of ventricular cerebrospinal fluid based on intracranial pressure feedback
CN103768704B (en) * 2014-02-21 2017-01-25 四川大学华西第二医院 Device for adjusting drainage volume of ventricular cerebrospinal fluid based on intracranial pressure feedback
CN104665805A (en) * 2015-03-11 2015-06-03 杭州创辉医疗电子设备有限公司 Implantable wireless intracranial pressure automatic monitoring system and method
CN107929824A (en) * 2017-11-20 2018-04-20 西安市中心医院 Multifunctional intellectual urinary bag

Similar Documents

Publication Publication Date Title
CN102133096B (en) Treatment instrument for intracranial pressure monitoring and drainage and replacement of cerebrospinal fluid
CN202446076U (en) Disposable intracranial pressure dynamic monitor
CN206548894U (en) A kind of Lumbar cistern tube drainage system
CN201194954Y (en) Craniocerebral external drainage apparatus
CN102525446B (en) Disposable dynamic intracranial pressure monitor
CN206700451U (en) Multi parameter intallingent regulation can remote control high safety factor extraventricular drainage system
CN106421940B (en) A kind of closed ventricular external drainage device
CN209437729U (en) A drainage tube flow rate monitoring device
CN202822446U (en) Medical negative pressure aspirator
CN104353139A (en) Lumbar vertebra drainage device
CN214632144U (en) Simple intracranial pressure monitor
CN113750303A (en) An intracranial drainage and intracranial pressure monitoring device
CN104068871B (en) Water perfusion type intra-cavity power detector with automatic constant-pressure control function
CN112971934A (en) Integrated closed lumbar puncture pressure measurement sampling system
CN201783056U (en) Open type drainage tube with plurality of lateral holes at bullet-shaped blind end and lumbar cisterma drainage device adopting drainage tube
CN214434196U (en) Monitoring system based on internal air bag pressure measurement
CN216148702U (en) Intracranial flow guide and intracranial pressure monitoring device
CN215841146U (en) Drainage device and drainage system for light-controlled cerebrospinal fluid
CN201353141Y (en) Measuring intracranial pressure and cerebrospinal fluid sampling device
CN217772864U (en) Craniocerebral surgery hydrops drainage equipment
CN205038891U (en) External simulation ventricular system device
CN211797914U (en) Cerebrospinal fluid drainage device
CN113577518A (en) Light-operated constant-speed drainage device and drainage system for cerebrospinal fluid
CN201186072Y (en) Drainage machine for pneumatosis and dropsy in chest cavity
CN206548895U (en) A kind of children's Lumbar catheter catheter drainage device

Legal Events

Date Code Title Description
C14 Grant of patent or utility model
GR01 Patent grant
CF01 Termination of patent right due to non-payment of annual fee

Granted publication date: 20120926

Termination date: 20150110

EXPY Termination of patent right or utility model