CN202419339U - Side heat dissipation type LED (light-emitting diode) module, single-row type LED street lamp and double-row type LED street lamp - Google Patents

Side heat dissipation type LED (light-emitting diode) module, single-row type LED street lamp and double-row type LED street lamp Download PDF

Info

Publication number
CN202419339U
CN202419339U CN2011204629870U CN201120462987U CN202419339U CN 202419339 U CN202419339 U CN 202419339U CN 2011204629870 U CN2011204629870 U CN 2011204629870U CN 201120462987 U CN201120462987 U CN 201120462987U CN 202419339 U CN202419339 U CN 202419339U
Authority
CN
China
Prior art keywords
type led
heat sink
led
luminous plaque
led luminous
Prior art date
Legal status (The legal status is an assumption and is not a legal conclusion. Google has not performed a legal analysis and makes no representation as to the accuracy of the status listed.)
Expired - Fee Related
Application number
CN2011204629870U
Other languages
Chinese (zh)
Inventor
王振辉
Current Assignee (The listed assignees may be inaccurate. Google has not performed a legal analysis and makes no representation or warranty as to the accuracy of the list.)
HANGZHOU LIGHTECK OPTOELECTRONIC Co Ltd
Zhejiang High Quality Energy Technology Co Ltd
Original Assignee
Individual
Priority date (The priority date is an assumption and is not a legal conclusion. Google has not performed a legal analysis and makes no representation as to the accuracy of the date listed.)
Filing date
Publication date
Application filed by Individual filed Critical Individual
Priority to CN2011204629870U priority Critical patent/CN202419339U/en
Application granted granted Critical
Publication of CN202419339U publication Critical patent/CN202419339U/en
Anticipated expiration legal-status Critical
Expired - Fee Related legal-status Critical Current

Links

Images

Classifications

    • YGENERAL TAGGING OF NEW TECHNOLOGICAL DEVELOPMENTS; GENERAL TAGGING OF CROSS-SECTIONAL TECHNOLOGIES SPANNING OVER SEVERAL SECTIONS OF THE IPC; TECHNICAL SUBJECTS COVERED BY FORMER USPC CROSS-REFERENCE ART COLLECTIONS [XRACs] AND DIGESTS
    • Y02TECHNOLOGIES OR APPLICATIONS FOR MITIGATION OR ADAPTATION AGAINST CLIMATE CHANGE
    • Y02BCLIMATE CHANGE MITIGATION TECHNOLOGIES RELATED TO BUILDINGS, e.g. HOUSING, HOUSE APPLIANCES OR RELATED END-USER APPLICATIONS
    • Y02B20/00Energy efficient lighting technologies, e.g. halogen lamps or gas discharge lamps
    • Y02B20/72Energy efficient lighting technologies, e.g. halogen lamps or gas discharge lamps in street lighting

Landscapes

  • Arrangement Of Elements, Cooling, Sealing, Or The Like Of Lighting Devices (AREA)

Abstract

The utility model relates to an LED (light-emitting diode) module and the application thereof. A side heat dissipation type LED module comprises a radiator and an LED lighting slab. The radiator comprises a radiator body and a plurality of heat dissipating fins; the radiator body is in polygon and plate like structure; the LED lighting slab is horizontally arranged on the radiator body; the heat dissipating fins are arranged on the side face of the radiator body adjacent to the side of the LED lighting slab. A single-row type LED street lamp comprises a lamp shell and a side heat dissipation type LED module which is connected with the lamp shell. A double-row type LED street lamp comprises an installation beam, wherein a row of side heat dissipation type LED modules is arranged at each of the two sides of the installation beam. The side heat dissipation type LED module has a good heat dissipation effect and solves the problem of poor heat dissipation effect of the existing LED modules. The side heat dissipation type LED modules are used in manufacturing LED street lamps and can overcome the problem of short service life of the existing LED street lamps.

Description

Side cooling type LED module, single row type LED street lamp and double-row type LED street lamp
Technical field
The utility model relates to LED module and application thereof, relates in particular to a kind of side cooling type LED module and application thereof.
Background technology
Because LED has that volume is little, power consumption is low, long service life, high brightness, environmental protection and advantage such as sturdy and durable, is widely used at lighting field.
The heat that LED is produced when using must in time lose, otherwise can cause the LED light decay to accelerate, and the life-span of LED is shortened dramatically.
Method when LED is applied to throw light on is for to be made into the LED luminous plaque with LED; Then the LED luminous plaque is fitted on the radiator through heat-conducting glue; Through radiator heat is lost in the air; LED luminous plaque and radiator constitute the LED module, the LED module is combined with miscellaneous part be made into light fixture or backlight then.
At Chinese patent number is ZL2010206691763; Name be called disclose in the patent documentation of " a kind of pendent lamp " with installing plate a kind of with the lamp of LED as light source; This lamp comprises led light source (LED luminous plaque) and housing (radiator); The led light source horizontal is covered with lampshade on the led light source on the lower surface of lamp housing, the upper surface of housing is provided with vent rib.
Be 101922638A at the Chinese patent publication number, open day be December 22 in 2010 day, be called disclose in the patent documentation of " LED fluorescent lamp " another kind of with the lamp of LED as light source; This lamp comprises pedestal (radiator); Be fixed with lampshade and light source substrate on the pedestal, lampshade covers on outside the light source substrate, and light source substrate is provided with a plurality of LED; Wherein light source substrate and the LED on it constitute the LED luminous plaque, on the surface away from light source substrate one side of pedestal, are provided with vent rib.
The version in above-mentioned patent,, basically vent rib can be set on the radiator of LED module in order to improve radiating effect.Vent rib in the existing LED module concerns all as disclosed set-up mode in the above-mentioned light fixture with the position of LED luminous plaque: vent rib and LED luminous plaque are positioned on two opposite sides of radiator.Not enough below this kind set-up mode exists: the one side that is provided with the LED luminous plaque of radiator is down during owing to use; Therefore radiator just keeps off below vent rib; Thereby influence the air of vent rib region flowability, cause the radiating effect of LED module not good; When the LED module of poor heat radiation was made on the LED light fixture, then there was short deficiency in service life in the LED light fixture.
The utility model content
A purpose of the utility model aims to provide the good side cooling type LED module of a kind of radiating effect, has solved the not good problem of existing LED module radiating effect.
Another purpose of the utility model aims to provide the street lamp with side cooling type LED module, to overcome existing LED street lamp short problem in service life.
Above technical problem solves through following technical proposal: a kind of side cooling type LED module; Comprise radiator and LED luminous plaque; Said radiator comprises heat sink and some radiated ribs; Said heat sink is the tabular structure of polygon, and said LED luminous plaque horizontal is on said heat radiation matrix, and said radiated rib is arranged on the side with the adjacent said heat sink of said LED luminous plaque place side.
As preferably, said heat sink is the tabular structure of quadrangle, and said radiated rib only is arranged on on two the relative sides in the side of the adjacent said heat sink of said LED luminous plaque place side.When a plurality of the utility model were bolted together, the side that vent rib will be set was close together, and can reduce area occupied.
Preferred as another, said heat sink is the tabular structure of quadrangle, all is provided with said radiated rib on all sides with the adjacent said heat sink of said LED luminous plaque place side.All be distributed with vent rib on each side,, can both guarantee that the air of part vent rib periphery has preferable flowability, good heat dissipation effect regardless of the flow direction of air.
As preferably, form the groove that extends along perpendicular to said LED luminous plaque direction between the said radiated rib.The air in space, vent rib place can circulate down unobstructed ground, thereby in the heat radiation process, forms the air-flow of convection current up and down, good heat dissipation effect.
As preferably, the side away from said LED luminous plaque place side of said heat radiation matrix is provided with vent rib.
A kind of single row type LED street lamp; Comprise lamp housing and the side cooling type LED module that is connected with lamp housing; Said side cooling type LED module is arranged in a row; Said side cooling type LED module comprises radiator and LED luminous plaque, and said radiator comprises heat sink and some radiated ribs, and said heat sink is the tabular structure of polygon; Said LED luminous plaque horizontal is on said heat radiation matrix, and said radiated rib is arranged on the side with the adjacent said heat sink of said LED luminous plaque place side.
As preferably, said heat sink is the tabular structure of quadrangle, all is provided with said radiated rib on all sides with the adjacent said heat sink of said LED luminous plaque place side.
As preferably, this single row type LED street lamp comprises power supply, and all LED luminous plaques are connected electrically on the said power supply.
A kind of double-row type LED street lamp; Comprise mounting rail, the both sides of said mounting rail respectively are provided with row's side cooling type LED module, and said side cooling type LED module comprises radiator and LED luminous plaque; Said radiator comprises heat sink and some radiated ribs; Said heat sink is the tabular structure of polygon, and said LED luminous plaque horizontal is on said heat radiation matrix, and said radiated rib is arranged on the side with the adjacent said heat sink of said LED luminous plaque place side.
As preferably, said heat sink is the tabular structure of quadrangle, all is provided with said radiated rib on all sides with the adjacent said heat sink of said LED luminous plaque place side.
The utlity model has following advantage; Through vent rib and LED luminous plaque are arranged on the adjacent side of heat sink; Heat sink can not stop the circulation of the air of vent rib periphery, so side cooling type LED module has preferable radiating effect; Because of side cooling type LED module has preferable radiating effect, so the long service life of the light fixture made from side cooling type LED module.
Description of drawings
Fig. 1 is the elevational schematic view of an embodiment of single row type LED street lamp.
Fig. 2 is the elevational schematic view of another embodiment of single row type LED street lamp.
Fig. 3 is the elevational schematic view of double-row type LED street lamp.
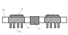
Fig. 4 is A-A schematic cross-section of Fig. 3.
Among the figure: side cooling type LED module 1, radiator 11, heat sink 111, radiated rib 112, groove 113, vent rib 114, LED luminous plaque 12, circuit substrate 121, LED lamp pearl 122, lamp housing 2, installation portion 21, flange 22, power supply 3, mounting rail 4.
The specific embodiment
Below in conjunction with accompanying drawing and embodiment the utility model is further described.
Referring to Fig. 1, a kind of single row type LED street lamp comprises five side cooling type LED modules 1 and lamp housing 2.
Lamp housing 2 is the square frame structure.
Five side cooling type LED modules 1 are arranged in a row according to fore-and-aft direction.
Side cooling type LED module 1 comprises radiator 11 and LED luminous plaque 12.
Radiator 11 comprises heat sink 111 and some radiated ribs 112.
Heat sink 111 is the tabular structure of quadrangle.Three heat sinks in the middle of being positioned in five heat sinks 111 only about be provided with radiated rib 112 on two sides.Form the groove 113 that extends along perpendicular to LED luminous plaque 12 directions between the radiated rib 112.
Side cooling type LED module 1 is connected with lamp housing 2 through vent rib 112.
LED luminous plaque 12 comprises circuit substrate 121 and is arranged on the plurality of LEDs lamp pearl 122 on the circuit substrate 121.
Circuit substrate 121 horizontal are on the lower surface of heat sink 111.The two bonds together circuit substrate 121 and heat sink 111 through heat-conducting glue.
Five LED luminous plaques 12 respectively are electrically connected with power supply 3 through a power line 31.Five LED luminous plaques 12 are that electricity is connected in parallel on the power supply 3.
Lamp housing 2 is provided with installation portion 21.Power supply 3 is installed in the installation portion 21.
Referring to Fig. 2, another kind of single row type LED street lamp, its difference with the street lamp among Fig. 1 is:
Lamp housing 2 is oval tabular structure, and the periphery of lamp housing 2 is bent to form flange 22 downwards.
Side cooling type LED module 1 has only two.Two side cooling type LED modules 1 are positioned at the zone that flange 22 is surrounded.
Heat sink 111 all be provided with vent rib 112 on four sides all around.
Referring to Fig. 3, a kind of double-row type LED street lamp comprises mounting rail 4 and four side cooling type LED modules 1.
Side cooling type LED module 1 comprises radiator 11 and LED luminous plaque 12.
Radiator 11 comprises heat sink 111 and some radiated ribs 112.
Heat sink 111 is the tabular structure of quadrangle.All be provided with radiated rib 112 on two sides all around at heat sink 111.Form the groove 113 that extends along perpendicular to LED luminous plaque 12 directions between the radiated rib 112.
LED luminous plaque 12 comprises circuit substrate 121 and is arranged on the plurality of LEDs lamp pearl 122 on the circuit substrate 121.
Circuit substrate 121 horizontal are on the lower surface of heat sink 111.The two bonds together circuit substrate 121 and heat sink 111 through heat-conducting glue.
Two in four side cooling type LED modules 1 are arranged in a row on the left side that is fixed on mounting rail 4, and two other in four side cooling type LED modules 1 is arranged in a row on the right side that is fixed on mounting rail 4.Four side cooling type LED modules 1 are connected with mounting rail 4 through vent rib 112.
Four LED luminous plaques 12 respectively are electrically connected with power supply 3 through a power line 31.Four LED luminous plaques 12 are connected in parallel on the power supply 3.
Referring to Fig. 4, promptly be provided with vent rib 114 on the side away from LED luminous plaque 12 place sides on the upper side of heat radiation matrix 111.

Claims (10)

1. side cooling type LED module; Comprise radiator and LED luminous plaque; It is characterized in that said radiator comprises heat sink and some radiated ribs, said heat sink is the tabular structure of polygon; Said LED luminous plaque horizontal is on said heat radiation matrix, and said radiated rib is arranged on the side with the adjacent said heat sink of said LED luminous plaque place side.
2. side cooling type LED module according to claim 1; It is characterized in that; Said heat sink is the tabular structure of quadrangle, and said radiated rib only is arranged on on two the relative sides in the side of the adjacent said heat sink of said LED luminous plaque place side.
3. side cooling type LED module according to claim 1 is characterized in that, said heat sink is the tabular structure of quadrangle, all is provided with said radiated rib on all sides with the adjacent said heat sink of said LED luminous plaque place side.
4. according to claim 1 or 2 or 3 described side cooling type LED modules, it is characterized in that, form the groove that extends along perpendicular to said LED luminous plaque direction between the said radiated rib.
5. according to claim 1 or 2 or 3 described side cooling type LED modules, it is characterized in that the side away from said LED luminous plaque place side of said heat radiation matrix is provided with vent rib.
6. single row type LED street lamp; It is characterized in that; Comprise lamp housing and the side cooling type LED module that is connected with lamp housing, said side cooling type LED module is arranged in a row, and said side cooling type LED module comprises radiator and LED luminous plaque; Said radiator comprises heat sink and some radiated ribs; Said heat sink is the tabular structure of polygon, and said LED luminous plaque horizontal is on said heat radiation matrix, and said radiated rib is arranged on the side with the adjacent said heat sink of said LED luminous plaque place side.
7. single row type LED street lamp according to claim 6 is characterized in that, said heat sink is the tabular structure of quadrangle, all is provided with said radiated rib on all sides with the adjacent said heat sink of said LED luminous plaque place side.
8. according to claim 6 or 7 described single row type LED street lamps, it is characterized in that comprise power supply, the LED luminous plaque is connected electrically on the said power supply.
9. a double-row type LED street lamp is characterized in that, comprises mounting rail; The both sides of said mounting rail respectively are provided with row's side cooling type LED module; Said side cooling type LED module comprises radiator and LED luminous plaque, and said radiator comprises heat sink and some radiated ribs, and said heat sink is the tabular structure of polygon; Said LED luminous plaque horizontal is on said heat radiation matrix, and said radiated rib is arranged on the side with the adjacent said heat sink of said LED luminous plaque place side.
10. double-row type LED street lamp according to claim 9 is characterized in that, said heat sink is the tabular structure of quadrangle, all is provided with said radiated rib on all sides with the adjacent said heat sink of said LED luminous plaque place side.
CN2011204629870U 2011-11-21 2011-11-21 Side heat dissipation type LED (light-emitting diode) module, single-row type LED street lamp and double-row type LED street lamp Expired - Fee Related CN202419339U (en)

Priority Applications (1)

Application Number Priority Date Filing Date Title
CN2011204629870U CN202419339U (en) 2011-11-21 2011-11-21 Side heat dissipation type LED (light-emitting diode) module, single-row type LED street lamp and double-row type LED street lamp

Applications Claiming Priority (1)

Application Number Priority Date Filing Date Title
CN2011204629870U CN202419339U (en) 2011-11-21 2011-11-21 Side heat dissipation type LED (light-emitting diode) module, single-row type LED street lamp and double-row type LED street lamp

Publications (1)

Publication Number Publication Date
CN202419339U true CN202419339U (en) 2012-09-05

Family

ID=46744101

Family Applications (1)

Application Number Title Priority Date Filing Date
CN2011204629870U Expired - Fee Related CN202419339U (en) 2011-11-21 2011-11-21 Side heat dissipation type LED (light-emitting diode) module, single-row type LED street lamp and double-row type LED street lamp

Country Status (1)

Country Link
CN (1) CN202419339U (en)

Cited By (1)

* Cited by examiner, † Cited by third party
Publication number Priority date Publication date Assignee Title
CN106764482A (en) * 2016-11-29 2017-05-31 东莞市闻誉实业有限公司 Surround Lighting Fixtures

Cited By (1)

* Cited by examiner, † Cited by third party
Publication number Priority date Publication date Assignee Title
CN106764482A (en) * 2016-11-29 2017-05-31 东莞市闻誉实业有限公司 Surround Lighting Fixtures

Similar Documents

Publication Publication Date Title
CN201954312U (en) Split type light emitting diode (LED) lamp
CN201992485U (en) LED light source module that is easy to dissipate heat
CN201373271Y (en) High-power LED office illumination lamp for efficient radiation
CN202361155U (en) LED (Light-emitting Diode) illumination lamp
CN202419339U (en) Side heat dissipation type LED (light-emitting diode) module, single-row type LED street lamp and double-row type LED street lamp
CN201297528Y (en) High-efficiency radiating high-power LED office lamp
CN201377692Y (en) Waterproof LED lighting
CN201934993U (en) Enhanced heat dissipation split-type light-emitting diode (LED) lamp for fan
CN201909294U (en) Heat radiation assembly structure of light emitting diode (LED) street lamp
CN202266860U (en) LED (Light-emitting Diode) lamp bulb
CN205859917U (en) A LED high bay light
CN205579513U (en) Can wholly radiating high -power LED lamps and lanterns structure
CN202132769U (en) High-power LED (Light Emitting Diode) lamp
CN202327687U (en) LED bulb
CN203147520U (en) Single lens type LED (Light-emitting Diode) flood light
CN202494040U (en) LED lamp reflector for heat dissipation and glare prevention, and LED lamp structure thereof
CN102095102A (en) Split type LED lamp
CN201902929U (en) Light emitting diode (LED) lighting street lamp
CN201916760U (en) LED bulb capable of being cooled by fan intensively
CN201795459U (en) LED lamp radiator
CN104165314A (en) LED street lamp
CN204084057U (en) A kind of novel LED spotlight
CN202501431U (en) Enhanced heat dissipation structure of street lights
CN203571681U (en) LED lamp heat sink
CN202188338U (en) LED lamp

Legal Events

Date Code Title Description
C14 Grant of patent or utility model
GR01 Patent grant
TR01 Transfer of patent right
TR01 Transfer of patent right

Effective date of registration: 20171129

Address after: 310015 402 room 402, No. 398, Tianmu Mountain Road, Xihu District, Xihu District, Zhejiang

Co-patentee after: Zhejiang high quality energy technology Co., Ltd.

Patentee after: Hangzhou Lighteck Optoelectronic Co., Ltd.

Address before: Hangzhou City, Zhejiang province 310051 Binjiang District Chunxiao Road No. 529 Jiangnan sign room 712

Patentee before: Wang Zhenhui

CF01 Termination of patent right due to non-payment of annual fee
CF01 Termination of patent right due to non-payment of annual fee

Granted publication date: 20120905

Termination date: 20201121