CN202414238U - 滚轮导向的丝杆调节装置 - Google Patents
滚轮导向的丝杆调节装置 Download PDFInfo
- Publication number
- CN202414238U CN202414238U CN2011204917384U CN201120491738U CN202414238U CN 202414238 U CN202414238 U CN 202414238U CN 2011204917384 U CN2011204917384 U CN 2011204917384U CN 201120491738 U CN201120491738 U CN 201120491738U CN 202414238 U CN202414238 U CN 202414238U
- Authority
- CN
- China
- Prior art keywords
- screw rod
- fixed
- driving chain
- crossbeam
- adjusting device
- Prior art date
- Legal status (The legal status is an assumption and is not a legal conclusion. Google has not performed a legal analysis and makes no representation as to the accuracy of the status listed.)
- Expired - Fee Related
Links
- 230000005540 biological transmission Effects 0.000 claims abstract description 11
- 230000000694 effects Effects 0.000 abstract description 4
- 238000005096 rolling process Methods 0.000 abstract 2
- 238000012856 packing Methods 0.000 description 5
- 230000001105 regulatory effect Effects 0.000 description 4
- 238000004519 manufacturing process Methods 0.000 description 2
- 239000000463 material Substances 0.000 description 2
- 238000005516 engineering process Methods 0.000 description 1
- 238000003780 insertion Methods 0.000 description 1
- 230000037431 insertion Effects 0.000 description 1
- 238000003754 machining Methods 0.000 description 1
- 238000004806 packaging method and process Methods 0.000 description 1
- 239000011435 rock Substances 0.000 description 1
Images
Landscapes
- Transmission Devices (AREA)
Abstract
本实用新型涉及滚轮导向的丝杆调节装置,结构为每根丝杆上端通过一轴承固定块固定在一立柱壳体内,两件丝杆下端悬空无固定,每根丝杆上端安装一传动链轮,链条套在二个传动链轮上,传动盖板盖在二根立柱壳体上端并固定,其中一侧立柱壳体安装一旋转把手,且旋转把手插入该侧传动链轮内带动传动链轮;每根丝杆上套有一丝杆螺母,每个丝杆螺母上安装一滑动体;横梁两端分别通过一横梁固定块与一连接块相连,二块连接块分别与二根立柱壳体内的滑动体相连;在每个滑动体上分别安装四件中心轴,每件中心轴上安装有一件滚动轴承,每个滚动轴承上安装有一滑轮。本实用新型结构合理、性能可靠、导向效果好、操作简便,能准确、高效地进行丝杆调节作业。
Description
技术领域
本实用新型属包装机械领域,涉及对通用包装设备针对规格调节所需的丝杆调节装置,具体涉及一种滚轮导向的丝杆调节装置。
背景技术
通用包装设备规格调节所需的丝杆调节装置用途很广。大多数用于生产线的包装设备,因使用于不同市场,生产线物料规格经常发生变动,设备的部分机构需要针对规格改变来进行一定调节,丝杆调节装置在此类应用中是最为简单、实用的机构。但在实际的应用中,一些设备因结构及尺寸的要求,一般装置的导向为导轨或导杆,该类导向在机构装配及现场应用中存在不稳定点,并有一定的加工精度要求。该类装置往往是丝杆调节不够顺畅,或者顺畅的情况下间隙过大,因包装物料的重量的增大会使固定机构产生晃动。
发明内容
本实用新型的目的为了使丝杆调节装置的使用不受到机构尺寸的限制,解决丝杆调节不够顺畅或者顺畅的情况下间隙过大,固定机构会产生晃动的现象,并在不提高加工成本的前提下,提供一种滚轮导向的丝杆调节装置,可有效地解决现场应用中的问题,使丝杆调节装置更好使用及应用。本实用新型结构合理、性能可靠、操作简便,能准确、高效地满足包装机械设备的规格调节需求。
本实用新型的技术方案为:
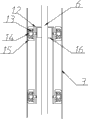
滚轮导向的丝杆调节装置,包括传动盖板、二个传动链轮、二根立柱壳体、二块轴承固定块、链条、二根丝杆、二块横梁固定块、一根横梁、二块连接块、旋转把手、二个滑动体、八个滚动轴承、八个中心轴、八个滑轮、二个丝杆螺母;每根丝杆上端通过一块轴承固定块固定在一立柱壳体内,两件丝杆的下端悬空无固定,每根丝杆的上端安装一个传动链轮,链条套在二个传动链轮上,传动盖板盖在二根立柱壳体上端并固定,且其中一侧的立柱壳体上安装一旋转把手,且旋转把手插入该侧的传动链轮内带动传动链轮;其特征在于:每根丝杆上套有一丝杆螺母,每个丝杆螺母上安装一滑动体,通过丝杆的转动,丝杆螺母会上下滑动,滑动体也会上下运动;横梁两端分别通过一横梁固定块与一连接块连接在一起,二块连接块分别与二根立柱壳体内的滑动体相连;在每个滑动体上分别安装四件中心轴,每件中心轴上安装有一件滚动轴承,每个滚动轴承上安装有一滑轮,通过滑轮在二根立柱壳体内壁的滑动,起到导向的作用。
需要调节的机构可以固定在横梁上,通过转动旋转把手,可以将调节的机构进行上下运动,达到调节位置的需求。
本实用新型将导向轮的上下滑动形成丝杆的导向机构,并应用导向轮在丝杆两侧调节距离,使丝杆与丝杆螺母的间隙调节到最佳,从而减少因加工导致丝杆的调节困难和沉重后机构晃动的现象。
本实用新型结构合理、性能可靠、导向效果好、操作简便,能准确、高效地进行丝杆调节作业。
附图说明
图1为本实用新型的结构示意图。
图2为本实用新型的滚轮导向结构示意图。
具体实施方式
结合附图对本实用新型作进一步的描述。
如图1所示,本实用新型。
如图1、图2所示,本实用新型包括传动盖板1、二个传动链轮2、二根立柱壳体(3,10)、二块轴承固定块4、链条5、二根丝杆6、二块横梁固定块7、一根横梁8、二块连接块9、旋转把手11、二个滑动体12、八个滚动轴承13、八个中心轴14、八个滑轮15、二个丝杆螺母16;每根丝杆6上端通过一块轴承固定块4固定在一立柱壳体内,两件丝杆6的下端悬空无固定,每根丝杆6的上端安装一个传动链轮2,链条5套在二个传动链轮2上,传动盖板1盖在二根立柱壳体(3,10)上端并固定,且其中一侧的立柱壳体10上安装一旋转把手11,且旋转把手11插入该侧的传动链轮2内带动传动链轮2,其特征在于:每根丝杆上套有一丝杆螺母,每个丝杆螺母上安装一滑动体,通过丝杆的转动,丝杆螺母会上下滑动,滑动体也会上下运动;横梁两端分别通过一横梁固定块与一连接块连接在一起,二块连接块分别与二根立柱壳体内的滑动体相连;在每个滑动体上分别安装四件中心轴,每件中心轴上安装有一件滚动轴承,每个滚动轴承上安装有一滑轮,通过滑轮在二根立柱壳体内壁的滑动,起到导向的作用。
需要调节的机构可以固定在横梁8上,通过转动旋转把手11,可以将调节的机构进行上下运动,达到调节位置的需求。
Claims (1)
1.滚轮导向的丝杆调节装置,包括传动盖板、二个传动链轮、二根立柱壳体、二块轴承固定块、链条、二根丝杆、二块横梁固定块、一根横梁、二块连接块、旋转把手、二个滑动体、八个滚动轴承、八个中心轴、八个滑轮、二个丝杆螺母;每根丝杆上端通过一块轴承固定块固定在一立柱壳体内,两件丝杆的下端悬空无固定,每根丝杆的上端安装一个传动链轮,链条套在二个传动链轮上,传动盖板盖在二根立柱壳体上端并固定,且其中一侧的立柱壳体上安装一旋转把手,且旋转把手插入该侧的传动链轮内带动传动链轮;其特征在于:每根丝杆上套有一丝杆螺母,每个丝杆螺母上安装一滑动体;横梁两端分别通过一横梁固定块与一连接块连接在一起,二块连接块分别与二根立柱壳体内的滑动体相连;在每个滑动体上分别安装四件中心轴,每件中心轴上安装有一件滚动轴承,每个滚动轴承上安装有一滑轮。
Priority Applications (1)
| Application Number | Priority Date | Filing Date | Title |
|---|---|---|---|
| CN2011204917384U CN202414238U (zh) | 2011-12-01 | 2011-12-01 | 滚轮导向的丝杆调节装置 |
Applications Claiming Priority (1)
| Application Number | Priority Date | Filing Date | Title |
|---|---|---|---|
| CN2011204917384U CN202414238U (zh) | 2011-12-01 | 2011-12-01 | 滚轮导向的丝杆调节装置 |
Publications (1)
| Publication Number | Publication Date |
|---|---|
| CN202414238U true CN202414238U (zh) | 2012-09-05 |
Family
ID=46739025
Family Applications (1)
| Application Number | Title | Priority Date | Filing Date |
|---|---|---|---|
| CN2011204917384U Expired - Fee Related CN202414238U (zh) | 2011-12-01 | 2011-12-01 | 滚轮导向的丝杆调节装置 |
Country Status (1)
| Country | Link |
|---|---|
| CN (1) | CN202414238U (zh) |
Cited By (2)
| Publication number | Priority date | Publication date | Assignee | Title |
|---|---|---|---|---|
| CN110255154A (zh) * | 2019-07-17 | 2019-09-20 | 安徽省科昌机械制造股份有限公司 | 一种翻转输送装置用可调节的夹持滚轮机构 |
| CN112537506A (zh) * | 2020-12-25 | 2021-03-23 | 华南智能机器人创新研究院 | 一种封箱机 |
-
2011
- 2011-12-01 CN CN2011204917384U patent/CN202414238U/zh not_active Expired - Fee Related
Cited By (2)
| Publication number | Priority date | Publication date | Assignee | Title |
|---|---|---|---|---|
| CN110255154A (zh) * | 2019-07-17 | 2019-09-20 | 安徽省科昌机械制造股份有限公司 | 一种翻转输送装置用可调节的夹持滚轮机构 |
| CN112537506A (zh) * | 2020-12-25 | 2021-03-23 | 华南智能机器人创新研究院 | 一种封箱机 |
Similar Documents
| Publication | Publication Date | Title |
|---|---|---|
| CN202783885U (zh) | 曲柄连杆式推药装置 | |
| CN105856300B (zh) | 一种用于纸板连续加工的装置 | |
| CN106963649B (zh) | 一种药用包装装置 | |
| CN201519977U (zh) | 一种新型输送带切割机 | |
| CN207131815U (zh) | 一种可调节滚子链张紧装置 | |
| CN102699540A (zh) | 一种数控激光切割机 | |
| CN208600503U (zh) | 一种卷锥机 | |
| CN202414238U (zh) | 滚轮导向的丝杆调节装置 | |
| CN102514882B (zh) | 医疗配件的输送装置 | |
| CN206316208U (zh) | 一种开式可倾压力机 | |
| CN101767665A (zh) | 一种可称重的皮带输送平台 | |
| CN201437498U (zh) | 多轴分布双层升降辊台 | |
| CN204324260U (zh) | 一种全自动除泡机的进盒导向机构 | |
| CN105363804A (zh) | 一种轧机用导卫装置的辊缝调整机构 | |
| CN202481682U (zh) | 一种单端提升输送装置 | |
| CN206427839U (zh) | 一种具有双折刀结构的折页机 | |
| CN203061736U (zh) | 一种数控折弯机后挡料装置 | |
| CN205467386U (zh) | 直线运动机构 | |
| CN202727805U (zh) | 一种大型立体雕刻机的顶尖驱动装置 | |
| CN202028665U (zh) | 一种加工管件的自动滚槽设备 | |
| CN103111661B (zh) | 一种可横向进给刀具的镗孔装置 | |
| CN202271221U (zh) | 卧式加工中心y轴拖动装置 | |
| CN208496462U (zh) | 一种用于转盘多角度上料的上料机构 | |
| CN207997330U (zh) | 一种可调节的分条机 | |
| CN202283793U (zh) | 一种加工医疗袋的同步调节装置 |
Legal Events
| Date | Code | Title | Description |
|---|---|---|---|
| C14 | Grant of patent or utility model | ||
| GR01 | Patent grant | ||
| CF01 | Termination of patent right due to non-payment of annual fee |
Granted publication date: 20120905 Termination date: 20161201 |
|
| CF01 | Termination of patent right due to non-payment of annual fee |