CN202407614U - 走珠瓶 - Google Patents
走珠瓶 Download PDFInfo
- Publication number
- CN202407614U CN202407614U CN2012200098985U CN201220009898U CN202407614U CN 202407614 U CN202407614 U CN 202407614U CN 2012200098985 U CN2012200098985 U CN 2012200098985U CN 201220009898 U CN201220009898 U CN 201220009898U CN 202407614 U CN202407614 U CN 202407614U
- Authority
- CN
- China
- Prior art keywords
- bottle
- pearl
- groove
- projection
- openend
- Prior art date
- Legal status (The legal status is an assumption and is not a legal conclusion. Google has not performed a legal analysis and makes no representation as to the accuracy of the status listed.)
- Expired - Fee Related
Links
- 239000011324 bead Substances 0.000 title abstract 7
- 239000007788 liquid Substances 0.000 description 4
- 238000007789 sealing Methods 0.000 description 3
- 238000004519 manufacturing process Methods 0.000 description 2
- 230000009286 beneficial effect Effects 0.000 description 1
- 230000015572 biosynthetic process Effects 0.000 description 1
- 238000005516 engineering process Methods 0.000 description 1
- 239000012467 final product Substances 0.000 description 1
- 239000002304 perfume Substances 0.000 description 1
- 238000005096 rolling process Methods 0.000 description 1
Images
Landscapes
- Closures For Containers (AREA)
Abstract
本实用新型提供一种走珠瓶,由瓶体、瓶盖、走珠装置组成,所述走珠装置设于瓶体的开口端,瓶体的开口端与瓶盖为卡口连接,所述瓶体的开口端设有突起,瓶盖与突起对应处设有凸起,所述瓶盖内部的顶端设有卡槽,所述的走珠装置顶部与卡槽紧密相连。这种走珠瓶由于瓶口不需要做螺纹,降低了瓶体的报废率,从而节约了成本;同时,由于瓶盖与瓶体的之间的装配只需要按压就能实现,灌装后可以实现全自动的组装,从而降低了人工成本。
Description
一、技术领域
本实用新型涉及一种瓶子,尤其是涉及一种带走珠的瓶子。
二、背景技术
市场上装液体化妆品或香水的瓶子,走珠瓶比较方便,传统的走珠瓶一般都是螺口走珠瓶,即瓶盖和瓶子通过螺纹旋转固定,形成面与面的密封,从而保证走珠瓶所装液体不漏。
这种螺口走珠瓶,因瓶体和瓶盖都需要制作螺纹,所需成本高、时间长,而且做出的螺牙容易出现滑牙、三角口破损的现象,造成返工、资源浪费。瓶体生产过后及液体灌装后都需要进行多次仔细的检验,所耗费的人工成本高。从而最终导致走珠瓶的成本升高。
三、发明内容
本实用新型要解决的技术问题是提供一种生产成本低、装配方便的走珠瓶。
本实用新型所提出的技术解决方案是:
走珠瓶,由瓶体、瓶盖、走珠装置组成,所述走珠装置设于瓶体的开口端,瓶体的开口端与瓶盖为卡口连接。
所述瓶体的开口端设有突起,瓶盖与突起对应处设有凸起。
所述瓶体的开口端设有突起,瓶盖与突起对应处设有凹槽。
所述瓶体的开口端设有凹槽,瓶盖与凹槽对应处设有突起。
所述瓶盖内部的顶端设有卡槽,所述的走珠装置顶部与卡槽紧密相连。
与现有技术相比,本实用新型具有如下有益效果:
由于瓶口不需要做螺纹,降低了瓶体的报废率,从而节约了成本;同时,由于瓶盖与瓶体的之间的装配只需要按压就能实现,灌装后可以实现全自动的组装,从而降低了人工成本。
四、附图说明
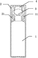
图1:本实用新型一个实施例的结构示意图。
图2:图1所示的瓶体结构示意图。
图3:图1所示的瓶盖结构示意图。
五、具体实施方式
通过以下实施例对本实用新型作进一步详细阐述。
如图1-3所示,本实用新型的一个实施例: 这种走珠瓶由瓶体1、瓶盖2、走珠装置3组成,所述走珠装置3设于瓶体1的开口端的内部,瓶体的开口端设有突起11,瓶盖与突起对应处设有凸起21,这样,突起11与凸起21之间形成一个密封环。装配时,只需将瓶盖2直接按下瓶体1即可,与螺口连接相比,这种连接能在保证密封的前提下节省很多人力成本。当然,实现这种卡口连接方式,瓶体1和瓶盖2之间可以不拘泥于突出与凸起的连接,比如,也可以在瓶体1的开口端设有突起,瓶盖2与突起对应处设有凹槽,或者反之,在瓶体1的开口端设有凹槽,瓶盖2与凹槽对应处设有突起,这样突起与凹槽之间也可以形成线连接。
优选的方案是,在瓶盖2内部的顶端同时设有卡槽4,走珠装置3顶部与卡槽4紧密相连,这样可以使得走珠得以固定,从而不会因为走珠的滚动液体外流。
Claims (5)
1. 走珠瓶,由瓶体、瓶盖、走珠装置组成,所述走珠装置设于瓶体的开口端,其特征在于:瓶体的开口端与瓶盖为卡口连接。
2. 根据权利要求1所述的走珠瓶,其特征在于:所述瓶体的开口端设有突起,瓶盖与突起对应处设有凸起。
3. 根据权利要求1所述的走珠瓶,其特征在于:所述瓶体的开口端设有突起,瓶盖与突起对应处设有凹槽。
4. 根据权利要求1所述的走珠瓶,其特征在于:所述瓶体的开口端设有凹槽,瓶盖与凹槽对应处设有突起。
5. 根据权利要求1-4任一权利要求所述的走珠瓶,其特征在于:所述瓶盖内部的顶端设有卡槽,所述的走珠装置顶部与卡槽紧密相连。
Priority Applications (1)
| Application Number | Priority Date | Filing Date | Title |
|---|---|---|---|
| CN2012200098985U CN202407614U (zh) | 2012-01-11 | 2012-01-11 | 走珠瓶 |
Applications Claiming Priority (1)
| Application Number | Priority Date | Filing Date | Title |
|---|---|---|---|
| CN2012200098985U CN202407614U (zh) | 2012-01-11 | 2012-01-11 | 走珠瓶 |
Publications (1)
| Publication Number | Publication Date |
|---|---|
| CN202407614U true CN202407614U (zh) | 2012-09-05 |
Family
ID=46732412
Family Applications (1)
| Application Number | Title | Priority Date | Filing Date |
|---|---|---|---|
| CN2012200098985U Expired - Fee Related CN202407614U (zh) | 2012-01-11 | 2012-01-11 | 走珠瓶 |
Country Status (1)
| Country | Link |
|---|---|
| CN (1) | CN202407614U (zh) |
Cited By (1)
| Publication number | Priority date | Publication date | Assignee | Title |
|---|---|---|---|---|
| CN104056342A (zh) * | 2013-09-07 | 2014-09-24 | 福州力为康医药技术有限公司 | 物理降温装置 |
-
2012
- 2012-01-11 CN CN2012200098985U patent/CN202407614U/zh not_active Expired - Fee Related
Cited By (2)
| Publication number | Priority date | Publication date | Assignee | Title |
|---|---|---|---|---|
| CN104056342A (zh) * | 2013-09-07 | 2014-09-24 | 福州力为康医药技术有限公司 | 物理降温装置 |
| CN104056342B (zh) * | 2013-09-07 | 2016-07-06 | 福州力为康医药技术有限公司 | 物理降温装置 |
Similar Documents
| Publication | Publication Date | Title |
|---|---|---|
| CN202407614U (zh) | 走珠瓶 | |
| US9565917B2 (en) | Eye shadow pencil case | |
| CN204363232U (zh) | 一种新型护肤涂抹瓶 | |
| CN102951354A (zh) | 一种止逆防盗盖 | |
| CN102941970B (zh) | 一种止逆型防盗包装瓶 | |
| CN202760479U (zh) | 拼装水瓶 | |
| CN204110500U (zh) | 一种多层包装瓶 | |
| CN203220060U (zh) | 双刷唇彩包装瓶 | |
| CN205251363U (zh) | 一种挂壁式刷牙杯 | |
| CN203211682U (zh) | 双头牙膏筒 | |
| CN202784006U (zh) | 一种制有内螺纹的瓶口结构 | |
| CN105564804A (zh) | 拆卸式玻璃盖密封结构 | |
| CN203172983U (zh) | 502胶水瓶 | |
| CN205197331U (zh) | 一种化妆用的粉笔 | |
| CN204812582U (zh) | 一种化妆瓶 | |
| CN203439485U (zh) | 一种方便取用的农药瓶 | |
| CN202908093U (zh) | 一种组合式水瓶 | |
| CN207220430U (zh) | 一种新型便携式指甲油瓶 | |
| CN202765418U (zh) | 一种具有双瓶口结构的瓶子 | |
| CN201980486U (zh) | 一种倒立式塑料瓶 | |
| CN203512997U (zh) | 便携式收纳购物袋 | |
| CN204722464U (zh) | 一种带有刷毛的新型化妆品瓶 | |
| CN202478155U (zh) | 一种药瓶盖 | |
| CN202458125U (zh) | 一种刷牙杯 | |
| CN203127322U (zh) | 重心稳定且便于大规模蘸取液体的容器 |
Legal Events
| Date | Code | Title | Description |
|---|---|---|---|
| C14 | Grant of patent or utility model | ||
| GR01 | Patent grant | ||
| CF01 | Termination of patent right due to non-payment of annual fee | ||
| CF01 | Termination of patent right due to non-payment of annual fee |
Granted publication date: 20120905 Termination date: 20170111 |