CN202367809U - Rotary drum type edge saw - Google Patents
Rotary drum type edge saw Download PDFInfo
- Publication number
- CN202367809U CN202367809U CN2011203868639U CN201120386863U CN202367809U CN 202367809 U CN202367809 U CN 202367809U CN 2011203868639 U CN2011203868639 U CN 2011203868639U CN 201120386863 U CN201120386863 U CN 201120386863U CN 202367809 U CN202367809 U CN 202367809U
- Authority
- CN
- China
- Prior art keywords
- sawing machine
- saw
- wallboard support
- frame
- cylinder
- Prior art date
- Legal status (The legal status is an assumption and is not a legal conclusion. Google has not performed a legal analysis and makes no representation as to the accuracy of the status listed.)
- Expired - Fee Related
Links
- 230000006698 induction Effects 0.000 claims description 13
- 229910000831 Steel Inorganic materials 0.000 claims description 3
- 239000010959 steel Substances 0.000 claims description 3
- 230000005540 biological transmission Effects 0.000 abstract description 3
- 239000000463 material Substances 0.000 description 16
- 239000000428 dust Substances 0.000 description 2
- 238000000034 method Methods 0.000 description 2
- 238000005299 abrasion Methods 0.000 description 1
- 230000009286 beneficial effect Effects 0.000 description 1
- 230000015572 biosynthetic process Effects 0.000 description 1
- 239000003638 chemical reducing agent Substances 0.000 description 1
- 230000007812 deficiency Effects 0.000 description 1
- 230000000694 effects Effects 0.000 description 1
- 238000005516 engineering process Methods 0.000 description 1
- 238000003754 machining Methods 0.000 description 1
- 238000004519 manufacturing process Methods 0.000 description 1
- 239000002023 wood Substances 0.000 description 1
Images
Landscapes
- Sawing (AREA)
Abstract
The utility model relates to panel processing equipment, in particular to a rotary drum type edge saw. The rotary drum type edge saw comprises a frame, a power mechanism and an edge sawing mechanism, wherein the edge sawing mechanism is fixedly connected on the frame; and the power mechanism is installed on the frame and connected with the edge sawing mechanism. As surface contact between a rotary drum and a panel is changed into line contact, the rotary drum and the panel are more tightly interlocked, the panel is stressed more uniformly, and errors during the transmission process are avoided; as the position of a lower rotary drum can be adjusted, the motion direction of the panel can be adjusted, and the straightness and the accuracy of cut edges of the panel are greatly improved; and as pinch rollers are installed at two ends of a blade of the edge saw, the stability of edge sawing is improved.
Description
Technical field
The utility model relates to a kind of sheet machining apparatus, relates in particular to a kind of drum-type Sawing machine.
Background technology
It is many that the producer that produces Sawing machine is gone up by society at present; But accomplish simple in structure and reach the form and position tolerance minimum, high few of the precision of diagonal-size, what they considered manyly is the fineness of sheet material end; And requirements such as linearity and perpendicularity have been ignored; " two saw blade Sawing machine " patent No. 95243125.4 like " the Sawing machine structure of Sawing machine " patent No. of Changshu City Xiang hawk wood-based plate machine Manufacturing Co., Ltd 200320120392.2 and Jiangdong Machinery Plant, Sichuan Prov. has all adopted the pre-slotting small saw blade, though the burr that prevents the sheet material reverse side is had certain effect, complicated mechanism; When other condition does not satisfy; Because the band grooving saw belongs to the crawler type Sawing machine, the pinch roller of sheet material on crawler belt only pushed down several points or line, is out of shape bigger sheet material and still is in the sawing under the deformation state basically; So sheet linear degree after the sawing and diagonal error all can be very big; People seek a kind of not only simply but also can overcome many factor affecting such as sheet deformation still can the sawing any surface finish, and the very high Sawing machine of form and position tolerance is to satisfy demand of practical production.It is made up of " two saw blade Sawing machine " frame, motor, chain, sprocket wheel, feeding link stopper and delivery platform etc.; Belong to crawler type fluting Sawing machine; Caterpillar Sawing machine can not make sheet material be in sawing under the formation state; And the easy abrasion after use a period of time of the offset plate on the crawler belt causes the sawing precision to reduce greatly, and this is many producers' saw plates main causes of low quality.
Summary of the invention
The utility model is to the deficiency of prior art, provides a kind of and can process better linearity, the diagonal precision is higher and the drum-type Sawing machine of the sheet material of high form and position tolerance.
The technical scheme of the utility model is achieved in that a kind of drum-type Sawing machine, is made up of frame, actuating unit, Sawing machine structure, and wherein the Sawing machine structure is fixedly connected on the frame, and actuating unit is installed on the frame, and links to each other with the Sawing machine structure; Said Sawing machine structure is made up of wallboard support, induction system, saw limit device; Said wallboard support is fixedly installed on the frame, and symmetry has rectangular opening on the forward and backward wallboard of wallboard support; Said induction system is at least two pairs of cylinders, and the every pair of cylinder is to distribute up and down and is installed in the rectangular opening of wallboard support; Last cylinder is installed on the upper end of wallboard support rectangular opening through the bolt and nut that links to each other with bearing, and between the upper arm of bearing and wallboard support rectangular opening spring is installed; Bottom roll is through being fixed on clip padlock on the bearing in the lower end of wallboard support rectangular opening; Said actuating unit links to each other through cylinder of chain; On the roller bearings of said induction system travelling gear is installed, the rear wall plate middle part of wallboard support is equipped with carrier gear, links to each other through intermeshed gear between the carrier gear up and down; Interconnect through travelling gear, carrier gear and chain between the two adjacent last cylinders, also interconnect between the two adjacent bottom rolls through travelling gear, carrier gear and chain.
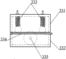
Further scheme as the utility model: said saw limit device is made up of saw blade case, pinch roller case, pinch roller, platen, saw; Said pinch roller case is fixedly connected on the wallboard support through steel plate, and the saw blade case is fixedly connected on the frame, and saw blade case and pinch roller case lump together the chest that forms an integral body; Said platen is hinged on saw blade case top; Said pinch roller links to each other with the upper wall of pinch roller case through the bolt that is enclosed within on the spring, and is pressed on the platen, has sulculus on the platen; Said saw is installed in the outer container bottom, and the top blade of the saw blade of saw extend out to the platen top through sulculus.
Further scheme as the utility model: said wallboard support is the integral type frame structure.
Further scheme as the utility model: said cylinder is a step, and the stepped diameters at cylinder two ends is not less than the stepped diameters of mid portion.
Further scheme as the utility model: on the said wallboard support, the bolt hole that is used for linking to each other with bottom roll is ellipse or slot, and bottom roll can be adjusted the position in the horizontal direction.
Further scheme as the utility model: the upper wall and the lower wall of said saw limit device have the hole, are used for being connected with dust collection equipment.
The utility model operation principle is following: during the work of this equipment, connect the power supply of driver part.Motor wherein two directly drive saw limit device high speed rotating through belt; After an other motor reducer slows down; Driving one of them cylinder that sprocket wheel is housed by chain again rotates; Go up between cylinders or two bottom rolls by chain drive for adjacent two, carrier gear is through extra meshed transmission gear up and down.When sawing the limit, sheet material is sent between the up-down roller of an end, sheet material passes to other one side through cylinder, and through saw limit device the time, the both sides of sheet material are cut according to needed size, one side then by other this equipment of sending out.
The beneficial effect of the utility model is following: because cylinder is a rigidity, and be stepped 1,, it is that line contacts that cylinder and contacting of sheet material change that face contacts, and makes the tighter of cylinder and sheet material interlock, and sheet material is stressed more even, has avoided the error in the transmission course; 2, because the position-adjustable of bottom roll; The reasons such as error of various errors that can in actual transporting, produce sheet material such as sheet material became uneven, equipment itself are revised; The direction of motion of adjustment sheet material can improve the linearity and the accuracy of sawing the ejecting plate edge so greatly; 3, pinch roller is installed at the two ends of saw blade in the device of saw limit, can prevent that sheet material from vibrating springboard in the process of saw limit, increased the stability on saw limit.
Description of drawings
Fig. 1 is the overall structure sketch map of the utility model.
Fig. 2 is the utility model vertical view structural representation.
Fig. 3 is the utility model rearview structural representation.
Fig. 4 is the utility model saw limit apparatus structure sketch map.
Among the figure, frame 1, actuating unit 2, Sawing machine structure 3, wallboard support 31, cylinder 321, travelling gear 322, carrier gear 323, induction system 32, saw limit device 33, saw blade case 331, pinch roller case 332, pinch roller 333, platen 334, saw 335.
The specific embodiment
Below in conjunction with accompanying drawing and specific embodiment the utility model is done further to specify.
Embodiment one.
A kind of drum-type Sawing machine is made up of frame 1, actuating unit 2, Sawing machine structure 3, and wherein Sawing machine structure 3 is fixedly connected on the frame 1, and actuating unit 2 is installed on the frame, and links to each other with Sawing machine structure 3; Said Sawing machine structure 3 is made up of wallboard support 31, induction system 32, saw limit device 33; Said wallboard support 31 is fixedly installed on the frame 1, and symmetry has rectangular opening on the forward and backward wallboard of wallboard support 31; Said induction system 32 is four pairs of cylinders 321, and the every pair of cylinder 321 is to distribute up and down and is installed in the rectangular opening of wallboard support 31; Last cylinder 321 is installed on the upper end of wallboard support 31 rectangular openings through the bolt and nut that links to each other with bearing, and between the upper arm of bearing and wallboard support 31 rectangular openings spring is installed; Bottom roll 321 is through being fixed on clip padlock on the bearing in the lower end of wallboard support 31 rectangular openings; Said actuating unit 2 links to each other through cylinder of chain 321; On cylinder 321 bearings of said induction system 32 travelling gear 322 is installed, the rear wall plate middle part of wallboard support 31 is equipped with carrier gear 323, links to each other through intermeshed gear between the carrier gear 323 up and down; Interconnect through travelling gear 322, carrier gear 323 and chain between the two adjacent last cylinders 321, also interconnect between the two adjacent bottom rolls 321 through travelling gear 322, carrier gear 323 and chain.
Said saw limit device 33 is made up of saw blade case 331, pinch roller case 332, pinch roller 333, platen 334, saw 335; Said pinch roller case 332 is fixedly connected on the wallboard support 31 through steel plate, and saw blade case 331 is fixedly connected on the frame, and saw blade case 331 lumps together the chest that forms an integral body with pinch roller case 332; Said platen 334 is hinged on saw blade case 331 tops; Said pinch roller 333 links to each other with the upper wall of pinch roller case 332 through the bolt that is enclosed within on the spring, and is pressed on the platen, has sulculus on the platen 333; Said saw 334 is installed in outer container 331 bottoms, and the top blade of the saw blade of saw 334 extend out to platen 333 tops through sulculus.
Said wallboard support 31 is the integral type frame structure.
Embodiment two.
Said induction system 32 is two pairs of cylinders 321, and said cylinder 321 is a step, and the stepped diameters at two ends is greater than the stepped diameters of mid portion.Other structure is identical with embodiment one.
Embodiment three.
Said induction system 32 is six pairs of cylinders 321, and said cylinder 321 is a step, and the stepped diameters at two ends equals the stepped diameters of mid portion.On the said wallboard support 31, the bolt hole that is used for linking to each other with bottom roll 321 is ellipse or slot, and bottom roll 321 can be adjusted the position in the horizontal direction.Other structure is identical with embodiment one.
Embodiment four.
Said induction system 32 is eight pairs of cylinders 321, and said cylinder 321 is a step, and the stepped diameters at two ends is greater than the stepped diameters of mid portion.On the said wallboard support 31, the bolt hole that is used for linking to each other with bottom roll 321 is ellipse or slot, and bottom roll 321 can be adjusted the position in the horizontal direction.The upper wall and the lower wall of said saw limit device 33 have the hole, are used for being connected with dust collection equipment.Other structure is identical with embodiment one.
Claims (7)
1. a drum-type Sawing machine is made up of frame (1), actuating unit (2), Sawing machine structure (3), and wherein Sawing machine structure (3) is fixedly connected on the frame (1), and actuating unit (2) is installed on the frame, and links to each other with Sawing machine structure (3); Said Sawing machine structure (3) is made up of wallboard support (31), induction system (32), saw limit device (33); Said wallboard support (31) is fixedly installed on the frame (1), and symmetry has rectangular opening on the forward and backward wallboard of wallboard support (31); Said induction system (32) is at least two pairs of cylinders (321), and every pair of cylinder (321) is up and down to distribute and is installed in the rectangular opening of wallboard support (31); Last cylinder (321) is installed on the upper end of wallboard support (31) rectangular opening through the bolt and nut that links to each other with bearing, and between the upper arm of bearing and wallboard support (31) rectangular opening spring is installed; Bottom roll (321) is through being fixed on clip padlock on the bearing in the lower end of wallboard support (31) rectangular opening; Said actuating unit (2) links to each other through a cylinder of chain (321); On cylinder (321) bearing of said induction system (32) travelling gear (322) is installed, the rear wall plate middle part of wallboard support (31) is equipped with carrier gear (323), links to each other through intermeshed gear between the carrier gear (323) up and down; Interconnect through travelling gear (322), carrier gear (323) and chain between the two adjacent last cylinders (321), also interconnect between the two adjacent bottom rolls (321) through travelling gear (322), carrier gear (323) and chain.
2. a kind of drum-type Sawing machine according to claim 1; It is characterized in that: said saw limit device (33) is made up of saw blade case (331), pinch roller case (332), pinch roller (333), platen (334), saw (335); Said pinch roller case (332) is fixedly connected on the wallboard support (31) through steel plate; Saw blade case (331) is fixedly connected on the frame; Saw blade case (331) lumps together the chest that forms an integral body with pinch roller case (332), and said platen (334) is hinged on saw blade case (331) top, and said pinch roller (333) links to each other with the upper wall of pinch roller case (332) through the bolt that is enclosed within on the spring; And be pressed on the platen; Platen has sulculus on (333), and said saw (334) is installed in outer container (331) bottom, and the top blade of the saw blade of saw (334) extend out to platen (333) top through sulculus.
3. a kind of drum-type Sawing machine according to claim 1 is characterized in that: said wallboard support (31) is the integral type frame structure.
4. a kind of drum-type Sawing machine according to claim 1 is characterized in that: said cylinder (321) is for step.
5. a kind of drum-type Sawing machine according to claim 4 is characterized in that: the stepped diameters at said cylinder (321) two ends is not less than the stepped diameters of mid portion.
6. a kind of drum-type Sawing machine according to claim 1 is characterized in that: on the said wallboard support (31), the bolt hole that is used for linking to each other with bottom roll (321) is ellipse or slot, and bottom roll (321) can be adjusted the position in the horizontal direction.
7. a kind of drum-type Sawing machine according to claim 1 is characterized in that: the upper wall and the lower wall of said saw limit device (33) have the hole.
Priority Applications (1)
| Application Number | Priority Date | Filing Date | Title |
|---|---|---|---|
| CN2011203868639U CN202367809U (en) | 2011-03-01 | 2011-10-12 | Rotary drum type edge saw |
Applications Claiming Priority (7)
| Application Number | Priority Date | Filing Date | Title |
|---|---|---|---|
| CN201120051721 | 2011-03-01 | ||
| CN201120051721.7 | 2011-03-01 | ||
| CN201120234386 | 2011-07-05 | ||
| CN201110186640 | 2011-07-05 | ||
| CN201120234386.4 | 2011-07-05 | ||
| CN201110186640.2 | 2011-07-05 | ||
| CN2011203868639U CN202367809U (en) | 2011-03-01 | 2011-10-12 | Rotary drum type edge saw |
Publications (1)
| Publication Number | Publication Date |
|---|---|
| CN202367809U true CN202367809U (en) | 2012-08-08 |
Family
ID=46471396
Family Applications (2)
| Application Number | Title | Priority Date | Filing Date |
|---|---|---|---|
| CN2011203868639U Expired - Fee Related CN202367809U (en) | 2011-03-01 | 2011-10-12 | Rotary drum type edge saw |
| CN201110308144.XA Active CN102581882B (en) | 2011-03-01 | 2011-10-12 | Drum type final trimming saw |
Family Applications After (1)
| Application Number | Title | Priority Date | Filing Date |
|---|---|---|---|
| CN201110308144.XA Active CN102581882B (en) | 2011-03-01 | 2011-10-12 | Drum type final trimming saw |
Country Status (1)
| Country | Link |
|---|---|
| CN (2) | CN202367809U (en) |
Cited By (1)
| Publication number | Priority date | Publication date | Assignee | Title |
|---|---|---|---|---|
| CN102581882A (en) * | 2011-03-01 | 2012-07-18 | 钟育冰 | Drum type final trimming saw |
Families Citing this family (10)
| Publication number | Priority date | Publication date | Assignee | Title |
|---|---|---|---|---|
| CN103112051B (en) * | 2013-01-23 | 2015-01-21 | 李江华 | Saw cutting method of cork wood core material guide cutting groove |
| CN103264415A (en) * | 2013-05-03 | 2013-08-28 | 昆山市大昌机械制造有限公司 | Board edge saw |
| CN103612285B (en) * | 2013-11-29 | 2015-12-30 | 李�杰 | The special edge cutting machine of wood skin |
| CN105230761B (en) * | 2015-11-19 | 2018-06-26 | 陈玲婷 | A kind of bone cutting machine |
| WO2017152337A1 (en) * | 2016-03-07 | 2017-09-14 | 刘湘静 | New woodworking sawing device |
| CN105946055A (en) * | 2016-05-20 | 2016-09-21 | 宿州市天缘家具有限责任公司 | Cutter for automatically feeding and capable of machining plates with different sizes and machining method thereof |
| CN106738071A (en) * | 2016-12-11 | 2017-05-31 | 天津潜宇塑胶制品有限公司 | Double-side saw edge equipment is used in piano production |
| CN106827085A (en) * | 2017-03-30 | 2017-06-13 | 磐安县新城区亚信工艺品厂 | A kind of vertical milling circular sawing machine feed device |
| RU178322U1 (en) * | 2017-07-12 | 2018-03-30 | Сергей Николаевич Перфильев | ROLLER SAW MACHINE INSTALLATION UNIT |
| CN109129771A (en) * | 2018-09-17 | 2019-01-04 | 三明学院 | A kind of clamping feed arrangement, moso bamboo cutting machine and system for moso bamboo cutting machine |
Family Cites Families (7)
| Publication number | Priority date | Publication date | Assignee | Title |
|---|---|---|---|---|
| US3986652A (en) * | 1974-08-12 | 1976-10-19 | The Corey Steel Company | Feeding apparatus |
| SE414886B (en) * | 1977-02-09 | 1980-08-25 | Hilding Eric Borje Karlsson | DEVICE FOR TRIAL PROGRAMMERS |
| US4417680A (en) * | 1981-12-17 | 1983-11-29 | Culley Jr Donnell H | Lumber feeder |
| CN2541148Y (en) * | 2002-05-21 | 2003-03-26 | 何沛佳 | Parallel serial multi-spindle multi-blade sawmill |
| CN200963848Y (en) * | 2006-10-23 | 2007-10-24 | 袁志成 | Plate dividing saw |
| CN201235570Y (en) * | 2008-07-29 | 2009-05-13 | 张文通 | Grooving machine for both-side of wood block |
| CN202367809U (en) * | 2011-03-01 | 2012-08-08 | 钟育冰 | Rotary drum type edge saw |
-
2011
- 2011-10-12 CN CN2011203868639U patent/CN202367809U/en not_active Expired - Fee Related
- 2011-10-12 CN CN201110308144.XA patent/CN102581882B/en active Active
Cited By (2)
| Publication number | Priority date | Publication date | Assignee | Title |
|---|---|---|---|---|
| CN102581882A (en) * | 2011-03-01 | 2012-07-18 | 钟育冰 | Drum type final trimming saw |
| CN102581882B (en) * | 2011-03-01 | 2014-06-11 | 钟育冰 | Drum type final trimming saw |
Also Published As
| Publication number | Publication date |
|---|---|
| CN102581882A (en) | 2012-07-18 |
| CN102581882B (en) | 2014-06-11 |
Similar Documents
| Publication | Publication Date | Title |
|---|---|---|
| CN202367809U (en) | Rotary drum type edge saw | |
| CN202156765U (en) | Rotary conveyor | |
| CN201970365U (en) | Final trimming saw | |
| CN101575797B (en) | Semi-automatic double-pole umbrella fabric pressure cutting machine | |
| CN102581884B (en) | Board edge sawing machine | |
| CN206455308U (en) | A kind of efficient clothing cloth rag cutter | |
| CN202924356U (en) | Transitional lifting rolling machine | |
| CN202984297U (en) | Online hot chamfering cooling bed for hot rolling bars | |
| CN202924355U (en) | Rotary lifting rolling machine | |
| CN202934417U (en) | Adjustable double-faced chamfer machine of brake gaskets | |
| CN202271408U (en) | Ring vertical cutter special-shaped sponge cutting machine | |
| CN203111929U (en) | Conveying roller table used for both corrugated steel plate and straight steel plate | |
| CN202781935U (en) | Double-layer material placing device of bag making machine | |
| CN201333729Y (en) | Mortising device of timber working machine | |
| CN203006274U (en) | Lifting roller bed capable of rotating and moving | |
| CN102873605B (en) | Adjustable double-side chamfering machine for gaskets of brake | |
| CN202412375U (en) | Wood press planer | |
| CN105127321A (en) | Clamp type feeding device | |
| CN213105033U (en) | Plasma cutting machine sliding frame | |
| CN202439069U (en) | Board edge sawing machine | |
| CN202213045U (en) | Novel blank cutting machine | |
| CN215100714U (en) | Brick pillar transmission device | |
| CN201253910Y (en) | Novel automatic blank cutting machine | |
| CN202163884U (en) | Sliding trolley of forming belt conveyor | |
| CN206782748U (en) | Gear driven type part aligning system |
Legal Events
| Date | Code | Title | Description |
|---|---|---|---|
| C14 | Grant of patent or utility model | ||
| GR01 | Patent grant | ||
| CF01 | Termination of patent right due to non-payment of annual fee |
Granted publication date: 20120808 Termination date: 20141012 |
|
| EXPY | Termination of patent right or utility model |