CN202366559U - 一种反冲式管道过滤器 - Google Patents
一种反冲式管道过滤器 Download PDFInfo
- Publication number
- CN202366559U CN202366559U CN2011204337054U CN201120433705U CN202366559U CN 202366559 U CN202366559 U CN 202366559U CN 2011204337054 U CN2011204337054 U CN 2011204337054U CN 201120433705 U CN201120433705 U CN 201120433705U CN 202366559 U CN202366559 U CN 202366559U
- Authority
- CN
- China
- Prior art keywords
- filter
- filter body
- pipe
- water inlet
- inlet pipe
- Prior art date
- Legal status (The legal status is an assumption and is not a legal conclusion. Google has not performed a legal analysis and makes no representation as to the accuracy of the status listed.)
- Expired - Fee Related
Links
- XLYOFNOQVPJJNP-UHFFFAOYSA-N water Substances O XLYOFNOQVPJJNP-UHFFFAOYSA-N 0.000 claims abstract description 37
- 238000003860 storage Methods 0.000 claims abstract description 13
- 239000010865 sewage Substances 0.000 claims description 4
- 230000008901 benefit Effects 0.000 abstract description 5
- 238000000034 method Methods 0.000 abstract description 5
- 238000004140 cleaning Methods 0.000 abstract description 4
- 238000004519 manufacturing process Methods 0.000 description 4
- 230000000694 effects Effects 0.000 description 1
- 239000012530 fluid Substances 0.000 description 1
- 239000012535 impurity Substances 0.000 description 1
- 238000011085 pressure filtration Methods 0.000 description 1
- 230000008929 regeneration Effects 0.000 description 1
- 238000011069 regeneration method Methods 0.000 description 1
- 239000007787 solid Substances 0.000 description 1
- 230000000087 stabilizing effect Effects 0.000 description 1
Images
Landscapes
- Filtration Of Liquid (AREA)
Abstract
本实用新型公开了一种反冲式管道过滤器,包括过滤器本体,其特征在于:所述过滤器本体两侧分别设有进水管和出水管,所述过滤器本体底部设有排污管,所述排污管上设有排污阀门,所述过滤器本体内部设有过滤筒,所述过滤筒通过斜支撑板固定,所述过滤筒内部设有球型喷头,所述喷头通过导管与设于出水管下侧的储水处连接,所述储水处通过固定架固定于过滤器本体外侧,所述储水处与出水管相通,所述导管上还设有水泵,所述进水管上侧设有阻流板,所述阻流板至进水管上侧向下倾斜于过滤筒底部。本实用新型的优点是:结构筒单,制造容易,安装使用方便,在操作过程中自清洗滤网,结构紧凑,经济效益高。
Description
技术领域
本实用新型涉及管道过滤器领域,尤其涉及一种反冲式管道过滤器。
背景技术
管道过滤器是管道输送过程中涉及到的过滤器,主要由接管、筒体、滤篮、法兰、法兰盖及紧固件等组成。安装在管道上能除去流体中的较大固体杂质,使机器设备、仪表能正常工作和运转,达到稳定工艺过程,保障安全生产的作用。目前使用的过滤器多数为压力过滤,这些过滤设备中过滤介质的清洗再生困难等问题,且无法实现连续化生产。
因此,急需一种改进的技术来解决现有技术中所存在的这一问题。
发明内容
本实用新型的目的是提供一种反冲式管道过滤器。
本实用新型采用的技术方案是:
一种反冲式管道过滤器,包括过滤器本体,所述过滤器本体两侧分别设有进水管和出水管,所述进水管位于过滤器本体底部一侧,所述出水管位于过滤器本体顶部一侧,所述过滤器本体底部设有排污管,所述排污管上设有排污阀门,所述过滤器本体内部设有过滤筒,所述过滤筒通过斜支撑板固定,所述过滤筒内部设有球型喷头,所述喷头通过导管与设于出水管下侧的储水处连接,所述储水处通过固定架固定于过滤器本体外侧,所述储水处与出水管相通。
所述导管上还设有水泵。
所述进水管上侧设有阻流板,所述阻流板至进水管上侧向下倾斜于过滤筒底部。
本实用新型的优点是:设有阻流板,防止水流进入过滤器本体内部时水流过大,破坏过滤筒,结构筒单,制造容易,安装使用方便,在操作过程中自清洗滤网,结构紧凑,经济效益高。
附图说明
下面结合附图和具体实施方式对本实用新型作进一步详细描述。
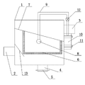
图1为本实用新型的结构示意图。
其中:1、过滤器本体,2、进水管,3、出水管,4、排污管,5、排污阀门,6、过滤筒,7、斜支撑板,8、喷头,9、导管,10、储水处,11、固定架,12、水泵,13、阻流板。
具体实施方式
如图1所示,本实用新型的一种反冲式管道过滤器,包括过滤器本体1,所述过滤器本体1两侧分别设有进水管2和出水管3,所述进水管2位于过滤器本体1底部一侧,所述出水管3位于过滤器本体1顶部一侧,所述过滤器本体1底部设有排污管4,所述排污管4上设有排污阀门5,所述过滤器本体1内部设有过滤筒6,所述过滤筒6通过斜支撑板7固定,所述过滤筒6内部设有球型喷头8,所述喷头8通过导管9与设于出水管3下侧的储水处10连接,所述储水处10通过固定架11固定于过滤器本体1外侧,所述储水处10与出水管3相通,所述导管9上还设有水泵12,所述进水管2上侧设有阻流板13,所述阻流板13至进水管2上侧向下倾斜于过滤筒6底部,防止水流进入过滤器本体1内部时水流过大,破坏过滤筒6,结构筒单,制造容易,安装使用方便,在操作过程中自清洗滤网,结构紧凑,经济效益高。
Claims (3)
1.一种反冲式管道过滤器,包括过滤器本体,其特征在于:所述过滤器本体两侧分别设有进水管和出水管,所述进水管位于过滤器本体底部一侧,所述出水管位于过滤器本体顶部一侧,所述过滤器本体底部设有排污管,所述排污管上设有排污阀门,所述过滤器本体内部设有过滤筒,所述过滤筒通过斜支撑板固定,所述过滤筒内部设有球型喷头,所述喷头通过导管与设于出水管下侧的储水处连接,所述储水处通过固定架固定于过滤器本体外侧,所述储水处与出水管相通。
2.根据权利要求1所述的一种反冲式管道过滤器,其特征在于:所述导管上还设有水泵。
3.根据权利要求1所述的一种反冲式管道过滤器,其特征在于:所述进水管上侧设有阻流板,所述阻流板至进水管上侧向下倾斜于过滤筒底部。
Priority Applications (1)
| Application Number | Priority Date | Filing Date | Title |
|---|---|---|---|
| CN2011204337054U CN202366559U (zh) | 2011-11-05 | 2011-11-05 | 一种反冲式管道过滤器 |
Applications Claiming Priority (1)
| Application Number | Priority Date | Filing Date | Title |
|---|---|---|---|
| CN2011204337054U CN202366559U (zh) | 2011-11-05 | 2011-11-05 | 一种反冲式管道过滤器 |
Publications (1)
| Publication Number | Publication Date |
|---|---|
| CN202366559U true CN202366559U (zh) | 2012-08-08 |
Family
ID=46590284
Family Applications (1)
| Application Number | Title | Priority Date | Filing Date |
|---|---|---|---|
| CN2011204337054U Expired - Fee Related CN202366559U (zh) | 2011-11-05 | 2011-11-05 | 一种反冲式管道过滤器 |
Country Status (1)
| Country | Link |
|---|---|
| CN (1) | CN202366559U (zh) |
-
2011
- 2011-11-05 CN CN2011204337054U patent/CN202366559U/zh not_active Expired - Fee Related
Similar Documents
| Publication | Publication Date | Title |
|---|---|---|
| CN103083978A (zh) | 一种反冲式管道过滤器 | |
| CN105617751A (zh) | 一种管道方形过滤器 | |
| CN202410322U (zh) | 一种高低接管法兰连接式管道过滤器 | |
| CN202366559U (zh) | 一种反冲式管道过滤器 | |
| CN202359620U (zh) | 一种下水管道过滤器 | |
| CN202366560U (zh) | 一种反清洗管道过滤器 | |
| CN201914995U (zh) | 超声波转盘过滤机 | |
| CN103083981A (zh) | 改进的管道过滤器 | |
| CN202366555U (zh) | 一种反冲洗管道过滤器 | |
| CN202366543U (zh) | 一种改进的全自动管道过滤器 | |
| CN208641948U (zh) | 一种过滤式转向接头 | |
| CN202366552U (zh) | 一种全自动自清洗管道过滤器 | |
| CN202366556U (zh) | 改进的管道过滤器 | |
| CN202666554U (zh) | 一种管道过滤器 | |
| CN103127762A (zh) | 一种高低接管法兰连接式管道过滤器 | |
| CN103127757A (zh) | 一种改进的高低法兰连接式管道过滤器 | |
| CN202366554U (zh) | 一种全自动管道过滤器 | |
| CN202983392U (zh) | 一种改进的轴承脱水防锈机的油路循环系统 | |
| CN202387287U (zh) | 一种自清反冲洗管道过滤器 | |
| CN202366547U (zh) | 一种气液管道过滤器 | |
| CN202410323U (zh) | 一种改进的高低法兰连接式管道过滤器 | |
| CN202087117U (zh) | 一种污水处理过滤装置 | |
| CN202366558U (zh) | 一种改进的自清反清洗管道过滤器 | |
| CN202315494U (zh) | 一种不锈钢滤芯式过滤器 | |
| CN202387286U (zh) | 一种改进的反冲式管道过滤器 |
Legal Events
| Date | Code | Title | Description |
|---|---|---|---|
| C14 | Grant of patent or utility model | ||
| GR01 | Patent grant | ||
| C17 | Cessation of patent right | ||
| CF01 | Termination of patent right due to non-payment of annual fee |
Granted publication date: 20120808 Termination date: 20121105 |