CN202361937U - Insulator end surface parallelism detector - Google Patents

Insulator end surface parallelism detector Download PDF

Info

Publication number
CN202361937U
CN202361937U CN2011205116190U CN201120511619U CN202361937U CN 202361937 U CN202361937 U CN 202361937U CN 2011205116190 U CN2011205116190 U CN 2011205116190U CN 201120511619 U CN201120511619 U CN 201120511619U CN 202361937 U CN202361937 U CN 202361937U
Authority
CN
China
Prior art keywords
detection part
insulator
pivoted arm
bracing frame
faces parallel
Prior art date
Legal status (The legal status is an assumption and is not a legal conclusion. Google has not performed a legal analysis and makes no representation as to the accuracy of the status listed.)
Expired - Lifetime
Application number
CN2011205116190U
Other languages
Chinese (zh)
Inventor
忻尧传
Current Assignee (The listed assignees may be inaccurate. Google has not performed a legal analysis and makes no representation or warranty as to the accuracy of the list.)
XIAMEN NAIDE ELECTRIC CO Ltd
Original Assignee
XIAMEN NAIDE ELECTRIC CO Ltd
Priority date (The priority date is an assumption and is not a legal conclusion. Google has not performed a legal analysis and makes no representation as to the accuracy of the date listed.)
Filing date
Publication date
Application filed by XIAMEN NAIDE ELECTRIC CO Ltd filed Critical XIAMEN NAIDE ELECTRIC CO Ltd
Priority to CN2011205116190U priority Critical patent/CN202361937U/en
Application granted granted Critical
Publication of CN202361937U publication Critical patent/CN202361937U/en
Anticipated expiration legal-status Critical
Expired - Lifetime legal-status Critical Current

Links

Images

Landscapes

  • Insulators (AREA)
  • Electric Cable Installation (AREA)

Abstract

The utility model discloses an insulator end surface parallelism detector and belongs to the field of insulator end surface parallelism detectors. The insulator end surface parallelism detector comprises a support frame, a rotating arm and a detection part, wherein the support frame serves as a support to connect a connecting lever with the detection part and is provided with two support parts; the rotating arm is arranged between the two support parts of the support frame and can rotate around pivoted parts between the rotating arm and the support parts; and the detection part is suspended on the rotating arm, can shift up and down, and is provided with a parallelism detecting end which is contacted with the upper end surface of an insulator so as to detect the parallelism of the end surface of the insulator. Compared with the conventional insulator end surface parallelism detecting device, the insulator end surface parallelism detector has the advantages of being simple in procedure, easy to operate, short in detection time, high in efficiency, and the like.

Description

A kind of insulator faces parallel pick-up unit
Technical field
The utility model discloses a kind of insulator faces parallel pick-up unit, divides by International Patent Classification (IPC) (IPC) to belong to insulator faces parallel pick-up unit field.
Background technology
Insulator faces parallel traditional detection method is that insulator is placed on the cover degree base, and some points of measuring are wherein confirmed the depth of parallelism, but use this method need move repeatedly insulator, and measuring accuracy is lower, complex steps, and measuring speed is slow.
Application number is that the insulator faces parallel of being introduced in 200920150822.2 the document is measured the depth of parallelism that frock utilization dial gauge several measurement points on the insulator end face detect end face; But this method is wanted the detection insulator end face of repeated multiple times; Step is comparatively loaded down with trivial details, and detection efficiency is lower.
Summary of the invention
Lower in order to solve the prior art precision, complex steps, detection efficiency is lower, and measuring speed is shortcoming slowly.The utility model provides a kind of insulator faces parallel pick-up unit, and it has solved existing shortcoming, can well reach the simple operation easily of step, Measuring Time weak point, the purpose that efficient is high.
Therefore, the utility model adopts following technical scheme:
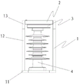
A kind of insulator faces parallel pick-up unit comprises bracing frame, pivoted arm and detection part, wherein,
Bracing frame, it is the framework of support and connection connecting lever and detection part, this bracing frame has two support portions;
Pivoted arm, it is arranged between two support portions of bracing frame, and pivoted arm can rotate around the articulated section with the support portion;
Detection part, it hangs on the pivoted arm and can be shifted up and down, and this detection part has the horizontal detection end and contacts with the insulator upper surface to detect the insulator faces parallel.
Further; Described bracing frame comprises base, two lateral braces and two adjustment plates, and two lateral braces are fixed on the base, and two lateral brace tops are installed the adjustment plate respectively and formed the support portion; Two adjustment plates cooperate the level height of the test side of pivoted arm adjustment detection part; Susceptor surface is a plane, and is the level of state with detection part, and detection part and base clamping insulator also detect its faces parallel.
Further, described pivoted arm outer end is provided with groove, and detection part places to be connected with pivoted arm in the groove and through a rotating shaft and is combined into linkage unit, and pivoted arm is raise by one handle its rotation of control and drive detection part or resets.
Further, the test side of described detection part is the horizontal knife shape, and extends to two support portion directions.
When the insulator faces parallel is detected, handle is promoted, detection part drives through pivoted arm and promotes, and insulator to be detected is placed on the base of bracing frame.After insulator to be detected is placed steadily the detection part of handle and drive is decontroled, the test side of detection part contacts with insulator end face to be detected simultaneously, and then it is carried out the detection of the depth of parallelism.
Advantage such as the utlity model has single operation easily, Measuring Time is short and efficient is high.
Description of drawings
Fig. 1 is the utility model structural representation;
Fig. 2 is the utility model duty front elevation;
Fig. 3 is the utility model duty side view.
Embodiment
Embodiment: a kind of insulator faces parallel pick-up unit, shown in Fig. 1 to 3, comprise bracing frame 1, pivoted arm 2 and detection part 3, wherein, and bracing frame 1, it is the framework of support and connection connecting lever and detection part, this bracing frame has two support portions.Pivoted arm 2, it is arranged between two support portions of bracing frame, and is connected by the threads engaged on two support portions of the rotating shaft that runs through pivoted arm 2 tops and bracing frame, and pivoted arm 2 can around with the articulated section rotation of support portion.Detection part 3, it hangs on the pivoted arm and can be shifted up and down, and this detection part 3 has the horizontal detection end and contacts to detect faces parallel to be detected with end face to be detected.
Described bracing frame 1 comprises base 11, two lateral braces 12 and two adjustment plates 13; Two lateral braces 12 are fixed on the base 11; Adjustment plate 13 formation support portions are installed on two lateral braces, 12 tops respectively, and two adjustment plates 13 cooperate the level height of the test side of pivoted arm 2 adjustment detection parts 3, and base 11 surfaces are a plane; And being parastate with detection part 3, detection part 3 and base 11 clamping insulators 4 also detect its end face 41 depth of parallelisms.Described pivoted arm 2 outer ends are provided with groove, and detection part 3 places to be connected with pivoted arm 2 in the groove and through a rotating shaft and is combined into linkage unit, and pivoted arm 2 is raise by one handle 5 its rotations of control and drive detection part 3 or resets.The test side of described detection part 3 is the horizontal knife shape, and extends to two support portion directions.
When end face 41 depth of parallelisms of insulator 4 are detected, handle 5 is promoted, detection part 3 drives through pivoted arm 2 and promotes, and insulator 4 to be detected is placed on the base 11 of bracing frame 1.After insulator 4 to be detected is placed steadily the detection part 3 of handle 5 and drive is decontroled, the test side of detection part 3 contacts with insulator end face 41 to be detected simultaneously, and then it is carried out the detection of the depth of parallelism.
The above is merely the utility model than embodiment, and anyly be familiar with this art utilization plate creation institute and do to such an extent that modify and variation, claims of the utility model all, and be not limited to embodiment announcement person.

Claims (4)

1. insulator faces parallel pick-up unit is characterized in that: comprise bracing frame, pivoted arm and detection part, wherein,
Bracing frame, it is the framework of support and connection connecting lever and detection part, this bracing frame has two support portions;
Pivoted arm, it is arranged between two support portions of bracing frame, and pivoted arm can rotate around the articulated section with the support portion;
Detection part, it hangs on the pivoted arm and can be shifted up and down, and this detection part has the horizontal detection end and contacts with the insulator upper surface to detect the insulator faces parallel.
2. a kind of insulator faces parallel pick-up unit according to claim 1; It is characterized in that: described bracing frame comprises base, two lateral braces and two adjustment plates; Two lateral braces are fixed on the base, and two lateral brace tops are installed the adjustment plate respectively and formed the support portion, and two adjustment plates cooperate the level height of the test side of pivoted arm adjustment detection part; Susceptor surface is a plane, and detection part and base clamping insulator also detect its faces parallel.
3. a kind of insulator faces parallel pick-up unit according to claim 1; It is characterized in that: described pivoted arm outer end is provided with groove; Detection part places to be connected with pivoted arm in the groove and through a rotating shaft and is combined into linkage unit, and pivoted arm is raise by one handle its rotation of control and drive detection part or resets.
4. according to each described a kind of insulator faces parallel pick-up unit of claim 1 to 3, it is characterized in that: the test side of described detection part is the horizontal knife shape, and extends to two support portion directions.
CN2011205116190U 2011-12-09 2011-12-09 Insulator end surface parallelism detector Expired - Lifetime CN202361937U (en)

Priority Applications (1)

Application Number Priority Date Filing Date Title
CN2011205116190U CN202361937U (en) 2011-12-09 2011-12-09 Insulator end surface parallelism detector

Applications Claiming Priority (1)

Application Number Priority Date Filing Date Title
CN2011205116190U CN202361937U (en) 2011-12-09 2011-12-09 Insulator end surface parallelism detector

Publications (1)

Publication Number Publication Date
CN202361937U true CN202361937U (en) 2012-08-01

Family

ID=46573118

Family Applications (1)

Application Number Title Priority Date Filing Date
CN2011205116190U Expired - Lifetime CN202361937U (en) 2011-12-09 2011-12-09 Insulator end surface parallelism detector

Country Status (1)

Country Link
CN (1) CN202361937U (en)

Cited By (2)

* Cited by examiner, † Cited by third party
Publication number Priority date Publication date Assignee Title
CN103192521A (en) * 2013-04-29 2013-07-10 中发输配电设备(平湖)有限公司 Basin-shaped insulator leveling device
CN103673948A (en) * 2013-12-04 2014-03-26 国家电网公司 Insulator deviation detection device

Cited By (4)

* Cited by examiner, † Cited by third party
Publication number Priority date Publication date Assignee Title
CN103192521A (en) * 2013-04-29 2013-07-10 中发输配电设备(平湖)有限公司 Basin-shaped insulator leveling device
CN103192521B (en) * 2013-04-29 2015-08-12 中发输配电设备(平湖)有限公司 Basin shape insulator leveling apparatus
CN103673948A (en) * 2013-12-04 2014-03-26 国家电网公司 Insulator deviation detection device
CN103673948B (en) * 2013-12-04 2015-12-16 国家电网公司 Insulator deviation detection device

Similar Documents

Publication Publication Date Title
CN109373848A (en) Solar module frame mounting hole automatic detection device
CN202793288U (en) Orifice verticality tester for glass tube
CN202361937U (en) Insulator end surface parallelism detector
CN110749303A (en) Forged part quality detection device
CN101566455A (en) Detection apparatus for end shape and length of crankle guide bucket
CN207366694U (en) A kind of multiple-station rotation mechanism of pcb board measurement jig
CN204882090U (en) Six station accelerator pedal durability test devices
CN201903330U (en) Transparent detection tool
CN204347201U (en) Circuit board testing frock
CN204495288U (en) A kind of roller substructure height size detecting device
CN203981152U (en) High and the parallelism detecting device of bearing bush radius projection
CN204007701U (en) Wiper scraping arm pressure and torsional angle measurement mechanism
CN107607068B (en) Battery height detection device
CN204940370U (en) A kind of well lid pressure test device
CN205426058U (en) High automated inspection equipment of button
CN204214895U (en) A kind of test board detected for LED lamp panel
CN206531905U (en) A kind of YE electrical appliance module test device
CN205561746U (en) Synchronizer ring terminal surface flatness detecting device
CN210571109U (en) Torque testing tool for permanent magnet synchronous motor
CN215266195U (en) Device for detecting roughness of wafer paster
CN202648604U (en) Parallelism degree detecting device
CN210036651U (en) Gas stove supporting leg maximum height difference detection device
CN208705068U (en) A kind of intellective dust collector head test equipment
CN207214952U (en) The detecting tool of engine installation load bearing seat on mini-tiller support
CN204189773U (en) Solar module indicative of local optical performance testing device

Legal Events

Date Code Title Description
C14 Grant of patent or utility model
GR01 Patent grant
CX01 Expiry of patent term

Granted publication date: 20120801

CX01 Expiry of patent term