CN202348385U - 摩托车排气净化装置 - Google Patents
摩托车排气净化装置 Download PDFInfo
- Publication number
- CN202348385U CN202348385U CN 201120358881 CN201120358881U CN202348385U CN 202348385 U CN202348385 U CN 202348385U CN 201120358881 CN201120358881 CN 201120358881 CN 201120358881 U CN201120358881 U CN 201120358881U CN 202348385 U CN202348385 U CN 202348385U
- Authority
- CN
- China
- Prior art keywords
- pipe
- air
- blowdown pipe
- exhaust purification
- bending section
- Prior art date
- Legal status (The legal status is an assumption and is not a legal conclusion. Google has not performed a legal analysis and makes no representation as to the accuracy of the status listed.)
- Expired - Lifetime
Links
- 238000000746 purification Methods 0.000 title claims abstract description 13
- 239000003054 catalyst Substances 0.000 claims abstract description 31
- 238000005452 bending Methods 0.000 claims description 27
- 239000002912 waste gas Substances 0.000 abstract description 25
- 239000000446 fuel Substances 0.000 abstract description 7
- 238000006243 chemical reaction Methods 0.000 abstract description 5
- 230000002411 adverse Effects 0.000 description 11
- 239000007789 gas Substances 0.000 description 11
- 230000009466 transformation Effects 0.000 description 9
- 230000030279 gene silencing Effects 0.000 description 6
- 238000000034 method Methods 0.000 description 5
- 238000002485 combustion reaction Methods 0.000 description 4
- 230000000694 effects Effects 0.000 description 4
- 239000002184 metal Substances 0.000 description 4
- QVGXLLKOCUKJST-UHFFFAOYSA-N atomic oxygen Chemical compound [O] QVGXLLKOCUKJST-UHFFFAOYSA-N 0.000 description 3
- 238000001816 cooling Methods 0.000 description 3
- 239000001301 oxygen Substances 0.000 description 3
- 229910052760 oxygen Inorganic materials 0.000 description 3
- 230000032683 aging Effects 0.000 description 2
- WYTGDNHDOZPMIW-RCBQFDQVSA-N alstonine Natural products C1=CC2=C3C=CC=CC3=NC2=C2N1C[C@H]1[C@H](C)OC=C(C(=O)OC)[C@H]1C2 WYTGDNHDOZPMIW-RCBQFDQVSA-N 0.000 description 2
- 230000003197 catalytic effect Effects 0.000 description 2
- 239000003517 fume Substances 0.000 description 2
- 230000006872 improvement Effects 0.000 description 2
- 239000000203 mixture Substances 0.000 description 2
- 230000008569 process Effects 0.000 description 2
- 230000005855 radiation Effects 0.000 description 2
- 230000009467 reduction Effects 0.000 description 2
- 230000009286 beneficial effect Effects 0.000 description 1
- 230000007812 deficiency Effects 0.000 description 1
- 238000007599 discharging Methods 0.000 description 1
- 238000005516 engineering process Methods 0.000 description 1
- 239000000295 fuel oil Substances 0.000 description 1
- 238000005457 optimization Methods 0.000 description 1
- 230000037361 pathway Effects 0.000 description 1
- 231100000331 toxic Toxicity 0.000 description 1
- 230000002588 toxic effect Effects 0.000 description 1
- 238000013022 venting Methods 0.000 description 1
Images
Landscapes
- Exhaust Gas After Treatment (AREA)
Abstract
本实用新型公开了一种摩托车排气净化装置,包括补气管,补气管的出气口斜伸进排气管,补气管整体呈“S”型,其上设置有折弯段,折弯段的弯角小于90度,这种结构能在发动机内出现过大的气体压力时有效防止补气逆流现象的产生,保证了二次供气的顺利进行,废气得到新鲜空气的补充,降低了废气温度,而且废气的空燃比恢复至催化器高转化效率的区间,提高废气转化效率。
Description
技术领域
本实用新型涉及一种排气净化装置,特别是一种用于摩托车的排气净化装置。
背景技术
摩托车的内燃机在工作过程中,由于燃烧作用,会排放出大量废气,增加空气污染,因此,在摩托车的尾气排放管中一般设置有催化器,通过催化器对内燃机排放的废气进行尾气处理,降低废气中的CO、NOx、HC等有害成分。可燃混合气体的空燃比是决定催化器转化效率的关键环节之一,空燃比是指可燃混合气体中所含空气和燃油的质量比值,一般摩托车发动机工作环境中的最佳空燃比为14.7,这时候的废气催化率达到最佳,排放的废气最少。
内燃机尾气排放过程中,由于废气流速较高,与催化器表面的接触时间受到限制,单级催化器的转化效果并不理想,若增加催化器的尺寸,催化器反应的放热过程过于剧烈,催化器载体的耐受程度难以支撑,就会导致催化器损毁;同时废气与催化器的反应过程中,氧气含量急剧下降,随着氧气含量的降低,催化器的后半段反应过程就会偏离催化器的高转化效率区间,造成转化效率降低。
为解决此问题,现有使用两级或多级催化器的技术方案,通过第二级催化器前设置补气管进行二次空气导入添加氧气,通过与第一级催化器后废气环境的优化,可使废气的空燃比恢复至催化器高转化效率的区间,提高废气转化效率,同时新鲜空气的导入,降低了废气温度,有利于降低第二级催化器的热负荷。
目前市场上在销的摩托车一般都是将金属制的补气管以90度切入角度直接连接到排气管上,如图1所示,但当发动机高负荷运作时,发动机内出现过大的气体压力,废气容易从排气管进入到补气管,出现补气逆流的现象,而现有的补气管都是采用直管或者大角度的折弯管,不能有效的抑制补气逆流的现象,造成补气量不足,废气催化不充分,废气排放不达标;同时,由于与排气管连接的补气管为金属管,金属补气管一端与排气管连接,另一端通过橡胶制的二次补气阀胶管与通外源空气的二次补气阀连接,当出现补气逆流的时候,热量会通过金属补气管传导到橡胶制的二次补气阀胶管,严重的会导致二次补气阀胶管温度过高而发生烧损等问题。为达到摩托车的国Ⅲ、欧Ⅲ、甚至欧Ⅳ排放标准,有必要对现有排气装置的二次补气进行研究和改进。
实用新型内容
为了克服现有技术的不足,本实用新型提供一种摩托车排气净化装置,该装置能有效防止废气通过补气管产生逆流,而且能起到一定的降温作用。
摩托车排气净化装置,包括与排气管连接的补气管,所述排气管内设置有第一催化器和第二催化器,所述补气管设置在第一催化器和第二催化器之间的排气管上,补气管具有与排气管相连接的连接管部,所述连接部的出气口伸入排气管,并且出气口朝向排气管的下游方向,所述连接管部与此部位的排气管成45~85度夹角;在所述补气管靠近出气口处设置第一折弯段,所述第一折弯段的弯角小于90度。
进一步,所述补气管与排气管之间的夹角优选为70~80度,这时进行二次空气供给的效果最佳,而且不易产生逆流。
作为上述技术方案的进一步改进,在所述补气管靠近进气口处设置有第二折弯段,第二折弯段的弯角方向与第一折弯段弯角方向相反,第二折弯段的弯角小于90度,进一步抑制补气逆流现象,而且使整个补气管呈“S”形,增加补气管进气口与出气口的距离,起到一定的降温作用。
进一步,所述第一折弯段的弯角优选为68~75度,第二折弯段的弯角优选为45~53度。
作为上述技术方案的进一步改进,所述进气口指向背离排气管的方向,连接于所述补气管的二次补气阀胶管位于补气管的上方,使连接在补气管进气口上的二次补气阀胶管远离消声器,防止二次补气阀胶管在消声器的热辐射下老化或熔化破损。
本实用新型的有益效果是:本设计中的补气管出气口端面与排气方向成45~85度夹角,能有效阻挡排气管里的废气进入补气管,补气管上还设置有两处弯角小于90度的折弯段,进一步抑制废气通过补气管产生逆流,保证了二次供气的顺利进行,废气得到新鲜空气的补充,降低了废气温度,而且废气的空燃比恢复至催化器高转化效率的区间,提高废气转化效率,保证排放达标;同时补气管整体呈“S”型结构,在相同空间尺寸的情况下,增加了补气管的长度,起到一定的降温作用,防止二次补气阀胶管出现温度过高发生烧损等问题。
附图说明
下面结合附图和实施例对本实用新型进一步说明。
图1是传统技术中补气管与排气管的连接方式;
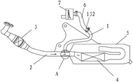
图2是本实用新型的结构示意图;
图3是图2中A处的放大图;
图4是本实用新型补气管的结构示意图。
具体实施方式
参照图2至图4,本实用新型的一种防逆流摩托车排气装置的实施例,包括排气管2和补气管1,补气管1具有两个折弯段11、12,在补气管1靠近出气口131处设置第一折弯段11,在补气管1靠近进气口132处设置有第二折弯段12,第一折弯段11和第二折弯段12的弯角小于90度,并且两所述弯角的朝向相反,使补气管1呈“S”形,能有效阻挡排气管2里的废气进入补气管1,抑制废气通过补气管1产生逆流,保证了二次供气的顺利进行。
进一步,两个折弯段11、12的角度都小于90度,第一折弯段11的弯角β优选为68~75度,第二折弯段12的弯角γ优选为45~53度。
补气管1设置在第一催化器3和第二催化器4之间,补气管1与排气管2密封连接;所述补气管1出气口131伸入排气管2内小许,并且出气口131朝向排气管2的下游方向,出气口131不超过排气管2的轴线,连接管部13与此部位的排气管成45~85度夹角;优选采用70~80度夹角。如图3所示,当连接管部13轴线与排气管2轴线的夹角呈70~80度优选方案时,出气口131端面与排气管2轴线的夹角α为10~20度。
补气管1出气口斜伸进去排气管2中,能有效阻挡废气进入补气管1,防止发动机内出现过大的气体压力时补气逆流现象的产生,保证了二次供气的顺利进行,废气得到新鲜空气的补充,降低了废气温度,而且废气的空燃比恢复至催化器高转化效率的区间,提高废气转化效率;同时整个补气管1呈“S”型且折弯处角度都小于90度,弯角小于90度,能进一步防止废气沿补气管1产生逆流,并在相同空间尺寸的情况下增加了补气管1的长度,增长了废气在补气管1中的流通途径,废气热量不易传输到补气管1另一端造成二次补气阀胶管的熔化。
此外,如图2所示,为防止二次补气阀胶管6在消声器5的热辐射下老化或熔化破损,进气口132指向背离排气管2的方向,二次补气阀7位于消声器5上方并远离消声器5,连接于补气管1进气口132上的二次补气阀胶管6位于补气管1的上方,使二次补气阀胶管6远离消声器5。
本设计解决了摩托车工况全开时的补气逆流的问题,使用安全,实用性强,结构简单,便于推广。
以上所述仅为本实用新型的优先实施方式,本实用新型还可以应用在第一催化器前进行补气,同样具有上述功能,只要以基本相同手段实现本实用新型目的的技术方案都属于本实用新型的保护范围之内。
Claims (7)
1.摩托车排气净化装置,包括与排气管(2)连接的补气管(1),所述补气管(1)上设置有进气口(132)和出气口(131),所述排气管(2)内设置有第一催化器(3)和第二催化器(4),所述补气管(1)设置在第一催化器(3)和第二催化器(4)之间的排气管(2)上,补气管(1)具有与排气管(2)相连接的连接管部(13),其特征在于:
所述连接管部(13)的出气口(131)伸入排气管(2),并且出气口(131)朝向排气管(2)的下游方向,所述连接管部(13)与此部位的排气管成45~85度夹角;在所述补气管(1)靠近出气口(131)处设置第一折弯段(11),所述第一折弯段(11)的弯角小于90度。
2.根据权利要求1所述的摩托车排气净化装置,其特征在于:所述补气管(1)的连接管部(13)轴线与排气管(2)的轴线之间的夹角为70~80度。
3.根据权利要求1所述的摩托车排气净化装置,其特征在于:所述第一折弯段(11)的弯角为68~75度。
4.根据权利要求1所述的摩托车排气净化装置,其特征在于:在所述补气管(1)靠近进气口(132)处设置有第二折弯段(12),所述第二折弯段(12)的弯角方向与第一折弯段(11)的弯角方向相反。
5.根据权利要求4所述的摩托车排气净化装置,其特征在于:所述第二折弯段(12)的弯角小于90度。
6.根据权利要求5所述的摩托车排气净化装置,其特征在于:所述第二折弯段(12)的弯角为45~53度。
7.根据权利要求1所述的摩托车排气净化装置,其特征在于:所述进气口(132)指向背离排气管(2)的方向,连接于所述补气管(1)的二次补气阀胶管(6)位于补气管(1)的上方。
Priority Applications (1)
| Application Number | Priority Date | Filing Date | Title |
|---|---|---|---|
| CN 201120358881 CN202348385U (zh) | 2011-09-23 | 2011-09-23 | 摩托车排气净化装置 |
Applications Claiming Priority (1)
| Application Number | Priority Date | Filing Date | Title |
|---|---|---|---|
| CN 201120358881 CN202348385U (zh) | 2011-09-23 | 2011-09-23 | 摩托车排气净化装置 |
Publications (1)
| Publication Number | Publication Date |
|---|---|
| CN202348385U true CN202348385U (zh) | 2012-07-25 |
Family
ID=46537394
Family Applications (1)
| Application Number | Title | Priority Date | Filing Date |
|---|---|---|---|
| CN 201120358881 Expired - Lifetime CN202348385U (zh) | 2011-09-23 | 2011-09-23 | 摩托车排气净化装置 |
Country Status (1)
| Country | Link |
|---|---|
| CN (1) | CN202348385U (zh) |
Cited By (2)
| Publication number | Priority date | Publication date | Assignee | Title |
|---|---|---|---|---|
| CN110821600A (zh) * | 2019-10-14 | 2020-02-21 | 江门市大长江集团有限公司 | 发动机排气结构、发动机及摩托车 |
| CN112814779A (zh) * | 2020-11-16 | 2021-05-18 | 浙江春风动力股份有限公司 | 一种摩托车 |
-
2011
- 2011-09-23 CN CN 201120358881 patent/CN202348385U/zh not_active Expired - Lifetime
Cited By (7)
| Publication number | Priority date | Publication date | Assignee | Title |
|---|---|---|---|---|
| CN110821600A (zh) * | 2019-10-14 | 2020-02-21 | 江门市大长江集团有限公司 | 发动机排气结构、发动机及摩托车 |
| CN112814779A (zh) * | 2020-11-16 | 2021-05-18 | 浙江春风动力股份有限公司 | 一种摩托车 |
| CN112814771A (zh) * | 2020-11-16 | 2021-05-18 | 浙江春风动力股份有限公司 | 一种摩托车及其排气装置 |
| CN112814801A (zh) * | 2020-11-16 | 2021-05-18 | 浙江春风动力股份有限公司 | 一种摩托车及其低排放式摩托车发动机 |
| CN112832919A (zh) * | 2020-11-16 | 2021-05-25 | 浙江春风动力股份有限公司 | 一种污染物排放量低的摩托车 |
| CN112943473A (zh) * | 2020-11-16 | 2021-06-11 | 浙江春风动力股份有限公司 | 一种低排放的燃油式摩托车 |
| US12270360B2 (en) | 2020-11-16 | 2025-04-08 | Zhejiang Cfmoto Power Co. Ltd. | Off-road vehicle and engine thereof |
Similar Documents
| Publication | Publication Date | Title |
|---|---|---|
| CN102444450B (zh) | 用于内燃机的排气系统 | |
| WO2015086905A1 (en) | Engine exhaust gas control system | |
| CN102359412B (zh) | 防逆流摩托车排气装置 | |
| CN202348385U (zh) | 摩托车排气净化装置 | |
| CN110080863B (zh) | 一种提高船用柴油机低压scr系统低温性能的加热系统 | |
| CN217976361U (zh) | 一种基于氨氢燃料动力系统的污染物排放处理系统 | |
| CN108612577A (zh) | 一种船舶活性炭法尾气脱硝装置及方法 | |
| KR20180068198A (ko) | 연료 개질 시스템 | |
| CN203316011U (zh) | 提高燃煤锅炉尾部烟气脱硝投入率的结构 | |
| CN201041063Y (zh) | 通用小型四冲程汽油机的二次再燃烧废气净化装置 | |
| CN218033212U (zh) | 一种加热炉scr低氮处理装置 | |
| CN202140146U (zh) | 一种含氧燃料为吸热载体的柴油机尾气余热利用系统 | |
| CN2537823Y (zh) | 柴油车排气综合型净化装置 | |
| CN201835898U (zh) | 内燃机的尾气净化消声器 | |
| CN211777661U (zh) | 一种汽油机用带扰流板的催化净化器 | |
| CN203614188U (zh) | 一种机动车用scr消声器的结构总成 | |
| CN202707183U (zh) | 通用小型汽油机尾气净化装置 | |
| CN210171228U (zh) | 一种溴化锂分级布置耦合脱硝系统 | |
| CN207437222U (zh) | 一种具有改进scr催化器结构的船用egr柴油机 | |
| CN211274231U (zh) | 一种解决内燃机冷启动NOx脱除问题的系统 | |
| KR20190072341A (ko) | 연료 개질 시스템 | |
| CN201696181U (zh) | 改进的内燃机燃油预热装置 | |
| CN102465731A (zh) | 内燃机的尾气净化消声器 | |
| CN206055660U (zh) | 一种降低排烟氧含量的燃煤锅炉组件 | |
| CN215860544U (zh) | 一种发动机废气再循环系统 |
Legal Events
| Date | Code | Title | Description |
|---|---|---|---|
| C14 | Grant of patent or utility model | ||
| GR01 | Patent grant | ||
| CX01 | Expiry of patent term | ||
| CX01 | Expiry of patent term |
Granted publication date: 20120725 |