CN202346189U - beverage mixing container - Google Patents

beverage mixing container Download PDF

Info

Publication number
CN202346189U
CN202346189U CN2011204640583U CN201120464058U CN202346189U CN 202346189 U CN202346189 U CN 202346189U CN 2011204640583 U CN2011204640583 U CN 2011204640583U CN 201120464058 U CN201120464058 U CN 201120464058U CN 202346189 U CN202346189 U CN 202346189U
Authority
CN
China
Prior art keywords
bottom plate
beverage
sleeve
container
base plate
Prior art date
Legal status (The legal status is an assumption and is not a legal conclusion. Google has not performed a legal analysis and makes no representation as to the accuracy of the status listed.)
Expired - Fee Related
Application number
CN2011204640583U
Other languages
Chinese (zh)
Inventor
谢福鑫
Current Assignee (The listed assignees may be inaccurate. Google has not performed a legal analysis and makes no representation or warranty as to the accuracy of the list.)
Individual
Original Assignee
Individual
Priority date (The priority date is an assumption and is not a legal conclusion. Google has not performed a legal analysis and makes no representation as to the accuracy of the date listed.)
Filing date
Publication date
Application filed by Individual filed Critical Individual
Priority to CN2011204640583U priority Critical patent/CN202346189U/en
Application granted granted Critical
Publication of CN202346189U publication Critical patent/CN202346189U/en
Anticipated expiration legal-status Critical
Expired - Fee Related legal-status Critical Current

Links

Images

Landscapes

  • Details Of Rigid Or Semi-Rigid Containers (AREA)
  • Closures For Containers (AREA)

Abstract

The utility model discloses a beverage mixes partial shipment ware, including: a base plate having a structural weakness; a body extending upward from the periphery of the base plate, the body defining a closed space between the body and the base plate for storing a first beverage or ingredient; the sleeve is extended downwards from the periphery of the bottom plate, an insertion hole with a downward opening is formed in the sleeve, female threads are arranged on the wall surface of the insertion hole and can be screwed on a bottle opening of the container, when the dispensing vessel rotates clockwise and moves downwards, the bottle opening can press the bottom plate, the bottom plate can be broken through a fragile structure, and therefore the first beverage or raw material in the dispensing vessel can be mixed into the container and can be mixed with the second beverage or raw material existing in the container. The utility model discloses equipment and convenient to use, and reduce cost and simplified operation.

Description

A kind of beverage blends packing ware
Technical field
The utility model designs a kind of more convenient manufacturing, more meets the beverage blends packing ware of economic benefit.
Background technology
In the prior art; Case before China Taiwan M382976 number " beverage bottle cap group " patent, the packing ware that it disclosed are to be installed on the container apical margin through bottle cap, and this packing ware must see through the overall co-ordination of clutch structure, ring slotting tool, guide structure and serial verb construction in addition; Can be behind the turn bottle cap; First kind of beverage or raw material in the packing ware can be mixed in the container, so that mix, in order to the selection of drinking to be provided with existing second kind of beverage or the raw material of container.
, case need dispose clutch structure, ring slotting tool, guide structure, serial verb construction except that container, bottle cap and packing ware before this patent, and its integral structure is quite complicated, causes assembling and manufacturing cost has high shortcoming. 
In view of this, the inventor is professional experiences and the gains in depth of comprehension with for many years, through constantly conceiving, creating and grinding, is to develop the utility model.
The utility model content
The utility model provides a kind of assembling and easy to use, and the low beverage blends packing ware of productive costs.
For reaching above-mentioned purpose, the solution of the utility model is:
A kind of beverage blends packing ware, include: one has the base plate at fragile structure place;
One by the trunk that upwards extends around the base plate, this trunk can and base plate between define 1 the space of closing that first kind of beverage or raw material store can be provided; And one by the sleeve that extends downwards around the base plate, and it is formed with a downward opening jack, and is provided with negative thread in the wall of jack; This negative thread system can provide the bottleneck of container to screw togather; In the dextrorotation of packing ware then when moving down, bottleneck can urge base plate, makes base plate broken by the fragile structure place; With so that first kind of beverage in the packing ware or raw material can mix in the container, and mix with existing second kind of beverage or the raw material of container.
Further; Trunk apical margin constriction picks out one and is communicated with the inside and outside jar mouth of confined space, and a jar mouthful periphery is provided with an external screw thread, and this external screw thread system provides a cover to lock by clickwise; Inside and outside isolated confined space, the negative thread pitch of sleeve and pitch diameter and this trunk external screw thread are complementary.
Further, body ring-type in the external screw thread below is equipped with one to ring.
Further, base plate system is inclined to set, and relative high end and the end portion of tool; Base plate thickness system is by the gradually thickening of high end towards end portion; And fragile structure place system is laid in this base plate thicker end portion periphery relatively, urges base plate at bottleneck, when base plate is broken by this fragile structure place; Make that base plate can be upwards lifting of fulcrum with high end, open confined space.
Further; Base plate is to be to be horizontally disposed with, and the bottom surface of base plate is arranged with criss-cross groove, and this groove system forms the fragile structure place of base plate; When moving down in the rotation of packing ware; Bottleneck can urge base plate and torn by the fragile structure place, and this base plate can upwards be lifted with what the crosswise groove broke, opens confined space.
Further, the sleeve bottom is equipped with a guard hoop in addition.
Further, guard hoop top system is linked to the sleeve bottom with tear line, and the guard hoop bottom also is linked to bottleneck with tear line, and radially is penetrated with a breach in guard hoop, strides with a draw ring in addition and is located at breach.
A kind of beverage blends packing ware includes; One has the base plate at fragile structure place; One has the sleeve of negative thread, and it is by upwards extending around the base plate, outwards reaches second sleeve that extended of downward reflexed in addition on this sleeve top, and this second sleeve has the negative thread that can be locked on the bottleneck screw part; An and trunk; Its bottom has the spiro-locking section that can be combined in the sleeve negative thread, make this trunk can and base plate between define one can provide first kind of beverage or raw material to store confined space, and make this trunk when clickwise, can urge base plate downwards; This base plate can be torn by the fragile structure place; Open confined space, order first kind of beverage or raw material wherein can mix in the container, so that mix with existing second kind of beverage or the raw material of container.
Further, between trunk and sleeve top, be provided with a guard hoop, make this guard hoop after tearing, this trunk has the nargin of can dextrorotation then moving down.
Further, base plate system is inclined to set, and makes base plate thickness system by the gradually thickening of end portion towards high end; And the end face of base plate is provided with groove, makes this groove system form the fragile structure place of base plate, and fragile structure place system is laid in this base plate thicker high end periphery relatively; In the trunk dextrorotation then when moving down, make the trunk bottom can urge base plate, this base plate can be torn by the fragile structure place; Making this base plate can be lifting downwards of fulcrum with the end portion, opens confined space.
Further, trunk apical margin constriction picks out one and is communicated with the inside and outside jar mouth of confined space, and a jar mouthful periphery is provided with the external screw thread that a pitch and pitch diameter and bottleneck screw part are complementary, and this external screw thread system provides a cover to lock by clickwise, inside and outside isolated confined space.
After adopting such scheme, the utility model compared with prior art has the following advantages:
One, the utility model packing ware system see through sleeve negative thread and directly with the bottleneck combination of container, this kind configuration can let assembles and uses more convenient;
Two, the utility model packing ware can one-body moldedly be made, and can simplify clutch structure, ring slotting tool, guide structure and the serial verb construction of prior art, and therefore, the utility model is no matter on assembling or making, all have remarkable economic efficiency.
Description of drawings
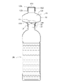
Fig. 1 is the schematic perspective view of the utility model packing ware;
Fig. 2 is the decomposing schematic representation of the utility model packing ware and container;
Fig. 3 is the combination schematic appearance of the utility model packing ware and container;
Fig. 4 A is the combination generalized section of the utility model packing ware and container;
Fig. 4 B is the generalized section of the utility model when bland;
Fig. 4 C is the partial schematic diagram of Fig. 4 A;
Fig. 5 is the decomposing schematic representation of new second embodiment of this practicality;
Fig. 6 is the combination schematic appearance of new second embodiment of this practicality;
Fig. 7 is the combination generalized section of new second embodiment of this practicality;
Fig. 8 is the packing ware schematic appearance of new the 3rd embodiment of this practicality;
Fig. 9 A is packing ware and the container combination scheme drawing of new the 3rd embodiment of this practicality;
Fig. 9 B is the generalized section of new the 3rd embodiment of this practicality when bland;
Fig. 9 C is the partial enlarged drawing of Fig. 9 A;
Figure 10 A is packing ware and the container combination scheme drawing of new the 4th embodiment of this practicality;
Figure 10 B is the generalized section of new the 4th embodiment of this practicality when bland.
Label declaration
Packing ware 10 base plates 11,31
High end 11A end portion 11B
Fragile structure place 111,311 trunks 12,40
120,42 jars of mouths 121,43 of confined space
External screw thread 122,44 supports ring 123,45
Cover 124,46 sleeves 13,32
Jack 130 negative threads 131
Guard hoop 14 tear lines 141
Breach 142 draw rings 143
Container 20 bottlenecks 21
Screw part 22 prominent rings 23
Second sleeve 33
Spiro-locking section 41.
The specific embodiment
Below in conjunction with accompanying drawing and specific embodiment the utility model is done detailed explanation.
See also shown in Fig. 1, Fig. 2, Fig. 3, Fig. 4 A, Fig. 4 B and Fig. 4 C, an embodiment of a kind of beverage blends packing ware that the utility model discloses, the utility model packing ware 10 is that it includes with integrally moulded:
One base plate 11; Please cooperate Fig. 4 A sight, it is inclined to set, and relative high end 11A, the end portion 11B of tool; Make base plate 11 thickness by the gradually thickening of high end 11A towards end portion 11B; The bottom surface of base plate 11 then is provided with groove, makes this groove system form the fragile structure place 111 of base plate 11, and this fragile structure place 111 is laid in this base plate 11 relative thicker end portion 11B peripheries;
One by the trunk that upwards extends 12 around the base plate 11; Make this trunk 12 can and base plate 11 between define a confined space 120, make it to provide first kind of beverage or raw material to be stored, these trunk 12 apical margins more constriction pick out one and are communicated with the inside and outside jar of confined space 120 mouthfuls 121; This jar mouth 121 peripheries are provided with an external screw thread 122; More one support ring 123 in being equipped with of external screw thread 122 below ring-types, this external screw thread 122 is to provide the cover 124 can clickwises locking, inside and outside isolated confined space 120; And
One by the sleeve that extends downwards 13 around the base plate 11, and it is formed with a downward opening jack 130, and is provided with negative thread 131 in the wall of this jack 130; The pitch of this negative thread 131 and pitch diameter system are complementary with trunk 12 external screw threads 122; And can be locked on the screw part 22 of generic container 20 bottlenecks 21, make in 10 dextrorotations of packing ware then when moving down, can make bottleneck 21 relative urge base plate 11; Shown in Fig. 4 B; This base plate 11 can be torn by fragile structure place 111, and making this base plate 11 can be upwards lifting of fulcrum with high end 11A, in order to open confined space 120; Order first kind of beverage or raw material wherein can mix in the container 20, so that mix with existing second kind of beverage or the raw material of container 20.
After ware 10 inner first kind of beverage to be packed or raw material all flow into container 20; Can rotate counterclockwise packing ware 10, it separated, with container 20 bottlenecks 21 in order to the bland in the drinking container 20; When if this bland does not finish off; It can be incorporated into container 20 bottlenecks 21 with this cover 124 then with cover 124 by removing on the packing ware 10, so promptly can make things convenient for this container 20 of carry-on portable.
Learn that by above-mentioned structure and operation instructions the utility model has following technical characterictic at least:
1. the utility model packing ware 10 is bottleneck 21 combinations of and container 20 direct through the negative thread 131 of sleeve 13; The condition precedent that the preceding case of above-mentioned patent must be loaded into bottle cap is changed in this kind configuration; So just can reduce the assembling procedure of packing ware 10 and container 20; And when first and second kind beverage or raw material are mixed, need only can be easily for it by rotating packing ware 10, because the external diameter of this packing ware 10 system is far longer than bottle cap; So more labour-saving operation, and integrated operation can let the customer discern more easily.
2. the utility model packing ware 10 is with one-body molded manufacturing, and can simplify clutch structure, ring slotting tool, guide structure and the serial verb construction of case before the above-mentioned patent, be with, the utility model all has remarkable economic efficiency and promotes no matter on assembling or making.
Please referring to Fig. 5, Fig. 6 and Fig. 7, it is this novel second embodiment, this embodiment mainly tie up to sleeve 13 bottoms be equipped with one can make things convenient for us to discern guard hoop 14; This guard hoop 14 tops system is linked to sleeve 13 bottoms with tear line 141, and guard hoop 14 bottoms also are linked to bottleneck 21 prominent rings 23 with tear line, and radially is penetrated with a breach 142 in guard hoop 14; Stride with a draw ring 143 in addition and be located on the breach 142; Be with, need only see through the action that draw ring 143 is torn, promptly can related extraction guard hoop 14; So just, can discharge packing ware 10 and container 20; Be with, when guard hoop 14 is not torn, can represent that then this packing ware 10 and container 20 still are in the brand-new state of not opening.
Please referring to Fig. 8, Fig. 9 A, Fig. 9 B and Fig. 9 C, it is this novel the 3rd embodiment, and this embodiment explains that mainly base plate 11 is to be to be horizontally disposed with; The bottom surface of base plate 11 then is arranged with criss-cross groove; Make this groove system form the fragile structure place 111 of base plate 11, so that in 10 dextrorotations of packing ware then when moving down, this bottleneck 21 can urge base plate 11 relatively; Make base plate 11 tear by fragile structure place 111; This base plate 11 can upwards be lifted with what the crosswise groove broke, and in order to opening confined space 120, this first kind of beverage or raw material wherein can mix in the container 20; So that second kind beverage or the raw material existing with container 20 mix, being provided with of this fragile structure place 111 is and Fig. 4 A equivalence.
See also Figure 10 A and Figure 10 B, it is further to define this packing ware also can adopt the two-piece type composition, and it includes:
One base plate 31; It is to be inclined to set, and makes base plate 31 thickness by the gradually thickening of end portion towards high end, and the end face of base plate 31 then is provided with groove; Make this groove system form the fragile structure place 311 of base plate 31, this fragile structure place 311 is laid in this base plate 31 relative thicker high end peripheries;
One has the sleeve 32 of negative thread; It is by upwards extending around the base plate 31; Outwards reach second sleeve 33 that extended of downward reflexed in addition on these sleeve 32 tops; 33 in this second sleeve has the negative thread that can be locked on bottleneck 21 screw parts 22, with so that sleeve 32 can insert in the bottleneck 21 with base plate 31; And
One trunk 40, its bottom have the spiro-locking section 41 that can be combined in sleeve 32 negative threads, make this trunk 40 can and base plate 31 between define a confined space 42; Make it to provide first kind of beverage or raw material to be stored, and between trunk 40 and sleeve 32 tops, be provided with guard hoop shown in Figure 7 14, so that after tearing this guard hoop 14; This trunk 40 has the nargin of can dextrorotation then moving down; Make trunk 40 bottoms can urge base plate 31, shown in Figure 10 B, this base plate 31 can be torn by fragile structure place 311; Making this base plate 31 can be lifting downwards of fulcrum with the end portion; In order to opening confined space 42, order first kind of beverage or raw material wherein can mix in the container 20, so that mix with existing second kind of beverage or the raw material of container 20; Said trunk 40 apical margins more constriction pick out one and are communicated with the inside and outside jar of confined space 42 mouthfuls 43; This jar mouth 43 peripheries are provided with the external screw thread 44 that a pitch and pitch diameter and bottleneck 21 screw parts 22 are complementary; More one support ring 45 in being equipped with of external screw thread 44 below ring-types; This external screw thread 44 is to provide a cover 46 to lock by clickwise, inside and outside isolated confined space 42.
In sum, the utility model make, assembling and use all far beyond on take off patent before case have more comfort feature.The above is merely the preferred embodiment of the utility model, can not with its practical range of qualification, the equalization of promptly being done according to the utility model claim generally changes and modifies, and all should still belong in the scope that the utility model contains.

Claims (11)

1.一种饮料混合分装皿,其特征在于:包括有: 1. A beverage mixing and dispensing vessel, characterized in that: comprising: 一具有结构脆弱处的底板; - base plates with structural weaknesses; 一由底板四周的向上延设的胴体,该胴体能与底板之间界定一能提供第一种饮料或原料贮存的闭空间;以及 a carcass extending upwardly around the base plate, capable of defining a closed space with the base plate to provide storage of the first beverage or material; and 一由底板四周的向下延设的套筒,其形成有一开口朝下的插孔,并于插孔的壁面设有阴螺纹,该阴螺纹系能提供容器的瓶口螺合,在分装皿顺时针旋转而向下移动时,瓶口能迫压底板,令底板能由结构脆弱处破裂,用以使分装皿中的第一种饮料或原料能掺入容器中,而与容器既有的第二种饮料或原料进行混合。 A sleeve extended downwards from the bottom plate, which forms a socket with an opening facing downwards, and a female thread is provided on the wall of the socket. When the dish rotates clockwise and moves downward, the mouth of the bottle can press the bottom plate, so that the bottom plate can be broken from the structural weakness, so that the first beverage or raw material in the dispensing dish can be mixed into the container, and it is not the same as the container. There is a second drink or ingredient to mix. 2.如权利要求1所述的一种饮料混合分装皿,其特征在于:胴体顶缘颈缩接出有一连通密闭空间内外的罐口,罐口外周设有一阳螺纹,该阳螺纹系提供一罐盖能顺时针旋转锁紧,以隔绝密闭空间内外,套筒的阴螺纹节距及节径与该胴体阳螺纹相匹配。 2. A beverage mixing and dispensing container as claimed in claim 1, characterized in that: the neck of the top edge of the carcass is connected to a tank mouth connecting the inside and outside of the closed space, and a male thread is provided on the periphery of the tank mouth, and the male thread system provides A tank cover can be rotated clockwise and locked to isolate the inside and outside of the closed space, and the female thread pitch and pitch diameter of the sleeve match the male thread of the carcass. 3.如权利要求2所述的一种饮料混合分装皿,其特征在于:胴体于阳螺纹下方环状的突设有一抵环。 3. A beverage mixing and dispensing vessel as claimed in claim 2, characterized in that: the carcass is provided with an abutment ring protruding from the ring under the male thread. 4.如权利要求1或2所述的一种饮料混合分装皿,其特征在于:底板系呈倾斜设置,而具相对的高端部及低端部,底板厚度系由高端部朝低端部的逐渐加厚,而结构脆弱处系布设于该底板相对较厚的低端部周缘,在瓶口迫压底板,在底板由该结构脆弱处破裂时,令底板能以高端部为支点的向上掀动,开启密闭空间。 4. A beverage mixing and dispensing vessel as claimed in claim 1 or 2, characterized in that: the bottom plate is inclined and has opposite high end and low end, and the thickness of the bottom plate is from the high end to the low end gradually thickens, and the weak structure is arranged on the periphery of the relatively thick lower end of the bottom plate, pressing the bottom plate at the bottle mouth, and when the bottom plate breaks from the weak structure, the bottom plate can use the high end as the fulcrum to move upwards Tilt to open the confined space. 5.如权利要求1或2所述的一种饮料混合分装皿,其特征在于:底板系呈水平设置,而底板的底面对称设有十字状的凹槽,该凹槽系形成底板的结构脆弱处,在分装皿旋转而向下移动时,瓶口能迫压底板由结构脆弱处撕裂,使此底板能以十字状凹槽破裂的向上掀动,开启密闭空间。 5. A beverage mixing and dispensing vessel as claimed in claim 1 or 2, characterized in that: the bottom plate is arranged horizontally, and the bottom surface of the bottom plate is symmetrically provided with cross-shaped grooves, which form the structure of the bottom plate At the weak point, when the dispensing dish rotates and moves downward, the mouth of the bottle can force the bottom plate to be torn from the weak point of the structure, so that the bottom plate can be tilted upward with a broken cross-shaped groove to open the closed space. 6.如权利要求1或2所述的一种饮料混合分装皿,其特征在于:套筒底端另接设有一保险环。 6. A beverage mixing and dispensing vessel according to claim 1 or 2, characterized in that: a safety ring is additionally connected to the bottom end of the sleeve. 7.如权利要求6所述的一种饮料混合分装皿,其特征在于: 7. A beverage mixing dispensing vessel as claimed in claim 6, characterized in that: 保险环顶端系以撕裂线连结于套筒底端,而保险环底端亦以撕裂线连结于瓶口,且于保险环径向贯穿有一缺口,另以一拉环跨设于缺口。 The top of the safety ring is connected to the bottom of the sleeve by a tear line, and the bottom of the safety ring is also connected to the mouth of the bottle by a tear line, and there is a gap in the radial direction of the safety ring, and a pull ring is placed across the gap. 8.一种饮料混合分装皿,其特征在于:包括有; 8. A beverage mixing and dispensing container, characterized in that: it includes; 一具有结构脆弱处的底板; - base plates with structural weaknesses; 一具有阴螺纹的套筒,其系由底板四周的向上延设,另在该套筒顶端向外及向下反折的延设有第二套筒,该第二套筒具有能锁合于瓶口螺合部的阴螺纹;以及 A sleeve with a female thread is extended upwards from the periphery of the bottom plate, and a second sleeve is extended outwards and downwards on the top of the sleeve. The second sleeve has a function that can be locked on the the female thread of the screw-on portion of the bottle finish; and 一胴体,其底部具有能组合于套筒阴螺纹的螺锁部,令该胴体能与底板之间界定一能提供第一种饮料或原料贮存的密闭空间,且令该胴体在顺时针旋转时能向下迫压底板,让该底板能由结构脆弱处撕裂,开启密闭空间,令其中的第一种饮料或原料能掺入容器中,以便与容器既有的第二种饮料或原料进行混合。 A carcass, the bottom of which has a screw lock part that can be combined with the female thread of the sleeve, so that a closed space that can provide the storage of the first beverage or raw material can be defined between the carcass and the bottom plate, and when the carcass rotates clockwise The bottom plate can be pressed down, so that the bottom plate can be torn from the structural weakness, and the closed space can be opened, so that the first beverage or raw material can be mixed into the container, so that it can be mixed with the second beverage or raw material in the container. mix. 9.如权利要求8所述的一种饮料混合分装皿,其特征在于:在胴体与套筒顶端之间设有一保险环,令该保险环在撕开后,该胴体具有能顺时针旋转而向下移动的裕度。 9. A beverage mixing and dispensing vessel as claimed in claim 8, characterized in that: a safety ring is provided between the body and the top end of the sleeve, so that the body can rotate clockwise after the safety ring is torn apart. And the margin to move down. 10.如权利要求8所述的一种饮料混合分装皿,其特征在于:底板系呈倾斜设置,令底板厚度系由低端部朝高端部的逐渐加厚,而底板的顶面设有凹槽,使该凹槽系形成底板的结构脆弱处,结构脆弱处系布设于该底板相对较厚的高端部周缘,在胴体顺时针旋转而向下移动时,令胴体底端能迫压底板,让该底板能由结构脆弱处撕裂,使此底板能以低端部为支点的向下掀动,开启密闭空间。 10. A beverage mixing and dispensing vessel as claimed in claim 8, characterized in that: the bottom plate is inclined so that the thickness of the bottom plate is gradually thickened from the low end to the high end, and the top surface of the bottom plate is provided with Grooves, so that the grooves form the structurally weak part of the bottom plate, which is arranged around the relatively thicker high end of the bottom plate, so that the bottom of the carcass can press the bottom plate when the carcass rotates clockwise and moves downward , so that the base plate can be torn from the weak structure, so that the base plate can be tilted downward with the lower end as the fulcrum to open the closed space. 11.如权利要求8所述的一种饮料混合分装皿,其特征在于:胴体顶缘颈缩接出有一连通密闭空间内外的罐口,罐口外周设有一节距及节径与瓶口螺合部相匹配的阳螺纹,该阳螺纹系提供一罐盖能顺时针旋转锁紧,以隔绝密闭空间内外。 11. A beverage mixing and dispensing vessel as claimed in claim 8, characterized in that: the top edge of the carcass is constricted and connected to a can mouth connecting the inside and outside of the closed space, and the outer circumference of the can mouth is provided with a pitch and a pitch that is in line with that of the bottle. The male thread that matches the mouth screw joint provides a can lid that can be rotated clockwise and locked to isolate the inside and outside of the closed space.
CN2011204640583U 2011-11-21 2011-11-21 beverage mixing container Expired - Fee Related CN202346189U (en)

Priority Applications (1)

Application Number Priority Date Filing Date Title
CN2011204640583U CN202346189U (en) 2011-11-21 2011-11-21 beverage mixing container

Applications Claiming Priority (1)

Application Number Priority Date Filing Date Title
CN2011204640583U CN202346189U (en) 2011-11-21 2011-11-21 beverage mixing container

Publications (1)

Publication Number Publication Date
CN202346189U true CN202346189U (en) 2012-07-25

Family

ID=46535210

Family Applications (1)

Application Number Title Priority Date Filing Date
CN2011204640583U Expired - Fee Related CN202346189U (en) 2011-11-21 2011-11-21 beverage mixing container

Country Status (1)

Country Link
CN (1) CN202346189U (en)

Cited By (6)

* Cited by examiner, † Cited by third party
Publication number Priority date Publication date Assignee Title
CN102774572A (en) * 2012-07-26 2012-11-14 王宝根 Refrigeration beverage bottle containing nutritious beverages internally
CN104787486A (en) * 2015-03-08 2015-07-22 刘沛灵 Water material separating, split charging and independent using mixing beverage bottle
CN106966019A (en) * 2017-05-02 2017-07-21 罗福云 A double-chamber container
CN109229828A (en) * 2018-10-10 2019-01-18 广州合立信息科技有限公司 A kind of beverage in situ bottle and its bottle cap
CN112110003A (en) * 2019-12-12 2020-12-22 张自武 Spiral opening preparation bottle
CN112110004A (en) * 2019-12-12 2020-12-22 张自武 Squeezing opening preparation bottle

Cited By (7)

* Cited by examiner, † Cited by third party
Publication number Priority date Publication date Assignee Title
CN102774572A (en) * 2012-07-26 2012-11-14 王宝根 Refrigeration beverage bottle containing nutritious beverages internally
CN104787486A (en) * 2015-03-08 2015-07-22 刘沛灵 Water material separating, split charging and independent using mixing beverage bottle
CN106966019A (en) * 2017-05-02 2017-07-21 罗福云 A double-chamber container
CN106966019B (en) * 2017-05-02 2018-05-18 罗福云 Two-chamber holds material bottle
CN109229828A (en) * 2018-10-10 2019-01-18 广州合立信息科技有限公司 A kind of beverage in situ bottle and its bottle cap
CN112110003A (en) * 2019-12-12 2020-12-22 张自武 Spiral opening preparation bottle
CN112110004A (en) * 2019-12-12 2020-12-22 张自武 Squeezing opening preparation bottle

Similar Documents

Publication Publication Date Title
CN202346189U (en) beverage mixing container
CN201647324U (en) Beverage bottle cap group
CN202944676U (en) Clamping type separated-petal bottle lid and container with the same
CN206665272U (en) Top-opening type combined bottle cap
CN209321588U (en) A kind of beverage bottle cap
CN201472809U (en) A wine bottle cap
CN102687971B (en) Cover
WO2013067494A1 (en) Bottle including a hollow removable closure
CN201071154Y (en) Explosion-breaking type anti-fake wine bottle cap
CN103950651A (en) Drinking water vessel
CN2595701Y (en) Adjustable wine storage bottle stopper
CN201592822U (en) Burglary-prevention safety cover of glass milk bottle
CN200992343Y (en) Novel smart cover and its opener
CN205132018U (en) Two theftproof beverage bottle lids
CN201580659U (en) Container lid and container
CN103144839B (en) Simple clamping type bottle cap
CN201472806U (en) Bottle-destroying anti-counterfeiting plastic bottle cap
CN207001193U (en) A kind of both hands drop handle confidential letter type packaging bag
CN205150604U (en) Bottle cap
CN201280270Y (en) Plastic combined bottle cap
CN201214519Y (en) All-plastic four-piece twist-off type anti-fake bottle cap
CN205952652U (en) Bottle that opens and shuts convenient bottle lid and have this bottle lid
CN205269693U (en) Wide -neck bottle lid convenient to open
CN206202872U (en) Paint kettle
CN202072095U (en) Exhaust cover used at highlands

Legal Events

Date Code Title Description
C14 Grant of patent or utility model
GR01 Patent grant
CF01 Termination of patent right due to non-payment of annual fee
CF01 Termination of patent right due to non-payment of annual fee

Granted publication date: 20120725

Termination date: 20171121