CN202342426U - Massage chair with palm massage device - Google Patents

Massage chair with palm massage device Download PDF

Info

Publication number
CN202342426U
CN202342426U CN2011204362766U CN201120436276U CN202342426U CN 202342426 U CN202342426 U CN 202342426U CN 2011204362766 U CN2011204362766 U CN 2011204362766U CN 201120436276 U CN201120436276 U CN 201120436276U CN 202342426 U CN202342426 U CN 202342426U
Authority
CN
China
Prior art keywords
massage
palm
chair
sliding part
track
Prior art date
Legal status (The legal status is an assumption and is not a legal conclusion. Google has not performed a legal analysis and makes no representation as to the accuracy of the status listed.)
Expired - Fee Related
Application number
CN2011204362766U
Other languages
Chinese (zh)
Inventor
陶自华
Current Assignee (The listed assignees may be inaccurate. Google has not performed a legal analysis and makes no representation or warranty as to the accuracy of the list.)
Qitai Health Equipment Co ltd
Original Assignee
Qitai Health Equipment Co ltd
Priority date (The priority date is an assumption and is not a legal conclusion. Google has not performed a legal analysis and makes no representation as to the accuracy of the date listed.)
Filing date
Publication date
Application filed by Qitai Health Equipment Co ltd filed Critical Qitai Health Equipment Co ltd
Priority to CN2011204362766U priority Critical patent/CN202342426U/en
Application granted granted Critical
Publication of CN202342426U publication Critical patent/CN202342426U/en
Anticipated expiration legal-status Critical
Expired - Fee Related legal-status Critical Current

Links

Images

Landscapes

  • Massaging Devices (AREA)

Abstract

The utility model discloses a massage chair with palm massage device, which comprises a supporting unit, a chair seat, a chair back and at least one hand massage unit. The supporting unit is supported on the ground and provided with two armrests, the chair seat is arranged on the supporting unit, the chair back is supported on one side of the chair seat and is pivoted with the supporting unit, and the hand massage unit is independently arranged on one of the two armrests in a sliding manner. The hand massage unit is used for massaging peripheral nerve parts of palms, fingers and the like of human bodies, and the hand massage unit is independently used for sliding on the handrail, so that the palm massage universal function can be provided for users with different body sizes, the limitation caused by the length or the shape of the arms is avoided, and the comfort level and the convenience in massage are improved.

Description

具有手掌按摩装置的按摩椅Massage chair with palm massage device

技术领域 technical field

本实用新型是有关于一种按摩装置,特别是指一种具有手掌按摩装置的按摩椅。 The utility model relates to a massage device, in particular to a massage chair with a palm massage device.

背景技术 Background technique

现代人生活忙碌、工作压力繁重,按摩器具的产生即是为了方便人们于忙碌的生活中舒解压力及活络筋骨。对于长时间坐着工作或是学习的人来说,按摩椅确实能对人体按摩促进血液循环,达到日常保健之效。随着科技进步,现有的按摩椅已能针对人体背部与腿部进行有效的舒适按摩,但市面上却鲜有针对手部按摩功能的机种出现,因此便有业者开发设计出下列具有腕部按摩功能的按摩椅。 Modern people are busy in life and work under heavy pressure. Massage appliances are created to facilitate people to relieve stress and activate muscles and bones in their busy lives. For people who sit and work or study for a long time, the massage chair can indeed massage the human body to promote blood circulation and achieve the effect of daily health care. With the advancement of science and technology, the existing massage chairs can provide effective and comfortable massages for the back and legs of the human body, but there are few models on the market for hand massage functions. A massage chair with internal massage function.

参阅图1,为中国台湾第I278310号「椅子式按摩机」实用新型专利,其揭露一种椅子1,该椅子1的主体由靠背11、座面12、扶手13与脚支座15所构成,而于扶手13的上方隔有间隔设有与扶手13顶面相对的按摩壁131,手或腕部可以放入扶手13顶面与按摩壁131底面的空间。 Referring to Fig. 1, it is the utility model patent of "chair type massage machine" No. I278310 in Taiwan of China, which discloses a chair 1 whose main body is composed of a backrest 11, a seat surface 12, an armrest 13 and a foot support 15, And at the top of handrail 13, there is a massage wall 131 opposite to the top surface of handrail 13 at intervals, and hands or wrists can be put into the space between the top surface of handrail 13 and the bottom surface of massage wall 131.

在该椅子式按摩机中,按摩壁131固定设置于该扶手13上方,在扶手13顶面设有空气袋132,且按摩壁131的底面亦设有二处空气袋132。该多个空气袋132可膨胀及收缩。当使用者坐在椅子1的座面12上时,只需将手或腕部放入扶手13的顶面与按摩壁131之间,再使该多个空气袋132膨胀及收缩,便可对人手腕部施行按摩。 In the chair-type massage machine, the massage wall 131 is fixed above the armrest 13 , an air bag 132 is arranged on the top surface of the armrest 13 , and two air bags 132 are also arranged on the bottom surface of the massage wall 131 . The plurality of air pockets 132 can expand and contract. When the user sits on the seat surface 12 of the chair 1, he only needs to put his hands or wrists between the top surface of the armrest 13 and the massage wall 131, and then expand and contract the plurality of air bags 132, so as to A massage is performed on the human wrist.

参阅图2、3,中国台湾第M394742号新型专利案揭露另一种「按摩椅」,该按摩椅2包含一支撑结构21、一椅面22、一椅背23、一手部按摩器24及一挡止器25。该按摩椅2的椅面22供人体臀部坐着,且位于支撑结构21上,该椅背23供人体背部靠着,且立于椅面20的一侧,并枢接该支撑结构21。该手部按摩器23毗邻椅面22设置供人体手部放置。该挡止器25连接椅背23,用以抵住手部按摩器24。该挡止器25呈轮状,并位于该椅背23毗邻手部按摩器24的侧面,挡止器25以滚动方式与手部按摩器24相抵。借此,使用者无需移动身体,背部随着椅背23及手部随着手部按摩器24做同步移动,让腕部与背部持续享受按摩。 Referring to Fig. 2, 3, the No. M394742 new patent case of Taiwan of China discloses another kind of " massage chair ", and this massage chair 2 comprises a supporting structure 21, a chair surface 22, a chair back 23, a hand massager 24 and a Stopper 25. The chair surface 22 of the massage chair 2 is for the human buttocks to sit on, and is located on the supporting structure 21 . The hand massager 23 is arranged adjacent to the chair surface 22 for human hands to be placed. The stopper 25 is connected to the chair back 23 for resisting the hand massager 24 . The stopper 25 is wheel-shaped, and is located on the side of the chair back 23 adjacent to the hand massager 24 , and the stopper 25 abuts against the hand massager 24 in a rolling manner. In this way, the user does not need to move the body, and the back moves synchronously with the chair back 23 and the hands with the hand massager 24, so that the wrist and back can continue to enjoy the massage.

由上述说明可知,不论是实用新型第I278310号「椅子式按摩机」或是新型第M394742号「按摩椅」,皆可在现有的按摩椅上提供手部按摩的机构与功能。由于手掌、手指部位是属于人体末梢神经部位,针对末梢神经按摩通常能给予较佳的舒气活血功效。然而,上述两种按摩机构并无专门针对手掌、手指部位进行按摩的功效,难以提供全面性的舒适按摩。 It can be seen from the above description that whether it is the utility model No. I278310 "chair massage machine" or the new model No. M394742 "massage chair", the mechanism and function of hand massage can be provided on the existing massage chair. Since the palms and fingers belong to the peripheral nerve parts of the human body, massage for the peripheral nerves can usually give a better effect of relaxing Qi and promoting blood circulation. However, the above two massage mechanisms do not have the effect of massaging the palms and fingers specifically, so it is difficult to provide a comprehensive and comfortable massage.

再者,新型第M394742号「按摩椅」虽然提供了椅背23及手部按摩器24同步移动的功效,但是每个使用者的身型大小不一,有的人手臂长有的人手臂较短,当体型较大或是体型较小的使用者使用时,椅背23及手部按摩器24(即扶手)同步移动反而造成困扰,对于手臂较长者,该手部按摩器24可能按摩不到正确的位置,甚而导致按摩不适或按摩伤害,对于手臂较短者,由于椅背23倾斜可能导致人手腕部无法接触到该手部按摩器24而使按摩失效,或是勉强伸直手臂接受按摩,而使坐姿不适,失去按摩的乐趣。 Furthermore, although the new No. M394742 "massage chair" provides the effect that the chair back 23 and the hand massager 24 move synchronously, each user's body size is different, and some people have longer arms and some have shorter arms. Short, when the build is bigger or the user that build is smaller, the chair back 23 and the hand massager 24 (being armrest) move synchronously and cause trouble instead, for the person with longer arm, this hand massager 24 may massage If it is not in the correct position, it may even lead to massage discomfort or massage injury. For those with short arms, the inclination of the chair back 23 may cause people's wrists to fail to touch the hand massager 24 and make the massage ineffective, or barely straighten the arm If you receive a massage, your sitting posture will be uncomfortable and you will lose the joy of massage.

实用新型内容 Utility model content

本实用新型要解决的技术问题是:如何改善现有按摩椅,使手掌按摩的功能能适用于按摩椅上,且针对身型大小不一的使用者,提供手掌按摩的泛用性,增加按摩椅按摩时的舒适度、方便性与全面性。 The technical problem to be solved by the utility model is: how to improve the existing massage chair, so that the function of palm massage can be applied to the massage chair, and for users with different body sizes, it can provide the versatility of palm massage and increase the massage quality. The comfort, convenience and comprehensiveness of chair massage.

为了解决上述技术问题,本实用新型提供了一种具有手掌按摩装置的按摩椅,并包含一支撑单元、一椅面、一椅背,及至少一手部按摩单元。 In order to solve the above technical problems, the utility model provides a massage chair with a palm massage device, which includes a support unit, a chair surface, a chair back, and at least one hand massage unit.

该支撑单元撑立于地面上并具有二扶手,该椅面设置于该支撑单元上,该椅背立于该椅面的一侧,并与该支撑单元枢接,该手部按摩单元是独立滑动地设置于该二扶手其中之一上。 The support unit stands on the ground and has two armrests. The chair surface is arranged on the support unit. The chair back stands on one side of the chair surface and is pivotally connected with the support unit. The hand massage unit is independent Slidingly arranged on one of the two armrests.

其中,该手部按摩单元具有一按摩部与一滑动部,该滑动部设置于该扶手上,该按摩部则是设置于该滑动部上并具有一中空壳体,及多个可分离地设置于该壳体中且外部与手掌接触面形成有多个凸粒的气囊袋。 Wherein, the hand massage unit has a massage part and a sliding part, the sliding part is arranged on the armrest, the massage part is arranged on the sliding part and has a hollow shell, and a plurality of detachable The air bag is arranged in the casing and has a plurality of bumps formed on the outer surface in contact with the palm.

进一步地,该按摩部更具有一分离地设置于该中空壳体中的滚轮组,该滚轮组具有二间隔设置且表面具有多个滑动按摩粒的滚轮。 Further, the massage part further has a roller set separately arranged in the hollow casing, and the roller set has two rollers arranged at intervals and having a plurality of sliding massage particles on the surface.

优选地,该气囊袋上更贴附有一电热片,当通电时可以提供手掌接触温热。 Preferably, an electric heating sheet is further attached to the airbag bag, which can provide palm contact warmth when electrified.

更优选地,该气囊袋是以软质纤维所包覆,而该纤维添加有可释放远红外线的材质。 More preferably, the airbag bag is covered with soft fibers, and the fibers are added with materials capable of releasing far infrared rays.

其中,该滑动部具有一固设于该扶手上的轨道、一与该轨道枢接的底盘,及一设置于该底盘上的基座。 Wherein, the sliding part has a track fixed on the armrest, a chassis pivotally connected with the track, and a base set on the chassis.

进一步地,该底盘上具有多个与该轨道嵌合的滚动件、提供该多个滚动件滚动动力的电源转动件及一设置于该基座上控制该电源件启动的控制开关。 Further, the chassis has a plurality of rolling elements fitted with the track, a power rotating element providing the rolling power of the rolling elements, and a control switch arranged on the base to control the power supply element to start.

进一步地,该轨道上间隔设置有多个固定孔,底盘上具有多个与该轨道嵌合的滚动件,及一设置于该基座上并可受控制地插入该固定孔中的干涉件。 Further, a plurality of fixing holes are arranged at intervals on the track, and the chassis has a plurality of rolling elements fitted with the track, and an interference element arranged on the base and inserting into the fixing holes in a controlled manner.

其中,该滑动部具有一设置于该扶手中的驱动马达、一受该驱动马达带动旋转而呈直线运动的螺杆及一设置于该螺杆上的基座。 Wherein, the sliding part has a driving motor arranged in the armrest, a screw driven by the driving motor to rotate and linearly move, and a base arranged on the screw.

其中,该滑动部中的轨道与底盘是呈鸠尾槽的卡接状。 Wherein, the track in the sliding part and the chassis are in the shape of a dovetail groove.

本实用新型的功效在于借由该手部按摩单元可以提供人体手掌、手指等末梢神经部位的按摩,给予较一般按摩椅更佳的舒气活血功效,且利用该手部按摩单元可独立滑动地于该扶手上滑动,因此可以针对身型大小不一的使用者,提供手掌按摩的泛用性,不因手臂长短或身形大小而限制,增加了按摩椅按摩时的舒适度、方便性与全面性。 The effect of the utility model is that the hand massage unit can provide massage on the peripheral nerve parts such as the palm and fingers of the human body, giving better effect of relaxing Qi and promoting blood circulation than ordinary massage chairs, and the hand massage unit can be independently slid on The armrest slides, so it can provide the versatility of palm massage for users of different sizes, without being limited by the length of the arms or the size of the body, which increases the comfort, convenience and comprehensiveness of massage chair massage. sex.

附图说明 Description of drawings

图1是一侧视示意图,说明现有中国台湾实用新型第I278310号「椅子式按摩机」各部结构; Fig. 1 is a schematic diagram of a side view, illustrating the structure of each part of the existing Taiwan Utility Model No. I278310 "chair type massage machine";

图2是一侧视示意图,说明现有中国台湾新型第M394742号「按摩椅」各部结构; Fig. 2 is a schematic diagram of a side view, illustrating the structure of each part of the existing Taiwan No. M394742 "massage chair";

图3一侧视示意图,说明现有中国台湾新型第M394742号「按摩椅」的一椅背倾斜时的态样; Fig. 3 is a schematic diagram of a side view, illustrating the appearance of a chair back of the existing Taiwan No. M394742 "massage chair" when it is tilted;

图4是本实用新型具有手掌按摩装置的按摩椅的第一较佳实施例的侧视示意图; Fig. 4 is a schematic side view of the first preferred embodiment of the massage chair with the palm massage device of the present invention;

图5是一局部剖面示意图,说明该第一较佳实施例中一气囊袋的实施态样; Fig. 5 is a schematic partial sectional view illustrating the implementation of an air bag in the first preferred embodiment;

图6是一立体示意图,说明该第一较佳实施例中一滚轮组的组成态样; Fig. 6 is a three-dimensional schematic diagram illustrating the composition of a roller set in the first preferred embodiment;

图7是一立体示意图,说明该第一较佳实施例中该滚轮组与该气囊带位于一中空壳体的实施态样; Fig. 7 is a schematic perspective view illustrating the implementation of the first preferred embodiment in which the roller set and the airbag belt are located in a hollow casing;

图8是一立体示意图,说明该第一较佳实施例中一滑动部的实施态样; Fig. 8 is a schematic perspective view illustrating the implementation of a sliding part in the first preferred embodiment;

图9是一立体示意图,说明本实用新型第二较佳实施例中该滑动部的实施态样; Fig. 9 is a schematic perspective view illustrating the implementation of the sliding part in the second preferred embodiment of the present invention;

图10是一侧视示意图,说明本实用新型第三较佳实施例中该滑动部的实施态样;  Fig. 10 is a schematic side view illustrating the implementation of the sliding part in the third preferred embodiment of the present invention;

图11是一局部剖面示意图,说明本实用新型第四较佳实施例中该滑动部的实施态样;及 Fig. 11 is a partial cross-sectional schematic diagram illustrating the implementation of the sliding part in the fourth preferred embodiment of the present invention; and

图12是一局部俯视示意图,说明本实用新型第五较佳实施例中该滑动部的实施态样。 Fig. 12 is a schematic partial top view illustrating the implementation of the sliding part in the fifth preferred embodiment of the present invention.

【主要元件符号说明】 [Description of main component symbols]

1、椅子; 1. Chair;

11、靠背; 11. Backrest;

12、座面; 12. Seat surface;

13、扶手; 13. Handrails;

131、按摩壁; 131. Massage wall;

132、空气袋; 132. Air bag;

15、脚支座; 15. Foot support;

2、按摩椅; 2. Massage chair;

21、支撑结构; 21. Support structure;

22、椅面; 22. Chair surface;

23、椅背; 23. Chair back;

24、手部按摩器; 24. Hand massager;

25、挡止器; 25. Stopper;

3、支撑单元; 3. Support unit;

31、扶手; 31. Handrails;

4、椅面; 4. Chair surface;

5、椅背; 5. Chair back;

6、手部按摩单元; 6. Hand massage unit;

61、按摩部; 61. Massage Department;

611、中空壳体; 611. Hollow shell;

612、气囊袋; 612. Airbag bag;

613、凸粒; 613: convex grain;

614、电热片; 614. Electric heater;

615、滚轮组; 615, roller group;

616、滚轮; 616, roller;

617、滑动按摩粒; 617. Sliding massage grains;

62、滑动部; 62. Sliding part;

6210、驱动马达; 6210, drive motor;

6211、螺杆; 6211, screw;

621、轨道; 621: track;

622、底盘; 622, chassis;

623、基座; 623: base;

624、滚动件; 624, rolling parts;

625、电源件; 625. Power supply;

626、控制开关; 626. Control switch;

627、固定孔; 627, fixing hole;

628、干涉件; 628. Interference parts;

7、空气供给装置; 7. Air supply device;

71、管路。 71. Pipeline.

具体实施方式 Detailed ways

下面结合附图和具体实施例对本实用新型作进一步说明,以使本领域的技术人员可以更好的理解本实用新型并能予以实施,但所举实施例不作为对本实用新型的限定。 The utility model will be further described below in conjunction with the accompanying drawings and specific embodiments, so that those skilled in the art can better understand the utility model and implement it, but the examples given are not intended to limit the utility model.

第一较佳实施例first preferred embodiment

参阅图4、5,为本实用新型具有手掌按摩装置的按摩椅的第一较佳实施例,其包含:一支撑单元3、一椅面4、一椅背5,以及二手部按摩单元6。 Referring to Figures 4 and 5, it is a first preferred embodiment of a massage chair with a palm massage device of the present invention, which includes: a support unit 3, a chair surface 4, a chair back 5, and a second hand massage unit 6.

该支撑单元3撑立于地面上并具有二可供人手置放的扶手31,该椅面4设置于该支撑单元3上,可供人体臀部坐置,该椅背5立于该椅面4的一侧并与该支撑单元3枢接,用以供该人体背部靠置,该二手部按摩单元6分别设置于该二扶手31上供人体手掌置入,并可独立地相对该扶手31滑动。 The support unit 3 is supported on the ground and has two armrests 31 that can be placed by human hands. The chair surface 4 is arranged on the support unit 3 and can be used for human buttocks to sit on. The chair back 5 stands on the chair surface 4 One side of the support unit 3 is pivotally connected to the back of the human body, and the second hand massage unit 6 is respectively arranged on the two armrests 31 for the palms of the human body to be inserted, and can slide independently relative to the armrests 31 .

在该第一较佳实施例中,该手部按摩单元6具有一按摩部61与一滑动部62,该滑动部62设置于该扶手31上而可相对该扶手31滑动,该按摩部61则设置于该滑动部62上并具有一中空壳体611,及多个可分离地设置于该中空壳体611中的气囊袋612。 In the first preferred embodiment, the hand massage unit 6 has a massage part 61 and a sliding part 62, the sliding part 62 is arranged on the armrest 31 and can slide relative to the armrest 31, and the massage part 61 It is arranged on the sliding part 62 and has a hollow shell 611 , and a plurality of airbags 612 detachably arranged in the hollow shell 611 .

该气囊袋612是从一压缩空气供给装置7将空气经过一管路71供给予该气囊袋612,使该气囊袋612膨胀及收缩以对人体手掌、手指施行按摩。同时,通过对不同的气囊袋612施以相异的充气与泄气速率,借以模仿拟真的人手在对使用者的手部进行按摩。 The air bag 612 is supplied with air from a compressed air supply device 7 through a pipeline 71 to the air bag 612, so that the air bag 612 expands and contracts to massage the palm and fingers of the human body. At the same time, by applying different inflation and deflation rates to different airbags 612 , the user's hand is massaged by simulating a realistic human hand.

值得一提的是,该气囊袋612外部与人体手掌接触面形成有多个凸粒613,可以加强对人体末梢神经的刺激,且该气囊袋612上更贴附有一电热片614,当通电时可以提供手掌接触温热的感受。 It is worth mentioning that there are a plurality of bumps 613 formed on the surface of the airbag 612 in contact with the palm of the human body, which can strengthen the stimulation of the peripheral nerves of the human body, and the airbag 612 is further attached with an electric heater 614, which can Provides a warm feeling of palm contact.

实际实施时,该气囊袋612的数量是4个,其中两个气囊袋612是位于该中空壳体611的顶部,提供对手掌背部的按摩,另外两个气囊袋612则位于该中空壳体611的底部其上形成有多个凸粒613,可提供对手掌手心的按摩,该气囊袋612设置的愈多,愈可以提供拟真的人手在对使用者的手掌进行按摩感受,当然,其实施数量也可以是更多个,不应以此为限。 In actual implementation, the number of the airbags 612 is four, two of which are located on the top of the hollow shell 611 to provide massage to the back of the palm, and the other two airbags 612 are located in the hollow shell The bottom of the body 611 is formed with a plurality of convex grains 613, which can provide massage to the palm of the hand. The more airbags 612 are provided, the more realistic the feeling of human hands massaging the user's palm can be provided. Of course, The number of implementations can also be more, and should not be limited thereto.

在该第一较佳实施例中,该电热片614上还包覆有一层软质纤维层,用以隔离电热片614与人手直接接触,而该纤维添加有可释放远红外线粉末的材质。通过上述结构设计,可在天冷的季节里提供人体手掌健康、温暖且舒适的按摩享受。 In the first preferred embodiment, the electric heater 614 is covered with a soft fiber layer to isolate the electric heater 614 from direct contact with human hands, and the fiber is added with a material capable of releasing far-infrared powder. Through the above structural design, it can provide healthy, warm and comfortable massage enjoyment of human palms in cold seasons.

远红外线是一种光波波长,经学者专家测定大致可分为0.76~4μm(微米)是近红外线,4~400μm(微米)是远红外线。经日本多位医学博士临床实验生化远红外线与人体波长8-12微米相近,容易与人体产生共鸣,并可深达肌肤骨髓2-4公分,具温热、按摩、促进血液循环,及活化细胞等功能,是动植物不可或缺的光线。 Far-infrared rays are a kind of light wavelength, which can be roughly divided into 0.76~4μm (micrometer) as near-infrared rays and 4~400μm (micrometers) as far-infrared rays according to the determination of scholars and experts. Biochemical far-infrared rays are similar to the human body wavelength of 8-12 microns through clinical experiments by many doctors in Japan. It is an indispensable light for animals and plants.

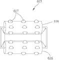
配合参阅图6、7,本实用新型的按摩部61更具有一可分离地设置于该中空壳体611中的滚轮组615,该滚轮组615具有二间隔设置且表面具有多个滑动按摩粒617的滚轮616。每一滚轮616都可受控制地自动以顺时针方向或逆时针方向转动,当人体手掌置入该中空壳体611中时,该滚轮组615可受控制开始转动,位于该滚轮616上的多个滑动按摩粒617会给手掌带来按摩效果,又因为该多个滑动按摩粒617是可相对于该滚轮616转动,所以不会因为手掌与该二滚轮616接触的摩擦力过大,导致转动的机件容易损坏。 Referring to Figures 6 and 7, the massage part 61 of the present utility model further has a roller set 615 detachably arranged in the hollow housing 611. The roller set 615 has two intervals and has a plurality of sliding massage particles on the surface. 617 of rollers 616 . Each roller 616 can be controlled to automatically rotate clockwise or counterclockwise. When the palm of the human body is placed in the hollow shell 611, the roller group 615 can be controlled to start rotating. A plurality of sliding massage grains 617 can bring massage effect to the palm, and because the plurality of sliding massage grains 617 can rotate relative to the roller 616, so the friction force between the palm and the two rollers 616 will not be too large, resulting in Rotating parts are easily damaged.

实际实施时,是先将位于该中空壳体611的底部的气囊袋612移除,再置入该滚轮组615于该中空壳体611,该第一较佳实施例的滚轮组615具有二滚轮616,当然,其实施数量也可以是更多个,不应以此为限。 In actual implementation, the air bag 612 located at the bottom of the hollow housing 611 is removed first, and then the roller set 615 is placed in the hollow housing 611. The roller set 615 of the first preferred embodiment has Two rollers 616, certainly, its implementation quantity also can be more, should not be limited to this.

在此,应注意的是,该滚轮616内部分别设有一内部马达(图未示),带动其以枢接滚轮616轴心的方式滚动,当然也可以是以一连结元件(例如:履带,图未示)连结该二滚轮616,同时该连结元件(图未示)经由一外部马达(图未示)带动而驱动该等滚轮616以枢接轴心的方式滚动。由于该滚轮616转动的方式很多,故于此不再一一赘述。 Here, it should be noted that an internal motor (not shown) is respectively provided inside the rollers 616 to drive them to roll in a manner pivotally connected to the axis of the rollers 616. (not shown) connects the two rollers 616, and at the same time, the connecting element (not shown) is driven by an external motor (not shown) to drive the rollers 616 to roll in a pivoted manner. Since the roller 616 can rotate in many ways, details will not be repeated here.

参阅图4、5、8,在该第一较佳实施例中,该滑动部62包括一固设于该扶手31上并据有预定行程的轨道621、一与该轨道621枢接的底盘622,及一设置于该底盘622上的基座623。该底盘622上具有多个与该轨道621嵌合的滚动件624、一提供该多个滚动件624滚动时所需动力的电源转动件625,及一设置于该基座623上用以控制该电源件625启动与否的控制开关626。 4, 5, 8, in the first preferred embodiment, the sliding part 62 includes a rail 621 fixed on the armrest 31 and having a predetermined stroke, a chassis 622 pivotally connected to the rail 621 , and a base 623 disposed on the chassis 622 . The chassis 622 has a plurality of rolling elements 624 that fit into the track 621, a power supply rotating element 625 that provides the power required for rolling the plurality of rolling elements 624, and a power rotating element 625 that is arranged on the base 623 to control the The control switch 626 for whether the power supply 625 is activated or not.

通过该控制开关626可以控制该多个滚动件624进行前后方向的滚动,借以调整该滑动部62位于该扶手31上的位置,可以针对身型大小不一的使用者,提供在按摩椅上进行手掌按摩的泛用性,不因手臂长短或身形大小而受限制。 Through the control switch 626, the plurality of rolling elements 624 can be controlled to roll in the front and rear directions, so as to adjust the position of the sliding part 62 on the armrest 31, which can be provided on the massage chair for users of different sizes. The versatility of palm massage is not limited by arm length or body size.

当手臂较短的使用者坐上该椅面4并且背部靠着该椅背5时,只要调整该滑动部62位于该扶手31上的位置,即可不受该椅背5的倾斜角度而使手掌无法伸置入该中空壳体611内进行按摩,相对地,当手臂较长的使用者坐上该椅面4并且背部靠着该椅背5时,只要调整该滑动部62位于该扶手31上的位置,可以在手臂放置最舒适的位置进行手掌按摩,确实可以增加按摩时的舒适度与方便性。 When a user with short arms sits on the chair surface 4 and leans against the chair back 5, as long as the position of the sliding part 62 on the armrest 31 is adjusted, the palm of the hand can be moved regardless of the inclination angle of the chair back 5. It cannot be stretched into the hollow shell 611 for massage. On the contrary, when a user with longer arms sits on the chair surface 4 and leans against the chair back 5, just adjust the sliding part 62 to the position of the armrest 31 The upper position can be used for palm massage at the most comfortable position on the arm, which can indeed increase the comfort and convenience of massage.

第二较佳实施例Second preferred embodiment

参阅图4、9,为本实用新型具有手掌按摩装置的按摩椅的第二较佳实施例,该第二较佳实施例与该第一较佳实施例大致相同,同样包含一支撑单元3、一椅面4、一椅背5,以及二手部按摩单元6。相同之处于此不再赘述,不同之处在于:该轨道621上间隔设置有多个固定孔627、底盘上具有多个与该轨道621嵌合的滚动件624,及一设置于该基座623上并可受控制地插入该固定孔627中的干涉件628。 Referring to Fig. 4, 9, it is the second preferred embodiment of the massage chair with the palm massage device of the present invention, the second preferred embodiment is roughly the same as the first preferred embodiment, and also includes a support unit 3, A chair surface 4, a chair back 5, and a second hand massage unit 6. The same will not be repeated here, the difference is: the track 621 is provided with a plurality of fixing holes 627 at intervals, the chassis has a plurality of rolling elements 624 fitted with the track 621, and a set on the base 623 The interfering member 628 can be inserted into the fixing hole 627 in a controlled manner.

该第二较佳实施例借由控制该干涉件628伸置入该固定孔627中,可以定位该滑动部62位于该扶手31上的位置,而且不须为了移动该滑动部62而另外耗费电力驱动,当想要移动时该滑动部62时,只需按压该干涉件628顶端即可使该干涉件628脱离该固定孔627,而想要定位时,只需松开按压,该干涉件628又会伸置入该固定孔627中,借此达到该滑动部62于该扶手31上的定位效果。 In the second preferred embodiment, by controlling the interfering member 628 to extend into the fixing hole 627, the position of the sliding part 62 on the armrest 31 can be positioned, and there is no need to consume additional power for moving the sliding part 62 Drive, when wanting to move this sliding part 62, only need to press the top of this interfering piece 628 to make this interfering piece 628 disengage from this fixing hole 627, and when wanting to position, just loosen press, this interfering piece 628 It will also extend into the fixing hole 627 , so as to achieve the positioning effect of the sliding part 62 on the armrest 31 .

第三较佳实施例Third preferred embodiment

参阅图4、10,为本实用新型具有手掌按摩装置的按摩椅的第三较佳实施例,该第三较佳实施例同样包含一支撑单元3、一椅面4、一椅背5,以及二手部按摩单元6。相同之处于此不再赘述,不同之处在于:该滑动部62具有一设置于该扶手31中的驱动马达6210、一受该驱动马达6210带动旋转的螺杆6211,及一套设于该螺杆6211上的基座623。 Referring to Fig. 4, 10, be the 3rd preferred embodiment of the massage chair with palm massage device of the present utility model, this 3rd preferred embodiment also comprises a support unit 3, a chair surface 4, a chair back 5, and Second hand massage unit6. The same will not be repeated here, the difference is: the sliding part 62 has a driving motor 6210 arranged in the armrest 31, a screw 6211 driven by the driving motor 6210 to rotate, and a sleeve set on the screw 6211 623 on the base.

借由该驱动马达6210驱动该螺杆6211旋转,而使套设于该螺杆6211上的基座623可以呈直线方式前后移动,借以提供另一种定位该滑动部62于该扶手31上位置的实施方式。 The drive motor 6210 drives the screw 6211 to rotate, so that the base 623 sleeved on the screw 6211 can move back and forth in a straight line, so as to provide another implementation of positioning the sliding part 62 on the armrest 31 Way.

参阅图4、11,为本实用新型具有手掌按摩装置的按摩椅的第四较佳实施例,该第四较佳实施例大致相同于该第一较佳实施例,同样包含一支撑单元3、一椅面4、一椅背5,以及二手部按摩单元6。相同之处于此不再赘述,不同之处在于:该滑动部62中的轨道621与底盘622是呈鸠尾槽的卡接设计。 Referring to Fig. 4, 11, it is the fourth preferred embodiment of the massage chair with the palm massage device of the present invention, the fourth preferred embodiment is roughly the same as the first preferred embodiment, and also includes a support unit 3, A chair surface 4, a chair back 5, and a second hand massage unit 6. The similarities will not be repeated here, and the difference lies in: the track 621 and the chassis 622 in the sliding portion 62 are designed to be engaged in a dovetail groove.

借由该轨道621与底盘622相互嵌合的设计,同样可以使该基座623于该轨道621中进行前后移动,借以提供相异于第一较佳实施例使该该滑动部62于该扶手31上滑动的实施方式。 By virtue of the interfitting design of the rail 621 and the chassis 622, the base 623 can also be moved forward and backward in the rail 621, so as to provide the sliding part 62 on the armrest different from the first preferred embodiment. 31 on the embodiment of sliding.

参阅图4、5、12,为本实用新型具有手掌按摩装置的按摩椅的第五较佳实施例,该第五较佳实施例大致相同于该第一较佳实施例,同样包含一支撑单元3、一椅面4、一椅背5,以及二手部按摩单元6。相同之处于此不再赘述,不同之处在于:该滑动部62中的轨道621是两侧呈连续凹弧状,而该底盘622是呈一两侧具有滚珠弹簧并卡接于该轨道621上的设计方式。当该底盘622卡接于该轨道621上时,利用该轨道621两侧连续弧状的设计,可以使该底盘622两侧的滚珠弹簧凸伸定位于该轨道621上,当使用者想要改变该滑动部62于该扶手31上的位置时,只要施力向前或向后推,克服该底盘622两侧的滚珠弹簧向外凸伸的弹力,利用该轨道621外型的限位,即可将该滚珠弹簧内缩而使该滑动部62于该轨道621上改变位置。当使用者不再施力推动该滑动部62时,该底盘622两侧的滚珠弹簧会受弹性回复力而向外凸伸,此时,便可再次定位于该轨道621上。 Referring to Figures 4, 5, and 12, it is the fifth preferred embodiment of the massage chair with the palm massage device of the present invention. The fifth preferred embodiment is roughly the same as the first preferred embodiment, and also includes a support unit 3. A chair surface 4, a chair back 5, and a second hand massage unit 6. The same will not be repeated here, the difference is that: the track 621 in the sliding part 62 has a continuous concave arc shape on both sides, and the chassis 622 has ball springs on both sides and is clamped on the track 621 design way. When the chassis 622 is clamped on the track 621, the ball spring protrusions on both sides of the chassis 622 can be positioned on the track 621 by using the continuous arc design on both sides of the track 621. When the user wants to change the When the sliding part 62 is on the position of the armrest 31, as long as the applied force is pushed forward or backward to overcome the outwardly protruding elastic force of the ball springs on both sides of the chassis 622, and utilize the limit of the shape of the track 621, it can be The ball spring is retracted to change the position of the sliding part 62 on the track 621 . When the user no longer applies force to push the sliding part 62 , the ball springs on both sides of the chassis 622 will protrude outward due to the elastic restoring force, and at this moment, they can be positioned on the track 621 again.

综合上述,本实用新型借由该按摩部61设置于该滑动部62上并具有一中空壳体611,及多个设置于该中空壳体611中的气囊袋612,通过对不同的气囊袋612施以相异的充气与泄气速率,借以模仿拟真的人手在对使用者的手部进行按摩。而该滑动部62可于该扶手31上的滑动变换位置,可以针对身型大小不一的使用者,提供在按摩椅上进行手掌按摩的泛用性,不因手臂长短或身形大小而受限制。同时,本实用新型在该气囊袋612外部与手掌接触面形成有多个凸粒613,且该气囊袋612上更贴附有电热片614,其上更包覆有一层软质纤维层,用以隔离电热片614与人手直接接触,而该软质纤维层的纤维添加有可释放远红外线粉末的材质。通过上述结构设计,可在天冷的季节里提供人体手掌健康、温暖且舒适的按摩享受,故确实可以达成本实用新型的目的。 To sum up the above, the utility model is provided with the massage part 61 on the sliding part 62 and has a hollow shell 611, and a plurality of airbag bags 612 arranged in the hollow shell 611, through different airbags The bag 612 applies different inflation and deflation rates, so as to imitate a realistic human hand to massage the user's hands. And the sliding part 62 can slide and change the position on the armrest 31, which can provide the versatility of palm massage on the massage chair for users of different body sizes, and is not affected by the length of the arms or the size of the body. limit. Simultaneously, the utility model forms a plurality of bumps 613 on the contact surface between the outside of the air bag 612 and the palm, and the air bag 612 is further attached with an electric heating sheet 614, which is further coated with a soft fiber layer for use To isolate the electric heater 614 from direct contact with human hands, the fibers of the soft fiber layer are added with materials that can release far-infrared powder. Through the above-mentioned structural design, it is possible to provide healthy, warm and comfortable massage enjoyment of human palms in the cold season, so the purpose of the utility model can indeed be achieved.

以上所述实施例仅是为充分说明本实用新型而所举的较佳的实施例,本实用新型的保护范围不限于此。本技术领域的技术人员在本实用新型基础上所作的等同替代或变换,均在本实用新型的保护范围之内。本实用新型的保护范围以权利要求书为准。 The above-mentioned embodiments are only preferred embodiments for fully illustrating the utility model, and the protection scope of the utility model is not limited thereto. Equivalent substitutions or transformations made by those skilled in the art on the basis of the present utility model are all within the protection scope of the present utility model. The scope of protection of the utility model shall be determined by the claims.

Claims (10)

1. the massage armchair with palm massage machine is characterized in that, comprises:
One support unit, support is stood on the ground and is had two handrails;
One seat is arranged on this support unit;
One chair back stands on a side of this seat, and articulates with this support unit; And
At least one hand massage unit, independent this two handrail that is arranged at slidably is on one of them.
2. according to the described massage armchair of claim 1 with palm massage machine; It is characterized in that; This hand massage unit has a Massage Department and a sliding part; This sliding part is arranged on this handrail, and this Massage Department is arranged on this sliding part and has a hollow housing, and a plurality ofly is arranged at discretely in this housing and outsidely is formed with a plurality of protruding gasbags with the palm contact surface.
3. according to the described massage armchair of claim 2 with palm massage machine; It is characterized in that; This Massage Department has more the roller set that is arranged at discretely in this hollow housing, and this roller set has two and is provided with at interval and the surface has the roller of a plurality of slips massage grains.
4. according to the described massage armchair of claim 3, it is characterized in that, more be pasted with an electric heating piece on this gasbag with palm massage machine.
5. according to the described massage armchair of claim 4, it is characterized in that this gasbag is coated with soft fibre with palm massage machine.
6. according to the said massage armchair of claim 2, it is characterized in that this sliding part has one and is fixedly arranged on track on this handrail, one and the chassis that articulates of this track with palm massage machine, and the pedestal that is arranged on this chassis.
7. according to the said massage armchair of claim 6 with palm massage machine; It is characterized in that having the chimeric rolling member of a plurality of and this track on this chassis, provide the power supply tumbler and of these a plurality of rolling member rolling power to be arranged at the gauge tap that this power elements of control starts on this pedestal.
8. according to the said massage armchair of claim 6 with palm massage machine; It is characterized in that; Be arranged at intervals with a plurality of fixing holes on this track, have a plurality of and the chimeric rolling member of this track on the chassis, and one is arranged on this pedestal and inserts the interference piece in this fixing hole controllably.
9. according to the said massage armchair of claim 2 with palm massage machine; It is characterized in that, this sliding part have one be arranged at that CD-ROM drive motor, in this handrail receives this CD-ROM drive motor driven rotary and linearly the screw rod and of motion be arranged at the pedestal on this screw rod.
10. according to the said massage armchair of claim 2, it is characterized in that track in this sliding part and chassis are the clamping shapes that is dovetail groove with palm massage machine.
CN2011204362766U 2011-11-07 2011-11-07 Massage chair with palm massage device Expired - Fee Related CN202342426U (en)

Priority Applications (1)

Application Number Priority Date Filing Date Title
CN2011204362766U CN202342426U (en) 2011-11-07 2011-11-07 Massage chair with palm massage device

Applications Claiming Priority (1)

Application Number Priority Date Filing Date Title
CN2011204362766U CN202342426U (en) 2011-11-07 2011-11-07 Massage chair with palm massage device

Publications (1)

Publication Number Publication Date
CN202342426U true CN202342426U (en) 2012-07-25

Family

ID=46531449

Family Applications (1)

Application Number Title Priority Date Filing Date
CN2011204362766U Expired - Fee Related CN202342426U (en) 2011-11-07 2011-11-07 Massage chair with palm massage device

Country Status (1)

Country Link
CN (1) CN202342426U (en)

Cited By (2)

* Cited by examiner, † Cited by third party
Publication number Priority date Publication date Assignee Title
CN103083165A (en) * 2011-11-07 2013-05-08 棨泰健康器材有限公司 Massage chair with palm massage device
CN117503560A (en) * 2023-11-10 2024-02-06 北京软体机器人科技股份有限公司 Rehabilitation massage robot and rehabilitation device

Cited By (2)

* Cited by examiner, † Cited by third party
Publication number Priority date Publication date Assignee Title
CN103083165A (en) * 2011-11-07 2013-05-08 棨泰健康器材有限公司 Massage chair with palm massage device
CN117503560A (en) * 2023-11-10 2024-02-06 北京软体机器人科技股份有限公司 Rehabilitation massage robot and rehabilitation device

Similar Documents

Publication Publication Date Title
CN109069340B (en) Sleep mode operation method in massage chair applying progressive muscle relaxation method and massage chair capable of performing the method
KR20140088748A (en) Massage chair
US20110034839A1 (en) Massage recliner
CN205457414U (en) Healthy computer chair
CN201906170U (en) Multifunctional electric massaging cushion
CN209751546U (en) A massage mechanism of a massage chair
CN202342426U (en) Massage chair with palm massage device
CN103083165A (en) Massage chair with palm massage device
CN2154685Y (en) Multipurpose massage chair
CN104398044B (en) A chair with functions of warming feet and massaging ankles
CN209864547U (en) Massage health care backrest cushion and massage health care wheelchair
CN203075157U (en) Pedal movement lumbar spinal cord massage chair
CN109009918A (en) A kind of massage mechanism and massage armchair of human body back
JP2013116280A (en) Massage chair having palm massage device
CN106726495A (en) Moxa-moxibustion massage armchair
CN108324493A (en) A kind of house hot packing massage armchair
CN208799512U (en) Embracing whole body acupuncture point massager
CN209154391U (en) A home hot compress physiotherapy massage chair
TW201316977A (en) A massage chair with a hand massage device
CN202457364U (en) Fitness and intelligence promoting computer chair
CN207734077U (en) A kind of health bathing pool
JP3175290U (en) Massage chair that can massage palms
TWM430971U (en) Massage chair with palm massage device
CN208910933U (en) A kind of electrical heating type moxa-moxibustion cushion
CN209933450U (en) Multifunctional health-care massage backrest stool

Legal Events

Date Code Title Description
C14 Grant of patent or utility model
GR01 Patent grant
CF01 Termination of patent right due to non-payment of annual fee
CF01 Termination of patent right due to non-payment of annual fee

Granted publication date: 20120725

Termination date: 20171107