CN202338724U - Connecting piece of PE multiple unit tube and PE multiple unit tube employing same - Google Patents
Connecting piece of PE multiple unit tube and PE multiple unit tube employing same Download PDFInfo
- Publication number
- CN202338724U CN202338724U CN2011204785807U CN201120478580U CN202338724U CN 202338724 U CN202338724 U CN 202338724U CN 2011204785807 U CN2011204785807 U CN 2011204785807U CN 201120478580 U CN201120478580 U CN 201120478580U CN 202338724 U CN202338724 U CN 202338724U
- Authority
- CN
- China
- Prior art keywords
- composite pipe
- boss
- inner core
- overcoat
- main body
- Prior art date
- Legal status (The legal status is an assumption and is not a legal conclusion. Google has not performed a legal analysis and makes no representation as to the accuracy of the status listed.)
- Expired - Lifetime
Links
- 239000002131 composite material Substances 0.000 claims description 67
- 239000005435 mesosphere Substances 0.000 description 4
- 230000015572 biosynthetic process Effects 0.000 description 3
- 230000000295 complement effect Effects 0.000 description 3
- 238000012856 packing Methods 0.000 description 3
- 230000032798 delamination Effects 0.000 description 2
- 239000012943 hotmelt Substances 0.000 description 2
- 210000001503 joint Anatomy 0.000 description 2
- 239000000463 material Substances 0.000 description 2
- 238000002844 melting Methods 0.000 description 2
- 230000008018 melting Effects 0.000 description 2
- 239000007769 metal material Substances 0.000 description 2
- 239000000126 substance Substances 0.000 description 2
- XLYOFNOQVPJJNP-UHFFFAOYSA-N water Substances O XLYOFNOQVPJJNP-UHFFFAOYSA-N 0.000 description 2
- FGRBYDKOBBBPOI-UHFFFAOYSA-N 10,10-dioxo-2-[4-(N-phenylanilino)phenyl]thioxanthen-9-one Chemical compound O=C1c2ccccc2S(=O)(=O)c2ccc(cc12)-c1ccc(cc1)N(c1ccccc1)c1ccccc1 FGRBYDKOBBBPOI-UHFFFAOYSA-N 0.000 description 1
- 229910000831 Steel Inorganic materials 0.000 description 1
- 239000003570 air Substances 0.000 description 1
- 239000012080 ambient air Substances 0.000 description 1
- 230000009286 beneficial effect Effects 0.000 description 1
- 230000002950 deficient Effects 0.000 description 1
- 239000012467 final product Substances 0.000 description 1
- 238000000034 method Methods 0.000 description 1
- 239000003208 petroleum Substances 0.000 description 1
- 229920003023 plastic Polymers 0.000 description 1
- 229920000573 polyethylene Polymers 0.000 description 1
- 239000010959 steel Substances 0.000 description 1
Images
Landscapes
- Protection Of Pipes Against Damage, Friction, And Corrosion (AREA)
Abstract
The utility model discloses a connecting piece of a PE multiple unit tube and a PE multiple unit tube employing same. The connecting piece of the PE multiple unit tube is characterized by including an inner sleeve piece, and an outer sleeve piece (2) connected on the inner sleeve piece in a sleeving manner. The connecting piece has a simple structure, is low in cost, and enables two mutually connected PE multiple unit tubes to be difficult to disconnect during the use, thereby being applicable to popularization and application. The utility model further discloses the PE multiple unit tube with the connecting piece.
Description
Technical field
The utility model relates to a kind of PE composite pipe, specifically is meant the PE composite pipe of a kind of PE composite pipe link and formation thereof.
Background technique
The PE composite pipe can be used to air guide, water guide, Oil Guide etc., therefore is widely used in fields such as chemical industry petroleum chemical enterprise, power plant, oil field.In use, the back that often need two or more PE composite pipe be connected forms the conduit be interconnected.How the PE composite pipe that uses at present connects with electric melting pipe fittings socket joint hot melt, thereby the in use easy delamination of interconnective two PE composite pipes is split, and therefore uses to the user and brings great potential safety hazard.
The model utility content
The purpose of the utility model is how the PE composite pipe that overcomes present use connects with electric melting pipe fittings socket joint hot melt; Thereby the in use easy delamination of interconnective two PE composite pipes is split; Therefore use the defective of bringing great potential safety hazard to the user; Provide a kind of not only simple in structure, and with low cost, can also in use make the PE composite pipe link that interconnective two PE composite pipes be difficult for to throw off and the PE composite pipe of formation thereof.
The utility model is realized through following technical proposals: a kind of PE composite pipe link comprises inner sleeve spare, is socketed in the overcoat pipe fitting on this inner sleeve spare.
Further, said inner sleeve spare comprises inner core, is arranged on the boss of this inner core one end, and said overcoat pipe fitting then is socketed on this boss.
A nearlyer step, said inner core integral body is truncated conical shape, and boss then is arranged on the bottom surface of inner core and with inner core and is solidified as a whole.
In order to make the PE composite pipe difficult drop-off that is connected on the internal sleeve assembly, on the outer surface of the other end of said inner core, also be provided with sawtooth.
Simultaneously, on said boss, be provided with groove, and in this groove, also be provided with seal ring.
For the ease of connecting, on said overcoat pipe fitting, be provided with draw-in groove.
Perhaps on said overcoat pipe fitting, be provided with flange plate.
A kind of PE composite pipe comprises the composite pipe main body, is provided with link at said composite pipe main body one end, and said link comprises the inner sleeve spare that is connected on the composite pipe main body inner wall, the overcoat pipe fitting that is enclosed within on the composite pipe main body and is connected with inner sleeve spare.
In order to satisfy the demand, said inner sleeve spare comprises the boss that is connected with the overcoat pipe fitting, is connected inner core on this boss and that have sawtooth and be connected with the composite pipe main body.
In order better to realize on said boss, also being provided with the utility model groove, and on this groove, also being with the seal ring that is connected with the inwall of overcoat pipe fitting.
The utility model compared with prior art has the following advantages and beneficial effect:
(1) the utility model is not only simple in structure, and with low cost, and is easy to use.
(2) the inner sleeve spare of the utility model comprises boss, thereby conveniently this inner sleeve spare is connected on the overcoat pipe fitting.
(3) boss of the utility model is provided with groove, and on this groove, is with the seal ring that is connected with the overcoat pipe fitting, therefore can prevent that the medium that circulates in the inner sleeve spare from leaking through the gap between inner sleeve spare and the overcoat pipe fitting.
(4) the inner sleeve spare of the utility model also comprises inner core, and this inner core integral body is truncated conical shape, and therefore convenient through this inner core inner sleeve spare to be stretched into the PE composite pipe inner and be connected on the inwall of PE composite pipe.
(5) inner core of the utility model is provided with sawtooth, and the PE composite pipe that therefore can prevent to be connected on this inner core is deviate from this inner core.
(6) the overcoat pipe fitting of the utility model is provided with draw-in groove, and the convenient button of pinching that is complementary with this draw-in groove that uses interconnects two overcoat pipe fittings, thereby two PE composite pipes are interconnected.
(7) the overcoat pipe fitting of the utility model is provided with flange plate, conveniently through this flange plate two overcoat pipe fittings is interconnected, thereby two PE composite pipes are interconnected.
Description of drawings
Overall structure schematic representation when Fig. 1 is provided with draw-in groove for the overcoat pipe fitting of the utility model.
Fig. 2 is the overall structure schematic representation of the inner sleeve spare of the utility model.
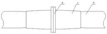
Overall structure schematic representation when Fig. 3 is provided with flange plate for the overcoat pipe fitting of the utility model.
When Fig. 4 uses for the utility model the overcoat pipe fitting is withheld the overall structure schematic representation on the composite pipe main body.
Fig. 5 is that the overcoat pipe fitting of the utility model is provided with draw-in groove and uses the overall structure schematic representation when pinching two PE composite pipes of buckle.
Fig. 6 is the overall structure schematic representation of the overcoat pipe fitting of the utility model when connecting two PE composite pipes through flange plate.
Wherein, the component name that reference character is corresponding among the figure is called:
1-overcoat pipe fitting, 2-inner core, 3-boss, 4-sawtooth, 5-groove, 6-seal ring, 7-draw-in groove, 8-flange plate, 9-composite pipe main body, 10-packing ring, 11-pinch and detain.
Embodiment
Below in conjunction with embodiment the utility model is done to specify further, but the mode of execution of the utility model is not limited thereto.
Embodiment 1
Like Fig. 1, shown in 2, the utility model mainly comprises inner sleeve spare, and said inner sleeve spare inside has through hole, and this inner sleeve spare is processed by metallic material.Said inner sleeve spare comprises inner core 2, and these inner core 2 integral body are truncated conical shape, on this inner core 2, are provided with sawtooth 4, and said sawtooth 4 is looped around on the outer surface of inner core 2, and is positioned at the upper end of inner core 2.Simultaneously, also be provided with boss 3 in the lower end of said inner core 2, this boss 3 be connected on the bottom surface of inner core 2 and with this inner core 2 structure that is solidified as a whole, and the outside diameter of this boss 3 is greater than the outside diameter of inner core 2, promptly this boss 3 protrudes in inner core 2, and is as shown in Figure 2.
On said inner sleeve spare, also be provided with overcoat pipe fitting 1; Said overcoat pipe fitting 1 is also processed by metallic material; And this overcoat pipe fitting 1 has the through hole that matches with boss 3 for inside; Said overcoat pipe fitting 1 with the inwall of its through hole is connected on the outer surface of boss 3 after boss 3 cooperates, to form with boss 3 between overcoat pipe fitting 1 and the inner core 2 be the semiclosed cavity of bottom surface thereby make.For the medium that prevents to circulate in the inner sleeve spare leaks through the gap between inner sleeve spare and the overcoat pipe fitting 1; At the seal ring 6 that also is provided with on the said boss 3 between boss 3 and overcoat pipe fitting 1; Said seal ring 6 is an O type circle, and is made by plastic material.For the ease of seal ring 6 is connected on the boss 3, on said boss 3, also be provided with the groove 5 that is complementary with seal ring, said seal ring 6 be socketed on the groove 5 after groove 5 cooperates.
For the ease of two overcoat pipe fittings 1 are interconnected, on said overcoat pipe fitting 1, also be provided with draw-in groove 7.
As shown in Figure 3, present embodiment is compared with embodiment 1, and its overall structure is identical, and unique difference only is that its external sleeve pipe fitting 1 is provided with flange plate 8 and draw-in groove 7 is not set, and this flange plate 8 and overcoat pipe fitting 1 structure that is solidified as a whole.
Embodiment 3
Shown in Fig. 1~6; The PE composite pipe of present embodiment comprises composite pipe main body 9; Comprise internal layer and the skin of processing by polythene material in this composite pipe main body 9, also comprise the mesosphere that is arranged between internal layer and the skin, and this mesosphere is the framework layer of being processed by steel wire.Be provided with link at these composite pipe main body 9 one ends; Described in said link overall structure such as the embodiment 1; And the semiclosed cavity that forms between inner sleeve spare and the overcoat pipe fitting 1 matches with composite pipe main body 9; Be that inner core 2 is provided with sawtooth 4 one ends and stretches into composite pipe main body 9 inside, the outer surface of inner core 2 is connected with the inwall of composite pipe main body 9.Boss 3 then is positioned at the outside of composite pipe main body 9, and the end face that the end face of composite pipe main body 9 is connected boss 3 is on the bottom surface of semiclosed cavity.Simultaneously, the inwall of said overcoat pipe fitting 1 then is connected on the outer surface of composite pipe main body 9, thereby is connected after making composite pipe main body 9 and semiclosed cavity cooperating on the link that overcoat pipe fitting 1 and inner sleeve spare form.
Owing to produce the gap because of assembling easily between boss 3 and the overcoat pipe fitting 1; Thereby media such as ambient air or water are corroded through the mesosphere of this gap and composite pipe main body 9; Therefore on boss 3, be provided with seal ring 6, thereby can prevent effectively that the mesosphere of composite pipe main body 9 is corroded.During use, through the external sleeve part 1 of the equipment of withholding of special use firmly, make its inside extruding; Be close on the composite pipe main body 9 after 1 distortion of overcoat pipe fitting is dwindled, be close on the inner core after continuing firmly to make 9 compressive strains of composite pipe main body, promptly the inwall of composite pipe main body 9 is close on the inner core 2; 4 on sawtooth embeds in the composite pipe main body 9; Thereby prevent that composite pipe main body 9 from deviating from inner core 2, prevent that promptly composite pipe main body 9 from deviating from link, as shown in Figure 4.
When needing to connect two composite pipe main bodys 9; With two link butt joints; And use packing ring 10 that two overcoat pipe fitting 1 sockets are as a whole,, 11 fastenings detained with the pinching of semicircular ring shape of two special uses that are complementary with draw-in groove 7 then; And use screw that two are pinched and buckle 11 and be fixed as one, as shown in Figure 5.
The outer jacket member 1 of the utility model also can use the structure described in the embodiment 2, when connecting two composite pipe main bodys 9, with two flange plate 8 butt joint, and uses screw that two flange plate 8 are fixed as one to get final product, and is as shown in Figure 6.Can also between two flange plate 8, packing ring be set as required.
As stated, just can realize the utility model preferably.
Claims (10)
1. a PE composite pipe link is characterized in that: comprise inner sleeve spare, be socketed in the overcoat pipe fitting (1) on this inner sleeve spare.
2. a kind of PE composite pipe link according to claim 1 is characterized in that: said inner sleeve spare comprises inner core (2), is arranged on the boss (3) on this inner core (2), and said overcoat pipe fitting (1) then is socketed on this boss (3).
3. a kind of PE composite pipe link according to claim 2 is characterized in that: said inner core (2) integral body is truncated conical shape, and boss (3) then is arranged on the bottom surface of inner core (2) and with inner core (2) and is solidified as a whole.
4. a kind of PE composite pipe link according to claim 3 is characterized in that: on the outer surface of the other end of said inner core (2), also be provided with sawtooth (4).
5. according to each described a kind of PE composite pipe link of claim 2~4, it is characterized in that: on said boss (3), be provided with groove (5), and in this groove (5), also be provided with seal ring (6).
6. a kind of PE composite pipe link according to claim 5 is characterized in that: on said overcoat pipe fitting (1), be provided with draw-in groove (7).
7. a kind of PE composite pipe link according to claim 5 is characterized in that: on said overcoat pipe fitting (1), be provided with flange plate (8).
8. PE composite pipe; Comprise composite pipe main body (9); It is characterized in that: be provided with link at said composite pipe main body (9) one ends, said link comprises the inner sleeve spare that is connected on composite pipe main body (9) inwall, is enclosed within the overcoat pipe fitting (1) that composite pipe main body (9) goes up and is connected with inner sleeve spare.
9. a kind of PE composite pipe according to claim 8 is characterized in that: said inner sleeve spare comprises the boss (3) that is connected with overcoat pipe fitting (1), is connected inner core (2) on this boss (3) and that have sawtooth (4) and be connected with composite pipe main body (9).
10. a kind of PE composite pipe according to claim 9 is characterized in that: on said boss (3), also be provided with groove (5), and on this groove (5), also be with the seal ring (6) that is connected with the inwall of overcoat pipe fitting (1).
Priority Applications (1)
| Application Number | Priority Date | Filing Date | Title |
|---|---|---|---|
| CN2011204785807U CN202338724U (en) | 2011-11-28 | 2011-11-28 | Connecting piece of PE multiple unit tube and PE multiple unit tube employing same |
Applications Claiming Priority (1)
| Application Number | Priority Date | Filing Date | Title |
|---|---|---|---|
| CN2011204785807U CN202338724U (en) | 2011-11-28 | 2011-11-28 | Connecting piece of PE multiple unit tube and PE multiple unit tube employing same |
Publications (1)
| Publication Number | Publication Date |
|---|---|
| CN202338724U true CN202338724U (en) | 2012-07-18 |
Family
ID=46487415
Family Applications (1)
| Application Number | Title | Priority Date | Filing Date |
|---|---|---|---|
| CN2011204785807U Expired - Lifetime CN202338724U (en) | 2011-11-28 | 2011-11-28 | Connecting piece of PE multiple unit tube and PE multiple unit tube employing same |
Country Status (1)
| Country | Link |
|---|---|
| CN (1) | CN202338724U (en) |
Cited By (2)
| Publication number | Priority date | Publication date | Assignee | Title |
|---|---|---|---|---|
| CN103527887A (en) * | 2013-10-22 | 2014-01-22 | 七台河宝泰隆煤化工股份有限公司 | Coupling for plastic hoses |
| CN108317343A (en) * | 2018-04-23 | 2018-07-24 | 阔丹凌云汽车胶管有限公司 | R744 air-conditioner pipes and its connection structure |
-
2011
- 2011-11-28 CN CN2011204785807U patent/CN202338724U/en not_active Expired - Lifetime
Cited By (2)
| Publication number | Priority date | Publication date | Assignee | Title |
|---|---|---|---|---|
| CN103527887A (en) * | 2013-10-22 | 2014-01-22 | 七台河宝泰隆煤化工股份有限公司 | Coupling for plastic hoses |
| CN108317343A (en) * | 2018-04-23 | 2018-07-24 | 阔丹凌云汽车胶管有限公司 | R744 air-conditioner pipes and its connection structure |
Similar Documents
| Publication | Publication Date | Title |
|---|---|---|
| CN202868131U (en) | Thread compressing sealing water heating pipe fitting connecting structure with liner pipe and casing pipe | |
| CN201715135U (en) | Pipeline fast-repair thread casing joint | |
| CN201827582U (en) | Integral buckle-press-type plastic composite pipeline connector | |
| CN202338724U (en) | Connecting piece of PE multiple unit tube and PE multiple unit tube employing same | |
| CN102313090A (en) | Quick-service thread sleeve pipe joint for pipeline | |
| CN102313091A (en) | Pipeline quick service sleeve joint | |
| CN205207972U (en) | Activity pipe connections head | |
| CN201715134U (en) | Pipeline fast-repair casing joint | |
| CN201517677U (en) | Pipeline joint | |
| CN202756789U (en) | Improved structure of straight joint | |
| CN203517102U (en) | Flexible pipe connector | |
| CN202327487U (en) | Poly ethylene (PE) compound pipe joint and PE compound pipe consisting of same | |
| CN202674670U (en) | RTP (reinforced thermoplastic pipe) joint | |
| CN203404540U (en) | Spherical four-way pipe fitting | |
| CN202812542U (en) | Double-socket hollow-wall winding pipe joint and connection structure | |
| CN202001762U (en) | Hoop | |
| CN203718191U (en) | Connection structure for inner and outer lining plastic composite steel pipes | |
| CN203273162U (en) | Steel net reinforced plastic pipe clamp | |
| CN202992500U (en) | Composite tube connecting part | |
| CN202955398U (en) | Straight connection type steel-plastic composite pipe with external thread insert | |
| CN202955393U (en) | Bending-connection steel-plastic composite pipe with external thread insert | |
| CN202955400U (en) | Three-way steel-plastic composite pipe with external thread insert | |
| CN203176601U (en) | Direct-plugging type pipe fitting | |
| CN203718185U (en) | Connection structure for lining plastic composite steel pipes | |
| CN203395442U (en) | Hidden reducing bushing for pipeline connection |
Legal Events
| Date | Code | Title | Description |
|---|---|---|---|
| C14 | Grant of patent or utility model | ||
| GR01 | Patent grant | ||
| CX01 | Expiry of patent term |
Granted publication date: 20120718 |
|
| CX01 | Expiry of patent term |