CN202329695U - Probe structure of vortex shedding flowmeter - Google Patents
Probe structure of vortex shedding flowmeter Download PDFInfo
- Publication number
- CN202329695U CN202329695U CN201120463460XU CN201120463460U CN202329695U CN 202329695 U CN202329695 U CN 202329695U CN 201120463460X U CN201120463460X U CN 201120463460XU CN 201120463460 U CN201120463460 U CN 201120463460U CN 202329695 U CN202329695 U CN 202329695U
- Authority
- CN
- China
- Prior art keywords
- probe
- stem
- housing
- piezoelectric ceramic
- vortex shedding
- Prior art date
- Legal status (The legal status is an assumption and is not a legal conclusion. Google has not performed a legal analysis and makes no representation as to the accuracy of the status listed.)
- Expired - Lifetime
Links
Images
Landscapes
- Measuring Volume Flow (AREA)
Abstract
本实用新型提供一种涡街流量计的探头结构,包括第一探头和第二探头,所述第一探头和所述第二探头分别包括壳体和固定在壳体中的中芯柱,各中芯柱上分别通过导电胶粘接有两片正负相间的压电陶瓷片,所述压电陶瓷片外包裹有填充层,各中芯柱分别连接有两根外接信号线;第一探头的壳体与第二探头的壳体之间焊接固定,且第一探头的中芯柱与第二探头的中芯柱之间留有间隔距离。本实用新型包括第一探头和第二探头,第一探头用于检测流量信号,第二探头用于检测管道机械振动等干扰信号,以第二探头检测到的干扰信号的参数为参考样本,过滤、屏蔽掉掺杂在第一探头流量信号中的干扰信号,从而达到净化第一探头检测的流量信号的目的。
The utility model provides a probe structure of a vortex flowmeter, which includes a first probe and a second probe, the first probe and the second probe respectively include a shell and a center column fixed in the shell, each Two piezoelectric ceramic sheets with positive and negative phases are respectively bonded to the core column by conductive glue, and the piezoelectric ceramic sheet is wrapped with a filling layer, and each core column is connected with two external signal lines; the first probe The housing of the second probe is welded and fixed, and there is a distance between the center stem of the first probe and the center stem of the second probe. The utility model comprises a first probe and a second probe. The first probe is used to detect flow signals, and the second probe is used to detect interference signals such as pipeline mechanical vibration. The parameters of the interference signals detected by the second probe are used as reference samples to filter 1. Shielding the interference signal doped in the flow signal of the first probe, so as to achieve the purpose of purifying the flow signal detected by the first probe.
Description
技术领域 technical field
本实用新型涉及涡街流量计,尤其涉及一种涡街流量计的探头结构。 The utility model relates to a vortex flowmeter, in particular to a probe structure of the vortex flowmeter.
背景技术 Background technique
涡街流量计根据“卡门涡街”原理制成的一种检测流体振荡信号的流量仪表。在流动的流体中插入一个断面为非流线型的柱体时,在柱体后部两侧会产生两列交错排列的漩涡。漩涡的分离频率f与柱侧流速V成正比,与柱体宽度d成反比。通过测量漩涡的分离频率便可测出流体流速和瞬时流量。因此涡街流量计作为一种速度式流量仪表,是目前国际上主要流量仪表产品之一,广泛用于石油、化工、冶金等工业部门、市政建设和环保工程。 The vortex flowmeter is a flow meter that detects fluid oscillation signals based on the "Karman vortex street" principle. When a cylinder with a bluff cross section is inserted into a flowing fluid, two columns of vortices are generated in a staggered arrangement on both sides of the rear of the cylinder. The separation frequency f of the vortex is proportional to the column side flow velocity V and inversely proportional to the column width d. Fluid velocity and instantaneous flow can be measured by measuring the separation frequency of the vortex. Therefore, as a speed flow meter, the vortex flowmeter is one of the main flow meter products in the world at present, and is widely used in petroleum, chemical, metallurgical and other industrial sectors, municipal construction and environmental protection projects.
涡街流量计的测量,要求采集到的有效信号越清晰越好,这就要求接收信号的涡街探头灵敏度相对越高越好。但是由于涡街探头灵敏度越高,同时接收到的干扰信号也相对越明显,在干扰很大的环境时,涡街流量计不能有效的识别有效流量信号,导致测量误差过大和流量计运行经常出现故障等问题。 The measurement of the vortex flowmeter requires the clearer the effective signal collected, the better, which requires that the sensitivity of the vortex probe receiving the signal is relatively higher, the better. However, due to the higher sensitivity of the vortex street probe, the received interference signal is relatively more obvious. In the environment with a lot of interference, the vortex flowmeter cannot effectively identify the effective flow signal, resulting in excessive measurement errors and frequent failures in the operation of the flowmeter. faults etc.
涡街流量计的流量信号的测量,是由涡街流量计的探头来实现的。参见图2,现有涡街流量计的探头结构包括探头壳3,和固定在壳体3中的中芯柱4,中芯柱4由一根不锈钢条制成,中芯柱4上通过导电胶粘接有四片正负相间的压电陶瓷片,压电陶瓷片外包裹有填充层5,该填充层5的材料为固化了的环氧树脂或无机胶,两根外接信号线6a、6b与中芯柱4相连接,使用时,探头安装在管体中,当涡街漩涡撞击探头感应面,使压电陶瓷片产生电荷变化,产生流量信号,同时流量信号中混杂有干扰信号。这种探头结构存在不能区分流量信号和干扰信号的缺点,从而导致涡街流量计测量出现许多现场问题。例如:管道中没有流量,但是涡街流量计显示有固定流量值显示的情况,其实是干扰信号运算出来的流量;或者管道有稳定流量,但是涡街流量计显示的流量波动很大,这很多情况下也是干扰信号过强的原因。这里的干扰信号主要表现为50Hz工频干扰、电机运行干扰、管道振动等。因为以上问题的存在,导致了普通涡街流量计不能适用于工况复杂的工作环境,而多用于适应于振动较弱,现场条件较好的工作环境。 The measurement of the flow signal of the vortex flowmeter is realized by the probe of the vortex flowmeter. Referring to Fig. 2, the probe structure of the existing vortex flowmeter includes a probe shell 3, and a central core column 4 fixed in the shell 3. The central core column 4 is made of a stainless steel bar, and the central core column 4 is passed through a conductive There are four positive and negative piezoelectric ceramic sheets bonded by glue, and the piezoelectric ceramic sheets are wrapped with a filling layer 5. The material of the filling layer 5 is cured epoxy resin or inorganic glue. Two external signal lines 6a, 6b is connected to the core column 4. When in use, the probe is installed in the tube body. When the vortex hits the sensing surface of the probe, the piezoelectric ceramic sheet produces a charge change and generates a flow signal. At the same time, the flow signal is mixed with interference signals. This kind of probe structure has the disadvantage of not being able to distinguish the flow signal from the interference signal, which leads to many field problems in the measurement of the vortex flowmeter. For example: there is no flow in the pipeline, but the vortex flowmeter shows a fixed flow value, which is actually the flow calculated by the interference signal; or the pipeline has a stable flow, but the flow rate displayed by the vortex flowmeter fluctuates greatly, which is a lot In some cases, the interference signal is too strong. The interference signals here are mainly manifested as 50Hz power frequency interference, motor operation interference, pipeline vibration, etc. Due to the existence of the above problems, ordinary vortex flowmeters cannot be used in working environments with complex working conditions, but are mostly used in working environments with weaker vibration and better site conditions.
实用新型内容 Utility model content
本实用新型解决的技术问题是:提供一种街流量计的探头结构,能够区分流量信号和干扰信号,从而过滤、屏蔽掉干扰信号。 The technical problem solved by the utility model is to provide a probe structure of a street flowmeter, which can distinguish flow signals and interference signals, thereby filtering and shielding the interference signals.
本实用新型的技术方案是:一种涡街流量计的探头结构,其特征在于,包括第一探头和第二探头,所述第一探头和所述第二探头分别包括壳体和固定在壳体中的中芯柱,各中芯柱上分别通过导电胶粘接有两片正负相间的压电陶瓷片,所述压电陶瓷片外包裹有填充层,各中芯柱分别连接有两根外接信号线;第一探头的壳体与第二探头的壳体之间焊接固定,且第一探头的中芯柱与第二探头的中芯柱之间留有间隔距离。 The technical scheme of the utility model is: a probe structure of a vortex flowmeter, which is characterized in that it includes a first probe and a second probe, and the first probe and the second probe respectively include a housing and are fixed on the housing. The core pillars in the body, each core pillar is respectively bonded with two piezoelectric ceramic sheets with positive and negative phases through conductive glue, the piezoelectric ceramic sheets are wrapped with a filling layer, and each central pillar is connected with two An external signal line; the shell of the first probe and the shell of the second probe are welded and fixed, and there is a distance between the central stem of the first probe and the central stem of the second probe.
第一探头的中芯柱与第二探头的中芯柱的材料均为不锈钢条。 The core column of the first probe and the core column of the second probe are made of stainless steel strips.
各填充层的材料均为固化了的环氧树脂或无机胶。 The material of each filling layer is cured epoxy resin or inorganic glue.
第一探头的中芯柱与第二探头的中芯柱位于同一中轴线上。 The central stem of the first probe and the central stem of the second probe are located on the same central axis.
第一探头的中芯柱上的两根外接信号线从第二探头的壳体中穿出。 The two external signal wires on the central stem of the first probe pass through the shell of the second probe.
本实用新型的有益效果是:本实用新型现对于现有技术的单探头而言,具有两个探头,即第一探头和第二探头,而且第一探头的中芯柱以及中芯柱上的压电陶瓷片与第二探头的中芯柱以及中芯柱上的压电陶瓷片分别隔离开,第一探头用于检测流量信号,第二探头用于检测管道机械振动等干扰信号,以第二探头检测到的干扰信号的参数为参考样本,过滤、屏蔽掉掺杂在第一探头流量信号中的干扰信号,从而达到净化第一探头检测的流量信号的目的,使涡街流量计在管道振动强度高达3g的强振动干扰情况下,涡街流量计仍然能准确检测到漩涡的有效流量信号,实现准确测量,体现出了高稳定性和超强的抗振性,使涡街流量计能够在较复杂的工作环境,大大扩展了涡街流量计的使用领域。 The beneficial effects of the utility model are: the utility model now has two probes for the single probe of the prior art, that is, the first probe and the second probe, and the center stem of the first probe and the center stem on the center stem The piezoelectric ceramic sheet is separated from the center column of the second probe and the piezoelectric ceramic sheet on the center column respectively. The first probe is used to detect the flow signal, and the second probe is used to detect interference signals such as mechanical vibration of the pipeline. The parameters of the interference signal detected by the second probe are reference samples, which filter and shield the interference signal doped in the flow signal of the first probe, so as to achieve the purpose of purifying the flow signal detected by the first probe and make the vortex flowmeter in the pipeline In the case of strong vibration interference with a vibration intensity of up to 3g, the vortex flowmeter can still accurately detect the effective flow signal of the vortex, and achieve accurate measurement, reflecting high stability and super vibration resistance, so that the vortex flowmeter can In a more complex working environment, the field of use of the vortex flowmeter has been greatly expanded.
附图说明 Description of drawings
图1为本实用新型的结构示意图; Fig. 1 is the structural representation of the utility model;
图2为现有技术的结构示意图。 Fig. 2 is a schematic structural diagram of the prior art.
具体实施方式 Detailed ways
下面结合附图和实施例对本实用新型作进一步说明: Below in conjunction with accompanying drawing and embodiment the utility model is further described:
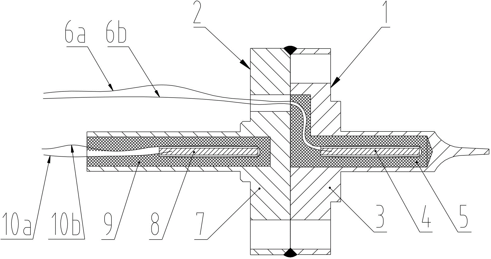
参见图1, 一种涡街流量计的探头结构,包括第一探头1和第二探头2,第一探头1包括第一壳体3和固定在第一壳体3中的第一中芯柱4,第一中芯柱4上通过导电胶粘接有两片正负相间的第一压电陶瓷片,第一压电陶瓷片外包裹有第一填充层5,第一中芯柱4分别连接有两根第一外接信号线6a、6b,第一探头的第一中芯柱4的材料为不锈钢条,第一填充层5的材料为固化了的环氧树脂,也可以为固化了的无机胶。第二探头2包括第二壳体7和固定在第二壳体7中的第二中芯柱8,第二中芯柱8上通过导电胶粘接有两片正负相间的第二压电陶瓷片,第二压电陶瓷片外包裹有第二填充层9,第二中芯柱8连接有两根第二外接信号线10a、10b,第二探头的第二中芯柱8的材料为不锈钢条,第二填充层9的材料为固化了的环氧树脂,也可以为固化了的无机胶。第一探头的第一壳体3与第二探头的第二壳体7之间焊接固定,且第一探头的第一中芯柱4与第二探头的第二中芯柱8之间留有间隔距离,并且第一压电陶瓷片、第一填充层5与第二压电陶瓷片、第二填充层9之间也留有间隔距离。第一探头的第一中芯柱4与第二探头的第二中芯柱8位于同一中轴线上。第一探头的第一中芯柱上的两根第一外接信号线10a、10b从第二探头的第二壳体7中穿出。
Referring to Fig. 1, a probe structure of a vortex flowmeter includes a first probe 1 and a second probe 2, and the first probe 1 includes a first housing 3 and a first central stem fixed in the first housing 3 4. The first central pillar 4 is bonded with two first piezoelectric ceramic sheets with positive and negative phases through conductive glue, the first piezoelectric ceramic sheet is wrapped with a first filling layer 5, and the first central pillar 4 is respectively Two first external signal wires 6a, 6b are connected, the material of the first core post 4 of the first probe is a stainless steel strip, and the material of the first filling layer 5 is cured epoxy resin, which can also be cured Inorganic glue. The second probe 2 includes a second housing 7 and a second central stem 8 fixed in the second housing 7, and the second central stem 8 is bonded with two pieces of second piezoelectric electrodes with positive and negative phases through conductive glue. A ceramic sheet, the second piezoelectric ceramic sheet is wrapped with a second filling layer 9, the second central stem 8 is connected with two second
本实用新型的工作原理是这样的: The working principle of the utility model is as follows:
将第一探头安装在管体内部用以接收涡街漩涡的撞击,从而测量出流量信号,第二探头安装在管体外部用以测量管体振动、电机运行时产生的干扰信号,以第二探头检测到的干扰信号的参数为参考样本,过滤、屏蔽掉掺杂在第一探头流量信号中的干扰信号,从而达到净化第一探头检测的流量信号。 The first probe is installed inside the pipe body to receive the impact of the vortex vortex, so as to measure the flow signal, and the second probe is installed outside the pipe body to measure the vibration of the pipe body and the interference signal generated when the motor is running. The parameter of the interference signal detected by the probe is a reference sample, and the interference signal doped in the flow signal of the first probe is filtered and shielded, so as to purify the flow signal detected by the first probe.
Claims (5)
Priority Applications (1)
| Application Number | Priority Date | Filing Date | Title |
|---|---|---|---|
| CN201120463460XU CN202329695U (en) | 2011-11-21 | 2011-11-21 | Probe structure of vortex shedding flowmeter |
Applications Claiming Priority (1)
| Application Number | Priority Date | Filing Date | Title |
|---|---|---|---|
| CN201120463460XU CN202329695U (en) | 2011-11-21 | 2011-11-21 | Probe structure of vortex shedding flowmeter |
Publications (1)
| Publication Number | Publication Date |
|---|---|
| CN202329695U true CN202329695U (en) | 2012-07-11 |
Family
ID=46441674
Family Applications (1)
| Application Number | Title | Priority Date | Filing Date |
|---|---|---|---|
| CN201120463460XU Expired - Lifetime CN202329695U (en) | 2011-11-21 | 2011-11-21 | Probe structure of vortex shedding flowmeter |
Country Status (1)
| Country | Link |
|---|---|
| CN (1) | CN202329695U (en) |
Cited By (3)
| Publication number | Priority date | Publication date | Assignee | Title |
|---|---|---|---|---|
| CN104455433A (en) * | 2014-11-18 | 2015-03-25 | 中环天仪股份有限公司 | Rubber plug seat of vortex street flow meter |
| CN107525551A (en) * | 2017-09-26 | 2017-12-29 | 威海坤科流量仪表股份有限公司 | Vortex-shedding meter |
| CN114964391A (en) * | 2022-07-28 | 2022-08-30 | 潍坊奥博仪表科技发展有限公司 | Anti-seismic vortex shedding flowmeter probe structure |
-
2011
- 2011-11-21 CN CN201120463460XU patent/CN202329695U/en not_active Expired - Lifetime
Cited By (5)
| Publication number | Priority date | Publication date | Assignee | Title |
|---|---|---|---|---|
| CN104455433A (en) * | 2014-11-18 | 2015-03-25 | 中环天仪股份有限公司 | Rubber plug seat of vortex street flow meter |
| CN107525551A (en) * | 2017-09-26 | 2017-12-29 | 威海坤科流量仪表股份有限公司 | Vortex-shedding meter |
| CN107525551B (en) * | 2017-09-26 | 2024-09-13 | 威海坤科流量仪表股份有限公司 | Vortex street flowmeter |
| CN114964391A (en) * | 2022-07-28 | 2022-08-30 | 潍坊奥博仪表科技发展有限公司 | Anti-seismic vortex shedding flowmeter probe structure |
| CN114964391B (en) * | 2022-07-28 | 2022-11-01 | 潍坊奥博仪表科技发展有限公司 | Anti-seismic vortex shedding flowmeter probe structure |
Similar Documents
| Publication | Publication Date | Title |
|---|---|---|
| CN101255791B (en) | Oil-gas-water multiphase flow flow measurement device | |
| CN103439528A (en) | Method and device for measuring flow speed of dense paste based on electromagnetic signal cross correlation | |
| CN202329695U (en) | Probe structure of vortex shedding flowmeter | |
| CN108680208A (en) | A kind of hot type flux of vortex street metering device, flowmeter and its flow-measuring method | |
| CN208109188U (en) | Vortex-shedding meter | |
| CN102445245B (en) | Flow rate measurement device based on bridge-type flow rate measurement and electromagnetic flow rate measurement | |
| CN103591994A (en) | High-accuracy flow measuring device not affected by environmental factors | |
| CN105952435A (en) | Vortex shedding flow-meter suitable for oil-water well underground | |
| CN202255473U (en) | Intelligent quake-proof vortex precession flow meter | |
| CN205719120U (en) | Intelligent magnetoelectric vortex shedding flowmeter | |
| CN101819051B (en) | Vortex street flowmeter probe and vortex street flowmeter using probe | |
| CN1487289A (en) | Two-phase gas-liquid flow capacitive sensor | |
| CN203893894U (en) | Flexible body based vortex shedding flowmeter | |
| CN201081746Y (en) | Magnetoelectric vortex shedding flow meter | |
| CN105973317A (en) | Bidirectional metering vortex shedding flowmeter | |
| CN2639883Y (en) | Gas-liquid velocity of flow and phase capacity sensor | |
| CN201653463U (en) | VFP and VF employing same | |
| CN203587156U (en) | High-precision flow rate measuring device without being affected by environmental factor | |
| CN209355997U (en) | A kind of eddy currents gas flowmeter | |
| CN1420341A (en) | Electromagnetic differential vortex street flowmeter | |
| CN104121954B (en) | Non-full-tube electromagnetic flow meter based on two-dimentional induced potential | |
| CN202329711U (en) | Flow measurement device based on bridge type flow measurement and electromagnetic flow measurement | |
| CN2839978Y (en) | Vortex type electromagnetic flowmeter | |
| CN208187472U (en) | A kind of the flux of vortex street metering device and flowmeter of wide-range | |
| CN202494487U (en) | Filter with flange |
Legal Events
| Date | Code | Title | Description |
|---|---|---|---|
| C14 | Grant of patent or utility model | ||
| GR01 | Patent grant | ||
| CX01 | Expiry of patent term | ||
| CX01 | Expiry of patent term |
Granted publication date: 20120711 |
