CN202325431U - Dual-well belt-type oil pumping unit - Google Patents
Dual-well belt-type oil pumping unit Download PDFInfo
- Publication number
- CN202325431U CN202325431U CN2011204981408U CN201120498140U CN202325431U CN 202325431 U CN202325431 U CN 202325431U CN 2011204981408 U CN2011204981408 U CN 2011204981408U CN 201120498140 U CN201120498140 U CN 201120498140U CN 202325431 U CN202325431 U CN 202325431U
- Authority
- CN
- China
- Prior art keywords
- belt
- main
- fixed
- mainframe
- auxiliary
- Prior art date
- Legal status (The legal status is an assumption and is not a legal conclusion. Google has not performed a legal analysis and makes no representation as to the accuracy of the status listed.)
- Expired - Fee Related
Links
- 238000005086 pumping Methods 0.000 title abstract description 7
- 230000007704 transition Effects 0.000 claims abstract description 16
- 230000008878 coupling Effects 0.000 claims abstract description 11
- 238000010168 coupling process Methods 0.000 claims abstract description 11
- 238000005859 coupling reaction Methods 0.000 claims abstract description 11
- 239000003638 chemical reducing agent Substances 0.000 claims description 7
- 239000003129 oil well Substances 0.000 description 2
- 241000208340 Araliaceae Species 0.000 description 1
- 235000005035 Panax pseudoginseng ssp. pseudoginseng Nutrition 0.000 description 1
- 235000003140 Panax quinquefolius Nutrition 0.000 description 1
- 238000005299 abrasion Methods 0.000 description 1
- 238000005516 engineering process Methods 0.000 description 1
- 235000008434 ginseng Nutrition 0.000 description 1
- 238000004519 manufacturing process Methods 0.000 description 1
- 239000010913 used oil Substances 0.000 description 1
- 239000002699 waste material Substances 0.000 description 1
Images
Landscapes
- Devices For Conveying Motion By Means Of Endless Flexible Members (AREA)
Abstract
The utility model provides a dual-well belt-type oil pumping unit. A main rack and an auxiliary rack are fixed on a base, a motor is fixed on the base, and a brake device is arranged at one end of the base; a balance frame is fixed at the lower part in the main rack, and a guide rail is arranged between the balance frame and the main rack; a main crown sheave is arranged at the top of the main rack, and a main roller is arranged at the bottom of the main rack; an auxiliary crown sheave is arranged at the top of the auxiliary rack, and an auxiliary roller is arranged at the bottom of the auxiliary rack; the main roller and the auxiliary roller are connected through a coupling, and a reduction gear is connected with the main roller through a coupler; a transition wheel is fixed on a retreat support which is fixed at one side of the main rack; and one end of a belt is wound on the main roller, the other end of the belt is connected with a beam hanger through the main crown sheave and the transition wheel, one end of another belt is wound in an opposite direction on the auxiliary roller, and the other end of the another belt is connected with the beam hanger through the auxiliary crown sheave and the transition wheel. The dual-well belt-type oil pumping unit has the advantages of reasonable structure, high efficiency, and obvious labor-saving effect.
Description
Affiliated technical field
the utility model relates to the oil pumping machinery of oil equipment, specifically, is exactly twin-well belt-type oil pumper.
Background technology
China's existing mechanical oil production method is main there to be bar to recover the oil still, accounts for more than 80% of all machine-pumped oil wells.The widely used oil pumping machinery in China oil field mainly is beam pumping unit.It has advantage simple in structure, reliable, long-lived.But because its operating principle and structural problem, exist that efficient is low, volume big, " low load with strong power " phenomenon is serious, the development long stroke, the low jig frequency development is difficulty very.The oil pumper of the chain type of development switching-over has in recent years played certain function in long stroke, low jig frequency oil pumping.But because of sprocket wheel, the chain drive of using, it is short to exist quick abrasion, application life, exists in chain and the sprocket engagement and impacts, and lubricated difficulty, keeps in repair shortcoming such as inconvenience.Also the motor positive and inverse oil pumper of development transfers ginseng easily in recent years, but the shortcomings such as moment of torsion is not enough that commutate.Especially the situation of two oil well close is a lot, must two oil pumpers of frame, extremely waste.
The utility model content
The purpose of
the utility model is to provide a kind of twin-well belt-type oil pumper.
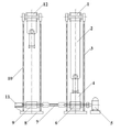
technical scheme that the utility model adopted is: a kind of twin-well belt-type oil pumper; Comprise motor, reducer, mainframe, secondary frame, the support of stepping down, balance frame, main crown sheave, secondary crown sheave, transition wheel, belt, master rotor, auxiliary cylinder, shaft coupling, guide rail, brake gear; Mainframe and secondary frame are fixed on the base; Motor is fixed on the base, and brake gear is loaded on an end of base; The bottom is fixed with balance frame in the mainframe, is provided with guide rail between balance frame and the mainframe; Main crown sheave is located at the mainframe top, and master rotor is located at the mainframe bottom; Secondary crown sheave is located at secondary frame top, and auxiliary cylinder is located at secondary frame bottom; Master rotor is connected through shaft coupling with auxiliary cylinder, and reducer links to each other with master rotor through shaft coupling; Transition wheel is fixed on the support of stepping down, and the support of stepping down is fixed in a side of mainframe; Article one, an end of belt is wound on the master rotor, and the other end is connected with polished rod eye through main crown sheave, transition wheel, and another belt one end is wound on the auxiliary cylinder by rightabout, and the other end is connected with polished rod eye through secondary crown sheave, transition wheel.
On
secondary frame with auxiliary roller axis to being connected with signal pickup assembly.
support of stepping down can be opened to both sides.
compared with prior art, the utility model has the advantages that: drive two oil pumper operations through the positive and negative operation of motor, rational in infrastructure, efficient is high, and power saving is obvious.
Description of drawings
Fig. 1 is the main TV structure sketch map of the utility model.
Fig. 2 is the left TV structure sketch map of the utility model.
Among
figure: 1 is main crown sheave, and 2 is belt, and 3 is mainframe, and 4 is balance frame, and 5 is reducer; 6 is master rotor, and 7 is shaft coupling, and 8 is base, and 9 is auxiliary cylinder, and 10 is secondary frame; 11 is signal pickup assembly, and 12 is secondary crown sheave, and 13 is transition wheel, and 14 are the support of stepping down; 15 is guide rail, and 16 is polished rod eye, and 17 is brake gear, and 18 is motor.
The specific embodiment
a kind of twin-well belt-type oil pumper; Comprise motor 18, reducer 5, mainframe 3, secondary frame 10, the support 14 of stepping down, balance frame 4, main crown sheave 1, secondary crown sheave 12, transition wheel 13, belt 2, master rotor 6, auxiliary cylinder 9, shaft coupling 7, guide rail 15, brake gear 17; Mainframe 3 is fixed on the base 8 with secondary frame 10; Motor 18 is fixed on the base 8, and brake gear 17 is loaded on an end of base 8; The bottom is fixed with balance frame 4 in the mainframe 3, is provided with guide rail 15 between balance frame 4 and the mainframe 3; Main crown sheave 1 is located at mainframe 3 tops, and master rotor 6 is located at mainframe 3 bottoms; Secondary crown sheave 12 is located at secondary frame 10 tops, and auxiliary cylinder 9 is located at secondary frame 10 bottoms; Master rotor 6 is connected through shaft coupling 7 with auxiliary cylinder 9, and reducer 5 links to each other with master rotor 6 through shaft coupling; Transition wheel 13 is fixed on the support 14 of stepping down, and the support 14 of stepping down is fixed in a side of mainframe 3; Article one, an end of belt 2 is wound on the master rotor 6; The other end is connected with polished rod eye 16 through main crown sheave 1, transition wheel 13; Another belt 2 one ends are wound on the auxiliary cylinder 9 by rightabout, and the other end is connected with polished rod eye 16 through secondary crown sheave 12, transition wheel 13.
Axially be connected with signal pickup assembly 11 with auxiliary cylinder 9 on
secondary frame 10.
support 14 of stepping down can be opened to both sides.
Claims (3)
1. twin-well belt-type oil pumper; Comprise motor, reducer, mainframe, secondary frame, the support of stepping down, balance frame, main crown sheave, secondary crown sheave, transition wheel, belt, master rotor, auxiliary cylinder, shaft coupling, guide rail, brake gear; It is characterized in that mainframe and secondary frame are fixed on the base; Motor is fixed on the base, and brake gear is loaded on an end of base; The bottom is fixed with balance frame in the mainframe, is provided with guide rail between balance frame and the mainframe; Main crown sheave is located at the mainframe top, and master rotor is located at the mainframe bottom; Secondary crown sheave is located at secondary frame top, and auxiliary cylinder is located at secondary frame bottom; Master rotor is connected through shaft coupling with auxiliary cylinder, and reducer links to each other with master rotor through shaft coupling; Transition wheel is fixed on the support of stepping down, and the support of stepping down is fixed in a side of mainframe; Article one, an end of belt is wound on the master rotor, and the other end is connected with polished rod eye through main crown sheave, transition wheel, and another belt one end is wound on the auxiliary cylinder by rightabout, and the other end is connected with polished rod eye through secondary crown sheave, transition wheel.
2. a kind of twin-well belt-type oil pumper according to claim 1, it is characterized in that on the secondary frame with auxiliary roller axis to being connected with signal pickup assembly.
3. a kind of twin-well belt-type oil pumper according to claim 1, the support that it is characterized in that stepping down can be opened to both sides.
Priority Applications (1)
| Application Number | Priority Date | Filing Date | Title |
|---|---|---|---|
| CN2011204981408U CN202325431U (en) | 2011-12-05 | 2011-12-05 | Dual-well belt-type oil pumping unit |
Applications Claiming Priority (1)
| Application Number | Priority Date | Filing Date | Title |
|---|---|---|---|
| CN2011204981408U CN202325431U (en) | 2011-12-05 | 2011-12-05 | Dual-well belt-type oil pumping unit |
Publications (1)
| Publication Number | Publication Date |
|---|---|
| CN202325431U true CN202325431U (en) | 2012-07-11 |
Family
ID=46437413
Family Applications (1)
| Application Number | Title | Priority Date | Filing Date |
|---|---|---|---|
| CN2011204981408U Expired - Fee Related CN202325431U (en) | 2011-12-05 | 2011-12-05 | Dual-well belt-type oil pumping unit |
Country Status (1)
| Country | Link |
|---|---|
| CN (1) | CN202325431U (en) |
Cited By (1)
| Publication number | Priority date | Publication date | Assignee | Title |
|---|---|---|---|---|
| CN102400665A (en) * | 2011-12-05 | 2012-04-04 | 刘其发 | Double-well belt type oil pumping machine |
-
2011
- 2011-12-05 CN CN2011204981408U patent/CN202325431U/en not_active Expired - Fee Related
Cited By (1)
| Publication number | Priority date | Publication date | Assignee | Title |
|---|---|---|---|---|
| CN102400665A (en) * | 2011-12-05 | 2012-04-04 | 刘其发 | Double-well belt type oil pumping machine |
Similar Documents
| Publication | Publication Date | Title |
|---|---|---|
| CN102817587B (en) | Direct drive motor pumping unit | |
| CN201212382Y (en) | Pin shaft reversing chain type long stroke pumping unit | |
| CN201103533Y (en) | Oil-pumping device for flexible transmission machine | |
| CN101975046A (en) | Composite head sheave type chain drive pumping unit | |
| CN202325431U (en) | Dual-well belt-type oil pumping unit | |
| CN203905911U (en) | Long-stroke energy-saving pumping unit | |
| CN201560752U (en) | Double-well linear pumping unit | |
| CN202507108U (en) | Hydraulic cylinder speed multiplication mechanism | |
| CN101413386A (en) | Non-gear counterweight drawing type oil pumping machine provided with motor at lower | |
| CN202984350U (en) | Stretching unbender chain transmission lifting pin mechanism with guide | |
| CN201802486U (en) | Engine train structure | |
| CN201531251U (en) | Energy-saving pumping unit | |
| CN102400665A (en) | Double-well belt type oil pumping machine | |
| CN201031669Y (en) | Energy conservation type oil pumping machine | |
| CN201650224U (en) | Heavy hammer balance type petroleum pumping unit | |
| CN202228046U (en) | Double-well oil pumping unit of direct-drive motor | |
| CN202955196U (en) | Chain transmission reversing device of beam-pumping unit | |
| CN202560169U (en) | Dual traction pumping unit | |
| CN203412551U (en) | Intelligent mute type oil sucking machine | |
| CN201753598U (en) | Chain type twin-well energy-saving oil extractor | |
| CN203197538U (en) | Device for detaching chain pin | |
| CN205260010U (en) | Balanced poor beam -pumping unit of it flat | |
| CN201334867Y (en) | Travelling block used for top drive | |
| CN101139921A (en) | Guide-roller type long stroke energy-saving pumping unit | |
| CN201007198Y (en) | Directly balancing flexible drive oil pumping machine |
Legal Events
| Date | Code | Title | Description |
|---|---|---|---|
| C14 | Grant of patent or utility model | ||
| GR01 | Patent grant | ||
| CF01 | Termination of patent right due to non-payment of annual fee |
Granted publication date: 20120711 Termination date: 20151205 |
|
| EXPY | Termination of patent right or utility model |