CN202322545U - Sewage reuse treatment device - Google Patents

Sewage reuse treatment device Download PDF

Info

Publication number
CN202322545U
CN202322545U CN2011204954824U CN201120495482U CN202322545U CN 202322545 U CN202322545 U CN 202322545U CN 2011204954824 U CN2011204954824 U CN 2011204954824U CN 201120495482 U CN201120495482 U CN 201120495482U CN 202322545 U CN202322545 U CN 202322545U
Authority
CN
China
Prior art keywords
mineral filler
ion exchange
pipe
exchange column
sewage
Prior art date
Legal status (The legal status is an assumption and is not a legal conclusion. Google has not performed a legal analysis and makes no representation as to the accuracy of the status listed.)
Expired - Fee Related
Application number
CN2011204954824U
Other languages
Chinese (zh)
Inventor
李华
胡登燕
朱豪
郑传勇
Current Assignee (The listed assignees may be inaccurate. Google has not performed a legal analysis and makes no representation or warranty as to the accuracy of the list.)
Sichuan Stong Omex Environmental Engineering Co Ltd
Original Assignee
Sichuan Stong Omex Environmental Engineering Co Ltd
Priority date (The priority date is an assumption and is not a legal conclusion. Google has not performed a legal analysis and makes no representation as to the accuracy of the date listed.)
Filing date
Publication date
Application filed by Sichuan Stong Omex Environmental Engineering Co Ltd filed Critical Sichuan Stong Omex Environmental Engineering Co Ltd
Priority to CN2011204954824U priority Critical patent/CN202322545U/en
Application granted granted Critical
Publication of CN202322545U publication Critical patent/CN202322545U/en
Anticipated expiration legal-status Critical
Expired - Fee Related legal-status Critical Current

Links

Images

Classifications

    • YGENERAL TAGGING OF NEW TECHNOLOGICAL DEVELOPMENTS; GENERAL TAGGING OF CROSS-SECTIONAL TECHNOLOGIES SPANNING OVER SEVERAL SECTIONS OF THE IPC; TECHNICAL SUBJECTS COVERED BY FORMER USPC CROSS-REFERENCE ART COLLECTIONS [XRACs] AND DIGESTS
    • Y02TECHNOLOGIES OR APPLICATIONS FOR MITIGATION OR ADAPTATION AGAINST CLIMATE CHANGE
    • Y02WCLIMATE CHANGE MITIGATION TECHNOLOGIES RELATED TO WASTEWATER TREATMENT OR WASTE MANAGEMENT
    • Y02W10/00Technologies for wastewater treatment
    • Y02W10/10Biological treatment of water, waste water, or sewage

Landscapes

  • Separation Of Suspended Particles By Flocculating Agents (AREA)

Abstract

The utility model discloses a sewage reuse treatment device, which comprises a water inlet pipe (8), a clarification tank (1), a mineral filler ion exchange column (2) and a disinfecting tank (3). A flocculating chamber (4) is arranged in the clarification tank (1), the water inlet pipe (8) enters from the lower part of the clarification tank (1) and extends into the flocculating chamber (4), the upper part of the clarification tank (1) is communicated with the upper part of the mineral filler ion exchange column (2) through a water pipe, a mineral filler (12) is arranged in the mineral filler ion exchange column (2), the lower part of the mineral filler ion exchange column (2) is communicated with the disinfecting tank (3) through a water pipe, and a water outlet pipe (13) is arranged on the upper part of the disinfecting tank (3). By adopting the device with the structure, the precipitation performance of sewage can be enhanced, the removal rate of pollutants is improved, the treated sewage can be used as non-drinking water for recycling, use of tap water is reduced, and the resource utilization rate of the sewage is improved.

Description

一种污水回用处理装置A sewage reuse treatment device

技术领域 technical field

本实用新型涉及污水处理再生利用领域,具体是一种污水回用处理装置。 The utility model relates to the field of sewage treatment and recycling, in particular to a sewage reuse treatment device.

背景技术 Background technique

随着工业化的发展,水资源越来越短缺,污水排放量越来越大,面源污染加剧,加上缺少适用和节能的治理技术,污水管网和水处理设施建设滞后等,成为我国新农村和城市化建设的障碍之一。我国将环境保护作为一项基本国策,保护水资源,节能减排,势在必行。污水的再次回收利用则是国际上公认的“城市第二水源”,因此,世界上许多缺水的城市都在广泛地采用中水的回用,作为节水最重要的措施之一。现有的污水处理一般将污水处理达标后排放,但是这部分水还有很大的利用价值,进一步处理达到杂用水标准后,用作杂用水,比如城市绿化、路面洒水等,可以减少自来水的使用,提高污水的资源化利用率。 With the development of industrialization, water resources are becoming more and more scarce, sewage discharge is increasing, non-point source pollution is intensifying, coupled with the lack of applicable and energy-saving treatment technologies, and the construction of sewage pipe networks and water treatment facilities is lagging behind. One of the obstacles to rural and urbanization. my country regards environmental protection as a basic national policy, and it is imperative to protect water resources, save energy and reduce emissions. Recycling of sewage is internationally recognized as the "second water source for cities". Therefore, many water-scarce cities in the world are widely adopting reclaimed water as one of the most important water-saving measures. The existing sewage treatment generally discharges the sewage after it reaches the standard, but this part of the water still has a great value of use. After further treatment reaches the miscellaneous water standard, it can be used as miscellaneous water, such as urban greening, road sprinkling, etc., which can reduce the waste of tap water. Use to improve the resource utilization rate of sewage.

实用新型内容 Utility model content

本实用新型提供了一种污水回用处理装置,能增强污水的沉淀性能,提高污染物的去除率,可以将污水处理后作为杂用水回用,减少了自来水的使用,提高了污水的资源化利用率。 The utility model provides a sewage reuse treatment device, which can enhance the sedimentation performance of sewage, improve the removal rate of pollutants, and can reuse the treated sewage as miscellaneous water, reduce the use of tap water, and improve the resource utilization of sewage utilization rate.

本实用新型的目的通过下述技术方案实现:一种污水回用处理装置,包括进水管、澄清池、矿物填料离子交换柱以及消毒池,所述澄清池的顶部设有盖子,澄清池的上部呈圆柱形,下部呈圆锥形,澄清池内设有絮凝室,所述絮凝室的上端固定在盖子上,所述进水管从澄清池的下部进入并伸入絮凝室中,进水管上设有管道混合器,所述管道混合器通过加药管与加药装置连通,所述澄清池的上部通过水管与矿物填料离子交换柱的上部连通,所述矿物填料离子交换柱内设有矿物填料,矿物填料离子交换柱的下部通过水管与消毒池连通,消毒池的上部设有出水管。 The purpose of this utility model is achieved through the following technical solutions: a sewage reuse treatment device, including a water inlet pipe, a clarifier, a mineral filler ion exchange column and a disinfection tank, the top of the clarifier is provided with a cover, and the upper part of the clarifier It is cylindrical and the lower part is conical. There is a flocculation chamber in the clarification tank. The upper end of the flocculation chamber is fixed on the cover. The water inlet pipe enters from the lower part of the clarification tank and extends into the flocculation chamber. There is a pipe on the water inlet pipe. Mixer, the pipeline mixer communicates with the dosing device through the dosing pipe, the upper part of the clarification tank communicates with the upper part of the mineral filler ion exchange column through the water pipe, and the mineral filler ion exchange column is provided with mineral filler, mineral The lower part of the packed ion exchange column communicates with the disinfection tank through a water pipe, and the upper part of the disinfection tank is provided with a water outlet pipe.

所述絮凝室的形状为圆柱形,且絮凝室设置在澄清池的中心线上,絮凝室内设有曝气管。 The shape of the flocculation chamber is cylindrical, and the flocculation chamber is arranged on the center line of the clarification tank, and an aeration pipe is arranged in the flocculation chamber.

所述澄清池内设有过滤填料,过滤填料呈圆环状套在絮凝室上,且过滤填料的外部边缘固定在澄清池的内壁上。 The clarification tank is provided with filter packing, which is ring-shaped and sleeved on the flocculation chamber, and the outer edge of the filter packing is fixed on the inner wall of the clarification tank.

所述矿物填料离子交换柱的形状为圆柱形,矿物填料固定在矿物填料离子交换柱的中部。 The shape of the mineral filler ion exchange column is cylindrical, and the mineral filler is fixed in the middle of the mineral filler ion exchange column.

所述矿物填料离子交换柱的下部设有污泥管道。 A sludge pipeline is provided at the lower part of the ion exchange column with mineral filler.

所述澄清池的下部设有排空管和污泥排出管。 The lower part of the clarifier is provided with an emptying pipe and a sludge discharge pipe.

所述矿物填料为斜发沸石。 The mineral filler is clinoptilolite.

本实用新型与现有技术相比具有以下优点: Compared with the prior art, the utility model has the following advantages:

(1)本实用新型在进水管上设置了管道混合器,使污水能迅速与药剂混凝反应,在絮凝室中进行絮凝反应后,清水与沉淀物自然分离,增强了污水的沉淀性能,提高了污染物的去除率。 (1) The utility model is equipped with a pipeline mixer on the water inlet pipe, so that the sewage can quickly coagulate with the chemical agent. After the flocculation reaction is carried out in the flocculation chamber, the clear water and the sediment are naturally separated, which enhances the sedimentation performance of the sewage and improves removal rate of pollutants.

(2)污水进行絮凝反应后,会在澄清池的中下部形成了一个十分致密的悬浮泥层,当絮凝后的出水由下向上穿过此悬浮泥层时,悬浮泥层靠界面物理吸附和电化学特性的作用,将悬浮胶体颗粒、絮体、细菌菌体等杂质全部拦截在此悬浮泥层下部,起到了很好的过滤效果。 (2) After the sewage undergoes flocculation reaction, a very dense suspended mud layer will be formed in the middle and lower part of the clarification tank. When the flocculated effluent passes through the suspended mud layer from bottom to top, the suspended mud layer will be physically adsorbed by the interface and Due to the electrochemical characteristics, all impurities such as suspended colloidal particles, flocs, and bacterial cells are intercepted in the lower part of the suspended mud layer, which has a good filtering effect.

(3)本实用新型的矿物填料离子交换柱具有强大的离子交换性能,可以去除常规工艺难以去除的污染物,如重金属、氨氮以及磷等污染物,无需再添加化学药剂,再经消毒净化后的污水到达一定标准,可以进行中水回用,提高了污水的资源化利用率。 (3) The mineral-filled ion-exchange column of the utility model has strong ion-exchange performance, and can remove pollutants that are difficult to remove by conventional processes, such as heavy metals, ammonia nitrogen, and phosphorus, without adding chemicals, and then after disinfection and purification When the sewage reaches a certain standard, the reclaimed water can be reused, which improves the resource utilization rate of sewage.

附图说明 Description of drawings

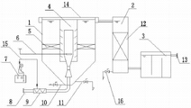
图1为本实用新型的结构示意图。 Fig. 1 is the structural representation of the utility model.

附图中附图标记所对应的名称为:1、澄清池,2、矿物填料离子交换柱,3、消毒池,4、絮凝室,5、过滤填料,6、曝气管,7、加药装置,8、进水管,9、管道混合器,10、排空管,11、污泥排放管,12、矿物填料,13、出水管,14、盖子,15、加药管,16、污泥管道。 The names corresponding to the reference signs in the attached drawings are: 1. clarification tank, 2. mineral filler ion exchange column, 3. disinfection tank, 4. flocculation chamber, 5. filter packing, 6. aeration tube, 7. dosing Device, 8. Inlet pipe, 9. Pipeline mixer, 10. Evacuation pipe, 11. Sludge discharge pipe, 12. Mineral filler, 13. Outlet pipe, 14. Cover, 15. Dosing pipe, 16. Sludge pipeline.

具体实施方式 Detailed ways

下面结合实施例及附图,对本实用新型作进一步的详细说明,但本实用新型的实施方式不仅限于此。 The utility model will be further described in detail below in conjunction with the embodiments and accompanying drawings, but the implementation of the utility model is not limited thereto.

实施例: Example:

如图1所示,本实用新型包括进水管8、澄清池1、矿物填料离子交换柱2以及消毒池3,澄清池1的顶部设有盖子14,澄清池1的上部呈圆柱形,下部呈圆锥形,澄清池1的上部通过水管与矿物填料离子交换柱2的上部连通,矿物填料离子交换柱2的下部通过水管与消毒池3连通,消毒池3的上部设有出水管13。 As shown in Figure 1, the utility model includes a water inlet pipe 8, a clarification tank 1, a mineral filler ion exchange column 2 and a disinfection tank 3. The top of the clarification tank 1 is provided with a cover 14. The upper part of the clarification tank 1 is cylindrical, and the lower part is a Conical, the upper part of the clarifier 1 communicates with the upper part of the mineral filler ion exchange column 2 through a water pipe, and the lower part of the mineral filler ion exchange column 2 communicates with the disinfection tank 3 through a water pipe, and the upper part of the disinfection tank 3 is provided with an outlet pipe 13.

本实施例的澄清池1内设有絮凝室4,澄清池1的下部设有排空管10和污泥排出管11,澄清池1内还设有过滤填料5,过滤填料5呈圆环状套在絮凝室4上,且过滤填料5的外部边缘固定在澄清池1的内壁上。 The clarifier 1 of this embodiment is provided with a flocculation chamber 4, the bottom of the clarifier 1 is provided with an emptying pipe 10 and a sludge discharge pipe 11, and a filter filler 5 is also provided in the clarifier 1, and the filter filler 5 is in the shape of a ring Set on the flocculation chamber 4, and the outer edge of the filter packing 5 is fixed on the inner wall of the clarification tank 1.

本实施例的絮凝室4的上端固定在盖子14上,絮凝室4的形状为圆柱形,且絮凝室4设置在澄清池1的中心线上,絮凝室4内设有曝气管6。 The upper end of the flocculation chamber 4 of this embodiment is fixed on the cover 14 , the shape of the flocculation chamber 4 is cylindrical, and the flocculation chamber 4 is arranged on the center line of the clarification tank 1 , and an aeration tube 6 is arranged in the flocculation chamber 4 .

本实施例的进水管8从澄清池1的下部进入并伸入絮凝室4中,进水管8上设有管道混合器9,管道混合器9通过加药管15与加药装置7连通。 In this embodiment, the water inlet pipe 8 enters from the lower part of the clarifier 1 and extends into the flocculation chamber 4 . The water inlet pipe 8 is provided with a pipeline mixer 9 , and the pipeline mixer 9 communicates with the medicine dosing device 7 through the medicine dosing pipe 15 .

本实施例的矿物填料离子交换柱2的形状为圆柱形,矿物填料离子交换柱2内设有矿物填料12,矿物填料离子交换柱2的下部设有污泥管道16,矿物填料12固定在矿物填料离子交换柱2的中部,作为优选,本实施例的矿物填料12为斜发沸石。  The shape of the mineral filler ion exchange column 2 of the present embodiment is cylindrical, and the mineral filler ion exchange column 2 is provided with a mineral filler 12, and the bottom of the mineral filler ion exchange column 2 is provided with a sludge pipeline 16, and the mineral filler 12 is fixed on the mineral filler. In the middle of the packed ion exchange column 2, as a preference, the mineral filler 12 of this embodiment is clinoptilolite. the

本实用新型的工作原理:待处理的污水从进水管8进入,在管道混合器9中与药剂反应,并通过进水管8从澄清池1的下部进入絮凝室4,在曝气管6的曝气作用下进一步反应,再从絮凝室4的顶部进入澄清池1的下部,污水在向下流动中产生絮凝和沉淀,在澄清池1的底部向上流入澄清池1上部的过程中,会在澄清池1内分离出清水,使得在澄清池的中下部形成了一个十分致密的悬浮泥层,污泥从污泥排放管11排出澄清池1,所有经过混凝后分离出来的清水都必须通过这个悬浮泥层的过滤,才能升流到澄清池上部的清水汇集区,这个致密的悬浮泥层巧妙并成功地起到了污水高级处理工艺中极为重要的过滤作用;这个悬浮泥层是由污水中的污泥与污水处理剂混凝后形成的絮体组成的,当混凝后的出水由下向上穿过此悬浮泥层时,絮体滤层靠界面物理吸附和电化学特性的作用,将悬浮胶体颗粒、絮体、细菌菌体等杂质全部拦截在此悬浮泥层下部,清水则从澄清池1的顶部通过水管流入矿物填料离子交换柱2中,矿物填料离子交换柱2中的矿物填料12采用斜发沸石,具有强大的离子交换性能,将残余的氨氮、重金属和污染物做进一步的去除,用过的斜发沸石经再生后再重复使用,经过离子交换处理后的清水,送入消毒池3中进行彻底的消毒杀菌,使出水达到中水回用水质的标准,最后从出水管13流出。分离出的污泥通过污泥管道16排到污泥浓缩池,达到饱和的污泥压缩后外运。 The working principle of the utility model: the sewage to be treated enters from the water inlet pipe 8, reacts with the medicament in the pipeline mixer 9, and enters the flocculation chamber 4 from the lower part of the clarification tank 1 through the water inlet pipe 8, and enters the flocculation chamber 4 in the aeration pipe 6 Under the action of air, it further reacts, and then enters the lower part of the clarification tank 1 from the top of the flocculation chamber 4, and the sewage generates flocculation and sedimentation in the downward flow, and in the process of flowing upward from the bottom of the clarification tank 1 into the upper part of the clarification tank 1, it will be in the clarification The clear water is separated in the tank 1, so that a very dense suspended mud layer is formed in the middle and lower part of the clarifier tank, and the sludge is discharged from the sludge discharge pipe 11 to the clarifier tank 1, and all the clear water separated after coagulation must pass through this The filtration of the suspended mud layer can rise to the clear water collection area on the upper part of the clarifier. This dense suspended mud layer skillfully and successfully plays an extremely important role in the filtration of advanced sewage treatment processes; this suspended mud layer is formed by the sewage in the sewage It is composed of flocs formed after the coagulation of sludge and sewage treatment agent. When the coagulated effluent passes through the suspended mud layer from bottom to top, the floc filter layer will be suspended by the interface physical adsorption and electrochemical characteristics. Colloidal particles, flocs, bacterial cells and other impurities are all intercepted in the lower part of the suspended mud layer, and the clear water flows from the top of the clarification tank 1 through the water pipe into the mineral filler ion exchange column 2, and the mineral filler 12 in the mineral filler ion exchange column 2 Clinoptilolite is used, which has strong ion exchange performance, and the residual ammonia nitrogen, heavy metals and pollutants are further removed. The used clinoptilolite is regenerated and reused, and the clean water after ion exchange treatment is sent to disinfection Carry out thorough disinfection and sterilization in the pond 3, make outlet water reach the standard of reclaimed water quality, flow out from outlet pipe 13 at last. The separated sludge is discharged to the sludge thickening tank through the sludge pipeline 16, and the saturated sludge is compressed and transported outside.

如上所述,便可较好的实现本实用新型。 As mentioned above, the utility model can be better realized.

Claims (7)

1.一种污水回用处理装置,其特征在于:包括进水管(8)、澄清池(1)、矿物填料离子交换柱(2)以及消毒池(3),所述澄清池(1)的顶部设有盖子(14),澄清池(1)的上部呈圆柱形,下部呈圆锥形,澄清池(1)内设有絮凝室(4),所述絮凝室(4)的上端固定在盖子(14)上,所述进水管(8)从澄清池(1)的下部进入并伸入絮凝室(4)中,进水管(8)上设有管道混合器(9),所述管道混合器(9)通过加药管(15)与加药装置(7)连通,所述澄清池(1)的上部通过水管与矿物填料离子交换柱(2)的上部连通,所述矿物填料离子交换柱(2)内设有矿物填料(12),矿物填料离子交换柱(2)的下部通过水管与消毒池(3)连通,消毒池(3)的上部设有出水管(13)。 1. A sewage reuse treatment device, characterized in that: it includes a water inlet pipe (8), a clarifier (1), a mineral filler ion exchange column (2) and a disinfection tank (3), and the clarifier (1) There is a cover (14) on the top, the upper part of the clarification tank (1) is cylindrical, and the lower part is conical. The clarification tank (1) is equipped with a flocculation chamber (4), and the upper end of the flocculation chamber (4) is fixed on the cover (14), the water inlet pipe (8) enters from the lower part of the clarifier (1) and extends into the flocculation chamber (4), the water inlet pipe (8) is provided with a pipe mixer (9), and the pipe mixes The device (9) communicates with the dosing device (7) through the dosing pipe (15), and the upper part of the clarification tank (1) communicates with the upper part of the mineral filler ion exchange column (2) through a water pipe, and the mineral filler ion exchange The column (2) is provided with a mineral filler (12), and the lower part of the mineral-filled ion exchange column (2) is connected to the disinfection tank (3) through a water pipe, and the upper part of the disinfection tank (3) is provided with a water outlet pipe (13). 2.根据权利要求1所述的一种污水回用处理装置,其特征在于:所述絮凝室(4)的形状为圆柱形,且絮凝室(4)设置在澄清池(1)的中心线上,絮凝室(4)内设有曝气管(6)。 2. A sewage reuse treatment device according to claim 1, characterized in that: the shape of the flocculation chamber (4) is cylindrical, and the flocculation chamber (4) is set on the center line of the clarification tank (1) Above, the flocculation chamber (4) is provided with an aeration tube (6). 3.根据权利要求2所述的一种污水回用处理装置,其特征在于:所述澄清池(1)内设有过滤填料(5),过滤填料(5)呈圆环状套在絮凝室(4)上,且过滤填料(5)的外部边缘固定在澄清池(1)的内壁上。 3. A sewage reuse treatment device according to claim 2, characterized in that: the clarification tank (1) is provided with a filter filler (5), and the filter filler (5) is ring-shaped and set in the flocculation chamber (4), and the outer edge of the filter filler (5) is fixed on the inner wall of the clarifier (1). 4.根据权利要求1所述的一种污水回用处理装置,其特征在于:所述矿物填料离子交换柱(2)的形状为圆柱形,矿物填料(12)固定在矿物填料离子交换柱(2)的中部。 4. A sewage reuse treatment device according to claim 1, characterized in that: the mineral filler ion exchange column (2) is cylindrical in shape, and the mineral filler (12) is fixed on the mineral filler ion exchange column ( 2) The middle part. 5.根据权利要求1所述的一种污水回用处理装置,其特征在于:所述矿物填料离子交换柱(2)的下部设有污泥管道(16)。 5. A sewage reuse treatment device according to claim 1, characterized in that: a sludge pipeline (16) is provided at the lower part of the mineral filler ion exchange column (2). 6.根据权利要求1所述的一种污水回用处理装置,其特征在于:所述澄清池(1)的下部设有排空管(10)和污泥排出管(11)。 6. The sewage reuse treatment device according to claim 1, characterized in that: the lower part of the clarification tank (1) is provided with an emptying pipe (10) and a sludge discharge pipe (11). 7.根据权利要求1所述的一种污水回用处理装置,其特征在于:所述矿物填料(12)为斜发沸石。 7. The sewage reuse treatment device according to claim 1, characterized in that: the mineral filler (12) is clinoptilolite.
CN2011204954824U 2011-12-02 2011-12-02 Sewage reuse treatment device Expired - Fee Related CN202322545U (en)

Priority Applications (1)

Application Number Priority Date Filing Date Title
CN2011204954824U CN202322545U (en) 2011-12-02 2011-12-02 Sewage reuse treatment device

Applications Claiming Priority (1)

Application Number Priority Date Filing Date Title
CN2011204954824U CN202322545U (en) 2011-12-02 2011-12-02 Sewage reuse treatment device

Publications (1)

Publication Number Publication Date
CN202322545U true CN202322545U (en) 2012-07-11

Family

ID=46434534

Family Applications (1)

Application Number Title Priority Date Filing Date
CN2011204954824U Expired - Fee Related CN202322545U (en) 2011-12-02 2011-12-02 Sewage reuse treatment device

Country Status (1)

Country Link
CN (1) CN202322545U (en)

Cited By (4)

* Cited by examiner, † Cited by third party
Publication number Priority date Publication date Assignee Title
CN104150656A (en) * 2014-07-25 2014-11-19 中国环境科学研究院 Device and method for purifying biologically treated sewage through nano aerated coagulation-stirred flocculation
CN104193081A (en) * 2014-07-25 2014-12-10 席北斗 Device for filtering sewage step by step and method for treating sewage by using device
CN105016517A (en) * 2015-06-26 2015-11-04 中国南方电网有限责任公司超高压输电公司贵阳局 Device and method for treating cold feedwater outside converter station
CN105461039A (en) * 2015-12-31 2016-04-06 中新环科(天津)科技有限公司 Flocculation and sedimentation basin

Cited By (5)

* Cited by examiner, † Cited by third party
Publication number Priority date Publication date Assignee Title
CN104150656A (en) * 2014-07-25 2014-11-19 中国环境科学研究院 Device and method for purifying biologically treated sewage through nano aerated coagulation-stirred flocculation
CN104193081A (en) * 2014-07-25 2014-12-10 席北斗 Device for filtering sewage step by step and method for treating sewage by using device
CN104150656B (en) * 2014-07-25 2015-11-25 中国环境科学研究院 Nanometer aeration condenses-stirs the apparatus and method of flocculating and purifying biological treatment of sewage
CN105016517A (en) * 2015-06-26 2015-11-04 中国南方电网有限责任公司超高压输电公司贵阳局 Device and method for treating cold feedwater outside converter station
CN105461039A (en) * 2015-12-31 2016-04-06 中新环科(天津)科技有限公司 Flocculation and sedimentation basin

Similar Documents

Publication Publication Date Title
CN103739124B (en) A kind of efficient water treatment device and water treatment method
CN203866160U (en) Municipal wastewater treatment system
CN204509043U (en) One way of life sewage disposal re-use device
CN205442981U (en) Wastewater treatment system
CN102616966A (en) Device and method for groundwater defluorination
CN202322545U (en) Sewage reuse treatment device
CN107235584B (en) A new drinking water treatment process and its system
CN203820606U (en) Purification system for deep treatment of tap water
CN102826683B (en) Sewage recycling processor
CN101428943A (en) Full-flow process for upgrading and reconstructing urban sewage factory
CN204824535U (en) Fragrant of rubbish concentrate two -stage and BAF advanced treatment equipment
CN203890196U (en) Water purifying and filtering system for tap water pipe network
CN205442980U (en) Sewage purification processing system
CN201280492Y (en) Materialization processing equipment for organosilicon production sewage
CN204824536U (en) High -efficient advanced oxidation treatment equipment of rubbish concentrate
CN102942271A (en) Comprehensive treatment process of inorganic laboratory wastewater
CN207713596U (en) A kind of urban sewage treatment system
CN205419910U (en) High -efficient contact oxidation tank
CN205258243U (en) Highway sewage treatment recycling system
CN203700123U (en) Domestic sewage treatment device
CN209872603U (en) Reclaimed water recycling treatment device with high treatment capacity
CN1935675A (en) Drinking water emergency purifying process and its apparatus
CN208292749U (en) A kind of full-automatic auto purification filter device
CN207877449U (en) Sand washing wastewater treatment system
CN206368095U (en) A kind of laboratory sewage disposal system

Legal Events

Date Code Title Description
C14 Grant of patent or utility model
GR01 Patent grant
CF01 Termination of patent right due to non-payment of annual fee

Granted publication date: 20120711

Termination date: 20141202

EXPY Termination of patent right or utility model