CN202321595U - Bulk cargo feeding machine - Google Patents
Bulk cargo feeding machine Download PDFInfo
- Publication number
- CN202321595U CN202321595U CN2011204475938U CN201120447593U CN202321595U CN 202321595 U CN202321595 U CN 202321595U CN 2011204475938 U CN2011204475938 U CN 2011204475938U CN 201120447593 U CN201120447593 U CN 201120447593U CN 202321595 U CN202321595 U CN 202321595U
- Authority
- CN
- China
- Prior art keywords
- bulk cargo
- frame
- scraper
- stock guide
- keel
- Prior art date
- Legal status (The legal status is an assumption and is not a legal conclusion. Google has not performed a legal analysis and makes no representation as to the accuracy of the status listed.)
- Expired - Lifetime
Links
- 239000000463 material Substances 0.000 claims abstract description 42
- 229910000831 Steel Inorganic materials 0.000 claims description 3
- 239000010959 steel Substances 0.000 claims description 3
- 240000007594 Oryza sativa Species 0.000 abstract description 2
- 235000007164 Oryza sativa Nutrition 0.000 abstract description 2
- 235000009566 rice Nutrition 0.000 abstract description 2
- 239000010902 straw Substances 0.000 abstract 2
- 230000007547 defect Effects 0.000 abstract 1
- 238000007790 scraping Methods 0.000 abstract 1
- 238000007599 discharging Methods 0.000 description 4
- 230000007812 deficiency Effects 0.000 description 2
- 239000011229 interlayer Substances 0.000 description 2
- 230000035508 accumulation Effects 0.000 description 1
- 238000009825 accumulation Methods 0.000 description 1
- 230000008021 deposition Effects 0.000 description 1
- 238000009795 derivation Methods 0.000 description 1
- 238000004134 energy conservation Methods 0.000 description 1
- 238000005516 engineering process Methods 0.000 description 1
- 230000035611 feeding Effects 0.000 description 1
- 239000010903 husk Substances 0.000 description 1
- 238000000034 method Methods 0.000 description 1
- 239000007787 solid Substances 0.000 description 1
Images
Landscapes
- Filling Or Emptying Of Bunkers, Hoppers, And Tanks (AREA)
Abstract
The utility model provides a bulk cargo feeding machine comprising an operation device (10) and a machine frame (11), wherein the operation device (10) is supported on the machine frame (11); a tail wheel device (1) is arranged at one end of the machine frame (11); a head wheel device (6) is arranged at the other end of the machine frame (11); the tail wheel device (1) and the head wheel device (6) are used for towing the operation device (10); a driving device (8) is arranged at one end of the head wheel device (6); and the bulk cargo feeding machine further comprises an ejecting device (2), a scraping device (3) and a fed cargo guide plate (4). The bulk cargo feeding machine has the advantages that the design is reasonable; the structure is unique; the defects of the conventional feeding machine are overcome; material is conveyed uniformly; the driving power is low; energy is saved; the operating efficiency is high; and the difficult problems in uniformly feeding bulk materials such as agricultural straw, branches, forestry straw and rice hull are solved.
Description
Technical field
The utility model relates to a kind of bulk cargo feeder, belongs to mechanical equipment technical field.
Background technology
At present, existing feeder is in when work, and storage bin hopper has a large amount of solid accumulations, thereby moves with the operation belt when causing mass transport, and the material bulk deposition makes storage bin hopper generation plastic deformation at the storage bin hopper sidewall, has more increased the driving power of whole equipment.Simultaneously also can make mass transport inhomogeneous, be prone to stop up.
Summary of the invention
The purpose of the utility model is the weak point that overcomes prior art, and a kind of bulk cargo feeder is provided, and can remedy the deficiency of existing feeder, reduces the main driving power of equipment, and makes mass transport even.
The bulk cargo feeder of the utility model; Comprise running gear (10) and frame (11); Said running gear (10) is bearing on the frame (11), and an end of said frame (11) is provided with tail-pulley device (1), and the other end is provided with great wheel device (6); Said tail-pulley device (1) and great wheel device (6) are used for running under power device (10); One end of said great wheel device (6) is provided with actuating device (8), also comprises poking device (2), scraper (3) and charging stock guide (4), and said charging stock guide (4) is connected with frame (11); Said charging stock guide (4) is located at the top of running gear (10), and said poking device (2) and scraper (3) are bearing on the charging stock guide (4).
Described poking device (2) comprises that three groups are dialled the material axle; Dialling the material axle for every group forms by the driven shaft that imput shaft and symmetry are located at the both sides of imput shaft; Dial material axle for three groups and be divided into four interlayers to the overall stack material-accumulating bin, material and a belt of when mass transport, dialling material axle below move together, are dialled material by three groups when dialling a material of piling up material axle top and moving with belt and spool break up, subside; Alleviate the pressure of discharging opening inwall, guarantee the normal conveying of material.
Evenly be furnished with the rhombus blade on described imput shaft and the driven shaft, the rhombus blade can rotate in the material of piling up during rotation, thereby breaks up the material of piling up originally, and material is flow on the following balk cargo conveyor belt smoothly, thereby reaches the purpose of dialling material.
Described scraper (3) comprises S. A. and serration scraper plate, and said serration scraper plate helical array is fixed on the S. A., rotates at discharging opening, can prevent that the stifled phenomenon of card from appearring in material in the exit, can adjust the height of the bed of material simultaneously again.
Described running gear (10) comprises belt, keel and is used to draw the chain of keel that said belt is laid on the keel.
Described keel are C shaped steel.
The bulk cargo feeder of the utility model is reasonable in design, structure is unique; It has avoided the deficiency of existing feeder; Designed poking device and scraper, reduced the main driving power of equipment, and made mass transport even; Have characteristics such as little, the energy-conservation and work efficiency height of driving power, solved the difficult problem of the even feedings of diffusing property material such as agricultural stalk, branch, forestry stalk and rice husk.
Description of drawings
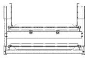
Fig. 1 is the structural representation of the utility model.
Fig. 2 for the utility model be the A of Fig. 1 to view, the structure of expression poking device (2).
Fig. 3 for the utility model be the B of Fig. 1 to view, the structure of expression scraper (3).
Fig. 4 for the utility model be the C of Fig. 1 to view, the structure of expression running gear (10).
Fig. 5 is the structural representation of running gear in the utility model.
Fig. 6 for the utility model be the D of Fig. 1 to view, the structure of expression actuating device (8).
The specific embodiment
Like Fig. 1-shown in Figure 6; The bulk cargo feeder of the utility model; Comprise tail-pulley device (1), poking device (2), scraper (3), charging stock guide (4), nonstandard hopper (5), great wheel device (6), case part (7), actuating device (8), operation stock guide (9), running gear (10), frame (11) and supporting leg (12); Wherein, nonstandard hopper (5) is connected with charging stock guide (4), and poking device (2) and scraper (3) are bearing on the charging stock guide (4); Charging stock guide (4), operation stock guide (9) are connected with frame (11); Nonstandard hopper (5), poking device (2), scraper (3), charging stock guide (4) and operation stock guide (9) all are located at the top of running gear (10), and running gear (10) is bearing on the frame (11), and supporting leg (12) is located at frame (11) below; One end of frame (11) is provided with tail-pulley device (1); The other end is provided with great wheel device (6), and an end of great wheel device (6) is provided with actuating device (8), and outer setting has case part (7).
As shown in Figure 2; Poking device (2) comprises that three groups are dialled the material axle, dials the material axle for every group and forms by the driven shaft that imput shaft and symmetry are located at the both sides of imput shaft, dials the material axle for three groups and is divided into four interlayers to the overall stack material-accumulating bin; Material and the belt of when mass transport, dialling material axle below move together; Dialled the material axle by three groups when dialling a material of piling up material axle top and moving and break up, subside, alleviate the pressure of discharging opening inwall, guarantee the normal conveying of material with belt.
Evenly be furnished with the rhombus blade on imput shaft and the driven shaft, the rhombus blade can rotate in the material of piling up during rotation, thereby breaks up the material of piling up originally, and material is flow on the following balk cargo conveyor belt smoothly, thereby reaches the purpose of dialling material.
As shown in Figure 3, scraper (3) comprises S. A. and serration scraper plate, and said serration scraper plate helical array is fixed on the S. A., rotates at discharging opening, can prevent that the stifled phenomenon of card from appearring in material in the exit, can adjust the height of the bed of material simultaneously again.
Like Fig. 4 and shown in Figure 5, running gear (10) comprises belt, keel and is used to draw the chain of keel that said belt is laid on the keel.Keel can be C shaped steel.
The working process of the utility model is following: at first material is dialled material through poking device (2) behind nonstandard hopper (5); Material is flow on the following bulk cargo sender belt smoothly; Actuating device (8) drives and makes running gear (10) transmit material through belt; While equipment is scraped material through scraper (3) when work makes material evenly to carry, after operation stock guide (9) derivation.
Claims (6)
1. bulk cargo feeder; Comprise running gear (10) and frame (11), said running gear (10) is bearing on the frame (11), and an end of said frame (11) is provided with tail-pulley device (1); The other end is provided with great wheel device (6); Said tail-pulley device (1) and great wheel device (6) are used for running under power device (10), and an end of said great wheel device (6) is provided with actuating device (8), it is characterized in that; Also comprise poking device (2), scraper (3) and charging stock guide (4); Said charging stock guide (4) is connected with frame (11), and said charging stock guide (4) is located at the top of running gear (10), and said poking device (2) and scraper (3) are bearing on the charging stock guide (4).
2. according to the said bulk cargo feeder of claim 1, it is characterized in that described poking device (2) comprises that three groups are dialled the material axle, dials the material axle for every group and forms by the driven shaft that imput shaft and symmetry are located at the both sides of imput shaft.
3. according to the said bulk cargo feeder of claim 2, it is characterized in that, evenly be furnished with the rhombus blade on described imput shaft and the driven shaft.
4. according to the said bulk cargo feeder of claim 1, it is characterized in that described scraper (3) comprises S. A. and serration scraper plate, said serration scraper plate helical array is fixed on the S. A..
5. according to the said bulk cargo feeder of claim 1, it is characterized in that described running gear (10) comprises belt, keel and be used to draw the chain of keel that said belt is laid on the keel.
6. according to the said bulk cargo feeder of claim 5, it is characterized in that described keel are C shaped steel.
Priority Applications (1)
| Application Number | Priority Date | Filing Date | Title |
|---|---|---|---|
| CN2011204475938U CN202321595U (en) | 2011-11-14 | 2011-11-14 | Bulk cargo feeding machine |
Applications Claiming Priority (1)
| Application Number | Priority Date | Filing Date | Title |
|---|---|---|---|
| CN2011204475938U CN202321595U (en) | 2011-11-14 | 2011-11-14 | Bulk cargo feeding machine |
Publications (1)
| Publication Number | Publication Date |
|---|---|
| CN202321595U true CN202321595U (en) | 2012-07-11 |
Family
ID=46433584
Family Applications (1)
| Application Number | Title | Priority Date | Filing Date |
|---|---|---|---|
| CN2011204475938U Expired - Lifetime CN202321595U (en) | 2011-11-14 | 2011-11-14 | Bulk cargo feeding machine |
Country Status (1)
| Country | Link |
|---|---|
| CN (1) | CN202321595U (en) |
Cited By (3)
| Publication number | Priority date | Publication date | Assignee | Title |
|---|---|---|---|---|
| CN102408002A (en) * | 2011-11-14 | 2012-04-11 | 江苏天鹏机电制造有限公司 | Bulk material feeder |
| CN103662758A (en) * | 2014-01-08 | 2014-03-26 | 鹤壁市煤化机械有限责任公司 | Belt feeder without carrier roller |
| CN104555356A (en) * | 2014-12-04 | 2015-04-29 | 长江大学 | Accurate-weighing and continuous-conveying method |
-
2011
- 2011-11-14 CN CN2011204475938U patent/CN202321595U/en not_active Expired - Lifetime
Cited By (3)
| Publication number | Priority date | Publication date | Assignee | Title |
|---|---|---|---|---|
| CN102408002A (en) * | 2011-11-14 | 2012-04-11 | 江苏天鹏机电制造有限公司 | Bulk material feeder |
| CN103662758A (en) * | 2014-01-08 | 2014-03-26 | 鹤壁市煤化机械有限责任公司 | Belt feeder without carrier roller |
| CN104555356A (en) * | 2014-12-04 | 2015-04-29 | 长江大学 | Accurate-weighing and continuous-conveying method |
Similar Documents
| Publication | Publication Date | Title |
|---|---|---|
| CN201604933U (en) | Chain scraper feeding straw bin | |
| CN201930835U (en) | Fiber chopper | |
| CN102408002A (en) | Bulk material feeder | |
| CN204799377U (en) | Spoil breaker | |
| CN202321595U (en) | Bulk cargo feeding machine | |
| CN203112017U (en) | Variable-diameter variable-pitch screw conveyer | |
| CN205675820U (en) | Charging gear at the bottom of storehouse | |
| CN201597946U (en) | Novel straw stock bin | |
| CN202462949U (en) | Screw conveying mechanism of briquetting machine | |
| CN201914679U (en) | Cache average-amount charger | |
| CN202704280U (en) | Anti-blocking horizontal delivery structure of biomass raw materials | |
| CN203392530U (en) | Arch-breaking feeder used in discharge from bin | |
| CN204429438U (en) | Double-shaft horizontal disintegrating machine | |
| CN220316062U (en) | A feeding buffer for steel sheet storehouse | |
| CN201971409U (en) | Reverse feeding machine | |
| CN108080112B (en) | High-efficient broken classification equipment of power plant's coal | |
| CN202095311U (en) | Straw crusher | |
| CN212952554U (en) | Oblique feed mechanism of coarse fodder | |
| CN210392970U (en) | Relay belt tail hopper system of bucket-wheel stacker reclaimer | |
| CN102353068A (en) | Biomass generating combustion furnace front feeding device | |
| CN203555140U (en) | Green feed grinder for livestock breeding | |
| CN203211908U (en) | Novel shaftless screw conveyer | |
| CN201669729U (en) | Automatic bale breaking and feeding hay cutter | |
| CN208292310U (en) | A kind of auto feed storehouse | |
| CN201633232U (en) | Biomass straw briquetting machine |
Legal Events
| Date | Code | Title | Description |
|---|---|---|---|
| C14 | Grant of patent or utility model | ||
| GR01 | Patent grant | ||
| CX01 | Expiry of patent term |
Granted publication date: 20120711 |
|
| CX01 | Expiry of patent term |