CN202317189U - 挂板开槽装置 - Google Patents
挂板开槽装置 Download PDFInfo
- Publication number
- CN202317189U CN202317189U CN2011203523582U CN201120352358U CN202317189U CN 202317189 U CN202317189 U CN 202317189U CN 2011203523582 U CN2011203523582 U CN 2011203523582U CN 201120352358 U CN201120352358 U CN 201120352358U CN 202317189 U CN202317189 U CN 202317189U
- Authority
- CN
- China
- Prior art keywords
- link plate
- lathe
- milling
- lathe spindle
- spindle
- Prior art date
- Legal status (The legal status is an assumption and is not a legal conclusion. Google has not performed a legal analysis and makes no representation as to the accuracy of the status listed.)
- Expired - Fee Related
Links
- 238000007781 pre-processing Methods 0.000 claims description 5
- 238000003801 milling Methods 0.000 abstract description 11
- 238000000034 method Methods 0.000 abstract description 9
- 239000002184 metal Substances 0.000 abstract description 7
- 229910052751 metal Inorganic materials 0.000 abstract description 7
- 230000007547 defect Effects 0.000 abstract 1
- XEEYBQQBJWHFJM-UHFFFAOYSA-N Iron Chemical compound [Fe] XEEYBQQBJWHFJM-UHFFFAOYSA-N 0.000 description 6
- 238000005516 engineering process Methods 0.000 description 3
- 229910052742 iron Inorganic materials 0.000 description 3
- 238000003754 machining Methods 0.000 description 3
- 238000003672 processing method Methods 0.000 description 2
- 230000009286 beneficial effect Effects 0.000 description 1
- 238000005520 cutting process Methods 0.000 description 1
- 230000002950 deficient Effects 0.000 description 1
- 238000002224 dissection Methods 0.000 description 1
- 238000009434 installation Methods 0.000 description 1
- 239000000463 material Substances 0.000 description 1
- 238000002360 preparation method Methods 0.000 description 1
- 230000007306 turnover Effects 0.000 description 1
Images
Landscapes
- Turning (AREA)
Abstract
本实用新型涉及金属加工装置,具体是一种挂板开槽装置。该装置包括车床主体,该车床主体上设有车床主轴和车床横溜板,该车床横溜板可沿车床主轴的轴线方向的垂直方向移动,其上设有用于夹紧挂板的工件夹具,且该车床主轴上装设夹有双铣刀片的轴套件,该双铣刀片轴向外侧间距与预加工槽的宽度相等。本实用新型车床与铣刀配合使用,在主轴箱上固定安装2片铣刀,铣刀铣出挂板上的深槽,克服了现有的立式铣床成本高、规格大的缺点,使得加工设备简单,加工工艺简化,提高了加工效率。
Description
技术领域
本实用新型涉及金属加工装置,具体是一种挂板开槽装置。
背景技术
目前,在挂板上加工深槽的通用加工方式是将工件夹持在立式铣床上,用棒铣刀加工,并且需要翻面两次加工。在实际加工深槽时,首先需要工作台横向移动在挂板上铣出一长切线,然后就要把挂板翻转,在铣出切线的对应平行位置再铣出一长切线,最后需要改变挂板位置,铣掉两切线间的挂板金属,这样,挂板上的深槽才能加工完成。但是此方法要求铣床的规格较大,另外槽内金属全部被切削成铁屑,不仅加工效率低、加工时间长,而且刀具磨损严重。
实用新型内容
本实用新型解决的技术问题是提供一种成本较低、效率较高的挂板开槽装置。
为解决上述技术问题,本实用新型采用的技术方案是:一种挂板开槽装置,该装置包括车床主体,该车床主体上设有车床主轴和车床横溜板,该车床横溜板可沿车床主轴的轴线方向的垂直方向移动,其上设有用于夹紧挂板的工件夹具,且该车床主轴上装设夹有双铣刀片的轴套件,该双铣刀片轴向外侧间距与预加工槽的宽度相等。
改进之一:所述工具夹件包括穿过挂板上的定位孔的固定螺栓和用于夹紧挂板两侧边的夹紧件,该固定螺栓的轴线方向垂直于所述车床主轴的轴线方向,该夹紧件的夹紧力施加方向垂直于挂板的长度方向且平行于所述车床主轴的轴线方向。
改进之二:所述夹紧件包括间隔设置的两块支撑板,其中一支撑板的上部设有用于夹紧挂板侧边的若干夹紧螺栓。
改进之三:所述固定螺栓的轴线与竖直方向成锐角且倾斜方向背离所述车床主轴。
与现有技术相比,有益效果是:本实用新型车床与铣刀配合使用,在主轴箱上固定安装2片铣刀,铣刀铣出挂板上的深槽,克服了现有的立式铣床成本高、规格大的缺点,使得加工设备简单,加工工艺简化,提高了加工效率。
附图说明
图1是实施例的挂板加工前的主视图;
图2是图1的左视图;
图3是实施例的挂板加工后的主视图;
图4是图3的左视图;
图5是实施例的挂板开槽装置的结构示意图;
图6是图5的俯视示意图;
图7是实施例的挂板开槽装置的加工原理示意图。
具体实施方式
下面结合附图和实施例对本实用新型作进一步说明。
如图1所示,本实施例的挂板开槽装置需要加工的挂板为十字挂板。挂板90加工前的结构如图1、图2所示,该挂板的上部和下部分别开口定位孔92,而加工后的结构则如图3、图4所示。从加工后的结构示意图(即图3、图4)来看,该挂板90需要加工的槽较深,如果采用传统的立式铣床加工方法,要求铣床的规格较大,另外槽内金属全部被切削成铁屑,不仅加工效率低、加工时间长,而且刀具磨损严重。
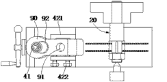
为了克服现有立式铣床加工十字挂板加工深槽的缺陷,本实施例采用新的加工方法和设备来加工挂板深槽。如图5、图6所示,本实施例的挂板开槽装置包括车床主体10,该车床主体10上设有车床主轴20和车床横溜板30。该车床横溜板30可沿车床主轴20的轴线方向的垂直方向移动,其上设有用于夹紧挂板90的工件夹具40,且该车床主轴20上装设夹有双铣刀片的轴套件,该双铣刀片轴向外侧间距与预加工槽的宽度相等。这里的预加工槽是指挂板上按照设计准备加工的槽。
其中,该工具夹件包括穿过挂板上的定位孔92的固定螺栓41和用于夹紧挂板两侧边的夹紧件42,该固定螺栓41的轴线方向垂直于车床主轴20的轴线方向,该夹紧件42的夹紧力施加方向垂直于挂板的长度方向且平行于车 床主轴20的轴线方向。
进一步的,如图6所示,该夹紧件42包括间隔设置的两块支撑板421,其中一支撑板421的上部设有用于夹紧挂板侧边的若干夹紧螺栓422。在本实施例中,其中一支撑板421的上部设有两夹紧螺栓422。
此外,为了减小双铣刀片施加于挂板的作用力角,减小垂直于挂板表面的切割作用力,使得切割过程更加顺利和安全,该固定螺栓41的轴线与竖直方向成锐角且倾斜方向背离车床主轴20。即工件夹具40上的挂板相对于车床主轴20略微是向上倾斜的。
本实施例的工作原理是:
开始加工挂板前,先在挂板的槽底位置加工一预留孔91(见图6、图7),然后再将挂板放置在工件夹具40上,挂板一端的定位通孔92固定在固定螺栓41处,挂板的另一端置于夹紧件42中夹紧,使得挂板的预加工槽的长度方向(深度方向)对准双铣刀片,防止挂板在加工深槽的过程中移动。
加工过程中,操作人员旋转把手将挂板往双铣刀片逐步推进,而双铣刀片则逐步切割挂板形成槽,当双铣刀片加工到达挂板槽底的预留孔边时,双铣刀片切割线之间到槽底孔中间的金属94(见图7)就被切掉,从而完成工件深槽的基本加工。被切下的金属块不参与切削加工,否则将全部被加工成铁屑,必会消耗大量的动力与时间,也加大刀具的磨损。
以上所述仅是本实用新型的优选实施方式,应当指出,对于本技术领域的普通技术人员来说,在不脱离本实用新型原理的前提下,对实用新型的技术方案可以做若干适合实际情况的改进。因此,本实用新型的保护范围不限于此,本领域中的技术人员任何基于本实用新型技术方案上非实质性变更均包括在本实用新型保护范围之内。
Claims (4)
1.一种挂板开槽装置,其特征在于:该装置包括车床主体,该车床主体上设有车床主轴和车床横溜板,该车床横溜板可沿车床主轴的轴线方向的垂直方向移动,其上设有用于夹紧挂板的工件夹具,且该车床主轴上装设夹有双铣刀片的轴套件,该双铣刀片轴向外侧间距与预加工槽的宽度相等。
2.根据权利要求1所述的一种挂板开槽装置,其特征在于:所述工具夹件包括穿过挂板上的定位孔的固定螺栓和用于夹紧挂板两侧边的夹紧件,该固定螺栓的轴线方向垂直于所述车床主轴的轴线方向,该夹紧件的夹紧力施加方向垂直于挂板的长度方向且平行于所述车床主轴的轴线方向。
3.根据权利要求2所述的一种挂板开槽装置,其特征在于:所述夹紧件包括间隔设置的两块支撑板,其中一支撑板的上部设有用于夹紧挂板侧边的若干夹紧螺栓。
4.根据权利要求2所述的一种挂板开槽装置,其特征在于:所述固定螺栓的轴线与竖直方向成锐角且倾斜方向背离所述车床主轴。
Priority Applications (1)
| Application Number | Priority Date | Filing Date | Title |
|---|---|---|---|
| CN2011203523582U CN202317189U (zh) | 2011-09-20 | 2011-09-20 | 挂板开槽装置 |
Applications Claiming Priority (1)
| Application Number | Priority Date | Filing Date | Title |
|---|---|---|---|
| CN2011203523582U CN202317189U (zh) | 2011-09-20 | 2011-09-20 | 挂板开槽装置 |
Publications (1)
| Publication Number | Publication Date |
|---|---|
| CN202317189U true CN202317189U (zh) | 2012-07-11 |
Family
ID=46429186
Family Applications (1)
| Application Number | Title | Priority Date | Filing Date |
|---|---|---|---|
| CN2011203523582U Expired - Fee Related CN202317189U (zh) | 2011-09-20 | 2011-09-20 | 挂板开槽装置 |
Country Status (1)
| Country | Link |
|---|---|
| CN (1) | CN202317189U (zh) |
Cited By (2)
| Publication number | Priority date | Publication date | Assignee | Title |
|---|---|---|---|---|
| CN103273128A (zh) * | 2013-06-20 | 2013-09-04 | 重庆科技学院 | 汽车驱动桥管坯开槽加工方法及组合刀具 |
| CN110711902A (zh) * | 2019-11-22 | 2020-01-21 | 湖南高致精工机械有限公司 | 一种加工双耳铰锻件的方法及装置 |
-
2011
- 2011-09-20 CN CN2011203523582U patent/CN202317189U/zh not_active Expired - Fee Related
Cited By (2)
| Publication number | Priority date | Publication date | Assignee | Title |
|---|---|---|---|---|
| CN103273128A (zh) * | 2013-06-20 | 2013-09-04 | 重庆科技学院 | 汽车驱动桥管坯开槽加工方法及组合刀具 |
| CN110711902A (zh) * | 2019-11-22 | 2020-01-21 | 湖南高致精工机械有限公司 | 一种加工双耳铰锻件的方法及装置 |
Similar Documents
| Publication | Publication Date | Title |
|---|---|---|
| CN201783685U (zh) | 一种自动割管机 | |
| CN203184702U (zh) | 快速转动模板式钻模 | |
| CN201871785U (zh) | 粗精一体高效钨钢立铣刀 | |
| CN202317189U (zh) | 挂板开槽装置 | |
| CN202701467U (zh) | 钻铣床轴类工件双槽同步铣削工装 | |
| CN108555342A (zh) | 用于活塞杆深孔内圆弧加工的反镗切削方法及刀具 | |
| CN204122785U (zh) | 一种大型钢结构上大直径孔镗铣加工专用镗铣床 | |
| CN202207825U (zh) | 一种挂板开槽装置 | |
| CN204075238U (zh) | 一种棒料自动送料连续车削装置 | |
| CN203751767U (zh) | 移动式工装夹具 | |
| CN201841265U (zh) | 利用仪表车床车削球面轴承内球面的工装 | |
| CN204294936U (zh) | 弧面工件加工车床 | |
| CN205020914U (zh) | 大型花键轴加工装置 | |
| CN204843078U (zh) | 一种桁架金属管材的快速开榫机 | |
| CN202763451U (zh) | 发动机缸体精铣拉瓦口面组合机床 | |
| CN203843173U (zh) | 一种双主轴液压车床 | |
| CN203936409U (zh) | 一种卧式铣镗床 | |
| CN201940680U (zh) | 冲切加工管件端部的装置 | |
| CN203371100U (zh) | 多主轴数控组合工具铣床 | |
| CN203076967U (zh) | 导轨板成组加工夹具 | |
| CN203236029U (zh) | 双工位铣球笼保险槽铣床 | |
| CN203636030U (zh) | 一种可转位锥度钻孔刀具 | |
| CN205798554U (zh) | 一种冲铣曲槽用的刀具 | |
| CN214979382U (zh) | 一种转轴的自动铣槽工装 | |
| CN215315935U (zh) | 一种通用便利式铣刀装置 |
Legal Events
| Date | Code | Title | Description |
|---|---|---|---|
| C14 | Grant of patent or utility model | ||
| GR01 | Patent grant | ||
| CF01 | Termination of patent right due to non-payment of annual fee |
Granted publication date: 20120711 Termination date: 20160920 |
|
| CF01 | Termination of patent right due to non-payment of annual fee |