CN202309220U - Failure alarming wireless transmission monitoring device for railway low-voltage distribution box - Google Patents
Failure alarming wireless transmission monitoring device for railway low-voltage distribution box Download PDFInfo
- Publication number
- CN202309220U CN202309220U CN2011203977994U CN201120397799U CN202309220U CN 202309220 U CN202309220 U CN 202309220U CN 2011203977994 U CN2011203977994 U CN 2011203977994U CN 201120397799 U CN201120397799 U CN 201120397799U CN 202309220 U CN202309220 U CN 202309220U
- Authority
- CN
- China
- Prior art keywords
- control circuit
- circuit board
- power
- voltage
- railway
- Prior art date
- Legal status (The legal status is an assumption and is not a legal conclusion. Google has not performed a legal analysis and makes no representation as to the accuracy of the status listed.)
- Expired - Fee Related
Links
Images
Classifications
-
- Y—GENERAL TAGGING OF NEW TECHNOLOGICAL DEVELOPMENTS; GENERAL TAGGING OF CROSS-SECTIONAL TECHNOLOGIES SPANNING OVER SEVERAL SECTIONS OF THE IPC; TECHNICAL SUBJECTS COVERED BY FORMER USPC CROSS-REFERENCE ART COLLECTIONS [XRACs] AND DIGESTS
- Y04—INFORMATION OR COMMUNICATION TECHNOLOGIES HAVING AN IMPACT ON OTHER TECHNOLOGY AREAS
- Y04S—SYSTEMS INTEGRATING TECHNOLOGIES RELATED TO POWER NETWORK OPERATION, COMMUNICATION OR INFORMATION TECHNOLOGIES FOR IMPROVING THE ELECTRICAL POWER GENERATION, TRANSMISSION, DISTRIBUTION, MANAGEMENT OR USAGE, i.e. SMART GRIDS
- Y04S40/00—Systems for electrical power generation, transmission, distribution or end-user application management characterised by the use of communication or information technologies, or communication or information technology specific aspects supporting them
- Y04S40/12—Systems for electrical power generation, transmission, distribution or end-user application management characterised by the use of communication or information technologies, or communication or information technology specific aspects supporting them characterised by data transport means between the monitoring, controlling or managing units and monitored, controlled or operated electrical equipment
- Y04S40/126—Systems for electrical power generation, transmission, distribution or end-user application management characterised by the use of communication or information technologies, or communication or information technology specific aspects supporting them characterised by data transport means between the monitoring, controlling or managing units and monitored, controlled or operated electrical equipment using wireless data transmission
Landscapes
- Remote Monitoring And Control Of Power-Distribution Networks (AREA)
Abstract
本实用新型提供一种铁路低压配电箱故障报警无线发送监测装置,该监测装置主要由壳体、左侧板、右侧板、控制电路板组件及辅件组成。主要应用于电气化轨道交通电力通信领域,提供一种电源配电故障报警、信息的自动无线发送和数据的整定处理功能。本实用新型的效果是该装置能实时监测铁路电力低压配电电压的运行状态,自动记录电压状态,能记录电压量的最大、最小值及持续的时间、停送电次数和停电时间,能保存24小时的记录数据;有良好的接口,通过USB能获取记录数据,并能通过GSM将故障信息及时告知供电部门。通过U盘上的专用文件完成装置参数的整定,改变装置的运行模式和实现相应的操作。该装置具有功能强大、体积小、重量轻,可以广泛应用于电气化铁道配电及通信系统。
The utility model provides a wireless transmission monitoring device for a fault alarm of a railway low-voltage power distribution box. The monitoring device is mainly composed of a housing, a left side panel, a right side panel, a control circuit board assembly and auxiliary parts. It is mainly used in the field of electrified rail transit power communication, providing a power distribution fault alarm, automatic wireless transmission of information and data setting and processing functions. The effect of the utility model is that the device can monitor the operating state of the low-voltage distribution voltage of railway power in real time, automatically record the voltage state, record the maximum and minimum values of the voltage and the duration, the number of times of power transmission and the time of power failure, and can save 24 hours of recorded data; with a good interface, the recorded data can be obtained through USB, and the fault information can be notified to the power supply department in time through GSM. Complete the setting of the device parameters through the special file on the U disk, change the operating mode of the device and realize the corresponding operation. The device has powerful functions, small size and light weight, and can be widely used in electrified railway power distribution and communication systems.
Description
技术领域 technical field
本实用新型涉及一种故障报警监测装置,特别是一种铁路低压配电箱故障报警无线发送监测装置。The utility model relates to a fault alarm monitoring device, in particular to a fault alarm wireless transmission monitoring device for a railway low-voltage power distribution box.
背景技术 Background technique
随着铁路高速时代的到来,对铁路电力通信电源及信号机电源的安全性、可靠性提出了很高的技术要求。为了保障铁路电力通信设备和信号机设备的正常运转、保护人民的生命安全、财产安全,保证电力通信电源和信号机电源的电能质量,对其进行实时监测事关重大。With the advent of the railway high-speed era, high technical requirements are put forward for the safety and reliability of railway power communication power supply and signal machine power supply. In order to ensure the normal operation of railway power communication equipment and signal equipment, protect people's lives and property safety, and ensure the power quality of power communication power and signal power, it is of great importance to monitor them in real time.
现有的铁路管理体制及技术手段不能对电力通信电源及信号机电源配电进行有效的监测,现结构中,当电源中断后不能及时告知供电部门,事故抢修及事故分析经常不能及时完成,担负给信号机供电任务的铁路供电段由于不能完全掌握电源实时信息而处于不利的被动局面。由于缺乏配电电压监测记录信息,发生停电事故后,事故原因和事故责任不明确,更为重要的是因为不能找到断电的真正原因而无法采取相应的措施,不能杜绝类似故障或事故再次发生,而留下安全隐患。因此,开发适合于铁路低压配电监测装置事关重大、亟不可待。The existing railway management system and technical means cannot effectively monitor the power distribution of electric communication power supply and signal machine power supply. In the current structure, when the power supply is interrupted, the power supply department cannot be notified in time, and accident repairs and accident analysis are often not completed in time. The railway power supply section that supplies power to the signal machine is in an unfavorable passive situation because it cannot fully grasp the real-time information of the power supply. Due to the lack of distribution voltage monitoring and recording information, after a power outage accident, the cause of the accident and the responsibility for the accident are not clear. More importantly, because the real cause of the power outage cannot be found, corresponding measures cannot be taken, and similar faults or accidents cannot be prevented from happening again. , leaving a security risk. Therefore, the development of a monitoring device suitable for railway low-voltage power distribution is of great importance and cannot be waited for.
发明内容 Contents of the invention
为解决以上技术问题,本实用新型的目的是提供一种铁路低压配电箱故障报警无线发送监测装置,以利于可靠实现了对电力通信电源及信号机电源配电进行有效的监测。In order to solve the above technical problems, the purpose of this utility model is to provide a wireless transmission monitoring device for railway low-voltage power distribution box fault alarm, so as to facilitate and reliably realize the effective monitoring of power communication power supply and signal machine power distribution.
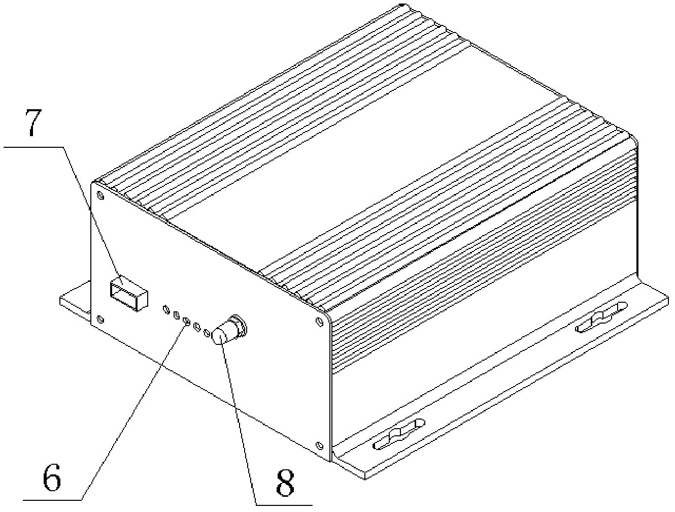
为实现发明目的,本实用新型提供一种铁路低压配电箱故障报警无线发送监测装置,其中:该监测装置包括有壳体、左侧板、右侧板、控制电路板组件、装置端子;壳体通过螺栓与左侧板、右侧板连接为一体,控制电路板组件插接在壳体内的插槽中,左侧板外侧通过螺栓连接有与控制电路板组件电连接的装置端子;右侧板外侧设有与控制电路板组件电连接的指示灯、USB接口和发送天线;接入电源信号的装置端子将监测到故障信号传输给控制电路板组件,控制电路板组件中的GSM通讯模块通过发送天线发送,通过在USB接口处插入的带有自动采集信息功能的U盘,可将控制电路板组件中的U盘读写模块中的故障监测信息自动转存到U盘中。In order to achieve the purpose of the invention, the utility model provides a wireless transmission monitoring device for railway low-voltage distribution box fault alarm, wherein: the monitoring device includes a housing, a left side panel, a right side panel, a control circuit board assembly, and a device terminal; The body is connected with the left side board and the right side board through bolts, and the control circuit board assembly is plugged into the slot in the housing, and the device terminal electrically connected to the control circuit board assembly is connected to the outside of the left side board through bolts; The outside of the board is provided with an indicator light, a USB interface and a transmitting antenna electrically connected to the control circuit board assembly; the terminal of the device connected to the power signal transmits the detected fault signal to the control circuit board assembly, and the GSM communication module in the control circuit board assembly passes through The sending antenna sends, through the U disk with automatic information collection function inserted at the USB interface, the fault monitoring information in the U disk read-write module in the control circuit board assembly can be automatically transferred to the U disk.
本实用新型的效果是完成了一套能实时监测铁路系统配电供电电源的专用记录装置。该装置能够记录供电电源电压信息,并提供USB接口,工作人员携带U盘通过装置的USB接口可以自动实现参数的整定与存储信息的写入U盘的指定专用文件。以便于生产调度PC机或相关微机读取相关的数据,实现对路其便捷优势更为明显。在供电电源出现故障时,能够记录故障信息并及时通过GSM自动发送手机短信到生产调度部门或其他相关管理部门人员手机上,及时告知配电故障信息,以便供电段相关部门及时采取措施,排除故障迅速恢复正常供电,从而保证铁路系统的安全,为正常运行起到了重要的作用。The effect of the utility model is to complete a set of special recording devices capable of real-time monitoring of power distribution and power supply of railway systems. The device can record the voltage information of the power supply and provide a USB interface. The staff can automatically realize the setting of parameters and write the stored information into the designated special file of the U disk through the USB interface of the device. In order to facilitate the production scheduling PC or related microcomputers to read relevant data and realize the alignment, its convenient advantages are more obvious. When the power supply fails, it can record the fault information and automatically send SMS to the mobile phone of the production dispatching department or other relevant management department personnel through GSM in time to inform the power distribution fault information in time, so that the relevant departments of the power supply section can take timely measures to eliminate the fault Rapid restoration of normal power supply, thereby ensuring the safety of the railway system, has played an important role in normal operation.
本实用新型适用在电力通信电源及信号机电源配电等系统中,产生的有益效果有以下几点:The utility model is applicable to systems such as electric communication power supply and signal machine power distribution system, and the beneficial effects produced are as follows:
1、该监测装置的外形尺寸为150mm(长)×150mm(宽)×62mm(高),设计精巧、重量轻、体积小,节约空间,安装使用方便,操作简单,外形美观。1. The overall size of the monitoring device is 150mm (length) × 150mm (width) × 62mm (height). It is compact in design, light in weight, small in size, saves space, easy to install and use, simple to operate, and beautiful in appearance.
2、由于产品性能的可靠性,可大大减少现场巡查工作。一旦供电故障出现,该监测装置对故障发生时间、故障发生点可以及时和准确的确定,提高了解决问题的效率及降低因配电故障引起的损失。2. Due to the reliability of product performance, on-site inspection work can be greatly reduced. Once a power supply failure occurs, the monitoring device can timely and accurately determine the time and location of the failure, which improves the efficiency of problem solving and reduces losses caused by power distribution failures.
3、能记录电压量的最大、最小值及持续的时间、停送电次数和停电时间,能保存24小时的记录数据;有良好的接口,通过USB能获取记录数据,并能通过GSM将故障信息及时告知供电部门。通过U盘上的专用文件完成装置参数的整定,改变装置的运行模式和实现相应的操作。该装置具有功能强大、体积小、重量轻,可以广泛应用于电气化铁道配电及通信系统。3. It can record the maximum, minimum and duration of the voltage, the number of times of power failure and power failure time, and can save the recorded data for 24 hours; it has a good interface, can obtain the recorded data through USB, and can use GSM to report the fault The information shall be notified to the power supply department in time. Complete the setting of the device parameters through the special file on the U disk, change the operating mode of the device and realize the corresponding operation. The device has powerful functions, small size and light weight, and can be widely used in electrified railway power distribution and communication systems.
附图说明 Description of drawings
图1为本实用新型的监测装置的外形俯视图;Fig. 1 is the profile plan view of monitoring device of the present utility model;
图2为本实用新型的监测装置的内部主视图;Fig. 2 is the internal front view of the monitoring device of the present utility model;
图3为本实用新型的监测装置的外形侧视图;Fig. 3 is the profile side view of the monitoring device of the present invention;
图4为本实用新型的监控装置的系统框架图。Fig. 4 is a system frame diagram of the monitoring device of the present invention.
图中:In the picture:
1、壳体 2、左侧板 3、右侧板1. Housing 2. Left side panel 3. Right side panel
4、控制电路板组件 5、装置端子 6、指示灯4. Control circuit board components 5.
7、USB接口 8、发送天线7.
具体实施方式 Detailed ways
结合附图对本实用新型的铁路低压配电故障报警自动无线发送监测装置的结构及性能具体说明。The structure and performance of the automatic wireless transmission and monitoring device for railway low-voltage power distribution fault alarm of the present utility model are specifically described in conjunction with the accompanying drawings.
本实用新型的铁路低压配电箱故障报警无线发送监测装置,该监测装置包括有壳体1、左侧板2、右侧板3、控制电路板组件4、装置端子5;壳体1通过螺栓与左侧板2、右侧板3连接为一体,控制电路板组件4插接在壳体1内的插槽中,左侧板2外侧通过螺栓连接有与控制电路板组件4电连接的装置端子5;右侧板3外侧设有与控制电路板组件4电连接的指示灯6、USB接口7和发送天线8;接入电源信号的装置端子5将监测到故障信号传输给控制电路板组件4,控制电路板组件4中的GSM通讯模块通过发送天线8发送,通过在USB接口7处插入的带有自动采集信息功能的U盘,可将控制电路板组件4中的U盘读写模块中的故障监测信息自动转存到U盘中。The utility model relates to a fault alarm wireless transmission monitoring device for railway low-voltage power distribution boxes. It is integrated with the left side plate 2 and the right side plate 3, and the control
控制电路板组件4、装置端子5、指示灯6、USB接口7、发送天线8和左右两侧板同时装在壳体1内,所述指示灯6为装置是否在工作状态、装置是否有网络信号、装置是否在信号发送状态的指示灯。The control
本实用新型的铁路低压配电箱故障报警无线发送监测装置,其主要技术是采用GSM通信手段,将监测和处理后的所得数据以电力短信的方式发送到供电生产调度指定的各个手机上。能够准确记录停电起止时间和告警、自动发送给有关部门,记录时间可精确到秒。The main technology of the wireless transmission monitoring device for railway low-voltage power distribution box failure alarm is to use GSM communication means to send the monitored and processed data to each mobile phone designated by power supply production scheduling in the form of short messages. It can accurately record the start and end time of power outages and alarms, and automatically send them to relevant departments. The recording time can be accurate to the second.
本实用新型的铁路低压配电故障报警自动无线发送监测装置功能是这样实现的:The function of the automatic wireless transmission monitoring device for railway low-voltage power distribution fault alarm of the utility model is realized in this way:
如图1-4所示,本实用新型的铁路低压配电故障报警自动无线发送监测装置结构是:该装置是通过左侧板2、右侧板3将控制电路板组件4固定在壳体1当中,左侧板2上留有装置端子5,该装置端子5用来接入装置电源和被检的线路信号。右侧板3上留有装置指示灯6、USB接口7、发送天线8。指示灯6指示的是装置是否在工作状态、装置是否有网络信号、装置是否在信号发送状态。USB接口7能与带有可自动采集信息功能的U盘连接,将故障信息自动转存到U盘中,以备后期电脑处理这些故障信息。发送天线8可将检测到的故障信号通过GSM或GPRS方式自动地传输至手机或信息中心,使工作人员可第一时间得知故障信号。As shown in Figure 1-4, the structure of the automatic wireless transmission and monitoring device for railway low-voltage power distribution fault alarm of the present utility model is: the device fixes the control
如图4所示,电压采样模块a,用于检测两路三相四线制铁路低压配电电压信号,当电压输入后通过低通滤波装置滤掉谐波和干扰信号;控制芯片b,用于整个装置实时过程控制系统中,对实时数据进行处理和控制;U盘读写模块c,用于装置的参数整定,同时通过USB接口读取存储的相关数据;定值比较逻辑模块d,用于采样的数据与预设数据的比较;失电控制逻辑模块e,用于判断线路是否出现短路、断路等情况;电源模块f,用于给电压采样模块、控制芯片、U盘读写模块和无线通讯模块提供电源,保证装置的正常工作;非易失存储器g,用于装置在无电源时仍能存储数据信息;无线通讯模块h,用于装置将监控信息通过GSM或GPRS方式传输至信息中心。As shown in Figure 4, the voltage sampling module a is used to detect the two-way three-phase four-wire railway low-voltage power distribution voltage signal. After the voltage is input, the harmonic and interference signals are filtered out through the low-pass filter device; In the real-time process control system of the whole device, the real-time data is processed and controlled; the U disk read-write module c is used for parameter setting of the device, and at the same time reads the relevant data stored through the USB interface; the fixed value comparison logic module d is used for It is used to compare the sampled data with the preset data; the power loss control logic module e is used to judge whether there is a short circuit or open circuit in the circuit; the power module f is used to provide voltage sampling module, control chip, U disk read-write module and The wireless communication module provides power to ensure the normal operation of the device; the non-volatile memory g is used for the device to store data information when there is no power supply; the wireless communication module h is used for the device to transmit monitoring information to the information via GSM or GPRS center.
在整个系统运行中电压输入通过低通滤波以后进行交流采样传输到DSP芯片里,然后将数据存储到非易失存储器内部,在非易失存储器经过定值读写传送至定值比较逻辑后,到达无线通讯模块,最终转化为短信信号发送至信息中心。交流采样后会给定值比较逻辑有一个采样数据输入信号,提供数据的比较;在DSP芯片中端同时接入U盘读写模块,U盘读写模块是接收U盘内文件或发送文件至U盘内;U盘读写模块输出端接有一个采样校准,通过采样校准将信息传入非易失存储器内部;同时在U盘读写模块输出端还有时间校准接入到无线通讯模块中;在定制比较逻辑与无线通讯模块中加有失电控制逻辑,可输出关机信号;在整个系统运行过程中每个环节都需要一个电源模块对系统提供所需电源。During the operation of the whole system, the voltage input is passed through the low-pass filter, then the AC sampling is transmitted to the DSP chip, and then the data is stored in the non-volatile memory. After the non-volatile memory is read and written by the fixed value and sent to the fixed value comparison logic, It reaches the wireless communication module, and finally converts it into a short message signal and sends it to the information center. After AC sampling, the given value comparison logic has a sampling data input signal to provide data comparison; the U disk read-write module is connected to the middle end of the DSP chip at the same time, and the U disk read-write module is used to receive files in the U disk or send files to In the U disk; the output terminal of the U disk read-write module is connected with a sampling calibration, and the information is transferred to the non-volatile memory through sampling calibration; at the same time, there is a time calibration connected to the wireless communication module at the output end of the U disk read-write module ; Power-off control logic is added to the customized comparison logic and wireless communication module, which can output a shutdown signal; each link in the entire system operation process needs a power module to provide the required power for the system.
该装置检测两路三相电压信号,当电压输入后通过低通滤波装置滤掉谐波和干扰信号,接着将采样的数据与预设数据通过定值比较逻辑装置比较以后,如果电压超出预设值,将会通过无线通讯报警以GSM短信传送到信息中心和值班维修人员的手机,同时会将此次事件通过非易失存储器g写入U盘读写模块c,方便以后用U盘对数据的采集与分析;如果未超出预设值,则按整定的数据存储间隔判定是否该存储当前采样值,若应该存储则通过非易失存储器g写入U盘读写模块c。当线路出现短路、断路等情况时,电压会出现异常,此时采样数据经过失电控制逻辑判断后通过无线通信向信息中心发出关机信号,以便信息中心及时调度排除线路故障,同时完成信息的储存。装置在工作状态下,自动检测其USB接口是否插有U盘设备,若有则点亮运行指示灯并自动完成对U盘的读写操作。The device detects two-way three-phase voltage signals. When the voltage is input, it filters out harmonics and interference signals through a low-pass filter device, and then compares the sampled data with the preset data through a fixed value comparison logic device. If the voltage exceeds the preset The value will be sent to the information center and the mobile phone of the on-duty maintenance personnel through wireless communication alarm and GSM text message. At the same time, the event will be written into the U disk read-write module c through the non-volatile memory g, so that the data can be read and written by the U disk in the future. If it does not exceed the preset value, it is determined whether the current sampling value should be stored according to the set data storage interval, and if it should be stored, it is written into the U disk read-write module c through the non-volatile memory g. When the circuit is short-circuited or disconnected, the voltage will be abnormal. At this time, the sampling data will be judged by the power-off control logic and send a shutdown signal to the information center through wireless communication, so that the information center can schedule and eliminate line faults in time, and at the same time complete the storage of information . When the device is in the working state, it will automatically detect whether there is a U disk device inserted into its USB interface, and if so, it will light up the running indicator and automatically complete the read and write operations on the U disk.
首先读取U盘上的参数整定文件并通过U盘读写模块c完成设定时间和日期,电压上下限值,发送信息接收的手机号码,定时发送信息,装置工作模式设定,数据存储间隔(即,检测电压范围每相电压输入不得大于400V,数据存储间隔的调节范围为0.15~1分钟,调节步长为1秒。)等内容的整定与更新,直到检测到下一次U盘整定文件的参数整定值变更为止;然后将装置中的存储记录信息写入U盘指定的文件中,运行完成后装置自动关闭对U盘的操作,信号指示灯6熄灭。U盘读取的数据通过专用分析软件分析可得到被监测电源配电运行情况和供电电能质量分析。该监测装置本身无任何操作按键,通过U盘上的专用参数整定文件实现对装置的操作,工作人员携带U盘通过装置的USB接口,不需任何额外操作,就可以自动实现装置工作参数的整定与装置存储信息的读取,这对于分散在电力沿线的配电装置监测数据的获取与操作特别方便、安全,特别是山区电力其便捷优势更为明显。该装置安装在配电箱内,其供电电源取自铁路低压配电一相电源,经整流分压得到装置各模块的工作电压。整个装置必须在电信信号覆盖范围内,才能发出报警信息,否则数据只能记录在装置内用U盘转储。First read the parameter setting file on the U disk and complete the setting of time and date, upper and lower voltage limit values, mobile phone numbers for sending information, timing sending information, device working mode setting, and data storage interval through the U disk reading and writing module c (That is, the detection voltage range of each phase voltage input shall not be greater than 400V, the adjustment range of the data storage interval is 0.15 to 1 minute, and the adjustment step is 1 second.) and other content setting and updating, until the next U disk setting file is detected Until the parameter setting value of the device is changed; then write the storage record information in the device into the file specified by the U disk, after the operation is completed, the device automatically closes the operation on the U disk, and the
本实用新型的铁路低压配电故障报警自动无线发送监测装置,融合多项先进技术完成了一套能实时监测配电供电电源的专用记录装置,解决了铁路配电监测的实际问题,该装置应用于铁路电力通信电源和信号机电源的实时监测,将极大缩减故障处理时间和尽快恢复供电,提高了铁路系统供电水平,从而保证电力通信电源和信号机电源的电能质量,保障铁路电力通信设备和信号机设备的正常运转。该装置使用范围很广,能够有效保证铁路的安全生产,较大的提高社会经济效益。The automatic wireless transmission monitoring device for railway low-voltage power distribution fault alarm of the utility model combines multiple advanced technologies to complete a set of special recording devices capable of real-time monitoring of power distribution and power supply, which solves the practical problems of railway power distribution monitoring. The real-time monitoring of railway power communication power supply and signal machine power supply will greatly reduce the fault handling time and restore power supply as soon as possible, improving the power supply level of the railway system, thereby ensuring the power quality of power communication power supply and signal machine power supply, and ensuring railway power communication equipment and the normal operation of signaling equipment. The device has a wide range of applications, can effectively ensure the safe production of the railway, and greatly improve social and economic benefits.
Claims (2)
Priority Applications (1)
| Application Number | Priority Date | Filing Date | Title |
|---|---|---|---|
| CN2011203977994U CN202309220U (en) | 2011-10-19 | 2011-10-19 | Failure alarming wireless transmission monitoring device for railway low-voltage distribution box |
Applications Claiming Priority (1)
| Application Number | Priority Date | Filing Date | Title |
|---|---|---|---|
| CN2011203977994U CN202309220U (en) | 2011-10-19 | 2011-10-19 | Failure alarming wireless transmission monitoring device for railway low-voltage distribution box |
Publications (1)
| Publication Number | Publication Date |
|---|---|
| CN202309220U true CN202309220U (en) | 2012-07-04 |
Family
ID=46378033
Family Applications (1)
| Application Number | Title | Priority Date | Filing Date |
|---|---|---|---|
| CN2011203977994U Expired - Fee Related CN202309220U (en) | 2011-10-19 | 2011-10-19 | Failure alarming wireless transmission monitoring device for railway low-voltage distribution box |
Country Status (1)
| Country | Link |
|---|---|
| CN (1) | CN202309220U (en) |
Cited By (6)
| Publication number | Priority date | Publication date | Assignee | Title |
|---|---|---|---|---|
| CN103063960A (en) * | 2012-12-31 | 2013-04-24 | 人民电器集团有限公司 | Household electric energy quality monitoring and control device |
| CN104052156A (en) * | 2014-06-11 | 2014-09-17 | 国家电网公司 | Low-voltage switch box fault warning and isolating method |
| CN104579504A (en) * | 2013-10-15 | 2015-04-29 | 上海申铁信息工程有限公司 | Method for acquiring and processing safety production failure data of railway communication segment |
| CN106785947A (en) * | 2015-11-23 | 2017-05-31 | 天津鼎电气成套设备有限公司 | A kind of automatic alarm distribution box |
| CN109408311A (en) * | 2018-10-26 | 2019-03-01 | 科大智能电气技术有限公司 | A kind of intelligence distribution transformer terminals USB maintenance system and method |
| CN116021992A (en) * | 2022-11-30 | 2023-04-28 | 安徽江淮汽车集团股份有限公司 | Hybrid light truck intelligent power distribution box and automobile |
-
2011
- 2011-10-19 CN CN2011203977994U patent/CN202309220U/en not_active Expired - Fee Related
Cited By (7)
| Publication number | Priority date | Publication date | Assignee | Title |
|---|---|---|---|---|
| CN103063960A (en) * | 2012-12-31 | 2013-04-24 | 人民电器集团有限公司 | Household electric energy quality monitoring and control device |
| CN104579504A (en) * | 2013-10-15 | 2015-04-29 | 上海申铁信息工程有限公司 | Method for acquiring and processing safety production failure data of railway communication segment |
| CN104052156A (en) * | 2014-06-11 | 2014-09-17 | 国家电网公司 | Low-voltage switch box fault warning and isolating method |
| CN104052156B (en) * | 2014-06-11 | 2016-01-20 | 国家电网公司 | A kind of low-voltage distribution cabinet fault warning and partition method |
| CN106785947A (en) * | 2015-11-23 | 2017-05-31 | 天津鼎电气成套设备有限公司 | A kind of automatic alarm distribution box |
| CN109408311A (en) * | 2018-10-26 | 2019-03-01 | 科大智能电气技术有限公司 | A kind of intelligence distribution transformer terminals USB maintenance system and method |
| CN116021992A (en) * | 2022-11-30 | 2023-04-28 | 安徽江淮汽车集团股份有限公司 | Hybrid light truck intelligent power distribution box and automobile |
Similar Documents
| Publication | Publication Date | Title |
|---|---|---|
| CN202309220U (en) | Failure alarming wireless transmission monitoring device for railway low-voltage distribution box | |
| CN202230153U (en) | Abnormal power utilization real-time monitoring system for rural power grid distribution station | |
| CN104267704B (en) | Tunnel monitoring system | |
| CN102707178A (en) | Method for prewarning and monitoring failures of secondary equipment of power system | |
| CN102005736A (en) | On-line monitoring method of state of relay protection equipment | |
| CN106787172B (en) | A method for comprehensive monitoring of multi-dimensional status of distribution automation terminals | |
| CN107742925B (en) | Inspection method of hard pressure plate of substation based on three-level network | |
| CN202093640U (en) | Multi-parameter real-time fire-resistant monitoring device for rail locomotives | |
| CN203433025U (en) | Intelligent monitor for electricity larceny prevention | |
| CN204008786U (en) | A kind of anti-electricity-theft remote monitoring and warning system | |
| CN201435620Y (en) | High-voltage user power monitoring and operation management system | |
| CN201569733U (en) | Railway low-voltage power distribution fault warning and automatic wireless transmission monitoring device | |
| CN206945914U (en) | Track switch control relay monitoring device | |
| CN206149022U (en) | Net feeder automation terminal is joined in marriage to distributing type | |
| CN105134296B (en) | Digital mine safety monitoring system | |
| CN203455712U (en) | Transformer station equipment centralized control and inspection tour online-monitoring system | |
| CN203455690U (en) | Intelligent transformer oil-pressure on-line monitoring device | |
| CN104505949A (en) | Mine power network monitoring and guaranteeing system | |
| CN204166081U (en) | Straight-flow system insulating ground warning device | |
| CN214473676U (en) | Relay protection operation and maintenance checking office platform | |
| CN205000993U (en) | Digital mining safety monitoring system | |
| CN205160210U (en) | Novel join in marriage and become intelligent monitor terminal | |
| CN116668261A (en) | Multi-source data fusion-based power transformation intelligent gateway system | |
| CN101799510B (en) | Automated device for WH power distribution fault diagnosis of trunk transformer | |
| CN206178014U (en) | Network management smart host based on accurate location of big dipper |
Legal Events
| Date | Code | Title | Description |
|---|---|---|---|
| C14 | Grant of patent or utility model | ||
| GR01 | Patent grant | ||
| C56 | Change in the name or address of the patentee | ||
| CP01 | Change in the name or title of a patent holder |
Address after: 300300 Tianjin Jinqiao Industrial Park, Dongli, Sichuan railway No. 3 Patentee after: Kawatetsu electrical (Tianjin) Limited by Share Ltd Address before: 300300 Tianjin Jinqiao Industrial Park, Dongli, Sichuan railway No. 3 Patentee before: Chuantie Electric (Tianjin) Group Co., Ltd. |
|
| CF01 | Termination of patent right due to non-payment of annual fee |
Granted publication date: 20120704 Termination date: 20181019 |
|
| CF01 | Termination of patent right due to non-payment of annual fee |
