CN202309115U - Charging cabinet - Google Patents

Charging cabinet Download PDF

Info

Publication number
CN202309115U
CN202309115U CN2011203760041U CN201120376004U CN202309115U CN 202309115 U CN202309115 U CN 202309115U CN 2011203760041 U CN2011203760041 U CN 2011203760041U CN 201120376004 U CN201120376004 U CN 201120376004U CN 202309115 U CN202309115 U CN 202309115U
Authority
CN
China
Prior art keywords
charging
line
connecting line
charging cabinet
cabinet
Prior art date
Legal status (The legal status is an assumption and is not a legal conclusion. Google has not performed a legal analysis and makes no representation as to the accuracy of the status listed.)
Expired - Lifetime
Application number
CN2011203760041U
Other languages
Chinese (zh)
Inventor
蒋哲鑫
陈佳建
Current Assignee (The listed assignees may be inaccurate. Google has not performed a legal analysis and makes no representation or warranty as to the accuracy of the list.)
BYD Co Ltd
Original Assignee
BYD Co Ltd
Priority date (The priority date is an assumption and is not a legal conclusion. Google has not performed a legal analysis and makes no representation as to the accuracy of the date listed.)
Filing date
Publication date
Application filed by BYD Co Ltd filed Critical BYD Co Ltd
Priority to CN2011203760041U priority Critical patent/CN202309115U/en
Application granted granted Critical
Publication of CN202309115U publication Critical patent/CN202309115U/en
Anticipated expiration legal-status Critical
Expired - Lifetime legal-status Critical Current

Links

Images

Landscapes

  • Charge And Discharge Circuits For Batteries Or The Like (AREA)

Abstract

A charging cabinet comprises a charging gun, a charging connecting line and a charging guiding end. One end of the charging connecting line is connected on the charging gun, and the other end of the charging connecting line is connected on the charging guiding end. The charging guiding end is connected on the body of the charging cabinet. The charging cabinet also comprises a stay cable withdrawal mechanism which is positioned in the body of the charging cabinet. The stay cable withdrawal mechanism is fixed on the sidewall of one end inside the body of the charging cabinet. The stay cable withdrawal mechanism comprises a free end that can move in a reciprocating manner. The free end is provided with a line holder that is used for supporting the charging connecting line. The charging connecting line passes through the line holder to be guided out from the other end of the body of the charging cabinet. According to the technical scheme, the charging connecting line can be taken back to the charging cabinet under an inoperative state without being hung outside, so that the space is saved, the operation is more convenient and safety is guaranteed.

Description

一种充电柜a charging cabinet

技术领域 technical field

本实用新型涉及一种充电柜。 The utility model relates to a charging cabinet.

背景技术 Background technique

在技术日新月异的今天,汽车已如手机一样普及,成为人们日常出行中必不可少的代步工具。汽车行业的发展更是以指数形式在一路攀升。在全球愈演愈烈的能源危机促动下,油价问题更是越来越白热化,燃油汽车的能耗问题已成为左右车主购车的决定性因素,而此时电动汽车以节能减排的优势华丽登场,迎来了自己的春天。 Today, with the ever-changing technology, cars have become as popular as mobile phones and have become an indispensable means of transportation for people's daily travel. The development of the automobile industry is rising exponentially. Driven by the intensified energy crisis in the world, the issue of oil prices has become more and more intense. The energy consumption of fuel vehicles has become a decisive factor for car owners to buy cars. own spring.

相对于传统燃油汽车,电动汽车的绿色环保使得它成为近年政府部门大力推崇的对象,零油耗更是使得它成为消费者的宠儿,新能源汽车将代替现在的汽油车,会进入每一个家庭,用户对充电柜的要求会越来越高,特别是安全、方便性能的要求。 Compared with traditional fuel vehicles, the green and environmental protection of electric vehicles has made them highly praised by government departments in recent years. The zero fuel consumption has made them the darling of consumers. New energy vehicles will replace the current gasoline vehicles and enter every family. Users will have higher and higher requirements for charging cabinets, especially the requirements for safety and convenience.

充电枪是电动汽车充电柜中很重要的输出部件,充电枪使用性能的好坏直接影响充电的稳定性和安全性,然而盘挂式的充电枪无法满足这个要求,盘挂式充电枪活动范围不易控制且不稳定、占用空间、容易损坏、安全性不高、操作不方便。 The charging gun is a very important output part in the electric vehicle charging cabinet. The performance of the charging gun directly affects the stability and safety of charging. However, the panel-mounted charging gun cannot meet this requirement. The range of activity of the panel-mounted charging gun Difficult to control and unstable, occupying space, easy to damage, low security, inconvenient to operate.

发明内容 Contents of the invention

本实用新型的一个目的在于克服充电连接线放置在充电柜外占用空间的不足,提供了一种充电连接线可以收回到充电柜内,节省空间的充电柜。 One purpose of the utility model is to overcome the shortage of space occupied by the charging connecting wire outside the charging cabinet, and provide a charging cabinet in which the charging connecting wire can be retracted into the charging cabinet to save space.

一种充电柜,包括充电枪、充电连接线及充电引出端,所述充电连接线的一端连接在充电枪上,所述充电连接线的另一端连接到充电引出端,所述充电引出端连接到充电柜本体上,其中,所述充电柜还包括拉索收回机构,所述充电连接线和所述拉索收回机构位于充电柜本体内,所述拉索收回机构包括可在充电连接线带动下移动的自由端和用于使自由端回位的回位单元,在所述自由端上安装有用于支撑所述充电连接线的线托,所述充电连接线穿过所述线托由所述充电柜本体引出并与充电枪连接在一起。  A charging cabinet, including a charging gun, a charging connection line and a charging lead-out, one end of the charging connection line is connected to the charging gun, the other end of the charging connection line is connected to the charging lead-out, and the charging lead-out is connected to to the body of the charging cabinet, wherein the charging cabinet also includes a cable retracting mechanism, the charging connection line and the cable retracting mechanism are located in the charging cabinet body, and the cable retracting mechanism includes a cable that can be driven by the charging connection line The free end that moves down and the return unit for returning the free end, a line support for supporting the charging connection line is installed on the free end, and the charging connection line passes through the line support by the Lead out from the main body of the above-mentioned charging cabinet and connect with the charging gun. the

进一步地,所述拉索收回机构为弹簧平衡器,所述弹簧平衡器包括用于回位的钢丝绳、上吊钩和下吊钩,所述钢丝绳和下吊钩连接,所述弹簧平衡器通过上吊钩安装在充电柜上,所述自由端为下吊钩,回位单元为钢丝绳。 Further, the cable retracting mechanism is a spring balancer, and the spring balancer includes a wire rope for returning, an upper hook and a lower hook, the wire rope is connected to the lower hook, and the spring balancer The hook is installed on the charging cabinet, the free end is the lower hook, and the return unit is a wire rope.

进一步地,所述线托为动滑轮,所述动滑轮包括用于连接下吊钩的支架,所述支架上设有连接孔,所述下吊钩钩在所述连接孔内,所述充电连接线绕过动滑轮。 Further, the line support is a movable pulley, and the movable pulley includes a bracket for connecting the lower hook, and the bracket is provided with a connection hole, and the lower hook is hooked in the connection hole, and the charging connection line Bypass the movable pulley.

进一步地,所述充电柜上设有用于充电连接线出线的出线口,所述充电连接线连接充电枪的一端由所述出线口引出。 Further, the charging cabinet is provided with an outlet for the charging connection cable to go out, and one end of the charging connection cable connected to the charging gun is drawn out from the outlet.

进一步地,在出线口处设有便于充电连接线移动的定滑轮,所述定滑轮安装在充电柜本体内靠近出线口的侧壁上,所述充电连接线绕过所述定滑轮上。 Further, a fixed pulley is provided at the wire outlet to facilitate the movement of the charging connection line, the fixed pulley is installed on the side wall of the charging cabinet body close to the wire outlet, and the charging connection wire bypasses the fixed pulley.

进一步地,所述定滑轮有两个,所述两个定滑轮共同夹持所述充电连接线。 Further, there are two fixed pulleys, and the two fixed pulleys jointly clamp the charging connection wire.

一种充电柜,所述充电柜安装在充电柜本体上,包括充电枪、充电连接线及充电引出端,所述充电连接线的一端连接在充电枪上,所述充电连接线的另一端连接到充电引出端,所述充电引出端连接到充电柜本体上,所述充电柜还包括拉索收回机构,所述拉索收回机构位于充电柜本体内,所述拉索收回机构固定所述充电柜本体靠近一端的侧壁上,所述拉索收回机构包括可往复移动的自由端,在所述自由端上安装有用于支撑所述充电连接线的线托,所述充电连接线穿过所述线托由所述充电柜本体的另一端引出,通过采用本方案,充电连接线可以在非工作状态时收回充电柜中,不需要外挂,也不会因为充电连接线过长占用空间,节省空间操作起来更加方便,也避免了磨损带来的安全性低,安全也得到了保障。 A charging cabinet, the charging cabinet is installed on the charging cabinet body, including a charging gun, a charging connection line and a charging lead-out end, one end of the charging connection line is connected to the charging gun, and the other end of the charging connection line is connected to To the charging outlet, the charging outlet is connected to the charging cabinet body, the charging cabinet also includes a cable retracting mechanism, the cable retracting mechanism is located in the charging cabinet body, and the cable retracting mechanism fixes the charging On the side wall of the cabinet body close to one end, the cable retracting mechanism includes a reciprocating free end, on which a wire support for supporting the charging connection wire is installed, and the charging connection wire passes through the The wire support is led out from the other end of the charging cabinet body. By adopting this solution, the charging connection wire can be retracted into the charging cabinet when it is not in working state, no need for external hanging, and it will not take up space because the charging connection wire is too long, saving The space operation is more convenient, and the low safety caused by wear and tear is avoided, and the safety is also guaranteed.

附图说明 Description of drawings

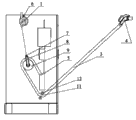
图1是本实用新型充电柜的一种实施例的常态时的结构示意图。 Fig. 1 is a schematic structural diagram of an embodiment of the charging cabinet of the present invention in a normal state.

图2是本实用新型充电柜的一种实施例的工作状态的结构示意图。 Fig. 2 is a schematic structural diagram of the working state of an embodiment of the charging cabinet of the present invention.

其中:1、弹簧平衡器;2、动滑轮;3、充电连接线;4、充电枪;5、充电引出端;6、上吊钩;7、下吊钩;8、支架;9、圆盘;10、充电柜本体;11、出线口;12、定滑轮。 Among them: 1. Spring balancer; 2. Moving pulley; 3. Charging cable; 4. Charging gun; 5. Charging terminal; 6. Upper hook; 7. Lower hook; 8. Support; 9. Disc; 10 1. Charging cabinet body; 11. Outlet; 12. Fixed pulley.

具体实施方式 Detailed ways

为了使本实用新型所解决的技术问题、技术方案及有益效果更加清楚明白,以下结合附图及实施例,对本实用新型进行进一步详细说明。应当理解,此处所描述的具体实施例仅仅用以解释本实用新型,并不用于限定本实用新型。 In order to make the technical problems, technical solutions and beneficial effects solved by the utility model clearer, the utility model will be further described in detail below in conjunction with the accompanying drawings and embodiments. It should be understood that the specific embodiments described here are only used to explain the utility model, and are not intended to limit the utility model.

本实用新型提供的一种充电柜,包括充电枪4、充电连接线3及充电引出端5,所述充电连接线3的一端连接在充电枪4上,所述充电连接线3的另一端连接到充电引出端5,所述充电引出端5连接到充电柜本体10上,所述充电柜还包括拉索收回机构,所述拉索收回机构位于充电柜本体10内,所述拉索收回机构固定所述充电柜本体10靠近一端的侧壁上,所述拉索收回机构包括可往复移动的自由端,在所述自由端上安装有用于支撑所述充电连接线3的线托,所述充电连接线3穿过所述线托由所述充电柜本体10的另一端引出。  A charging cabinet provided by the utility model includes a charging gun 4, a charging connecting wire 3 and a charging lead-out 5, one end of the charging connecting wire 3 is connected to the charging gun 4, and the other end of the charging connecting wire 3 is connected to To the charging outlet 5, the charging outlet 5 is connected to the charging cabinet body 10, the charging cabinet also includes a cable retracting mechanism, the cable retracting mechanism is located in the charging cabinet body 10, and the cable retracting mechanism Fix the charging cabinet body 10 on the side wall close to one end, the cable retracting mechanism includes a reciprocating free end, and a line holder for supporting the charging connection line 3 is installed on the free end, the The charging connecting wire 3 is led out from the other end of the charging cabinet body 10 through the wire holder. the

在本实施例中,以充电柜置于水平面上正常工作时的位置,充电柜与地面接触的部分称为底部,与地面相对的端面称为顶部。 In this embodiment, the charging cabinet is placed in a normal working position on a horizontal plane, the part of the charging cabinet in contact with the ground is called the bottom, and the end surface opposite to the ground is called the top.

如图1所示,为一种充电柜,包括充电枪4、充电连接线3及充电引出端5,充电连接线3一端连接充电枪4,另一端连接在充电引出端5上,充电引出端5为充电柜的电源输出端。 As shown in Figure 1, it is a charging cabinet, including a charging gun 4, a charging connection line 3 and a charging terminal 5. One end of the charging connection line 3 is connected to the charging gun 4, and the other end is connected to the charging terminal 5. The charging terminal 5 is the power output terminal of the charging cabinet.

为了将充电连接线3在非工作状态时收回到充电柜中,本实用新型提供的充电柜还包括拉索收回机构,所述拉索收回机构固定在充电柜本体10上,拉索收回机构还设有可以往复移动的自由端,本实施例中,所述拉索收回机构为弹簧平衡器1,所述弹簧平衡器1包括用于回位的钢丝绳、上吊钩6及下吊钩7,所述钢丝绳和下吊钩连接,通过上吊钩6弹簧平衡器1固定在安装在充电柜上,所述自由端即为下吊钩7。 In order to retract the charging connection line 3 into the charging cabinet when it is not working, the charging cabinet provided by the utility model also includes a cable retracting mechanism, and the cable retracting mechanism is fixed on the charging cabinet body 10, and the cable retracting mechanism also A free end capable of reciprocating movement is provided. In this embodiment, the cable retracting mechanism is a spring balancer 1, and the spring balancer 1 includes a steel wire rope for returning, an upper hook 6 and a lower hook 7. The steel wire rope is connected with the lower hook, and the spring balancer 1 is fixed on the charging cabinet through the upper hook 6, and the free end is the lower hook 7.

在所述自由端上还设有用于支撑充电连接线3的线托,所述充电连接线3穿过所述线托并放置在线托上,充电连接心线可在线托上滑动,在本实施例中,所述线托为动滑轮2,所述动滑轮2包括用于连接下吊钩7的支架8及圆盘9,所述圆盘9设有凹槽,所述圆盘9可转动的安装在支架8上,所述支架8上设有连接孔,,所述下吊钩7钩在所述连接孔内,所述动滑轮2通过支架8连接到弹簧平衡器1的下吊钩7上, 所述充电连接线3绕过所述动滑轮2,既所述充电连接线3放置在圆盘9的凹槽内。 The free end is also provided with a wire holder for supporting the charging connection wire 3, the charging connection wire 3 passes through the wire holder and is placed on the wire holder, the charging connection core wire can slide on the wire holder, in this implementation In an example, the wire support is a movable pulley 2, and the movable pulley 2 includes a bracket 8 and a disc 9 for connecting the lower hook 7, the disc 9 is provided with a groove, and the disc 9 is rotatably installed On the support 8, the support 8 is provided with a connection hole, the lower hook 7 is hooked in the connection hole, the movable pulley 2 is connected to the lower hook 7 of the spring balancer 1 through the support 8, The charging connecting wire 3 bypasses the movable pulley 2 , that is, the charging connecting wire 3 is placed in the groove of the disc 9 .

为了防止充电连接线3从充电柜本体10中拉出时与盒体发生摩擦而发生损坏,在充电柜本体10靠近出线口11处的侧壁上设有便于充电连接线3移动的定滑轮12,所述充电连接线3抵靠放置在所述定滑轮12上,优选地,设有两个动滑轮2,所述两个定滑轮12夹持所述充电连接线3,防止充电连接线3在拉动时候造成摩擦损坏。 In order to prevent the charging connecting wire 3 from being damaged due to friction with the box body when it is pulled out from the charging cabinet body 10, a fixed pulley 12 is provided on the side wall of the charging cabinet body 10 near the outlet 11 to facilitate the movement of the charging connecting wire 3 , the charging connection line 3 is placed against the fixed pulley 12, preferably, two movable pulleys 2 are provided, and the two fixed pulleys 12 clamp the charging connection line 3 to prevent the charging connection line 3 from Friction damage when pulled.

本实用新型提供了一种充电柜,所述充电柜包括充电枪4、充电连接线3及充电引出端5,所述充电柜安装在充电柜本体10上,包括充电枪4、充电连接线3及充电引出端5,所述充电连接线3的一端连接在充电枪4上,所述充电连接线3的另一端连接到充电引出端5,所述拉索收回机构固定在所述充电柜本体10内一端的侧壁上,所述充电柜本体10另一端的侧壁上设有用于充电连接线3出线的出线口11,所述充电连接线3连接充电枪4的一端由所述出线口11引出,在所述充电柜本体10上还设有固定架,充电枪4不使用的时候放置在固定架上。 The utility model provides a charging cabinet. The charging cabinet includes a charging gun 4, a charging connection line 3 and a charging lead-out terminal 5. The charging cabinet is installed on a charging cabinet body 10 and includes a charging gun 4 and a charging connection line 3. and the charging terminal 5, one end of the charging cable 3 is connected to the charging gun 4, the other end of the charging cable 3 is connected to the charging terminal 5, and the cable retracting mechanism is fixed on the charging cabinet body 10, on the side wall at one end of the charging cabinet body 10, an outlet 11 for the outlet of the charging connection line 3 is provided on the side wall at the other end of the charging cabinet body 10, and one end of the charging connection line 3 connected to the charging gun 4 is connected by the outlet. 11, a fixed frame is also provided on the charging cabinet body 10, and the charging gun 4 is placed on the fixed frame when it is not in use.

结合图2所示,本实用新型工作时是这样的:由于充电连接线3一端固定在充电引出端5上,充电连接线3穿过动滑轮2,在拉动充电枪4时,充电连接线3带动动滑轮2向下运动,同时动滑轮2克服弹簧平衡器1的拉力做功,根据动滑轮2的原理,动滑轮2移动的位移小于充电连接线3的移动位移,动滑轮2移动很小的距离即可使得充电枪4移动范围变大,根据汽车的距离调整拉出的充电连接线3的长度,结束充电后,动滑轮2在弹簧平衡器1的作用下恢复到初始状态,充电枪4放置在固定架上。 As shown in Figure 2, the utility model works like this: since one end of the charging connection line 3 is fixed on the charging lead-out 5, the charging connection line 3 passes through the movable pulley 2, and when the charging gun 4 is pulled, the charging connection line 3 drives The movable pulley 2 moves downward, and at the same time, the movable pulley 2 overcomes the tension of the spring balancer 1 to do work. According to the principle of the movable pulley 2, the displacement of the movable pulley 2 is smaller than the displacement of the charging connection line 3, and the movable pulley 2 can move a small distance to make the charging gun 4. The moving range becomes larger. Adjust the length of the pulled charging cable 3 according to the distance of the car. After charging, the movable pulley 2 returns to the initial state under the action of the spring balancer 1, and the charging gun 4 is placed on the fixed frame.

本实用新型提供一种充电柜,包括充电枪4、充电连接线3及充电引出端5,所述充电连接线3的一端连接在充电枪4上,所述充电连接线3的另一端连接到充电引出端5,所述拉索收回机构固定在所述充电柜本体10内一端的侧壁上,所述充电柜本体10另一端的侧壁上设有用于充电连接线3出线的出线口11,所述充电连接线3连接充电枪4的一端由所述出线口11引出,通过采用本方案,充电连接线3可以在非工作状态时收回充电柜本体10中,不需要外挂,也不会因为充电连接线3过长占用空间,节省空间操作起来更加方便,也避免了磨损带来的安全性低,安全也得到了保障。 The utility model provides a charging cabinet, which includes a charging gun 4, a charging connecting line 3 and a charging lead-out 5, one end of the charging connecting line 3 is connected to the charging gun 4, and the other end of the charging connecting line 3 is connected to The charging outlet 5, the cable retracting mechanism is fixed on the side wall at one end of the charging cabinet body 10, and the side wall at the other end of the charging cabinet body 10 is provided with an outlet 11 for the charging connection line 3 to go out One end of the charging connection line 3 connected to the charging gun 4 is drawn out from the outlet 11. By adopting this solution, the charging connection line 3 can be retracted into the charging cabinet body 10 when it is not working Because the charging connection line 3 is too long and takes up space, it saves space and is more convenient to operate, and also avoids the low safety caused by wear and tear, and the safety is also guaranteed.

   以上所述仅为本实用新型的较佳实施例而已,并不用以限制本实用新型,凡在本实用新型的精神和原则之内所作的任何修改、等同替换和改进等,均应包含在本实用新型的保护范围之内。 The above descriptions are only preferred embodiments of the present utility model, and are not intended to limit the present utility model. Any modifications, equivalent replacements and improvements made within the spirit and principles of the present utility model shall be included in this utility model. within the scope of protection of utility models.

Claims (6)

1. charging cabinet; Comprise charging rifle (4), charging connecting line (3) and charging exit (5); One end of said charging connecting line (3) is connected on the charging rifle (4); The other end of said charging connecting line (3) is connected to charging exit (5); Said charging exit (5) is connected on the charging cabinet body (10), it is characterized in that, said charging cabinet also comprises the drag-line retraction mechanism; Said drag-line retraction mechanism all is positioned at charging cabinet body (10) with charging connecting line (3); Said drag-line retraction mechanism comprises and can drive free end that moves down and the return unit that is used to make the free end return at charging connecting line (3), and the line holder that is used to support said charging connecting line (3) is installed on said free end, and said charging connecting line (3) passes that said line holder is drawn by said charging cabinet body (10) and links together with the rifle (4) that charges.
2. charging cabinet according to claim 1; It is characterized in that said drag-line retraction mechanism is Spring balancer (1), said Spring balancer (1) comprises steel wire rope, hook (6) and the following suspension hook (7) that is used for return; Said steel wire rope is connected with following suspension hook (7); Said Spring balancer (1) is installed on the charging cabinet through hook (6), and said free end is following suspension hook (7), and the return unit is a steel wire rope.
3. charging cabinet according to claim 2; It is characterized in that; Said line holder is movable pulley (2), and said movable pulley (2) comprises support (8), and said support (8) is provided with connecting hole; Said suspension hook (7) down is hooked in the said connecting hole, and said charging connecting line (3) is walked around movable pulley (2).
4. charging cabinet according to claim 1 is characterized in that, said charging cabinet is provided with the line outlet (11) of connecting line (3) outlet that is used to charge, and said charging connecting line (3) connects an end of charging rifle (4) and drawn by said line outlet (11).
5. charging cabinet according to claim 4; It is characterized in that; Locate to be provided with at line outlet (11) and be convenient to charge the fixed pulley (12) that connecting line (3) moves; Said fixed pulley (12) is installed on the interior sidewall near line outlet (11) of charging cabinet body (10), and said charging connecting line (3) is walked around on the said fixed pulley (12).
6. charging cabinet according to claim 5 is characterized in that, said fixed pulley (12) has two, the common said charging connecting line of clamping (3) of said two fixed pulleys (12).
CN2011203760041U 2011-09-29 2011-09-29 Charging cabinet Expired - Lifetime CN202309115U (en)

Priority Applications (1)

Application Number Priority Date Filing Date Title
CN2011203760041U CN202309115U (en) 2011-09-29 2011-09-29 Charging cabinet

Applications Claiming Priority (1)

Application Number Priority Date Filing Date Title
CN2011203760041U CN202309115U (en) 2011-09-29 2011-09-29 Charging cabinet

Publications (1)

Publication Number Publication Date
CN202309115U true CN202309115U (en) 2012-07-04

Family

ID=46377928

Family Applications (1)

Application Number Title Priority Date Filing Date
CN2011203760041U Expired - Lifetime CN202309115U (en) 2011-09-29 2011-09-29 Charging cabinet

Country Status (1)

Country Link
CN (1) CN202309115U (en)

Cited By (8)

* Cited by examiner, † Cited by third party
Publication number Priority date Publication date Assignee Title
CN104617619A (en) * 2015-01-26 2015-05-13 申俊云 Charger
CN105226769A (en) * 2015-11-04 2016-01-06 江苏中科时代电气制造股份有限公司 A kind of alternating-current charging pile that can improve easy-to-use degree
CN105322617A (en) * 2015-11-18 2016-02-10 深圳市沃尔核材股份有限公司 Convenient and rapid charging pile
CN106099564A (en) * 2016-07-29 2016-11-09 于东兴 Rotary lap guard wire-connecting device
CN106081748A (en) * 2016-08-09 2016-11-09 深圳驿普乐氏科技有限公司 A kind of charging pile auto take-up
CN107265202A (en) * 2017-06-13 2017-10-20 中国矿业大学 A kind of charging wire draw off gear for electric automobile charging pile
CN108802457A (en) * 2016-09-06 2018-11-13 青岛智享专利技术开发有限公司 The electric power electricity box of intelligent automatic-sealed line mouth
CN108861881A (en) * 2018-05-17 2018-11-23 深圳市宝道智能科技有限公司 A kind of drawing cable line apparatus and charging pile

Cited By (11)

* Cited by examiner, † Cited by third party
Publication number Priority date Publication date Assignee Title
CN104617619A (en) * 2015-01-26 2015-05-13 申俊云 Charger
CN105226769A (en) * 2015-11-04 2016-01-06 江苏中科时代电气制造股份有限公司 A kind of alternating-current charging pile that can improve easy-to-use degree
CN105322617A (en) * 2015-11-18 2016-02-10 深圳市沃尔核材股份有限公司 Convenient and rapid charging pile
CN105322617B (en) * 2015-11-18 2018-05-29 深圳市沃尔核材股份有限公司 Portable type charging pile
CN106099564A (en) * 2016-07-29 2016-11-09 于东兴 Rotary lap guard wire-connecting device
CN106099564B (en) * 2016-07-29 2019-02-26 中冶沈勘工程技术有限公司 Rotary lap guard wire-connecting device
CN106081748A (en) * 2016-08-09 2016-11-09 深圳驿普乐氏科技有限公司 A kind of charging pile auto take-up
CN108802457A (en) * 2016-09-06 2018-11-13 青岛智享专利技术开发有限公司 The electric power electricity box of intelligent automatic-sealed line mouth
CN107265202A (en) * 2017-06-13 2017-10-20 中国矿业大学 A kind of charging wire draw off gear for electric automobile charging pile
CN108861881A (en) * 2018-05-17 2018-11-23 深圳市宝道智能科技有限公司 A kind of drawing cable line apparatus and charging pile
CN108861881B (en) * 2018-05-17 2019-05-21 深圳市宝道智能科技有限公司 A kind of drawing cable line apparatus and charging pile

Similar Documents

Publication Publication Date Title
CN202309115U (en) Charging cabinet
CN204416802U (en) A kind of cable winding device of improvement
US20230382247A1 (en) Charging cable device for intelligent new energy vehicle
CN201923820U (en) Scissors-type lifting platform tugged by winding drum with variable winding diameter
CN203481064U (en) Multifunctional power-cut rod
CN108248429B (en) Double-sided lifting type solar charging pile
CN204527727U (en) One pushes away brick device
CN202981870U (en) Winding type telescopic platform for window cleaning machine
CN201125127Y (en) Ultralong electric gourd
CN102219167B (en) Engine mounting device for aerial work platform convenient for maintenance
CN205772367U (en) A kind of automatization pay off rack
CN221605774U (en) Telescopic power exchange station
CN202016838U (en) Cross-country scissor-type aerial work platform making engine conveniently overhauled
CN102730598B (en) Heavy object installing forklift for passenger vehicle
CN201526264U (en) hydraulic lifting boarding ladder
CN102167272B (en) Cross-country scissor aerial work platform providing convenience for engine overhauling
CN207984909U (en) A kind of wisdom logistics delivery device
CN206947847U (en) A kind of portable power maintenance car
CN203558774U (en) Ocean platform crane
CN203637712U (en) Electric lifting device of vehicle backup frame
CN216684697U (en) Portable scooter joins externally storing storehouse
CN201381183Y (en) Automatic loading device of hydraulic crane
CN202042714U (en) Freestyle telescopic socket
CN209931886U (en) Wireless intelligent induction charging bar counter
CN202222997U (en) Storage rack

Legal Events

Date Code Title Description
C14 Grant of patent or utility model
GR01 Patent grant
CX01 Expiry of patent term

Granted publication date: 20120704

CX01 Expiry of patent term