CN202283770U - 带两个凸缘的橡胶零件的排模 - Google Patents
带两个凸缘的橡胶零件的排模 Download PDFInfo
- Publication number
- CN202283770U CN202283770U CN2011204197754U CN201120419775U CN202283770U CN 202283770 U CN202283770 U CN 202283770U CN 2011204197754 U CN2011204197754 U CN 2011204197754U CN 201120419775 U CN201120419775 U CN 201120419775U CN 202283770 U CN202283770 U CN 202283770U
- Authority
- CN
- China
- Prior art keywords
- die
- row
- flanges
- template
- templates
- Prior art date
- Legal status (The legal status is an assumption and is not a legal conclusion. Google has not performed a legal analysis and makes no representation as to the accuracy of the status listed.)
- Expired - Fee Related
Links
- 239000011148 porous material Substances 0.000 claims description 2
- 238000004519 manufacturing process Methods 0.000 abstract description 10
- 238000000034 method Methods 0.000 abstract description 4
- 230000000087 stabilizing effect Effects 0.000 abstract 3
- 230000000149 penetrating effect Effects 0.000 abstract 1
- 238000004512 die casting Methods 0.000 description 2
- 238000005516 engineering process Methods 0.000 description 2
- 238000000465 moulding Methods 0.000 description 2
- 241001074085 Scophthalmus aquosus Species 0.000 description 1
- 230000000712 assembly Effects 0.000 description 1
- 238000000429 assembly Methods 0.000 description 1
- 230000009286 beneficial effect Effects 0.000 description 1
- 230000015572 biosynthetic process Effects 0.000 description 1
- 239000000470 constituent Substances 0.000 description 1
- 238000005520 cutting process Methods 0.000 description 1
- 230000013011 mating Effects 0.000 description 1
- 239000000155 melt Substances 0.000 description 1
- 238000004080 punching Methods 0.000 description 1
- 239000002699 waste material Substances 0.000 description 1
Images
Landscapes
- Moulds For Moulding Plastics Or The Like (AREA)
Abstract
本实用新型涉及一种模具。为解决目前带两个凸缘的橡胶零件生产效率低下的技术问题,本实用新型提供一种带两个凸缘的橡胶零件的排模,该排模包括上模板、中模板及下模板,三块模板上设有同轴度的稳定孔,通过稳定孔中的稳针将三块模板进行结合,其特征在于:上模板、中模板、下模板上还分别设有多个同轴度的圆形模腔孔,上模与上模板、下模与下模板分别采用过盈配合镶嵌在模腔孔中,上模、下模与三块模板上的模腔孔结合后形成的模腔与所制作橡胶零件的形状一致。该带两个凸缘的橡胶零件的排模结构简单,制作成本低,工艺合理,生产效率与实用效率得到大幅提高。
Description
技术领域
本实用新型涉及一种模具,尤其是同时制做多个带两个凸缘的橡胶零件的排模。
背景技术
在电机生产行业中,经常遇见尺寸小而且带两个凸缘的橡胶零件(见图1),该橡胶零件中间带有空腔,在零件的两端设有凸缘,两凸缘之间的零件体构成零件颈。制作该零件的关键在于保证零件中间空腔与两凸缘的同轴度一致,否则即成为废品。目前,这些小的橡胶零件通常都是压铸一次,成形一个,生产效率低下,不能满足生产需求。
发明内容
为解决目前带两个凸缘的橡胶零件生产效率低下的技术问题,本实用新型提供一种带两个凸缘的橡胶零件的排模,达到一次压铸,多个成型的目的,以提高生产效率。
本实用新型所采用的技术方案为:带两个凸缘的橡胶零件的排模,该排模包括上模板、中模板及下模板,三块模板上设有同轴度的稳定孔,通过稳定孔中的稳针将三块模板进行结合,其特征在于:上模板、中模板、下模板上还分别设有多个同轴度的圆形模腔孔,上模与上模板、下模与下模板分别采用过盈配合镶嵌在模腔孔中,上模、下模与三块模板上的模腔孔结合后形成的模腔与所制作橡胶零件的形状一致。
所述的上模板,其两侧带有把手。
本实用新型的有益效果为:该带两个凸缘的橡胶零件的排模结构简单,制作成本低,工艺合理,生产效率与实用效率得到大幅提高。
附图说明
图1为所加工橡胶零件的结构剖视图。
图2为上模板的机构示意图。
图3为图2中B-B向剖视图。
图4为上模结构剖视图。
图5为下模结构剖视图。
图6为排模组合后的结构剖视图。
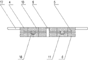
图中,1、上凸缘,2、下凸缘,3、零件颈,4、上模板,5、中模板,6、下模板,7、稳定孔,8、模腔孔,9、稳针,10、上模,11、下模,12、上模插柱,13、上凸缘模腔,14、下凸缘模腔,15、上模插柱凹孔,16、零件模腔,17、把手。
具体实施方式
下面结合附图和实施例对本实用新型做进一步说明。
如图1所示,所加工的橡胶零件包括上凸缘1、下凸缘2及连接两凸缘的零件颈3,零件中空。
图2及图3示出上模板4的结构图,上模板4为板状,在其上开有2个稳定孔7及多个模腔孔8,在本实施例中,模腔孔8的数量定位9个。
中模板5与下模板6与上模板4的形状、结构一致,图中未示出,但是制作时,应保证中模板5的厚度与零件颈3的高度一致。
图4为上模10的结构示意图,如图中所示,上模10为一圆柱体,圆柱体的外径与上模板上的模腔孔8直径一致,在圆柱体的表面设有上模插柱12,在上模插柱12与圆柱体结合表面的周缘设有上凸缘模腔13。
图5为下模11的结构示意图,如图中所示,下模11为一圆柱体,圆柱体的外径与下模板上的模腔孔直径一致,在圆柱体表面开有下凸缘模腔13,在下凸缘模腔13的中心与下凸缘模腔13同轴度开有上模插柱凹孔15。
图6为排模组合后的结构剖视图,如附图所示,将上模10、下模11分别与上模板、下模板上的模腔孔8采用过盈配合的形式镶嵌在模腔孔中,将上下模板对合于中模板的上下表面,采用稳针9穿过模板上的稳定孔7实现结合,由于三块模板的形状、结构一致,因此其上面的稳定孔及模腔孔同心度一致。
如图6所示,组合以后的排模,上模插柱12穿过中模板上的模腔孔插在下模上的上模插柱凹孔15中,上模、下模与三块模板上的模腔孔结合后形成零件模腔16,该模腔形状与所制作橡胶零件的形状一致。
该排模使用时,先将三块模板分开,按照橡胶零件的重量将原料橡胶条放在下模的下凸缘模腔13及中模上的模腔孔中,然后将三块模板组合,将排模进行加压、加热及硫化,在高温条件下,橡胶条融化产生流动充满排模中的整个零件模腔16中,橡胶零件即成型。
为方便拿取上模板,如图6所示,在上模板的两侧设有把手17。
该排模制作时,先把加工好的上模板、中模板、下模板三个模板固定在一起,再按以下工艺路线加工:划线→打样冲眼孔→钻工艺孔→线切割,加工完后把三个模板分开,上模板、中模板、下模板分别放在四爪卡盘上,用已加工好的孔找正,把上模板、中模板、下模板上的孔进行扩孔,把已加工好的上模、下模用过盈配合的方式镶嵌在上、下模板里,这样保证了排模模腔孔的同心度。
Claims (2)
1.带两个凸缘的橡胶零件的排模,该排模包括上模板、中模板及下模板,三块模板上设有同轴度的稳定孔,通过稳定孔中的稳针将三块模板进行结合,其特征在于:上模板、中模板、下模板上还分别设有多个同轴度的圆形模腔孔,上模与上模板、下模与下模板分别采用过盈配合镶嵌在模腔孔中,上模、下模与三块模板上的模腔孔结合后形成的模腔与所制作橡胶零件的形状一致。
2.根据权利要求1所述的带两个凸缘的橡胶零件的排模,其特征在于:|所述的上模板,其两侧带有把手。
Priority Applications (1)
| Application Number | Priority Date | Filing Date | Title |
|---|---|---|---|
| CN2011204197754U CN202283770U (zh) | 2011-10-30 | 2011-10-30 | 带两个凸缘的橡胶零件的排模 |
Applications Claiming Priority (1)
| Application Number | Priority Date | Filing Date | Title |
|---|---|---|---|
| CN2011204197754U CN202283770U (zh) | 2011-10-30 | 2011-10-30 | 带两个凸缘的橡胶零件的排模 |
Publications (1)
| Publication Number | Publication Date |
|---|---|
| CN202283770U true CN202283770U (zh) | 2012-06-27 |
Family
ID=46295304
Family Applications (1)
| Application Number | Title | Priority Date | Filing Date |
|---|---|---|---|
| CN2011204197754U Expired - Fee Related CN202283770U (zh) | 2011-10-30 | 2011-10-30 | 带两个凸缘的橡胶零件的排模 |
Country Status (1)
| Country | Link |
|---|---|
| CN (1) | CN202283770U (zh) |
Cited By (2)
| Publication number | Priority date | Publication date | Assignee | Title |
|---|---|---|---|---|
| CN103496088A (zh) * | 2013-08-31 | 2014-01-08 | 无为县大江橡塑制品有限公司 | 一种汽车弹簧用橡胶软垫加工模具 |
| CN114701112A (zh) * | 2022-06-06 | 2022-07-05 | 佛山伊之密精密橡胶机械有限公司 | 一种橡胶注射机 |
-
2011
- 2011-10-30 CN CN2011204197754U patent/CN202283770U/zh not_active Expired - Fee Related
Cited By (2)
| Publication number | Priority date | Publication date | Assignee | Title |
|---|---|---|---|---|
| CN103496088A (zh) * | 2013-08-31 | 2014-01-08 | 无为县大江橡塑制品有限公司 | 一种汽车弹簧用橡胶软垫加工模具 |
| CN114701112A (zh) * | 2022-06-06 | 2022-07-05 | 佛山伊之密精密橡胶机械有限公司 | 一种橡胶注射机 |
Similar Documents
| Publication | Publication Date | Title |
|---|---|---|
| CN202097223U (zh) | 用于制造t铁的模具 | |
| CN202283770U (zh) | 带两个凸缘的橡胶零件的排模 | |
| CN202701377U (zh) | 一种磁瓦一出二模具 | |
| CN201543757U (zh) | 一种用于制造汽车零部件的模具 | |
| CN203862837U (zh) | 一种用于圆管接口的冲压模具 | |
| CN204135193U (zh) | 深冲零件胀形加工模具 | |
| CN202506749U (zh) | 汽车车架纵梁一次成型模具 | |
| CN204700238U (zh) | 一种芯盒 | |
| CN102343647A (zh) | 带两个凸缘的橡胶零件的排模 | |
| CN201626088U (zh) | 托架模具 | |
| CN203221633U (zh) | 多个进胶点模具 | |
| CN204844823U (zh) | 气垫一次成型口模结构 | |
| CN205021901U (zh) | 一种异型管状陶瓷制品制备过程中的制芯机 | |
| CN202727180U (zh) | 一种弯管消失成型芯 | |
| CN202021222U (zh) | 一种电机壳体加工装置 | |
| CN103273013B (zh) | 防止大型筒形铸件产生椭圆变形的方法及铸件 | |
| CN205096384U (zh) | 一种摩托车右下纵臂支座成型冲压模具 | |
| CN206382443U (zh) | 一种尾管扩口成型模具 | |
| CN202105897U (zh) | 施压成型制头机 | |
| CN205200305U (zh) | 一种可调节模具 | |
| CN206253587U (zh) | 一种400型电机座模整体发泡模具 | |
| CN219132673U (zh) | 一种模具 | |
| CN201664749U (zh) | 一种制动器组合浇注结构 | |
| CN202685149U (zh) | 模具前后模处合模时降低阻力结构 | |
| CN203610498U (zh) | 高线径比t铁成型模具 |
Legal Events
| Date | Code | Title | Description |
|---|---|---|---|
| C14 | Grant of patent or utility model | ||
| GR01 | Patent grant | ||
| CF01 | Termination of patent right due to non-payment of annual fee |
Granted publication date: 20120627 Termination date: 20141030 |
|
| EXPY | Termination of patent right or utility model |