CN202273781U - Cyclone whirl sheet structure with high rainwater separating capability - Google Patents
Cyclone whirl sheet structure with high rainwater separating capability Download PDFInfo
- Publication number
- CN202273781U CN202273781U CN2011203990081U CN201120399008U CN202273781U CN 202273781 U CN202273781 U CN 202273781U CN 2011203990081 U CN2011203990081 U CN 2011203990081U CN 201120399008 U CN201120399008 U CN 201120399008U CN 202273781 U CN202273781 U CN 202273781U
- Authority
- CN
- China
- Prior art keywords
- cyclone cylinder
- cyclone
- swirl
- rainwater
- swirl sheet
- Prior art date
- Legal status (The legal status is an assumption and is not a legal conclusion. Google has not performed a legal analysis and makes no representation as to the accuracy of the status listed.)
- Expired - Fee Related
Links
- 238000000926 separation method Methods 0.000 claims abstract description 10
- XLYOFNOQVPJJNP-UHFFFAOYSA-N water Substances O XLYOFNOQVPJJNP-UHFFFAOYSA-N 0.000 claims abstract description 4
- 210000000476 body water Anatomy 0.000 abstract description 4
- 230000001133 acceleration Effects 0.000 description 1
- 238000010586 diagram Methods 0.000 description 1
- 239000000446 fuel Substances 0.000 description 1
- 238000000034 method Methods 0.000 description 1
- 239000000203 mixture Substances 0.000 description 1
- 230000008092 positive effect Effects 0.000 description 1
Images
Classifications
-
- Y—GENERAL TAGGING OF NEW TECHNOLOGICAL DEVELOPMENTS; GENERAL TAGGING OF CROSS-SECTIONAL TECHNOLOGIES SPANNING OVER SEVERAL SECTIONS OF THE IPC; TECHNICAL SUBJECTS COVERED BY FORMER USPC CROSS-REFERENCE ART COLLECTIONS [XRACs] AND DIGESTS
- Y02—TECHNOLOGIES OR APPLICATIONS FOR MITIGATION OR ADAPTATION AGAINST CLIMATE CHANGE
- Y02A—TECHNOLOGIES FOR ADAPTATION TO CLIMATE CHANGE
- Y02A20/00—Water conservation; Efficient water supply; Efficient water use
- Y02A20/108—Rainwater harvesting
Landscapes
- Cyclones (AREA)
Abstract
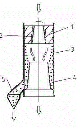
本实用新型涉及一种具有高效雨水分离能力的旋风筒旋流片结构,其特征在于:旋风筒体内为处旋流片锥形中心管,旋流片中心管呈锥形上端口细、下端口粗,旋流片中心管上端连接旋流片,旋流片中心管下端外壁与旋风筒体底端密封连接,通过旋流片中心管下端与旋风筒体底端的连接形成旋风筒体集水槽,旋风筒体下端旋风筒体集水槽位置一侧开口固定连接排水袋。其利用雨水和空气的不同离心力,将雨水从空气中分离出来,提高了旋风筒结构雨水分离效率。
The utility model relates to a swirl sheet structure of a cyclone cylinder with high-efficiency rainwater separation capability, which is characterized in that: the swirl sheet inside the cyclone cylinder is a conical central tube of the swirl sheet, the central tube of the swirl sheet is tapered with a thin upper port and a lower port Thick, the upper end of the center pipe of the swirl sheet is connected to the swirl sheet, the outer wall of the lower end of the center pipe of the swirl sheet is sealed and connected with the bottom end of the cyclone cylinder, and the water collection tank of the cyclone cylinder is formed by the connection between the lower end of the center pipe of the swirl sheet and the bottom end of the cyclone cylinder. The lower end of the cyclone cylinder body has an opening on one side of the cyclone cylinder body water collection tank position and is fixedly connected to the drainage bag. It uses the different centrifugal forces of rainwater and air to separate rainwater from the air, and improves the rainwater separation efficiency of the cyclone structure.
Description
技术领域 technical field
本实用新型涉及一种具有高效雨水分离能力的旋风筒旋流片结构,属于一种全新旋风筒旋流片结构设计,应用于J6换代车的进气系统。 The utility model relates to a cyclone swirl sheet structure with high-efficiency rainwater separation capability, which belongs to a brand-new cyclone swirl sheet structure design, and is applied to the air intake system of a J6 replacement vehicle.
背景技术 Background technique
在J6换代车进气系统的开发中,整车在雨中行驶的条件下,会有部分雨水与空气一起被吸入进气系统中,这部分雨水到达空气滤清器总成中会造成滤芯表面浸湿,严重时会影响空气滤清器的性能,并影响发动机的功率和油耗等性能;因此需要空滤器总成前采用旋风筒等结构将雨水从空气中分离出来并排出,但现有的旋风筒旋流片结构在进气流速较低时,雨水的分离效率偏低。 In the development of the intake system of the J6 replacement car, when the vehicle is driving in the rain, some rainwater will be sucked into the intake system together with the air, and this part of the rainwater will reach the air filter assembly and cause the filter element surface to soak. In severe cases, it will affect the performance of the air filter, and affect the power and fuel consumption of the engine; therefore, it is necessary to use a structure such as a cyclone before the air filter assembly to separate the rainwater from the air and discharge it, but the existing cyclone When the inlet flow rate of the tube swirl vane structure is low, the separation efficiency of rainwater is low.
发明内容 Contents of the invention
本实用新型的目的是提供一种具有高效雨水分离能力的旋风筒旋流片结构,其利用雨水和空气的不同离心力,将雨水从空气中分离出来,提高了旋风筒结构雨水分离效率。 The purpose of this utility model is to provide a cyclone swirl sheet structure with high-efficiency rainwater separation ability, which separates rainwater from the air by utilizing the different centrifugal forces of rainwater and air, and improves the rainwater separation efficiency of the cyclone structure.
本实用新型的技术方案是这样实现的:一种具有高效雨水分离能力的旋风筒旋流片结构,由旋流片,旋流片中心管,旋风筒体,旋风筒体集水槽,排水袋组成,其特征在于:旋风筒体内为处旋流片锥形中心管,旋流片中心管呈锥形上端口细、下端口粗,旋流片中心管上端连接旋流片,旋流片中心管下端外壁与旋风筒体底端密封连接,通过旋流片中心管下端与旋风筒体底端的连接形成旋风筒体集水槽,旋风筒体下端旋风筒体集水槽位置一侧开口固定连接排水袋。 The technical scheme of the utility model is achieved in the following way: a cyclone tube swirl sheet structure with high-efficiency rainwater separation ability, composed of swirl sheet, swirl sheet center tube, cyclone cylinder body, cyclone cylinder body water collection tank, and drainage bag , it is characterized in that: inside the cyclone cylinder is a conical central tube of the swirl vane, the central tube of the swirl vane is tapered with a thin upper port and a thicker lower port, the upper end of the central tube of the swirl vane is connected to the swirl vane, and the central tube of the swirl vane The outer wall of the lower end is sealed and connected with the bottom end of the cyclone cylinder, and the cyclone cylinder sump is formed through the connection between the lower end of the central tube of the swirl plate and the bottom end of the cyclone cylinder, and the side opening of the cyclone cylinder sump at the lower end of the cyclone cylinder is fixedly connected to the drainage bag.
本实用新型的积极效果是结构简单,能将雨水从空气中快速分离,提高了旋风筒结构雨水分离效率。 The positive effect of the utility model is that the structure is simple, the rainwater can be quickly separated from the air, and the rainwater separation efficiency of the cyclone structure is improved.
附图说明 Description of drawings
图1为本实用新型的结构图。 Fig. 1 is a structural diagram of the utility model.
具体实施方式 Detailed ways
下面结合附图对本实用新型作进一步说明:如图1所示,一种具有高效雨水分离能力的旋风筒旋流片结构,由旋流片1,旋流片中心管2,旋风筒体3,旋风筒体集水槽4,排水袋5组成,其特征在于:旋风筒体3内为处旋流片锥形中心管2,旋流片中心管2呈锥形上端口细、下端口粗,旋流片中心管2上端连接旋流片1,旋流片中心管2下端外壁与旋风筒体3底端密封连接,通过旋流片中心管2下端与旋风筒体3底端的连接形成旋风筒体集水槽4,旋风筒体3下端旋风筒体集水槽4位置一侧开口固定连接排水袋5。
The utility model is further described below in conjunction with the accompanying drawings: as shown in Figure 1, a cyclone swirl sheet structure with high-efficiency rainwater separation capacity consists of a
实施例:如图1所示,当雨水和空气的混合物从旋风筒体3上端进入,在通过旋流片1时,混合气体旋转起来,同时旋流片锥形中心管2呈锥形,增加一个径向的加速度,空气中的雨水在离心力的作用下被甩到旋风筒体3的内壁,并流到旋风筒体集水槽4内聚集通过侧面的排水袋5排出。
Embodiment: As shown in Figure 1, when the mixture of rainwater and air enters from the upper end of the
Claims (1)
Priority Applications (1)
| Application Number | Priority Date | Filing Date | Title |
|---|---|---|---|
| CN2011203990081U CN202273781U (en) | 2011-10-19 | 2011-10-19 | Cyclone whirl sheet structure with high rainwater separating capability |
Applications Claiming Priority (1)
| Application Number | Priority Date | Filing Date | Title |
|---|---|---|---|
| CN2011203990081U CN202273781U (en) | 2011-10-19 | 2011-10-19 | Cyclone whirl sheet structure with high rainwater separating capability |
Publications (1)
| Publication Number | Publication Date |
|---|---|
| CN202273781U true CN202273781U (en) | 2012-06-13 |
Family
ID=46194143
Family Applications (1)
| Application Number | Title | Priority Date | Filing Date |
|---|---|---|---|
| CN2011203990081U Expired - Fee Related CN202273781U (en) | 2011-10-19 | 2011-10-19 | Cyclone whirl sheet structure with high rainwater separating capability |
Country Status (1)
| Country | Link |
|---|---|
| CN (1) | CN202273781U (en) |
Cited By (3)
| Publication number | Priority date | Publication date | Assignee | Title |
|---|---|---|---|---|
| CN104153422A (en) * | 2014-03-13 | 2014-11-19 | 厦门安吉尔水精灵饮水设备有限公司 | Water-source-free water supply system |
| CN104674891A (en) * | 2015-02-09 | 2015-06-03 | 广西威尔森环保科技开发有限公司 | Power-free rainwater recycling system |
| CN109910933A (en) * | 2019-04-18 | 2019-06-21 | 常州中基达机械有限公司 | High-speed rail motor-car filter and its manufacturing method |
-
2011
- 2011-10-19 CN CN2011203990081U patent/CN202273781U/en not_active Expired - Fee Related
Cited By (5)
| Publication number | Priority date | Publication date | Assignee | Title |
|---|---|---|---|---|
| CN104153422A (en) * | 2014-03-13 | 2014-11-19 | 厦门安吉尔水精灵饮水设备有限公司 | Water-source-free water supply system |
| CN104153422B (en) * | 2014-03-13 | 2016-05-11 | 厦门安吉尔水精灵饮水设备有限公司 | Without water source water system |
| CN104674891A (en) * | 2015-02-09 | 2015-06-03 | 广西威尔森环保科技开发有限公司 | Power-free rainwater recycling system |
| CN104674891B (en) * | 2015-02-09 | 2017-03-08 | 广西威尔森环保科技开发有限公司 | A kind of unpowered rainwater recycle utilizes system |
| CN109910933A (en) * | 2019-04-18 | 2019-06-21 | 常州中基达机械有限公司 | High-speed rail motor-car filter and its manufacturing method |
Similar Documents
| Publication | Publication Date | Title |
|---|---|---|
| CN202960379U (en) | Cyclone dust cup | |
| CN202108622U (en) | Combined drainage pre-filtering air inlet pipe for heavy-duty automobile | |
| CN102716820A (en) | Positive pressure running cyclone separator | |
| CN201412242Y (en) | Heavy-duty automotive multi-stage air cleaner with waterproof air intake system | |
| CN202273781U (en) | Cyclone whirl sheet structure with high rainwater separating capability | |
| CN108636035B (en) | Side wind vortex separation type combined gas separator | |
| CN108671638B (en) | Rearmounted gas separator of vehicle air conditioner compressor | |
| CN201301744Y (en) | Oil-gas separator structure | |
| CN202273784U (en) | Connection base assembly with capacity of separating rainwater efficiently | |
| CN220227001U (en) | Active decoupler and vehicle | |
| CN201613185U (en) | Enhanced pre-cleaner for air cleaner assembly | |
| CN102135056A (en) | Combined water-drainage pre-filtering air intake pipe for heavy automobile | |
| CN203468513U (en) | Dust collecting device of dust collector | |
| CN202732353U (en) | Rotary compressor | |
| CN202490693U (en) | High-efficient cyclone dust collector | |
| CN102225279B (en) | Open-type cyclone tube filter | |
| CN210599227U (en) | Engine air intake system with sand control device | |
| CN201603630U (en) | A cyclone dust collector | |
| CN201384992Y (en) | a cyclone separator | |
| CN201802520U (en) | Processing system for air filter | |
| CN201599993U (en) | New Centrifugal Oil Separator | |
| CN202128985U (en) | Open type cyclone tube filter | |
| CN202177268U (en) | Oil separator | |
| CN201401252Y (en) | A composite air filter | |
| CN101143349A (en) | Gas-liquid separator |
Legal Events
| Date | Code | Title | Description |
|---|---|---|---|
| C14 | Grant of patent or utility model | ||
| GR01 | Patent grant | ||
| CF01 | Termination of patent right due to non-payment of annual fee |
Granted publication date: 20120613 Termination date: 20191019 |
|
| CF01 | Termination of patent right due to non-payment of annual fee |
