CN202265599U - Production line device for recovering aluminum ash - Google Patents

Production line device for recovering aluminum ash Download PDF

Info

Publication number
CN202265599U
CN202265599U CN2011202358770U CN201120235877U CN202265599U CN 202265599 U CN202265599 U CN 202265599U CN 2011202358770 U CN2011202358770 U CN 2011202358770U CN 201120235877 U CN201120235877 U CN 201120235877U CN 202265599 U CN202265599 U CN 202265599U
Authority
CN
China
Prior art keywords
conveying line
bucket elevator
aluminum ash
bin
screening machine
Prior art date
Legal status (The legal status is an assumption and is not a legal conclusion. Google has not performed a legal analysis and makes no representation as to the accuracy of the status listed.)
Expired - Fee Related
Application number
CN2011202358770U
Other languages
Chinese (zh)
Inventor
岳新立
赵永翔
高洁
Current Assignee (The listed assignees may be inaccurate. Google has not performed a legal analysis and makes no representation or warranty as to the accuracy of the list.)
LUOYANG YUHANG HEAVY INDUSTRY MACHINERY Co Ltd
Original Assignee
LUOYANG YUHANG HEAVY INDUSTRY MACHINERY Co Ltd
Priority date (The priority date is an assumption and is not a legal conclusion. Google has not performed a legal analysis and makes no representation as to the accuracy of the date listed.)
Filing date
Publication date
Application filed by LUOYANG YUHANG HEAVY INDUSTRY MACHINERY Co Ltd filed Critical LUOYANG YUHANG HEAVY INDUSTRY MACHINERY Co Ltd
Priority to CN2011202358770U priority Critical patent/CN202265599U/en
Application granted granted Critical
Publication of CN202265599U publication Critical patent/CN202265599U/en
Anticipated expiration legal-status Critical
Expired - Fee Related legal-status Critical Current

Links

Images

Classifications

    • YGENERAL TAGGING OF NEW TECHNOLOGICAL DEVELOPMENTS; GENERAL TAGGING OF CROSS-SECTIONAL TECHNOLOGIES SPANNING OVER SEVERAL SECTIONS OF THE IPC; TECHNICAL SUBJECTS COVERED BY FORMER USPC CROSS-REFERENCE ART COLLECTIONS [XRACs] AND DIGESTS
    • Y02TECHNOLOGIES OR APPLICATIONS FOR MITIGATION OR ADAPTATION AGAINST CLIMATE CHANGE
    • Y02PCLIMATE CHANGE MITIGATION TECHNOLOGIES IN THE PRODUCTION OR PROCESSING OF GOODS
    • Y02P10/00Technologies related to metal processing
    • Y02P10/20Recycling

Landscapes

  • Disintegrating Or Milling (AREA)
  • Processing Of Solid Wastes (AREA)

Abstract

一种用于铝灰回收的生产线装置,解决了设备笨重、劳动强度过大、占地面积大、成本高、金属铝的提取和分离不彻底的问题,提高了金属回收率,使铝灰中的含铝量达到95%以上;同时提高了工作效率,降低了工人的劳动强度,总体占地空间小,节约了投资成本和能源,降低生产消耗,安全环保;是由:给料斗,鄂式破碎机,第一斗式提升机,第一振动筛分机,给料仓,第一手动插板阀,铝灰回收专用挤压机,分料阀,第二斗式提升机,第二振动筛分机,袋式收尘器,主排风机,第二手动插板阀,第三手动插板阀,灰仓,成品仓构成;设备全部采用低震动、低噪音;能量利用率高达40~50%,系统能耗低,设计坚固耐用,操作简单,便于维护,操作安全。

Figure 201120235877

A production line device for recycling aluminum ash, which solves the problems of bulky equipment, excessive labor intensity, large floor space, high cost, and incomplete extraction and separation of metal aluminum, improves the metal recovery rate, and makes the aluminum ash The aluminum content reaches more than 95%; at the same time, it improves work efficiency, reduces the labor intensity of workers, occupies a small space overall, saves investment costs and energy, reduces production consumption, and is safe and environmentally friendly; it is made of: feeding hopper, jaw type Crusher, the first bucket elevator, the first vibrating screener, feeding bin, the first manual slide valve, special extruder for aluminum ash recovery, material distribution valve, the second bucket elevator, the second vibrating screen Extension machine, bag filter, main exhaust fan, second manual flapper valve, third manual flapper valve, ash bin, and finished product bin; all equipment adopts low vibration and low noise; the energy utilization rate is as high as 40-50 %, the system has low energy consumption, durable design, simple operation, easy maintenance and safe operation.

Figure 201120235877

Description

A kind of product line device that is used for the recovery of aluminium ash
Technical field
The utility model relates to aluminium ash retrieving arrangement, especially a kind of product line device that is used for the recovery of aluminium ash.
Background technology
At present, in the comprehensive recycling process of aluminium ash, generally adopt following system as disintegrating apparatus:, stone stone roller, trommel screen, cylinder (ball mill); Be with aluminum oxide and impurity particle to pulverize the back separation in the aluminium ash through rolling or grinding, but these methods all have equipment too much, complex process is loaded down with trivial details; The shortcoming that labour intensity is excessive, and device structure is heavy, the occupation of land space is excessive, causes cost of investment too high; And separation is not thorough, and it is not high to extract metallic aluminium content, influences the purity of finished product materials.
In view of above-mentioned reason, aluminium ash retrieving arrangement needs to improve.
The utility model content
The purpose of the utility model is in order to overcome deficiency of the prior art; A kind of product line device that the aluminium ash reclaims that is used for is provided; The equipment that solved is heavy, labour intensity is excessive, floor space is big, cost is high, the extraction of metallic aluminium with separate halfway problem; Improved metal recovery rate, the aluminum content in the aluminium ash is reached more than 95%; Improved working efficiency simultaneously, reduced working strength of workers, it is little totally to take up an area of the space, has practiced thrift the cost of investment and the energy, reduces to produce to consume safety and environmental protection.
The utility model adopts following technical scheme to achieve these goals: a kind ofly being used for the product line device that aluminium ash reclaims, is by load hopper, jaw crusher, first chapelet; First vibrating screen classifier, feed hopper, the first manual push-pull valve, the aluminium ash reclaims special purpose extrusion press, material distributing valve; Second chapelet, second vibrating screen classifier, bag filter, main exhaust fan; The second manual push-pull valve, the 3rd manual push-pull valve, grey storehouse, finished bin constitutes; Erect on the building site in workshop first chapelet is set, a side on the first chapelet top is provided with bag filter through transfer limes, and a side of bag filter is provided with main exhaust fan through transfer limes; The below of bag filter one side is provided with load hopper through transfer limes, and the below of load hopper is provided with jaw crusher through transfer limes.
One side of first chapelet is provided with second chapelet through transfer limes; Through transfer limes first vibrating screen classifier is set between the top of second chapelet and first chapelet, between the top of first vibrating screen classifier and first chapelet transfer limes is set.
The below of first vibrating screen classifier is provided with the feed hopper of bucket shape through transfer limes; The lower end of feed hopper is provided with the first manual push-pull valve; The below of the first manual push-pull valve is provided with the aluminium ash and reclaims special purpose extrusion press, and the bottom of aluminium ash recovery special purpose extrusion press is provided with the material distributing valve of two discharge ports; Between the discharge port of material distributing valve lower end and the opening for feed of the first chapelet lower end transfer limes is set, between another discharge port of material distributing valve lower end and the opening for feed of the second chapelet lower end transfer limes is set.
One side on the second chapelet top is provided with second vibrating screen classifier through transfer limes, between second vibrating screen classifier and the bag filter transfer limes is set; Under top one side of aluminium ash recovery special purpose extrusion press and the transfer limes between second vibrating screen classifier and the bag filter transfer limes is set.
The below of second vibrating screen classifier is provided with the grey storehouse of bucket shape through transfer limes, under a side in grey storehouse and the transfer limes between second vibrating screen classifier and the bag filter transfer limes is set; The opposite side in ash storehouse is set up in parallel the finished bin of bucket shape, between the finished bin and second vibrating screen classifier 10 transfer limes is set.
The lower end of finished bin is provided with the 3rd manual push-pull valve, and the lower end in grey storehouse is provided with the second manual push-pull valve.
The principle of work of the utility model is: the utility model is divided into two-stage crushing, and the first step is broken for jaw crusher.Supplied materials gets into load hopper; Through jaw crusher material is broken into fritter, the entering chapelet offers the vibrating screen classifier sieve and sieves for the first time, and the screening thing divides bulk and fritter; Bulk is that the above aluminium ash of 15mm returns the stock ground; Through the manual sorting, sort out the finished product aluminium block, it is broken again that all the other aluminium ashes get into load hopper once more.Fritter screening thing is that the following aluminium ash of 15mm gets into the two-stage crushing feed hopper.Two-stage crushing adopts the aluminium ash to reclaim special purpose extrusion press.The following aluminium ash of the 15mm of upper level generation is entered chapelet through grey recovery of aluminium after special purpose extrusion press pushes, be promoted to second stage vibrating screen classifier and sieve out aluminium, get into entrucking behind finished bin and the grey storehouse then respectively with thin grey.Realization is to the efficient recovery of aluminium ash.The processing of all gathering dust of jaw crusher, hopper, sieve apparatus, extrusion machine and feed bin place has solved environmental pollution problems.
Concrete working process is following: from the material that provides to the stock ground is that the aluminium ash is sorted out large stretch of finished product aluminium by manual work earlier; The aluminium ash gets into chapelet for jaw crusher feed, discharging by load hopper successively, rises to certain altitude, gets into vibrating screen classifier and sieves; The entering feed hopper of the granularity that meets the requirements gets into next step disintegrating apparatus extrusion machine; All the other return the stock ground to carry out the manual work screening, sort out aluminium block, and residue gets into load hopper and flows to jaw crusher circulation fragmentation.Get into the particle entering chapelet that the aluminium ash reclaims special purpose extrusion press.Entering next stage vibrating screen classifier sieves after being promoted to certain altitude, promptly becomes ash and aluminium to go into Liang Cang respectively and dresses up.Manual push-pull valve and control load.The aluminium ash reclaims under the special purpose extrusion press has material distributing valve to play material-distributing action; The material that does not meet granularity requirements returns and gets into the one-level chapelet recycle system and reclaim special purpose extrusion press from load hopper, vibrating screen classifier and, aluminium ash and all be connected bag filter with grey storehouse and gather dust, and by main exhaust fan the required wind energy of gathering dust is provided.Whole work simplification crushing circuit, improved the recovery, reduced the device space, reduced the maintenance cost of equipment.
The beneficial effect of the utility model is:
1, through adopting the aluminium ash to reclaim special purpose extrusion press material is crushed, metal wherein (aluminium) is pressed into sheet; According to the difference of tinsel and powder ash granularity, utilize vibratory screening apparatus to isolate metallic aluminium.Because in the treating processes metal object is not had grinding, can not cause metal dusting, thereby improve metal recovery rate greatly, can reach more than 95% of aluminum content in the slag.
2, system carries out mechanical work in the environment of sealing, and disposes dust-removal system; Equipment all adopts low vibrations, low noise; Can satisfy environmental requirement fully.
What 3, efficient extrusion machine adopted is bed of material smashing principle, and capacity usage ratio reaches 40~50%, compares with ball mill (common about 10%), and capacity usage ratio is high, and system energy consumption is low, and system is more energy-conservation.
4, adopt PLC control production process, improve the automatization level of equipment.
5, design is sturdy and durable, simple to operate, is convenient to safeguard operational safety.
Description of drawings
Below in conjunction with accompanying drawing the utility model is described further:
Fig. 1 is the general assembly structural representation of the utility model;
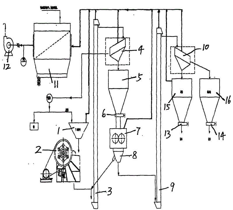
Among Fig. 1: load hopper 1, jaw crusher 2, the first chapelets 3, the first vibrating screen classifiers 4; Feed hopper 5, the first manual push-pull valves 6, the aluminium ash reclaims special purpose extrusion press 7, material distributing valve 8; Second chapelet, 9, the second vibrating screen classifiers 10, bag filter 11, main exhaust fan 12; Second manual push-pull valve 13, the three manual push-pull valves 14, grey storehouse 15, finished bin 16.
Embodiment
Below in conjunction with accompanying drawing and embodiment the utility model is done further explain:
As shown in the figure, to erect the side that first chapelet, 3, the first chapelets, 3 tops are set on the building site in workshop and bag filter 11 is set through transfer limes, a side of bag filter 11 is provided with main exhaust fan 12 through transfer limes; The below of bag filter 11 1 sides is provided with load hopper 1 through transfer limes, and the below of load hopper 1 is provided with jaw crusher 2 through transfer limes.
One side of first chapelet 3 is provided with second chapelet 9 through transfer limes; Be provided with between the top of first vibrating screen classifier, 4, the first vibrating screen classifiers 4 and first chapelet 3 through transfer limes between the top of second chapelet 9 and first chapelet 3 transfer limes is set.
The below of first vibrating screen classifier 4 is provided with the feed hopper 5 of bucket shape through transfer limes; The lower end of feed hopper 5 is provided with the first manual push-pull valve 6; The below of the first manual push-pull valve 6 is provided with the aluminium ash and reclaims special purpose extrusion press 7, and the bottom of aluminium ash recovery special purpose extrusion press 7 is provided with the material distributing valve 8 of two discharge ports; Between the discharge port of material distributing valve 8 lower ends and the opening for feed of first chapelet, 3 lower ends transfer limes is set, between the opening for feed of another discharge port of material distributing valve 8 lower ends and second chapelet, 9 lower ends transfer limes is set.
One side on second chapelet, 9 tops is provided with between second vibrating screen classifier, 10, the second vibrating screen classifiers 10 and the bag filter 11 through transfer limes transfer limes is set; Under top one side of aluminium ash recovery special purpose extrusion press 7 and the transfer limes between second vibrating screen classifier 10 and the bag filter 11 transfer limes is set.
The below of second vibrating screen classifier 10 is provided with the grey storehouse 15 of bucket shape through transfer limes, under the transfer limes between a side in grey storehouse 15 and second vibrating screen classifier 10 and the bag filter 11 transfer limes is set; The opposite side in ash storehouse 15 is set up in parallel the finished bin 16 of bucket shape, between the finished bin 16 and second vibrating screen classifier 10 transfer limes is set.
The lower end of finished bin 16 is provided with the 3rd manual push-pull valve 14, and the lower end in grey storehouse 15 is provided with the second manual push-pull valve 13.

Claims (6)

1.一种用于铝灰回收的生产线装置,是由:给料斗(1),鄂式破碎机(2),第一斗式提升机(3),第一振动筛分机(4),给料仓(5),第一手动插板阀(6),铝灰回收专用挤压机(7),分料阀(8),第二斗式提升机(9),第二振动筛分机(10),袋式收尘器(11),主排风机(12),第二手动插板阀(13),第三手动插板阀(14),灰仓(15),成品仓(16)构成;其特征在于:车间的工地上竖立设置第一斗式提升机(3),第一斗式提升机(3)上部的一侧通过输送线设置袋式收尘器(11),袋式收尘器(11)的一侧通过输送线设置主排风机(12);袋式收尘器(11)一侧的下方通过输送线设置给料斗(1),给料斗(1)的下方通过输送线设置鄂式破碎机(2)。1. A production line device for aluminum ash recovery is composed of: feeding hopper (1), jaw crusher (2), the first bucket elevator (3), the first vibrating screener (4), feeding Material silo (5), first manual flapper valve (6), special extruder for aluminum ash recovery (7), distributing valve (8), second bucket elevator (9), second vibrating screening machine ( 10), bag filter (11), main exhaust fan (12), second manual flapper valve (13), third manual flapper valve (14), ash bin (15), finished product bin (16 ) form; it is characterized in that: the first bucket elevator (3) is erected on the construction site of the workshop, and one side of the upper part of the first bucket elevator (3) is provided with a bag filter (11) through a conveying line. One side of the bag type dust collector (11) is provided with the main exhaust fan (12) through the conveying line; the lower side of the bag type dust collector (11) is provided with the feeding hopper (1) through the conveying line, and the lower part of the feeding hopper (1) The jaw crusher (2) is set through the conveying line. 2.根据权利要求1所述的一种用于铝灰回收的生产线装置,其特征在于:第一斗式提升机(3)的一侧通过输送线设置第二斗式提升机(9),第二斗式提升机(9)与第一斗式提升机(3)的上部之间通过输送线设置第一振动筛分机(4),第一振动筛分机(4)与第一斗式提升机(3)的上部之间设置输送线。2. a kind of production line device for aluminum ash recovery according to claim 1, is characterized in that: one side of the first bucket elevator (3) is provided with the second bucket elevator (9) by conveying line, Between the second bucket elevator (9) and the top of the first bucket elevator (3), the first vibrating screening machine (4) is set through the conveying line, and the first vibrating screening machine (4) and the first bucket elevator Conveyor line is set between the top of machine (3). 3.根据权利要求1所述的一种用于铝灰回收的生产线装置,其特征在于:第一振动筛分机(4)的下方通过输送线设置斗形的给料仓(5),给料仓(5)的下端设置第一手动插板阀(6),第一手动插板阀(6)的下方设置铝灰回收专用挤压机(7),铝灰回收专用挤压机(7)的下部设置两个出料口的分料阀(8);分料阀(8)下端的一个出料口与第一斗式提升机(3)下端的进料口之间设置输送线,分料阀(8)下端的另一个出料口与第二斗式提升机(9)下端的进料口之间设置输送线。3. A kind of production line device that is used for aluminum ash recovery according to claim 1, is characterized in that: the below of the first vibratory screening machine (4) is provided with bucket-shaped feeding bin (5) by conveying line, feeding The lower end of the bin (5) is provided with a first manual flapper valve (6), and the bottom of the first manual flapper valve (6) is arranged with a special extrusion machine for aluminum ash recovery (7), and a special extrusion machine for aluminum ash recovery (7) The lower part of the bucket elevator (3) is provided with two distributing valves (8) at the lower end of the material distributing valve; A conveying line is set between another discharge port at the lower end of the material valve (8) and the feed port at the lower end of the second bucket elevator (9). 4.根据权利要求1所述的一种用于铝灰回收的生产线装置,其特征在于:第二斗式提升机(9)上部的一侧通过输送线设置第二振动筛分机(10),第二振动筛分机(10)与袋式收尘器(11)之间设置输送线;铝灰回收专用挤压机(7)的上部一侧与第二振动筛分机(10)和袋式收尘器(11)之间的输送线下设置输送线。4. A kind of production line device that is used for aluminum ash recovery according to claim 1, is characterized in that: one side of the second bucket elevator (9) top is provided with the second vibratory screening machine (10) by conveying line, A conveying line is set between the second vibrating screening machine (10) and the bag filter (11); the upper side of the special extruder (7) for aluminum ash recovery is connected with the second vibrating screening machine (10) and the bag filter A conveying line is arranged under the conveying line between dust collectors (11). 5.根据权利要求1所述的一种用于铝灰回收的生产线装置,其特征在于:第二振动筛分机(10)的下方通过输送线设置斗形的灰仓(15),灰仓(15)的一侧与第二振动筛分机(10)和袋式收尘器(11)之间的输送线下设置输送线;灰仓(15)的另一侧并列设置斗形的成品仓(16),成品仓(16)与第二振动筛分机(10)之间设置输送线。5. a kind of production line device that is used for aluminum ash recovery according to claim 1 is characterized in that: the bucket-shaped ash bin (15) is set by the conveying line below the second vibrating screening machine (10), the ash bin ( 15) one side and the second vibrating screening machine (10) and the conveying line between the bag filter (11) are provided with conveying line; 16), a conveying line is set between the finished product warehouse (16) and the second vibrating screening machine (10). 6.根据权利要求1所述的一种用于铝灰回收的生产线装置,其特征在于:成品仓(16)的下端设置第三手动插板阀(14),灰仓(15)的下端设置第二手动插板阀(13)。6. A production line device for recycling aluminum ash according to claim 1, characterized in that: the lower end of the finished product bin (16) is provided with a third manual slide valve (14), and the lower end of the ash bin (15) is arranged The second manual flapper valve (13).
CN2011202358770U 2011-07-06 2011-07-06 Production line device for recovering aluminum ash Expired - Fee Related CN202265599U (en)

Priority Applications (1)

Application Number Priority Date Filing Date Title
CN2011202358770U CN202265599U (en) 2011-07-06 2011-07-06 Production line device for recovering aluminum ash

Applications Claiming Priority (1)

Application Number Priority Date Filing Date Title
CN2011202358770U CN202265599U (en) 2011-07-06 2011-07-06 Production line device for recovering aluminum ash

Publications (1)

Publication Number Publication Date
CN202265599U true CN202265599U (en) 2012-06-06

Family

ID=46156406

Family Applications (1)

Application Number Title Priority Date Filing Date
CN2011202358770U Expired - Fee Related CN202265599U (en) 2011-07-06 2011-07-06 Production line device for recovering aluminum ash

Country Status (1)

Country Link
CN (1) CN202265599U (en)

Cited By (6)

* Cited by examiner, † Cited by third party
Publication number Priority date Publication date Assignee Title
CN103102136A (en) * 2013-01-06 2013-05-15 江苏建华新型墙材有限公司 Method for preparing light insulating wallboard by light concrete waste
CN103831158A (en) * 2012-12-03 2014-06-04 洛阳宇航重工机械有限公司 Grinding equipment of aluminum oxide crusting block
CN105886773A (en) * 2015-07-28 2016-08-24 兰溪市博远金属有限公司 Aluminum ash and aluminum slag treatment system
CN107541601A (en) * 2017-07-03 2018-01-05 聊城信源集团有限公司 A kind of clear cinder inclusion recycling method of aluminium water bag
CN107915411A (en) * 2017-12-18 2018-04-17 北方工业大学 A kind of resource utilization method of aluminium ash
CN117299298A (en) * 2023-11-13 2023-12-29 山西中铝华润有限公司 A kind of medium ash treatment system

Cited By (7)

* Cited by examiner, † Cited by third party
Publication number Priority date Publication date Assignee Title
CN103831158A (en) * 2012-12-03 2014-06-04 洛阳宇航重工机械有限公司 Grinding equipment of aluminum oxide crusting block
CN103102136A (en) * 2013-01-06 2013-05-15 江苏建华新型墙材有限公司 Method for preparing light insulating wallboard by light concrete waste
CN103102136B (en) * 2013-01-06 2015-12-23 江苏建华新型墙材有限公司 A kind ofly light concrete waste is utilized to prepare the method for insulating light wall slab
CN105886773A (en) * 2015-07-28 2016-08-24 兰溪市博远金属有限公司 Aluminum ash and aluminum slag treatment system
CN107541601A (en) * 2017-07-03 2018-01-05 聊城信源集团有限公司 A kind of clear cinder inclusion recycling method of aluminium water bag
CN107915411A (en) * 2017-12-18 2018-04-17 北方工业大学 A kind of resource utilization method of aluminium ash
CN117299298A (en) * 2023-11-13 2023-12-29 山西中铝华润有限公司 A kind of medium ash treatment system

Similar Documents

Publication Publication Date Title
CN102500455B (en) Tailing efficient recovery treatment method
CN201189487Y (en) Improved combined concentrator
CN101596483B (en) A material grinding system
CN202265599U (en) Production line device for recovering aluminum ash
CN105413842B (en) The ore-dressing technique of Ultra-low-grade magnetite and system
CN203355840U (en) Production line for manufacturing sand through ball-milling
CN207138076U (en) A kind of building waste Integrated Processing Unit
CN205886998U (en) Sieving mechanism is smashed to ore
CN102179272A (en) Final grinding system of rolling machine in steel slag and mineral slag micropowder production line
CN209076748U (en) A kind of energy saving milling equipment for raw mill in cement production process
CN203044321U (en) Sorting and loading system of refractory brick raw materials
CN202762516U (en) Granite machining system
CN210994674U (en) Crushing and ore grinding system
CN203778345U (en) Scattering machine grading device capable of effectively improving grading effect
CN207546729U (en) A kind of more graded sand and stone production systems
CN202460791U (en) Serially-connected grinding system for double-roller press
CN105381856A (en) Starch raw material crushing system
CN205061902U (en) Mechanism sand production system
CN102731004B (en) Mixing regeneration aggregate milling production line and milling method thereof
CN103769286A (en) Ore grinding process
CN107715965A (en) Efficient roller press grinding system
CN209049547U (en) A kind of cape jasmine fruit powder automatic sorting device
CN203018168U (en) Grinding equipment for alumina crusting block
CN204644188U (en) Construction refuse resource reclaimed sand powder High-efficient Production system
CN102836823B (en) Gravitational high-efficiency energy-saving garbage sorting system

Legal Events

Date Code Title Description
C14 Grant of patent or utility model
GR01 Patent grant
CF01 Termination of patent right due to non-payment of annual fee

Granted publication date: 20120606

Termination date: 20140706

EXPY Termination of patent right or utility model