CN202251358U - 一种防松动轮胎螺栓 - Google Patents
一种防松动轮胎螺栓 Download PDFInfo
- Publication number
- CN202251358U CN202251358U CN2011203121832U CN201120312183U CN202251358U CN 202251358 U CN202251358 U CN 202251358U CN 2011203121832 U CN2011203121832 U CN 2011203121832U CN 201120312183 U CN201120312183 U CN 201120312183U CN 202251358 U CN202251358 U CN 202251358U
- Authority
- CN
- China
- Prior art keywords
- nut
- active ring
- face
- elongation
- loosening
- Prior art date
- Legal status (The legal status is an assumption and is not a legal conclusion. Google has not performed a legal analysis and makes no representation as to the accuracy of the status listed.)
- Expired - Fee Related
Links
- 230000007704 transition Effects 0.000 claims abstract description 4
- 238000010008 shearing Methods 0.000 abstract description 3
- 238000005452 bending Methods 0.000 abstract description 2
- 229910000831 Steel Inorganic materials 0.000 description 2
- 230000015572 biosynthetic process Effects 0.000 description 2
- 230000007812 deficiency Effects 0.000 description 2
- 238000005516 engineering process Methods 0.000 description 2
- 239000010959 steel Substances 0.000 description 2
- 230000009286 beneficial effect Effects 0.000 description 1
- 230000000694 effects Effects 0.000 description 1
- 238000009434 installation Methods 0.000 description 1
- 238000000034 method Methods 0.000 description 1
Images
Landscapes
- Tires In General (AREA)
Abstract
一种防松动轮胎螺栓,是由螺杆、与螺杆螺纹连接的螺母、以及与螺母相活动联接的活动圈组成;螺母的一端形成一六边形端面,螺母的另一端设有弧形面台阶端,并且螺母的管口从弧形面台阶端继续向外延伸,形成一伸长端,伸长端与该弧形面台阶端以斜弧面过渡连接起来;本实用新型中的螺母与活动圈的接触面采用斜弧面接触,增大了接触面,并且受力更加均匀,使螺杆承受的折弯力大大减少,提高了安全性能;另一方面通过螺母伸长端的设置,活动圈活动套在螺母的伸长端上并且该伸长端长度高出活动圈的大口径端面,减弱对螺杆的冲击力,使对螺杆的剪切力降低,防止了螺母松动,有利于更好的锁紧轮胎。
Description
技术领域
本实用新型涉及一种汽车轮胎上的连接紧固件,具体涉及的是一种带锁紧螺母防松动的轮胎螺栓。
背景技术
汽车车轮,特别是后轮内的螺栓工作情况比较复杂,行进中的振动,刹车时的冲击力都很容易使螺栓上的螺帽出现松动,并使得该螺栓被剪切。
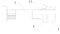
如图2所示为传统的轮胎螺栓,一般是由螺杆4、与螺杆4螺纹连接的螺母6、以及与螺母6相活动联接的活动圈5组成。使用时直接用带有活动圈5的螺母6锁紧,该活动圈5的端面几乎与螺母6的端面形成一平齐端面7,采用这种结构的后车轮胎螺栓,有如下不足:一、螺杆4与车轮钢圈过孔间隙大,容易产生很大的剪切力,使螺杆极易断裂;二、与螺杆相连接的螺母容易松动,造成安全隐患。
实用新型内容
本实用新型的目的针对以上技术的不足,通过对螺母及活动圈结构的改进,提供一种使用安全,使用寿命长的防松动轮胎螺栓。
本实用新型是通过以下技术方案实现的:一种防松动轮胎螺栓,是由螺杆、与螺杆螺纹连接的螺母、以及与螺母相活动联接的活动圈组成;螺杆的一端设有外螺纹,另一端设有一直截面的圆弧形端面,带有活动圈的螺母连接在螺杆一端的外螺纹上;其特征在于:螺母内设有内螺纹孔,螺母的一端形成一六边形端面,螺母的另一端设有弧形面台阶端,并且螺母的管口从弧形面台阶端继续向外延伸,形成一伸长端,所述伸长端与该弧形面台阶端以斜弧面过渡连接起来。
所述螺母的伸长端外圆周上设有一圈凸起部,该凸起部与螺母的弧形面台阶端之间形成一圈凹槽。
所述活动圈呈一圆锥状,活动圈的内孔孔径大于螺母伸长端的外径,圆锥状活动圈的小口径端面形成一与螺母上的斜弧面相对应的端口斜弧面,并且该活动圈的小口径端面的内孔内壁设有一圈凸台阶,并且活动圈是通过该凸台阶活动套设在与之相适应的螺母伸长端的凹槽上;活动圈活动套在螺母的伸长端上并且该伸长端长度高出活动圈的大口径端面。
与现有技术相比,本实用新型的有益效果体现在于:本实用新型中的螺母与活动圈的接触面采用斜弧面接触,增大了接触面,并且受力更加均匀,使螺杆承受的折弯力大大减少,提高了安全性能;另一方面通过螺母伸长端的设置,并且活动圈活动套在螺母的伸长端上并且该伸长端长度高出活动圈的大口径端面,减弱对螺杆的冲击力,同时使对螺杆的剪切力降低,防止了螺母松动,有利于更好的锁紧轮胎。
附图说明
下面结合附图对本实用新型进行详细的说明。
图1为本实用新型结构示意图。
图2为现有传统螺栓结构示意图。
图3图1的左视图。
图4为本实用新型中的螺母结构示意图。
图5为本实用新型中的活动圈结构示意图。
本实用新型结构图中的标识名称:1螺杆、2活动圈、3螺母、11外螺纹、12圆弧形端面、13直截面、21内孔、22凸台阶、23端口斜弧面、31伸长端、32凸起部、33凹槽、34内螺纹孔、35斜弧面、36弧形面台阶端。
现有技术螺栓中的标识名称:4螺杆、5活动圈、6螺母、7平齐端面。
具体实施方式
如图1、图3至图5所示,一种防松动轮胎螺栓,是由螺杆1、与螺杆1螺纹连接的螺母3、以及与螺母3相活动联接的活动圈2组成;螺杆1的一端设有外螺纹11,另一端设有一直截面13的圆弧形端面12,带有活动圈2的螺母连接在螺杆1一端的外螺纹11上。
螺母3内设有内螺纹孔34,螺母3的一端形成一六边形端面,螺母3的另一端设有弧形面台阶端36,并且螺母3的管口从弧形面台阶端36继续向外延伸,形成一伸长端31,所述伸长端31与该弧形面台阶端36以斜弧面35过渡连接起来。
所述螺母3的伸长端31外圆周上设有一圈凸起部32,该凸起部32与螺母3的弧形面台阶端36之间形成一圈凹槽33。
所述活动圈2呈一圆锥状,活动圈2的内孔21孔径大于螺母3伸长端31的外径,圆锥状活动圈2的小口径端面形成一与螺母3上的斜弧面35相对应的端口斜弧面23,并且该活动圈2的小口径端面的内孔21内壁设有一圈凸台阶22,并且活动圈2是通过该凸台阶22活动套设在与之相适应的螺母3伸长端31的凹槽33上;活动圈2活动套在螺母3的伸长端31上并且该伸长端31长度高出活动圈2的大口径端面。
使用本实用新型螺栓时,先将螺杆装配到轮毂中,利用螺母伸长端及活动圈与车轮钢圈相抵,同时旋紧螺母并锁紧,安装完成。
本实用新型装配简单,操作方便,能有效地防止螺杆的松动,安全性能高、承载负荷大。
Claims (4)
1.一种防松动轮胎螺栓,是由螺杆、与螺杆螺纹连接的螺母、以及与螺母相活动联接的活动圈组成;螺杆的一端设有外螺纹,另一端设有一直截面的圆弧形端面,带有活动圈的螺母连接在螺杆一端的外螺纹上;螺母内设有内螺纹孔,螺母的一端形成一六边形端面,其特征在于:螺母的另一端设有弧形面台阶端,并且螺母的管口从弧形面台阶端继续向外延伸,形成一伸长端,所述伸长端与该弧形面台阶端以斜弧面过渡连接起来。
2.根据权利要求1所述的一种防松动轮胎螺栓,其特征在于:所述螺母的伸长端外圆周上设有一圈凸起部,该凸起部与螺母的弧形面台阶端之间形成一圈凹槽。
3.根据权利要求1或2所述的一种防松动轮胎螺栓,其特征在于:活动圈呈一圆锥状,活动圈的内孔孔径大于螺母伸长端的外径,圆锥状活动圈的小口径端面形成一与螺母上的斜弧面相对应的端口斜弧面,并且该活动圈的小口径端面的内孔内壁设有一圈凸台阶,并且活动圈是通过该凸台阶活动套设在与之相适应的螺母伸长端的凹槽上。
4.根据权利要求1或2所述的一种防松动轮胎螺栓,其特征在于:活动圈活动套在螺母的伸长端上并且该伸长端长度高出活动圈的大口径端面。
Priority Applications (1)
| Application Number | Priority Date | Filing Date | Title |
|---|---|---|---|
| CN2011203121832U CN202251358U (zh) | 2011-08-25 | 2011-08-25 | 一种防松动轮胎螺栓 |
Applications Claiming Priority (1)
| Application Number | Priority Date | Filing Date | Title |
|---|---|---|---|
| CN2011203121832U CN202251358U (zh) | 2011-08-25 | 2011-08-25 | 一种防松动轮胎螺栓 |
Publications (1)
| Publication Number | Publication Date |
|---|---|
| CN202251358U true CN202251358U (zh) | 2012-05-30 |
Family
ID=46112606
Family Applications (1)
| Application Number | Title | Priority Date | Filing Date |
|---|---|---|---|
| CN2011203121832U Expired - Fee Related CN202251358U (zh) | 2011-08-25 | 2011-08-25 | 一种防松动轮胎螺栓 |
Country Status (1)
| Country | Link |
|---|---|
| CN (1) | CN202251358U (zh) |
-
2011
- 2011-08-25 CN CN2011203121832U patent/CN202251358U/zh not_active Expired - Fee Related
Similar Documents
| Publication | Publication Date | Title |
|---|---|---|
| CN201908932U (zh) | 自锁防松螺母组件 | |
| CN203559487U (zh) | 一种化学锚栓 | |
| CN202182098U (zh) | 一种铁路接触网特制防松螺母 | |
| CN202251358U (zh) | 一种防松动轮胎螺栓 | |
| CN203680165U (zh) | 双头螺栓专用扳手 | |
| CN203114838U (zh) | 一种六角汽车螺帽 | |
| CN202790003U (zh) | 一种防松止转螺母 | |
| CN202402444U (zh) | 紧固防松螺栓 | |
| CN203637448U (zh) | 一种加强防滑螺栓孔铝合金轮毂 | |
| CN201721503U (zh) | 前转向节带球销总成 | |
| CN215333850U (zh) | 一种防振型紧固螺栓 | |
| CN203585031U (zh) | 电动童车固定用螺栓 | |
| CN204352933U (zh) | 一种岩石破碎锤锤轴紧固装置 | |
| CN207715517U (zh) | 一种高强度轮毂螺栓 | |
| CN204878212U (zh) | 一种分体式钻尾螺钉 | |
| CN221170315U (zh) | 一种组合式防松螺母 | |
| CN205244365U (zh) | 高载荷工程桥的主减速器驻车系统 | |
| CN223648293U (zh) | 一种轮毂用防盗螺栓 | |
| CN201391528Y (zh) | 一种防盗螺栓副 | |
| CN219932676U (zh) | 一种钢结构防滑螺栓 | |
| CN205114478U (zh) | 一种机组导向扶平装置 | |
| CN202745272U (zh) | 用于索结构的可调式固定装置 | |
| CN219953848U (zh) | 一种用于新能源汽车防护板的紧固件 | |
| CN217814422U (zh) | 一种高强度轮载螺栓 | |
| CN202732805U (zh) | 汽车刹车调整臂 |
Legal Events
| Date | Code | Title | Description |
|---|---|---|---|
| C14 | Grant of patent or utility model | ||
| GR01 | Patent grant | ||
| CF01 | Termination of patent right due to non-payment of annual fee | ||
| CF01 | Termination of patent right due to non-payment of annual fee |
Granted publication date: 20120530 Termination date: 20180825 |