CN202240530U - Drilling jig for seat board hole of front axle - Google Patents
Drilling jig for seat board hole of front axle Download PDFInfo
- Publication number
- CN202240530U CN202240530U CN201120394620XU CN201120394620U CN202240530U CN 202240530 U CN202240530 U CN 202240530U CN 201120394620X U CN201120394620X U CN 201120394620XU CN 201120394620 U CN201120394620 U CN 201120394620U CN 202240530 U CN202240530 U CN 202240530U
- Authority
- CN
- China
- Prior art keywords
- front axle
- base plate
- auxiliary moving
- drill jig
- hole drill
- Prior art date
- Legal status (The legal status is an assumption and is not a legal conclusion. Google has not performed a legal analysis and makes no representation as to the accuracy of the status listed.)
- Expired - Fee Related
Links
- 238000005553 drilling Methods 0.000 title abstract 4
- 230000007246 mechanism Effects 0.000 claims abstract description 54
- 230000033001 locomotion Effects 0.000 claims description 32
- 230000008901 benefit Effects 0.000 description 1
- 238000006243 chemical reaction Methods 0.000 description 1
- 230000006872 improvement Effects 0.000 description 1
- 238000000034 method Methods 0.000 description 1
- 230000004048 modification Effects 0.000 description 1
- 238000012986 modification Methods 0.000 description 1
- 230000008569 process Effects 0.000 description 1
- 238000012797 qualification Methods 0.000 description 1
Images
Landscapes
- Drilling And Boring (AREA)
- Machines For Laying And Maintaining Railways (AREA)
Abstract
The utility model provides a drilling jig for a seat board hole of a front axle, which is used for fixing the front axle. The front axle comprises two opposite front axle fists and a connector for connecting the two front axle fists. The drilling jig for the seat board hole of the front axle comprises a base, a transverse adjusting mechanism, two longitudinal adjusting mechanisms and two auxiliary moving mechanisms, wherein the transverse adjusting mechanism, the two longitudinal adjusting mechanisms and the two auxiliary moving mechanisms are arranged on the base, the two longitudinal adjusting mechanisms and the two auxiliary moving mechanisms are respectively symmetric by taking the transverse adjusting mechanism as a central axis, and the two longitudinal adjusting mechanisms are positioned between the two auxiliary moving mechanisms, are supported on the connector and longitudinally clamp the connector, and the two auxiliary moving mechanisms penetrate through the two longitudinal adjusting mechanisms and are connected with the transverse adjusting mechanism. The drilling jig for the seat board hole of the front axle is labor-saving and convenient.
Description
Technical field
The utility model relates to a kind of anchor clamps, relates in particular to a kind of front axle base plate hole drill jig.
Background technology
Current, front axle base plate hole drill jig adopts two ends independently to control, through the symmetry of rule control two ends fist to base plate hole; The underlying bushing plate, before the clamping, the front axle seat board is downward, holes behind the back Rotate 180 degree.Yet these anchor clamps use effort because volume is big, cause production efficiency low.
The utility model content
In view of this, the utility model provides a kind of laborsaving base plate hole of front axle easily drill jig.
The utility model is achieved in that a kind of front axle base plate hole drill jig, and it is used for fixing front axle, and said front axle comprises two front axle fists that are oppositely arranged and the connector that connects said two front axle fists.Said front axle base plate hole drill jig comprises base and is arranged on the lateral adjustment on the said base, two vertical governor motions and two auxiliary moving mechanisms.Said two vertical governor motions and said two auxiliary moving mechanisms are that central shaft is symmetrical set with said lateral adjustment all, and said two vertical governor motions are between said two auxiliary moving mechanisms.Said two vertical governor motions support said connector and clamp said connector in the vertical; Said two auxiliary moving mechanisms partly pass said two vertical governor motions and are connected with said lateral adjustment, and the said front axle fist of said two auxiliary moving mechanism supports also laterally promotes said front axle fist under the pulling of said lateral adjustment.
Further; Said two auxiliary moving mechanisms include the microscler moving member that can pass said two vertical governor motions; Said lateral adjustment is provided with respectively towards the nut of said two auxiliary moving mechanisms and the handle that revolves that is used to rotate said two nuts; Said two moving members are respectively arranged with screw rod, and said two screw rods and said two nuts screw togather.
Further, said two auxiliary moving mechanisms also include the vee-block that is connected with said moving member horizontal fixed, and said vee-block supports said front axle fist and under the pulling of said lateral adjustment, laterally promotes said front axle fist.
Further, said two auxiliary moving mechanisms also include the supporting plate that is arranged between said vee-block and the said moving member, with the bearing that said supporting plate vertical fixing is connected, said vee-block is fixed on the said bearing.
Further, said base is provided with chute, and each supporting plate is provided with the slide rail that can on said chute, slide.
Further, each vertical governor motion is provided with and supplies said two passages that auxiliary moving mechanism partly passes through.
Further, each vertical governor motion is provided with the cover plate that is covered on said passage and said cover plate fixedly is covered on the bolt on the said passage.
Further, each vertical governor motion is provided for raising the rotor of said connector and promotes the impeller that said rotor raises up.
Further, said impeller is for being screwed together in inboard screw rod from the corresponding vertically governor motion outside.
Further, said rotor comprises roller and the roller mount that is connected with said roller, and said screw rod supports said roller and when being rotated, can promote said roller and rotates.
Compare with traditional anchor clamps; The front axle base plate hole drill jig that the utility model provides; Drive vee-block centering through left and right sides screw rod and move (revolve through rotation and oppositely move, clamp front axle and guarantee that front axle is positioned at the anchor clamps centre position), replace rule control making left and right sides screw rod drive two ends vee-block constant speed on guide rail; Both accurate, quick again; Clamp mechanism promotes linkage through rotary screw and rotates up, clamping work pieces, and compact conformation, reliable, and also rigidity is better.
Description of drawings
Fig. 1 is the structural representation of the front axle base plate hole drill jig that provides of the utility model preferred embodiments;
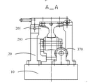
Fig. 2 be among Fig. 1 front axle base plate hole drill jig along the cross-sectional schematic of A-A;
Fig. 3 is that sketch map is looked on a front axle base plate hole drill jig left side among Fig. 1.
Symbol description
|
Front axle base plate |
100 |
|
|
200 |
|
The |
201 |
|
|
203 |
|
|
10 |
|
|
20 |
|
|
30 |
|
|
40 |
|
Moving |
41 |
| Nut | 27 |
| Revolve handle | 28 |
|
|
25 |
|
Vee- |
43 |
|
|
45 |
|
|
47 |
|
|
31 |
|
|
33 |
|
|
35 |
|
|
37 |
|
|
39 |
|
|
370 |
|
|
372 |
The specific embodiment
For the purpose, technical scheme and the advantage that make the utility model is clearer,, the utility model is further elaborated below in conjunction with accompanying drawing and embodiment.Should be appreciated that specific embodiment described herein only in order to explanation the utility model, and be not used in qualification the utility model.
See also Fig. 1; The structural representation of the front axle base plate hole drill jig 100 that it provides for the utility model preferred embodiments; Front axle base plate hole drill jig 100 is used for fixing front axle 200, and front axle 200 comprises two front axle fists 201 that are oppositely arranged and the connector 203 that connects two front axle fists 201.
Front axle base plate hole drill jig 100 comprises base 10 and is arranged on the lateral adjustment 20 on the base 10, two vertical governor motions 30 and two auxiliary moving mechanisms 40.Two vertical governor motions 30 and two auxiliary moving mechanisms 40 are that central shaft is symmetrical set with lateral adjustment 20 all, and two vertical governor motions 30 are between two auxiliary moving mechanisms 40.Two vertical governor motion 30 support and connection bodies 203 also clamp connector 203 in the vertical; Two auxiliary moving mechanism 40 parts are passed two vertical governor motions 30 and are connected with lateral adjustment 20, and two auxiliary moving mechanisms 40 support front axle fist 201 and under the pulling of lateral adjustment 20, laterally promote front axle fist 201.
Two auxiliary moving mechanisms 40 include the moving member 41 that can pass two vertical governor motions 30; Lateral adjustment 20 is provided with respectively towards the nut 27 of two auxiliary moving mechanisms 40 and is used to rotate the revolving 28 of two nuts 27; Two moving members 41 are respectively arranged with 25, two screw rods 25 of screw rod and two nuts 27 screw togather.Revolve 28 can make two screw rods 27 with respect to nut 27 drive corresponding mobile parts 41 relative to or support or oppose and move.Two auxiliary moving mechanisms 40 also include the vee-block 43 that is connected with moving member 41 horizontal fixed, and vee-block 43 supports front axle fist 201 and under the pulling of lateral adjustment 20, laterally promotes front axle fist 201.Two auxiliary moving mechanisms 40 also include the supporting plate 45 that is arranged between vee-block 43 and the moving member 41, the bearing 47 that is connected with supporting plate 45 vertical fixing, and vee-block 43 is fixed on the bearing 47.Base 47 is provided with chute (figure does not show), and each supporting plate 45 is provided with the slide rail (figure does not show) that can on said chute, slide, thereby makes things convenient for auxiliary moving mechanism 40 to move.
Each vertical governor motion 30 is provided with the passage 31 that the moving member that supplies two auxiliary moving mechanisms 40 passes through, the cover plate 33 that is covered on passage 31 and cover plate 33 fixedly is covered on the bolt 35 on the passage 31.In the time of in connector 203 places passage 31, cover cover plate 33, and tighten through bolt 35 connector 203 is limited in the auxiliary moving mechanism 40.
Each vertical governor motion 30 is provided for raising the rotor 37 of connector 203 and promotes the impeller 39 that rotor 37 raises up.In this embodiment, impeller 39 is for being screwed together in inboard screw rod from corresponding vertically governor motion 30 outsides.Rotor 37 comprises roller 370 and the roller mount 372 that is connected with roller 370, and said screw rod (being impeller 39) support roller 370 also can promote said roller 370 rotations when being rotated.
Front axle base plate hole drill jig 100 mainly utilizes: 1, the relation principle of thread pitch and helical pitch; Realize that through left and right sides nut 27, screw rod 25 uniform pitch mechanisms two ends detent mechanism vee-blocks (being the vee-block 43 of auxiliary moving mechanism 40) are reverse equidistant mobile, realize symmetric relation; 2, connecting rod mechanism movement rule realizes the conversion of the fortune merit direction and the characteristics of motion through various mechanisms such as connecting rod (being impeller 39, rotor 37) etc., gets out of the way anti-the interference, is convenient to operation.
The operating process of front axle base plate hole drill jig 100 is following: open bushing plate → put into workpiece → cover bushing plate, bolt is tightened, and fixedly revolves handle in the middle of bushing plate → rotation; Two ends vee-block equidistance is moved to the centre; Clamp → rotate left and right screw rod, on lift workpiece, clamp.
In sum; The front axle base plate hole drill jig that the utility model provides; Drive vee-block centering through left and right sides screw rod and move (revolve through rotation and oppositely move, clamp front axle and guarantee that front axle is positioned at the anchor clamps centre position), replace rule control making left and right sides screw rod drive two ends vee-block constant speed on guide rail; Both accurate, quick again; Clamp mechanism promotes linkage through rotary screw and rotates up, clamping work pieces, and compact conformation, reliable, and also rigidity is better.
The above is merely the preferred embodiment of the utility model; Not in order to restriction the utility model; Any modification of being done within all spirit and principles at the utility model, be equal to replacement and improvement etc., all should be included within the protection domain of the utility model.
Claims (10)
1. front axle base plate hole drill jig; It is used for fixing front axle; Said front axle comprises two front axle fists that are oppositely arranged and the connector that connects said two front axle fists; It is characterized in that; Said front axle base plate hole drill jig comprises base and is arranged on the lateral adjustment on the said base, two vertical governor motions and two auxiliary moving mechanisms; Said two vertical governor motions and said two auxiliary moving mechanisms are that central shaft is symmetrical set with said lateral adjustment all, and said two vertical governor motions are between said two auxiliary moving mechanisms, and said two vertical governor motions support said connector and clamp said connector in the vertical; Said two auxiliary moving mechanisms partly pass said two vertical governor motions and are connected with said lateral adjustment, and the said front axle fist of said two auxiliary moving mechanism supports also laterally promotes said front axle fist under the pulling of said lateral adjustment.
2. front axle base plate hole drill jig as claimed in claim 1; It is characterized in that; Said two auxiliary moving mechanisms include the microscler moving member that can pass said two vertical governor motions; Said lateral adjustment is provided with respectively towards the nut of said two auxiliary moving mechanisms and the handle that revolves that is used to rotate said two nuts, and said two moving members are respectively arranged with screw rod, and said two screw rods and said two nuts screw togather.
3. front axle base plate hole drill jig as claimed in claim 2; It is characterized in that; Said two auxiliary moving mechanisms also include the vee-block that is connected with said moving member horizontal fixed, and said vee-block supports said front axle fist and under the pulling of said lateral adjustment, laterally promotes said front axle fist.
4. front axle base plate hole drill jig as claimed in claim 3; It is characterized in that; Said two auxiliary moving mechanisms also include the supporting plate that is arranged between said vee-block and the said moving member, with the bearing that said supporting plate vertical fixing is connected, said vee-block is fixed on the said bearing.
5. front axle base plate hole drill jig as claimed in claim 4 is characterized in that said base is provided with chute, and each supporting plate is provided with the slide rail that can on said chute, slide.
6. front axle base plate hole drill jig as claimed in claim 1 is characterized in that, each vertical governor motion is provided with and supplies said two passages that auxiliary moving mechanism partly passes through.
7. front axle base plate hole drill jig as claimed in claim 6 is characterized in that, each vertical governor motion is provided with the cover plate that is covered on said passage and said cover plate fixedly is covered on the bolt on the said passage.
8. front axle base plate hole drill jig as claimed in claim 1 is characterized in that, each vertical governor motion is provided for raising the rotor of said connector and promotes the impeller that said rotor raises up.
9. front axle base plate hole drill jig as claimed in claim 8 is characterized in that, said impeller is for being screwed together in inboard screw rod from the corresponding vertically governor motion outside.
10. front axle base plate hole drill jig as claimed in claim 9 is characterized in that said rotor comprises roller and the roller mount that is connected with said roller, and said screw rod supports said roller and when being rotated, can promote said roller and rotates.
Priority Applications (1)
| Application Number | Priority Date | Filing Date | Title |
|---|---|---|---|
| CN201120394620XU CN202240530U (en) | 2011-10-17 | 2011-10-17 | Drilling jig for seat board hole of front axle |
Applications Claiming Priority (1)
| Application Number | Priority Date | Filing Date | Title |
|---|---|---|---|
| CN201120394620XU CN202240530U (en) | 2011-10-17 | 2011-10-17 | Drilling jig for seat board hole of front axle |
Publications (1)
| Publication Number | Publication Date |
|---|---|
| CN202240530U true CN202240530U (en) | 2012-05-30 |
Family
ID=46101831
Family Applications (1)
| Application Number | Title | Priority Date | Filing Date |
|---|---|---|---|
| CN201120394620XU Expired - Fee Related CN202240530U (en) | 2011-10-17 | 2011-10-17 | Drilling jig for seat board hole of front axle |
Country Status (1)
| Country | Link |
|---|---|
| CN (1) | CN202240530U (en) |
Cited By (4)
| Publication number | Priority date | Publication date | Assignee | Title |
|---|---|---|---|---|
| CN104190996A (en) * | 2014-09-11 | 2014-12-10 | 安徽省合肥汽车锻件有限责任公司 | Drilling jig for front-axle lock bolt hole |
| CN104924123A (en) * | 2015-07-17 | 2015-09-23 | 安阳工学院 | Special front shaft machining clamp capable of automatically aligning caster angle and inward camber |
| CN107234468A (en) * | 2017-07-14 | 2017-10-10 | 庆铃汽车(集团)有限公司 | A kind of front axle two ends clamp for machining and processing method |
| CN107263165A (en) * | 2017-06-12 | 2017-10-20 | 方盛车桥(柳州)有限公司 | Front axle leaf spring hole secondary process mechanism |
-
2011
- 2011-10-17 CN CN201120394620XU patent/CN202240530U/en not_active Expired - Fee Related
Cited By (4)
| Publication number | Priority date | Publication date | Assignee | Title |
|---|---|---|---|---|
| CN104190996A (en) * | 2014-09-11 | 2014-12-10 | 安徽省合肥汽车锻件有限责任公司 | Drilling jig for front-axle lock bolt hole |
| CN104924123A (en) * | 2015-07-17 | 2015-09-23 | 安阳工学院 | Special front shaft machining clamp capable of automatically aligning caster angle and inward camber |
| CN107263165A (en) * | 2017-06-12 | 2017-10-20 | 方盛车桥(柳州)有限公司 | Front axle leaf spring hole secondary process mechanism |
| CN107234468A (en) * | 2017-07-14 | 2017-10-10 | 庆铃汽车(集团)有限公司 | A kind of front axle two ends clamp for machining and processing method |
Similar Documents
| Publication | Publication Date | Title |
|---|---|---|
| CN204843797U (en) | Single longmen numerically control grinder | |
| CN202240530U (en) | Drilling jig for seat board hole of front axle | |
| CN203437688U (en) | Special purpose machine for main oil gallery of engine cylinder cover | |
| CN202461993U (en) | Support structure for alignment of two end faces for reaming | |
| CN205927183U (en) | Porous brill of horizontal trilateral hole site of adjustable | |
| CN103273329B (en) | Five-axis numerical control machine tool | |
| CN209936314U (en) | Differential mechanism shell tightening machine | |
| CN205465115U (en) | Screw machine of work piece automatically can overturn | |
| CN204800424U (en) | Two longmen numerically control grinder | |
| CN201940647U (en) | Drilling machine | |
| CN203900543U (en) | Magnetic drill with double drill bits | |
| CN202336684U (en) | Welding displacement device for bearing retainer | |
| CN202701434U (en) | Boring machining equipment | |
| CN206435982U (en) | A fast-moving drilling and tapping center | |
| CN109570990A (en) | A kind of automatic locking screw machine and the equal part rotating mechanism for screw locking machine | |
| CN221047704U (en) | Automatic welding positioner for large-caliber elbow | |
| CN112517957A (en) | Bearing machining and drilling device | |
| CN202317435U (en) | C-axis revolving and rotating mechanism | |
| CN105680778A (en) | Two-dimensional movement mechanism of balancing weight | |
| CN202143960U (en) | Drilling device for machining butterfly valve body | |
| CN105650202A (en) | Balance mechanism | |
| CN211516383U (en) | Online laser cutting device of steel pipe | |
| CN202780324U (en) | Adjustable type retainer mechanism | |
| CN207736537U (en) | A kind of sky beam orbit formula band sawing machine | |
| CN208052102U (en) | A kind of PE pipe Special-purpose punchers convenient for adjusting fixing device |
Legal Events
| Date | Code | Title | Description |
|---|---|---|---|
| C14 | Grant of patent or utility model | ||
| GR01 | Patent grant | ||
| CF01 | Termination of patent right due to non-payment of annual fee |
Granted publication date: 20120530 Termination date: 20141017 |
|
| EXPY | Termination of patent right or utility model |