CN202231355U - Ground wire lifting device - Google Patents

Ground wire lifting device Download PDF

Info

Publication number
CN202231355U
CN202231355U CN 201120356179 CN201120356179U CN202231355U CN 202231355 U CN202231355 U CN 202231355U CN 201120356179 CN201120356179 CN 201120356179 CN 201120356179 U CN201120356179 U CN 201120356179U CN 202231355 U CN202231355 U CN 202231355U
Authority
CN
China
Prior art keywords
sleeve
ground wire
crank
fixed frame
mount
Prior art date
Legal status (The legal status is an assumption and is not a legal conclusion. Google has not performed a legal analysis and makes no representation as to the accuracy of the status listed.)
Expired - Fee Related
Application number
CN 201120356179
Other languages
Chinese (zh)
Inventor
张志强
郭慧娟
Current Assignee (The listed assignees may be inaccurate. Google has not performed a legal analysis and makes no representation or warranty as to the accuracy of the list.)
Jiaozuo Power Supply Co of State Grid Henan Electric Power Co Ltd
State Grid Corp of China SGCC
Original Assignee
Jiaozuo Power Supply Company Henan Electric Power Corp
Priority date (The priority date is an assumption and is not a legal conclusion. Google has not performed a legal analysis and makes no representation as to the accuracy of the date listed.)
Filing date
Publication date
Application filed by Jiaozuo Power Supply Company Henan Electric Power Corp filed Critical Jiaozuo Power Supply Company Henan Electric Power Corp
Priority to CN 201120356179 priority Critical patent/CN202231355U/en
Application granted granted Critical
Publication of CN202231355U publication Critical patent/CN202231355U/en
Anticipated expiration legal-status Critical
Expired - Fee Related legal-status Critical Current

Links

Images

Landscapes

  • Emergency Lowering Means (AREA)

Abstract

The utility model provides a ground wire hoisting device, includes the mount, and the mount both ends set up one set of telescopic couple device respectively, and the mount middle part is equipped with the decurrent recess of opening, and the symmetry is provided with left socle and right branch frame on the mount, and the left socle articulates left shelves pole, and the right branch frame articulates right shelves pole, and adjacent end passes through the bolt and can dismantle the connection when left shelves pole and right shelves pole all inwards rotate horizontal position. The fixing frame is connected with a single end of a ground wire on a transmission and distribution line, the two sets of telescopic hook devices are respectively connected with two ground wires, the tightness degree of the connection of the ground wires can be adjusted by shaking the crank, the non-return column is inserted into the through hole after the tightness degree is adjusted to be required, the non-return column blocks the crank to enable the crank not to rotate, the purpose of preventing the crank from reversing can be effectively achieved, angle irons on the single end of the ground wire are arranged in grooves of the fixing frame, the left gear rod and the right gear rod achieve the effects of limiting and facilitating disassembly and assembly, and the high-speed operation, the operation is simple and convenient, and the. The utility model discloses simple structure, with low costs, easy maintenance, on-the-spot suitability is strong, and the convenience is demolishd in the installation.

Description

地线提升装置Ground Lifting Device

技术领域 technical field

本实用新型涉及一种电力系统中输配线路的地线提升工具。 The utility model relates to a ground wire lifting tool for transmission and distribution lines in an electric power system.

背景技术 Background technique

输配电线路因长期受风力、机械振动等外力影响,连接杆塔与地线的金具会产生锈蚀、磨损,如不及时处理会导致地线脱落,造成输配电线路恶性事故。现在经常使用的是手板葫芦法,但手板葫芦与地线连接不紧密,易滑跑,作业人员安全得不到保障,并且费时、费力、效率低,工具沉重,不得人员操作和上下传递。 Power transmission and distribution lines are affected by external forces such as wind force and mechanical vibration for a long time. The metal fittings connecting the tower and the ground wire will be rusted and worn. Now the hand hoist method is often used, but the hand hoist is not tightly connected to the ground wire, it is easy to slip, the safety of the operators cannot be guaranteed, and it is time-consuming, laborious, inefficient, and the tools are heavy.

发明内容 Contents of the invention

本实用新型的目的在于克服上述不足提供一种地线提升装置。 The purpose of this utility model is to provide a ground wire lifting device to overcome the above disadvantages.

实现本实用新型的目的技术方案如下: Realize the purpose technical scheme of the present utility model as follows:

一种地线提升装置,包括固定架,固定架两端分别设置一套伸缩式挂钩装置,固定架中部设有开口向下的凹槽,在固定架上对称设置有左支架和右支架,左支架铰接左档杆,右支架铰接右档杆,左档杆和右档杆均向内转动到水平位置时相邻端通过螺栓可拆卸连接。 A ground wire lifting device, including a fixed frame, a set of telescopic hook devices are respectively arranged at both ends of the fixed frame, a groove with an opening downward is arranged in the middle of the fixed frame, a left bracket and a right bracket are symmetrically arranged on the fixed frame, and the left and right brackets are arranged symmetrically. The bracket is hinged to the left gear lever, and the right bracket is hinged to the right gear lever. When both the left gear lever and the right gear lever are turned inward to a horizontal position, the adjacent ends are detachably connected by bolts.

上述地线提升装置,所述伸缩式挂钩装置连接在固定架两端的左套筒和右套筒,套筒内设有丝杆,丝杆下端有挂钩,在套筒内还设置有带齿轮的转轴,转轴上的齿轮与丝杆上的螺纹相啮合,伸出套筒外的转轴上安装有摇把,在摇把对应的套筒上有插止逆柱的通孔,止逆柱通过绳索固定在套筒上。 The above-mentioned ground wire lifting device, the telescopic hook device is connected to the left sleeve and the right sleeve at both ends of the fixed frame, a screw rod is provided in the sleeve, and a hook is provided at the lower end of the screw rod, and a gear with a gear is also provided in the sleeve. The rotating shaft, the gear on the rotating shaft meshes with the screw thread on the screw rod, and the crank handle is installed on the rotating shaft extending out of the sleeve, and there is a through hole for inserting the anti-reverse column on the sleeve corresponding to the crank handle, and the anti-reverse post passes through the rope. fixed on the sleeve.

采用上述技术方案,本实用新型有以下优点:固定架与输配线路上的地线单头连接,两套伸缩式挂钩装置分别与两根地线连接,可以通过摇动摇把来调整地线连接的松紧程度,调整到需要的松紧后将止逆柱插入通孔,止逆柱就挡住了摇把使摇把不能转动,就能有效地起到防止摇把倒转的目的,地线单头上的角铁设在固定架的凹槽内,左档杆和右档杆起到限位和便于拆装的作用,在高作业,操作简便,安全性高。本实用新型结构简单、成本低、维修方便,现场适用性强,安装拆除方便。 Adopting the above technical scheme, the utility model has the following advantages: the fixed frame is connected to the ground wire on the transmission and distribution line at one end, and the two sets of telescopic hook devices are respectively connected to the two ground wires, and the connection of the ground wire can be adjusted by shaking the handle The degree of tightness, after adjusting to the required tightness, insert the anti-reverse column into the through hole, the anti-reverse column will block the crank so that the crank cannot be rotated, which can effectively prevent the crank from turning upside down. The angle iron is set in the groove of the fixed frame, and the left and right gear levers play the role of limiting and facilitating disassembly and assembly. It is easy to operate and high in safety when working at high altitudes. The utility model has the advantages of simple structure, low cost, convenient maintenance, strong field applicability, and convenient installation and disassembly.

附图说明 Description of drawings

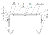
图1是本实用新型的结构示意图。 Fig. 1 is a structural representation of the utility model.

具体实施方式 Detailed ways

如图1所示的一种地线提升装置,包括固定架7,固定架7两端分别设置一套伸缩式挂钩装置,固定架中部设有开口向下的凹槽10,在固定架上对称设置有左支架8和右支架13,左支架铰接左档杆9,右支架铰接右档杆13,左档杆9和右档杆13均向内转动到水平位置时相邻端通过螺栓11可拆卸连接,所述伸缩式挂钩装置连接在固定架两端的左套筒6和右套筒14,套筒内设有丝杆2、15,丝杆下端有挂钩1、16,在套筒内还设置有带齿轮的转轴5,转轴5上的齿轮与丝杆上的螺纹相啮合,伸出套筒外的转轴上安装有摇把3,在摇把3对应的套筒上有插止逆柱的通孔4,止逆柱4通过绳索固定在套筒上。 A ground wire lifting device as shown in Figure 1 includes a fixed frame 7, a set of telescopic hook devices are respectively arranged at both ends of the fixed frame 7, and a groove 10 with an opening downward is provided in the middle of the fixed frame, which is symmetrical on the fixed frame Left bracket 8 and right bracket 13 are provided with, left bracket is hinged left gear lever 9, and right bracket is hinged right gear lever 13, and when left gear lever 9 and right gear lever 13 all rotate inwardly to horizontal position, adjacent ends can pass through bolt 11. Disassemble the connection, the telescopic hook device is connected to the left sleeve 6 and the right sleeve 14 at the two ends of the fixed frame, the sleeve is provided with screw mandrels 2,15, and the lower end of the screw mandrel has hooks 1,16. A rotating shaft 5 with a gear is provided, the gear on the rotating shaft 5 meshes with the screw thread on the screw rod, the crank handle 3 is installed on the rotating shaft extending out of the sleeve, and there is a plug-in reverse column on the sleeve corresponding to the crank handle 3 The through hole 4, the anti-reverse column 4 is fixed on the sleeve by a rope.

Claims (2)

1.一种地线提升装置,其特征在于:包括固定架(7),固定架(7)两端分别设置一套伸缩式挂钩装置,固定架中部设有开口向下的凹槽(10),在固定架上对称设置有左支架(8)和右支架(13),左支架铰接左档杆(9),右支架铰接右档杆(13),左档杆(9)和右档杆(13)均向内转动到水平位置时相邻端通过螺栓(11)可拆卸连接。 1. A ground wire lifting device, characterized in that: it includes a fixed frame (7), a set of telescopic hook devices are respectively provided at both ends of the fixed frame (7), and a downward opening groove (10) is provided in the middle of the fixed frame , a left bracket (8) and a right bracket (13) are symmetrically arranged on the fixed frame, the left bracket is hinged to the left gear lever (9), the right bracket is hinged to the right gear lever (13), the left gear lever (9) and the right gear lever (13) When both are turned inward to a horizontal position, the adjacent ends are detachably connected by bolts (11). 2.根据权利要求1所述的地线提升装置,其特征在于:所述伸缩式挂钩装置连接在固定架两端的左套筒(6)和右套筒(14),套筒内设有丝杆(2、15),丝杆下端有挂钩(1、16),在套筒内还设置有带齿轮的转轴(5),转轴(5)上的齿轮与丝杆上的螺纹相啮合,伸出套筒外的转轴上安装有摇把(3),在摇把(3)对应的套筒上有插止逆柱的通孔(4),止逆柱(4)通过绳索固定在套筒上。 2. The ground wire lifting device according to claim 1, characterized in that: the telescopic hook device is connected to the left sleeve (6) and the right sleeve (14) at both ends of the fixed frame, and wires are arranged inside the sleeve. Rod (2, 15), the lower end of the screw rod has a hook (1, 16), and a rotating shaft (5) with a gear is also arranged in the sleeve, and the gear on the rotating shaft (5) meshes with the screw thread on the screw rod to extend A crank handle (3) is installed on the rotating shaft outside the sleeve, and there is a through hole (4) for inserting the anti-reverse column on the corresponding sleeve of the crank handle (3), and the anti-reverse column (4) is fixed on the sleeve by a rope superior.
CN 201120356179 2011-09-22 2011-09-22 Ground wire lifting device Expired - Fee Related CN202231355U (en)

Priority Applications (1)

Application Number Priority Date Filing Date Title
CN 201120356179 CN202231355U (en) 2011-09-22 2011-09-22 Ground wire lifting device

Applications Claiming Priority (1)

Application Number Priority Date Filing Date Title
CN 201120356179 CN202231355U (en) 2011-09-22 2011-09-22 Ground wire lifting device

Publications (1)

Publication Number Publication Date
CN202231355U true CN202231355U (en) 2012-05-23

Family

ID=46081929

Family Applications (1)

Application Number Title Priority Date Filing Date
CN 201120356179 Expired - Fee Related CN202231355U (en) 2011-09-22 2011-09-22 Ground wire lifting device

Country Status (1)

Country Link
CN (1) CN202231355U (en)

Cited By (4)

* Cited by examiner, † Cited by third party
Publication number Priority date Publication date Assignee Title
CN103441453A (en) * 2013-09-03 2013-12-11 杨军 Line suspending device
CN103795003A (en) * 2014-02-27 2014-05-14 江苏省电力公司常州供电公司 Insulated wire lifting device for live working of 35kV power supply line
CN104037665A (en) * 2014-07-02 2014-09-10 国家电网公司 Overhead ground wire lifter
CN108072950A (en) * 2016-11-16 2018-05-25 刘伟华 Optical fiber cable fitting replaces stent

Cited By (8)

* Cited by examiner, † Cited by third party
Publication number Priority date Publication date Assignee Title
CN103441453A (en) * 2013-09-03 2013-12-11 杨军 Line suspending device
CN103441453B (en) * 2013-09-03 2016-04-20 国家电网公司 A kind of rope hoister
CN103795003A (en) * 2014-02-27 2014-05-14 江苏省电力公司常州供电公司 Insulated wire lifting device for live working of 35kV power supply line
CN103795003B (en) * 2014-02-27 2016-04-13 江苏省电力公司常州供电公司 Insulated wire lifting device for live working of 35kV power supply line
CN105811301A (en) * 2014-02-27 2016-07-27 江苏省电力公司常州供电公司 Low-cost insulating line lifting device for live working of 35kV power supply line
CN105811301B (en) * 2014-02-27 2017-10-17 国网江苏省电力公司常州供电公司 The insulation of the 35kV supply lines livewire work of low cost carries line apparatus
CN104037665A (en) * 2014-07-02 2014-09-10 国家电网公司 Overhead ground wire lifter
CN108072950A (en) * 2016-11-16 2018-05-25 刘伟华 Optical fiber cable fitting replaces stent

Similar Documents

Publication Publication Date Title
CN202474702U (en) Platform mounting support for live operation of power distribution line
CN202231355U (en) Ground wire lifting device
CN104167687A (en) Tool for live-line replacement of suspension insulator and using working method thereof
WO2016000416A1 (en) Overhead ground wire lifter
CN205123121U (en) Action bars is strideed across to electric wire
CN205377163U (en) General type 500kV overhead earth wire carries ply -yarn drill utensil
CN204277336U (en) The vertical bracing frame of herringbone bar group
CN206789984U (en) A kind of ground wire lifting device
CN104100076A (en) Device for installing hanging bars of indoor suspended ceiling
CN202268649U (en) Drainage thread supporting operation tool for live-wire work
CN204958188U (en) Special lifting mechanism of looks live working in 35kV and following multiloop
CN201663250U (en) Reversible ground wire hook
CN103199461A (en) Method for lifting lightning conductor of power transmission line and special portable lifter
CN102611039A (en) Universal lead interval bar mounting spanner
CN202373939U (en) Live-working double-conductor lifting device
CN210799593U (en) An iron accessory for electric power fittings
CN202268651U (en) Fixing device of transmission wire lifter
CN103112810A (en) Inspection shaft cover opening device
CN103398221A (en) Square forming device for parallel bunched cables
CN102801116B (en) Operating rod type stockbridge damper bolt tightener
CN104167650B (en) The attachment structure of a kind of concrete bar ground wire and using method thereof
CN107327204A (en) Portable laborsaving leading screw electric pole erection device
CN106654985B (en) A kind of straight line pole fall block
CN104358467A (en) Auxiliary mounting tool for concrete pole cross arm
CN202423986U (en) Spacer installation device

Legal Events

Date Code Title Description
C14 Grant of patent or utility model
GR01 Patent grant
ASS Succession or assignment of patent right

Owner name: STATE ELECTRIC NET CROP.

Free format text: FORMER OWNER: HENAN ELECTRIC POWER COMPANY, JIAOZUO POWER SUPPLY COMPANY

Effective date: 20131230

Owner name: JIAOZUO POWER SUPPLY COMPANY, STATE GRID HUNAN ELE

Effective date: 20131230

C41 Transfer of patent application or patent right or utility model
COR Change of bibliographic data

Free format text: CORRECT: ADDRESS; FROM: 454150 JIAOZUO, HENAN PROVINCE TO: 100031 XICHENG, BEIJING

TR01 Transfer of patent right

Effective date of registration: 20131230

Address after: 100031 Xicheng District West Chang'an Avenue, No. 86, Beijing

Patentee after: State Grid Corporation of China

Patentee after: Jiaozuo Power Supply Company of State Grid Henan Electric Power Company

Address before: 454150 No. 299 South Tower Road, Henan, Jiaozuo

Patentee before: Henan Electric Power Company, Jiaozuo Power Supply Company

CF01 Termination of patent right due to non-payment of annual fee
CF01 Termination of patent right due to non-payment of annual fee

Granted publication date: 20120523

Termination date: 20180922