CN202228839U - Anti-scouring pipeline elbow - Google Patents

Anti-scouring pipeline elbow Download PDF

Info

Publication number
CN202228839U
CN202228839U CN 201120368396 CN201120368396U CN202228839U CN 202228839 U CN202228839 U CN 202228839U CN 201120368396 CN201120368396 CN 201120368396 CN 201120368396 U CN201120368396 U CN 201120368396U CN 202228839 U CN202228839 U CN 202228839U
Authority
CN
China
Prior art keywords
elbow
separator tube
buffer tube
inlet duct
tube
Prior art date
Legal status (The legal status is an assumption and is not a legal conclusion. Google has not performed a legal analysis and makes no representation as to the accuracy of the status listed.)
Expired - Fee Related
Application number
CN 201120368396
Other languages
Chinese (zh)
Inventor
段树桐
茆令文
赵忠恕
张跃英
谢恩俊
Current Assignee (The listed assignees may be inaccurate. Google has not performed a legal analysis and makes no representation or warranty as to the accuracy of the list.)
China Triumph International Engineering Co Ltd
CNBM Bengbu Design and Research Institute for Glass Industry Co Ltd
Original Assignee
China Triumph International Engineering Co Ltd
CNBM Bengbu Design and Research Institute for Glass Industry Co Ltd
Priority date (The priority date is an assumption and is not a legal conclusion. Google has not performed a legal analysis and makes no representation as to the accuracy of the date listed.)
Filing date
Publication date
Application filed by China Triumph International Engineering Co Ltd, CNBM Bengbu Design and Research Institute for Glass Industry Co Ltd filed Critical China Triumph International Engineering Co Ltd
Priority to CN 201120368396 priority Critical patent/CN202228839U/en
Application granted granted Critical
Publication of CN202228839U publication Critical patent/CN202228839U/en
Anticipated expiration legal-status Critical
Expired - Fee Related legal-status Critical Current

Links

Images

Landscapes

  • Branch Pipes, Bends, And The Like (AREA)

Abstract

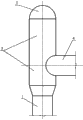
The utility model relates to an anti-scour pipeline elbow, including elbow inlet tube (1) and elbow outlet pipe (4), its characterized in that: still include a buffer tube (2), buffer tube (2) one end is connected with elbow inlet tube (1), and the other end is confined port (3), is close to and is equipped with on buffer tube (2) of elbow inlet tube (1) one end elbow outlet pipe (4). The utility model has the advantages that the diameter of the buffer tube is larger than that of the pipeline, so as to slow down the flow velocity of the water slurry material; the top of the buffer tube is in a semi-spherical shape, so that the anti-scouring capability is stronger; the added buffer tube slows down the direct scouring of the water slurry material to the pipeline elbow, and prolongs the service life of the pipeline elbow.

Description

The protection against erosion channel bend
Technical field
The utility model relates to a kind of delivery pipe of quartz mortar, is specifically related to a kind of protection against erosion channel bend of quartz mortar delivery pipe.
Background technique
In commercial production, very common with line transportation water slurry material, as use the line transportation quartz mortar.In use, have a lot of channel bends on the pipeline, generally comprise elbow inlet duct and elbow outer pipe, connect through one section circular-arc pipeline between the two, because channel bend receives the impact of water slurry material maximum, also the most fragile.
The model utility content
The purpose of the utility model is to have the impact that channel bend receives the water slurry material now in order to solve, flimsy defective, and a kind of protection against erosion channel bend is provided.
The utility model solves the technological scheme that its technical problem adopted:
The protection against erosion channel bend; Comprise elbow inlet duct and elbow outer pipe, it is characterized in that: also comprise a separator tube, separator tube one end is connected with the elbow inlet duct; The other end is a closed end, is provided with described elbow outer pipe near the separator tube of elbow inlet duct one end.
On the basis of above-mentioned main technical schemes, can increase following further perfect technological scheme:
The axis of described separator tube is coaxial with the elbow inlet pipe axial line.
The diameter of described separator tube is greater than the diameter of elbow inlet duct.
The closed end of described separator tube is a closed end that semicircle is spherical.
The axis of described separator tube and elbow outer pipe axis normal.
The beneficial effect of the utility model is that the separator tube diameter is greater than pipe diameter, to slow down the water slurry material flow; The separator tube top is that semicircle is spherical, and erosion resistibility is stronger; The separator tube that increases slows down the water slurry material to directly the washing away of channel bend, and has prolonged the working life of channel bend.
Below in conjunction with accompanying drawing and embodiment the utility model is further specified.
Description of drawings:
Fig. 1 is the plan view of the utility model.
Embodiment
As shown in Figure 1, the utility model protection against erosion channel bend comprises a separator tube 2; Separator tube 2 is in order to slow down the flow velocity of water slurry material, and the length of separator tube 2 can increase separator tube length according to the change in flow of water slurry material when flow velocity is big; When flow hour can reduce separator tube length, separator tube 2 one ends are connected with elbow inlet duct 1, the axis of described separator tube 2 and elbow inlet duct 1 axis coaxle; The diameter of separator tube 2 is greater than the diameter of elbow inlet duct 1, and the other end is a closed end 3, and the closed end of separator tube 2 is a closed end that semicircle is spherical; Erosion resistibility is stronger, is provided with described elbow outer pipe 4, the axis of separator tube 2 and elbow outer pipe 4 axis normal near the separator tube 2 of elbow inlet duct 1 one ends; Separator tube 2 diameters are greater than pipe diameter, to slow down the water slurry material flow; The separator tube top is that semicircle is spherical, and erosion resistibility is stronger; The separator tube that increases slows down the water slurry material to directly the washing away of channel bend, and has prolonged the working life of channel bend.

Claims (5)

1. protection against erosion channel bend; Comprise elbow inlet duct (1) and elbow outer pipe (4); It is characterized in that: also comprise a separator tube (2); Separator tube (2) one ends are connected with elbow inlet duct (1), and the other end is closed end (3), are provided with described elbow outer pipe (4) near the separator tube (2) of elbow inlet duct (1) one end.
2. protection against erosion channel bend according to claim 1 is characterized in that: the axis of described separator tube (2) and elbow inlet duct (1) axis coaxle.
3. protection against erosion channel bend according to claim 2 is characterized in that: the diameter of described separator tube (2) is greater than the diameter of elbow inlet duct (1).
4. protection against erosion channel bend according to claim 1 is characterized in that: the closed end of described separator tube (2) is a closed end that semicircle is spherical.
5. protection against erosion channel bend according to claim 1 is characterized in that: the axis of described separator tube (2) and elbow outer pipe (4) axis normal.
CN 201120368396 2011-09-29 2011-09-29 Anti-scouring pipeline elbow Expired - Fee Related CN202228839U (en)

Priority Applications (1)

Application Number Priority Date Filing Date Title
CN 201120368396 CN202228839U (en) 2011-09-29 2011-09-29 Anti-scouring pipeline elbow

Applications Claiming Priority (1)

Application Number Priority Date Filing Date Title
CN 201120368396 CN202228839U (en) 2011-09-29 2011-09-29 Anti-scouring pipeline elbow

Publications (1)

Publication Number Publication Date
CN202228839U true CN202228839U (en) 2012-05-23

Family

ID=46079425

Family Applications (1)

Application Number Title Priority Date Filing Date
CN 201120368396 Expired - Fee Related CN202228839U (en) 2011-09-29 2011-09-29 Anti-scouring pipeline elbow

Country Status (1)

Country Link
CN (1) CN202228839U (en)

Cited By (3)

* Cited by examiner, † Cited by third party
Publication number Priority date Publication date Assignee Title
CN102401207A (en) * 2011-11-30 2012-04-04 泰兴金江化学工业有限公司 Pipeline elbow resistant to scouring and wear
CN103277620A (en) * 2013-05-25 2013-09-04 吴军红 Elbow connecting pipe
CN107606366A (en) * 2017-09-21 2018-01-19 中石化广州工程有限公司 A kind of 90 ° of elbows for buffering Water Hammer

Cited By (3)

* Cited by examiner, † Cited by third party
Publication number Priority date Publication date Assignee Title
CN102401207A (en) * 2011-11-30 2012-04-04 泰兴金江化学工业有限公司 Pipeline elbow resistant to scouring and wear
CN103277620A (en) * 2013-05-25 2013-09-04 吴军红 Elbow connecting pipe
CN107606366A (en) * 2017-09-21 2018-01-19 中石化广州工程有限公司 A kind of 90 ° of elbows for buffering Water Hammer

Similar Documents

Publication Publication Date Title
CN202228839U (en) Anti-scouring pipeline elbow
CN204062293U (en) A kind of fluid force conveying elbow
CN203273155U (en) Wear-resisting elbow for pulp pipeline
CN203273158U (en) Bend connection pipe
CN203188344U (en) Rotational flow plane four-way pipe fitting
CN202532088U (en) Air cushion elbow
CN202612950U (en) Detachable anti-scouring wear-resistant pipeline bend
CN201916649U (en) Riffling buffer conveying pipe
CN204114429U (en) A kind of anti-abrasion bend pipe
CN204831397U (en) Swirl flowmeter's a spigot
CN201810596U (en) Jet pump with variable throat pipe distance
CN202338723U (en) Anti-erosion and wear-resistant pipeline elbow
CN201992227U (en) Greenhouse ground pipeline connecting structure
CN201991882U (en) Reducing flow pipe section
CN202398416U (en) Ore slurry separator
CN219388979U (en) Impact-resistant elbow pipe fitting of slow flow
CN103277620A (en) Elbow connecting pipe
CN206827631U (en) A kind of screwed pipe
CN211601141U (en) A water heater connecting pipe with high structural strength
CN201145121Y (en) High speed slurry antifriction apparatus
CN203030251U (en) Discharge pipe of reaction kettle
CN201531620U (en) Novel stop valve
CN204606250U (en) New water distribution bag
CN201047478Y (en) Double buffering winding pipe structure
CN203927206U (en) A kind of ash conveying pipe elbow structure that resistance to wears

Legal Events

Date Code Title Description
C14 Grant of patent or utility model
GR01 Patent grant
EE01 Entry into force of recordation of patent licensing contract

Assignee: Tongliao silicon sand industry Co.

Assignor: BENGBU DESIGN & Research Institute FOR GLASS INDUSTRY|China Triumph International Engineering Co.,Ltd.

Contract record no.: 2013340000130

Denomination of utility model: Washing-preventing pipeline elbow

Granted publication date: 20120523

License type: Exclusive License

Record date: 20130909

LICC Enforcement, change and cancellation of record of contracts on the licence for exploitation of a patent or utility model
CF01 Termination of patent right due to non-payment of annual fee

Granted publication date: 20120523

Termination date: 20140929

EXPY Termination of patent right or utility model
CU03 Publication of corrected utility model

Correction item: Assignee of record for patent exploitation license contracts

Correct: TONGLIAO SILICA SAND INDUSTRY CO., LTD.

False: Tongliao silicon sand industry company

Number: 45

Volume: 29

ERR Gazette correction